патент
№ RU 2687726
МПК E04B1/38

Узел соединения колонны и плиты перекрытия

Авторы:
Евстифеева Ольга Владимировна Бойцов Дмитрий Анатольевич Костенко Богдан Валерьевич
Все (4)
Номер заявки
2018102676
Дата подачи заявки
23.01.2018
Опубликовано
15.05.2019
Страна
RU
Как управлять
интеллектуальной собственностью
Чертежи 
4
Реферат

Изобретение относится к строительству, конкретнее к узлам опирания плит перекрытия и покрытия на колонны каркасных зданий. Технический результат - снижение трудоемкости монтажа и увеличение жесткости узла сопряжения перекрытия с колонной. Узел соединения колонны и плиты перекрытия содержит опорную пластину, соединенную с радиальными ребрами жесткости, с помощью вертикальных ребер жесткости прямоугольной формы жестко соединена с нижней опорной пластиной, образуя металлическую обойму колонны, жестко соединенную с ней, а плита перекрытия соединена с металлической обоймой с помощью сварных швов с арматурой и омоноличивания узла. 2 з.п. ф-лы, 8 ил.

Формула изобретения

1. Узел соединения колонны и плиты перекрытия, содержащий опорную пластину, соединенную радиальными ребрами жесткости с колонной, отличающийся тем, что снабжен верхней опорной пластиной, жестко соединенной с нижней опорной пластиной с помощью радиальных ребер жесткости прямоугольной формы, при этом верхняя и нижняя платины с расположенными между ними радиальными ребрами жесткости прямоугольной формы образуют металлическую обойму колонны, которая соединена с колонной, а плита перекрытия соединена с металлической обоймой с помощью сварных швов с арматурой плиты, при этом нижняя арматура плиты перекрытия приварена к нижней опорной пластине, а верхняя арматура плиты перекрытия - к верхней опорной пластине.

2. Узел соединения колонны и плиты перекрытия по п. 1, отличающийся тем, что плита перекрытия выполнена в виде плоской плиты.

3. Узел соединения колонны и плиты перекрытия по п. 1, отличающийся тем, что плита перекрытия выполнена в виде ребристой плиты.

Описание

[1]

Изобретение относится к строительству, конкретнее к узлам опирания плит перекрытия и покрытия на колонны каркасных зданий.

[2]

Известен узел соединения колонн и плиты перекрытия, содержащий нижнюю колонну, установленную на нее плиту перекрытия, на которой размещена верхняя колонна, причем нижний конец каждой из колонн выполнен с возможностью скрепления с соединительным элементом нижележащей колонны, а верхний конец выполнен с возможностью установки на нем соединительного элемента, при этом плита перекрытия выполнена с возможностью пропуска через нее соединительного элемента нижней колонны (RU №123033, Е04В 1/38, 20.12.2012).

[3]

Недостатком данного узла соединения колонн и плиты перекрытия является повышенная трудоемкость, связанная со значительным объемом электросварочных и бетонных работ, необходимых для замоноличивания стыка, низкая жесткость сопряжения перекрытия с колонной из-за наличия соединительных элементов.

[4]

Наиболее близким техническим решением к заявляемому изобретению является узел соединения колонн и плиты перекрытия, содержащий нижележащую колонну, на которую, с помощью соединительного элемента, установлены плита перекрытия и вышележащая колонна, причем нижний конец каждой из колонн выполнен с возможностью скрепления с соединительным элементом, а верхний конец выполнен с возможностью установки на нем соединительного элемента, при этом плита перекрытия снабжена сквозным отверстием, выполненным свободного надевания на соединительный элемент, который содержит две части цилиндрической формы, верхняя из которых имеет диаметр, превышающий диаметр нижней части, выполненной с возможностью ее ввода в полость нижележащей колонны, при этом колонны содержат жесткую цилиндрическую оболочку, выполненную с возможностью равномерного и плотного заполнения сыпучим наполнителем из твердых частиц до уровня, обеспечивающего его плотное контактирование с торцом соединительного элемента, размещенного в полости цилиндрической оболочки, кроме того, верхняя часть соединительного элемента выполнена с возможностью скрепления с плитой перекрытия, для чего на боковой поверхности соединительного элемента жестко закреплены радиальные ребра жесткости, нижние кромки которых жестко скреплены с опорной пластиной, верхняя плоскость которой выполнена с возможностью опирания на нее плиты перекрытия (RU №2549342, Е04В 1/38, 27.04.2015).

[5]

Недостатком данного узла соединения колонн и плиты перекрытия является повышенная трудоемкость монтажа и низкая жесткость сопряжения перекрытия с колонной.

[6]

Задачей, на решение которой направлено предлагаемое изобретение, является разработка простой конструкции узла соединения, позволяющей сопрягать перекрытия с колоннами, как при строительстве снизу-вверх, так и при строительстве сверху-вниз.

[7]

Технический результат, достигаемый при решении поставленной задачи, заключается в снижении трудоемкости монтажа и увеличении жесткости сопряжения перекрытия с колонной и возможности устройства данного узла соединения колонны и плиты перекрытия в любой точке вдоль колонны.

[8]

Поставленная задача решается тем, что в узле соединения колонны и плиты перекрытия, содержащем опорную пластину, соединенную с радиальными ребрами жесткости, верхняя опорная пластина с помощью вертикальных ребер жесткости прямоугольной формы жестко соединена с нижней опорной пластиной, образуя металлическую обойму колонны, жестко соединенную с ней, а плита перекрытия соединена с металлической обоймой с помощью сварных швов с арматурой и омоноличивания.

[9]

При плоской плите перекрытия нижняя арматура плиты перекрытия приварена к нижней опорной пластине, а верхняя арматура плиты перекрытия - к верхней опорной пластине.

[10]

При ребристой плите перекрытия верхняя арматура плиты перекрытия и верхняя арматура балок приварены к верхней опорной пластине, нижняя арматура балок приварена к нижней опорной пластине, а нижнюю арматуру плиты перекрытия доводят до колонны и обрывают, при этом нижняя арматура плиты перекрытия опирается на нижнюю опорную пластину через бетон омоноличивания.

[11]

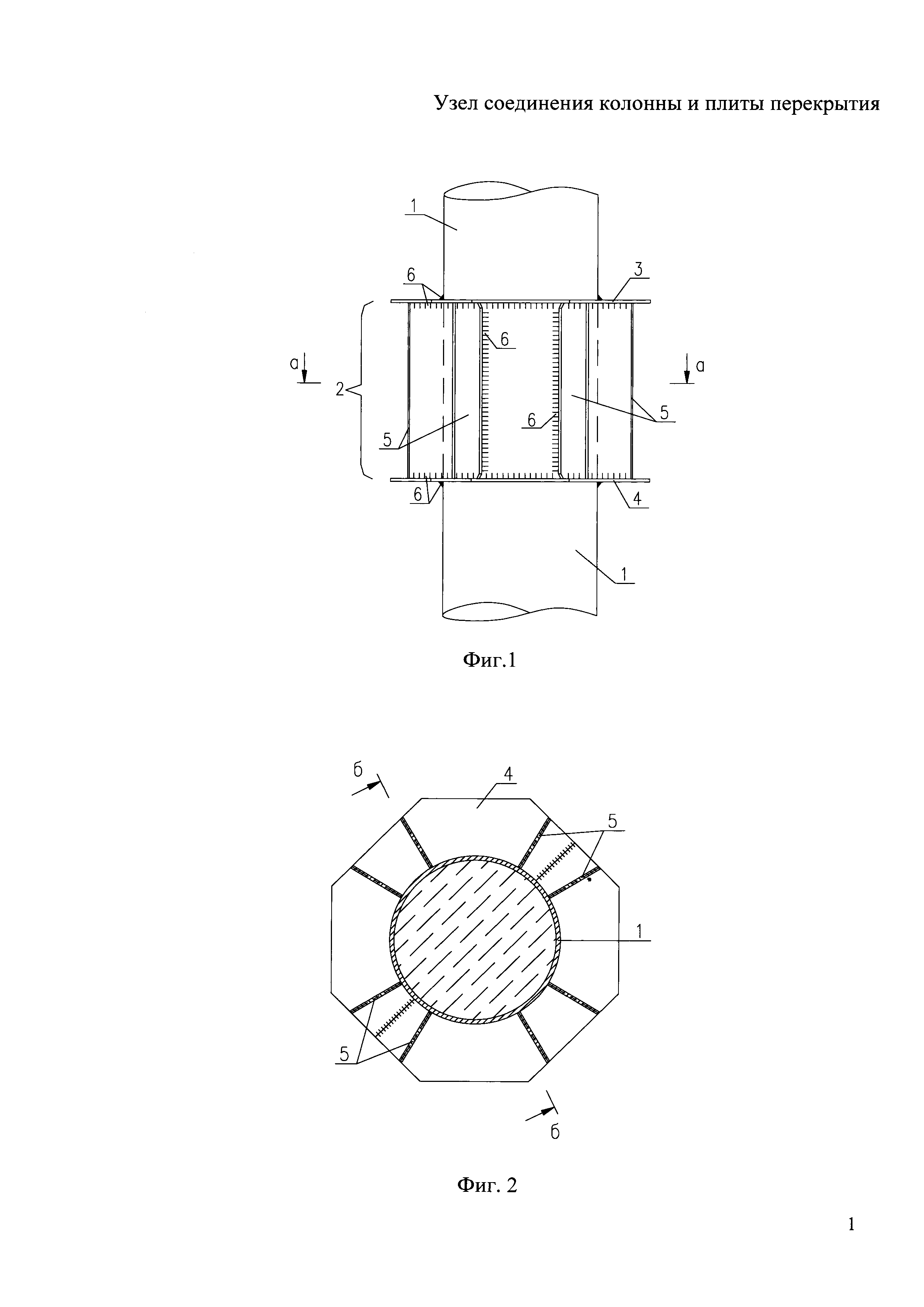
Изобретение поясняется чертежами, где на фиг. 1 изображен общий вид узла соединения колонны и плиты перекрытия;

[12]

на фиг. 2 - изображен разрез а-а;

[13]

на фиг. 3 - изображен разрез б-б;

[14]

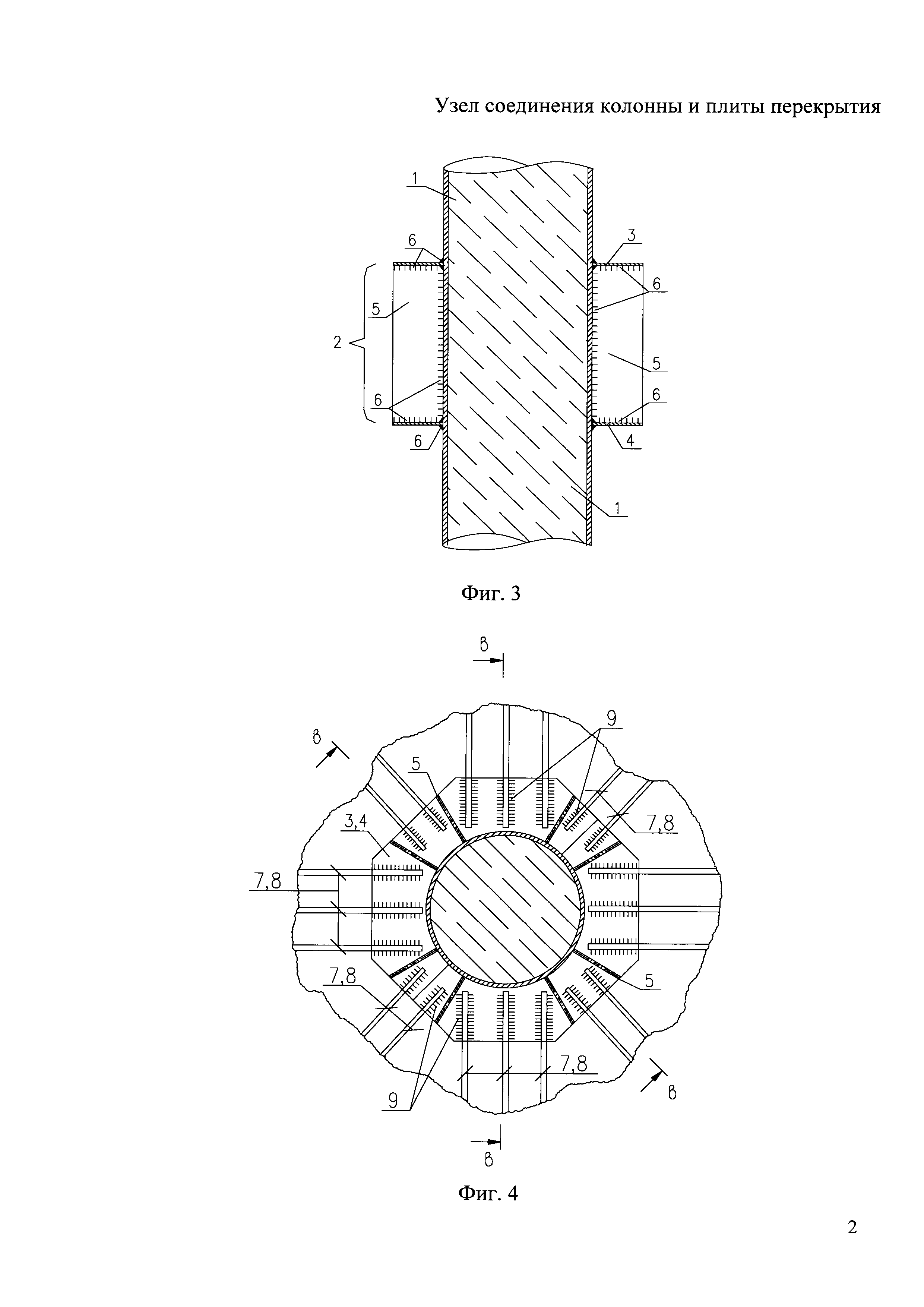
на фиг. 4 - изображен узел соединения колонны и плоской плиты перекрытия;

[15]

на фиг. 5 - изображен разрез в-в;

[16]

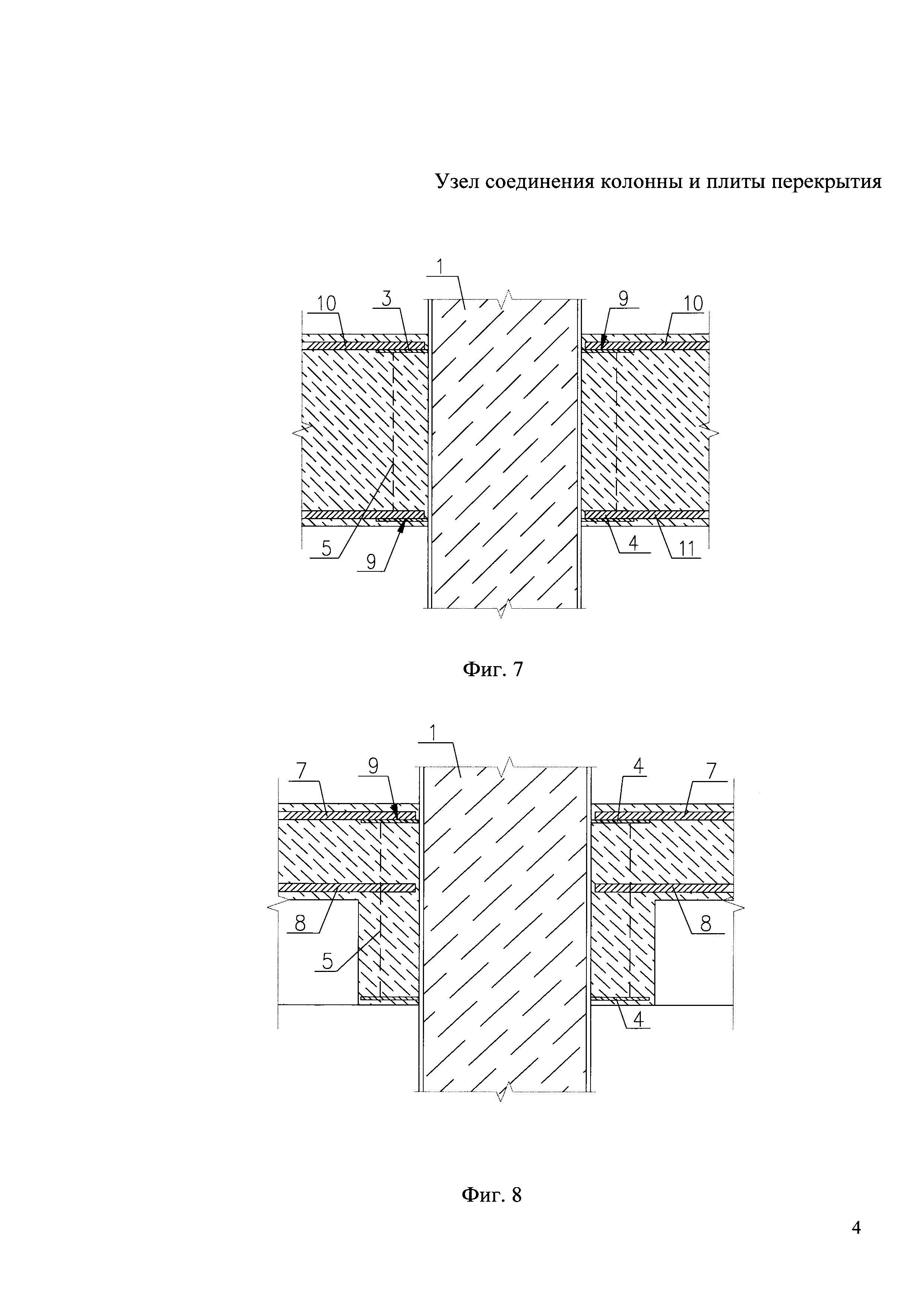
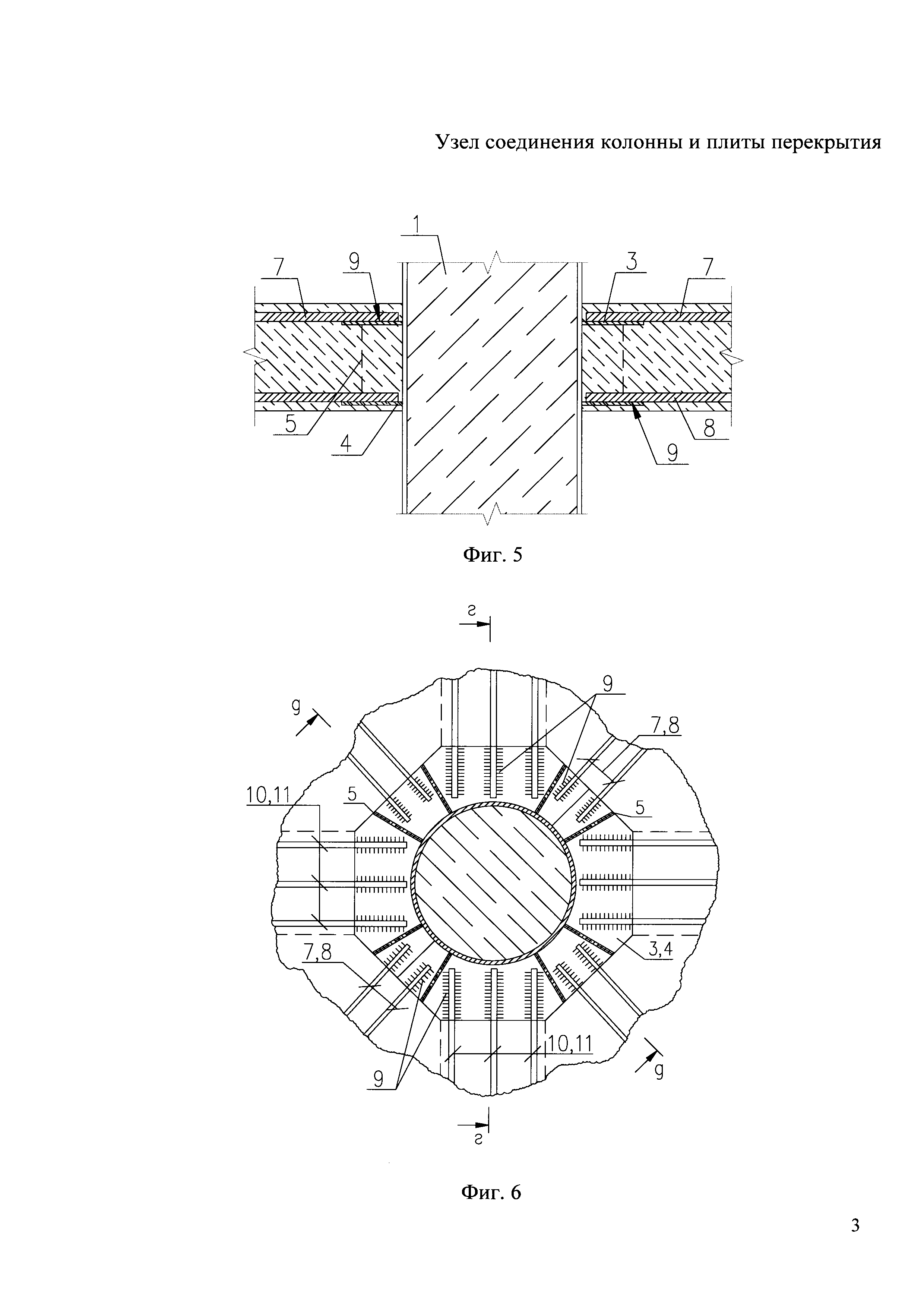
на фиг. 6 - изображен узел соединения колонны и ребристой плиты перекрытия;

[17]

на фиг. 7 - изображен разрез г-г;

[18]

на фиг. 8 - изображен разрез д-д.

[19]

Узел соединения колонны и плиты перекрытия содержит колонну 1, жестко соединенную с металлической обоймой 2, состоящей из верхней опорной пластины 3, нижней опорной пластины 4, жестко соединенных между собой с помощью радиальных ребер жесткости 5 прямоугольной формы. Ребра жесткости 5 и опорные пластины 3, 4 приварены к колонне 1 и к друг другу сварными швами 6 (фиг. 1, 2, 3). Верхняя 7 и нижняя 8 арматуры плиты перекрытия фиксируются на опорных пластинах 3, 4 нахлесточными сварными швами 9 (фиг. 4, 5). Если плита перекрытия имеет ребристую форму (см. фиг. 6, 7, 8), то верхнюю арматуру балок 10 и верхнюю арматуру 7 плиты перекрытия приваривают к верхней опорной пластине 3, нижнюю арматуру балок 11 приваривают к нижней опорной пластине 4, а нижнюю арматуру 8 плиты перекрытия обрывают у колонны 1.

[20]

Заявляемый узел соединения колонны и плиты перекрытия монтируют следующим образом.

[21]

Устанавливают в проектное положение колонну 1, затем последовательно двусторонними угловыми швами приваривают к колонне 1 радиальные ребра жесткости 5, верхнюю 3 и нижнюю 4 опорные пластины и сваривают их между собой. Далее при плоской плите перекрытия (фиг. 4, 5) приваривают нахлесточными швами верхнюю арматуру 7 плиты перекрытия к верхней опорной пластине 3, а нижнюю арматуру 8 плиты перекрытия - к нижней опорной пластине 4. При ребристой плите перекрытия (фиг. 6, 7, 8) приваривают нахлесточными швами 9 верхнюю арматуру 7 плиты перекрытия и верхнюю арматуру балок 10 к верхней опорной пластине 3, нижнюю арматуру балок 11 приваривают к нижней опорной пластине 4, а нижнюю арматуру 8 плиты перекрытия обрывают у колонны 1. После этого плиту перекрытия заливают бетонной смесью.

[22]

По сравнению с прототипом данный узел соединения колонны и плиты перекрытия обладает низкой трудоемкостью за счет наличия небольшого количества деталей малых габаритов, жестко соединенных с колонной, и обладает повышенной жесткостью сопряжения перекрытия с колонной из-за жесткого соединения плиты перекрытия с опорными пластинами и выполнения ребер жесткости прямоугольной формы.

[23]

Заявляемое изобретение позволяет расширить область применения, так как позволит использовать данный узел в подземном строительстве для опирания подземных перекрытий на буронабивные сваи, позволит увеличить пролет перекрытий, шаг основных вертикальных несущих конструкций в наземных зданиях и сооружениях, позволяет использовать данный узел соединения колонны и плиты перекрытия, как для плоской плиты перекрытия, так и для ребристой плиты перекрытия.

Как компенсировать расходы
на инновационную разработку
Похожие патенты