патент
№ RU 2649377
МПК F02C7/06

Маслосистема газотурбинного двигателя

Авторы:
Фомин Вячеслав Николаевич
Номер заявки
2017119778
Дата подачи заявки
07.06.2017
Опубликовано
02.04.2018
Страна
RU
Как управлять
интеллектуальной собственностью
Чертежи 
1
Реферат

Изобретение относится к области авиационного двигателестроения, в частности к масляной системе авиационного газотурбинного двигателя. Магистрали подвода масла к масляным полостям подшипников ротора компрессора и коробки привода агрегатов сообщены с восходящей ветвью сифонного затвора, а магистраль подвода масла в масляную полость подшипника турбины сообщена с нисходящей ветвью сифонного затвора. Причем жиклер стравливания воздуха сообщен с магистралью откачки масла. Изобретение позволяет повысить надежность работы маслосистемы вследствие обеспечения противопожарной безопасности. 1ил.

Формула изобретения

Маслосистема газотурбинного двигателя, содержащая магистраль нагнетания с подстыкованными к ней магистралями подвода масла к масляным полостям подшипников ротора компрессора, турбины и коробки привода агрегатов, магистраль откачки масла и сообщенный с магистралями нагнетания и подвода масла сифонный затвор с восходящей и нисходящей ветвями и жиклером стравливания воздуха в петле затвора, отличающаяся тем, что магистрали подвода масла к масляным полостям подшипников ротора компрессора и коробки привода агрегатов сообщены с восходящей ветвью сифонного затвора, а магистраль подвода масла в масляную полость подшипника турбины сообщена с нисходящей ветвью сифонного затвора, причем жиклер стравливания воздуха сообщен с магистралью откачки масла.

Описание

[1]

Изобретение относится к области авиационного двигателестроения, в частности к масляной системе авиационного газотурбинного двигателя.

[2]

Известна маслосистема газотурбинного двигателя, содержащая магистраль нагнетания с подстыкованными к ней магистралями подвода масла к масляным полостям подшипников ротора компрессора, турбины и коробки привода агрегатов, магистраль откачки масла и сообщенный с магистралями нагнетания и подвода масла сифонный затвор с восходящей и нисходящей ветвями и жиклером стравливания воздуха в петле затвора (RU 2374469 С1, F02C 7/06, 22.11.2009 - прототип).

[3]

Недостаток известной конструкции - переполнение масляной полости опорного подшипника ротора турбины после останова двигателя из-за малой емкости ее картера. Смазка из переполненного картера перетекает через неработающие после останова двигателя уплотнения (ввиду отсутствия наддува их воздухом) в горячую проточную часть турбины, где она воспламеняется, что приводит к пожару и отказу двигателя в работе.

[4]

Малый объем картера в масляной полости подшипниковой опоры турбины вызван малым объемом самой полости, которая выполняется минимальных габаритов для снижения теплоотдачи в масло от раскаленных стенок полости, расположенной в самом теплонапряженном месте двигателя (в проточной части турбины). После останова двигателя масло, заполнившее нагнетающую магистраль и установленные в ней агрегаты (фильтр, ТТМ и др.), продолжает вытекать через магистрали подачи в масляные полости опорных подшипников ротора и коробок привода агрегатов, расположенные ниже нагнетающей магистрали, что приводит к переполнению масляной полости подшипниковой опоры ротора турбины, имеющей наименьшую емкость масляного картера.

[5]

Налицо явное техническое противоречие: с одной стороны, минимальный объем масляной полости подшипниковой опоры турбины необходим, чтобы снизить теплоотдачу в масло, исключив его перегрев, приводящий к отказу маслосистемы в работе, а с другой стороны, минимальный объем полости приводит к переполнению маслом ее картера, перетеканию масла в проточную часть турбины и возникновению пожара на двигателе.

[6]

Задача изобретения - устранить это техническое противоречие, предотвратить переполнение маслом масляной полости опорного подшипника ротора турбины после останова двигателя и обеспечить минимальный ее объем для предотвращения перегрева масла при его работе.

[7]

Технический результат изобретения - повышение надежности работы маслосистемы вследствие обеспечения противопожарной безопасности.

[8]

Указанный технический результат достигается тем, что в маслосистеме газотурбинного двигателя, содержащей магистраль нагнетания с подстыкованными к ней магистралями подвода масла к масляным полостям подшипников ротора компрессора, турбины и коробки привода агрегатов, магистраль откачки масла и сообщенный с магистралями нагнетания и подвода масла сифонный затвор с восходящей и нисходящей ветвями и жиклером стравливания воздуха в петле затвора, согласно изобретению магистрали подвода масла к масляным полостям подшипников ротора компрессора и коробки привода агрегатов сообщены с восходящей ветвью сифонного затвора, а магистраль подвода масла в масляную полость подшипника турбины сообщена с нисходящей ветвью сифонного затвора, причем жиклер стравливания воздуха сообщен с магистралью откачки масла.

[9]

Установка сифонного затвора с петлей, расположенной выше нагнетающей магистрали перед магистралью подвода масла в масляную полость подшипниковой опоры ротора турбины, позволяет после останова двигателя перекрывать проток масла в масляную полость опоры из нагнетающей магистрали и расположенных в ней агрегатов, так как через жиклер стравливания воздуха в петлю затвора из магистрали откачки масла поступает воздух, устраняющий разрежение в петле, что позволяет прервать перетекание масла из восходящей ветви затвора в нисходящую и предотвратить переполнение маслом картера масляной полости.

[10]

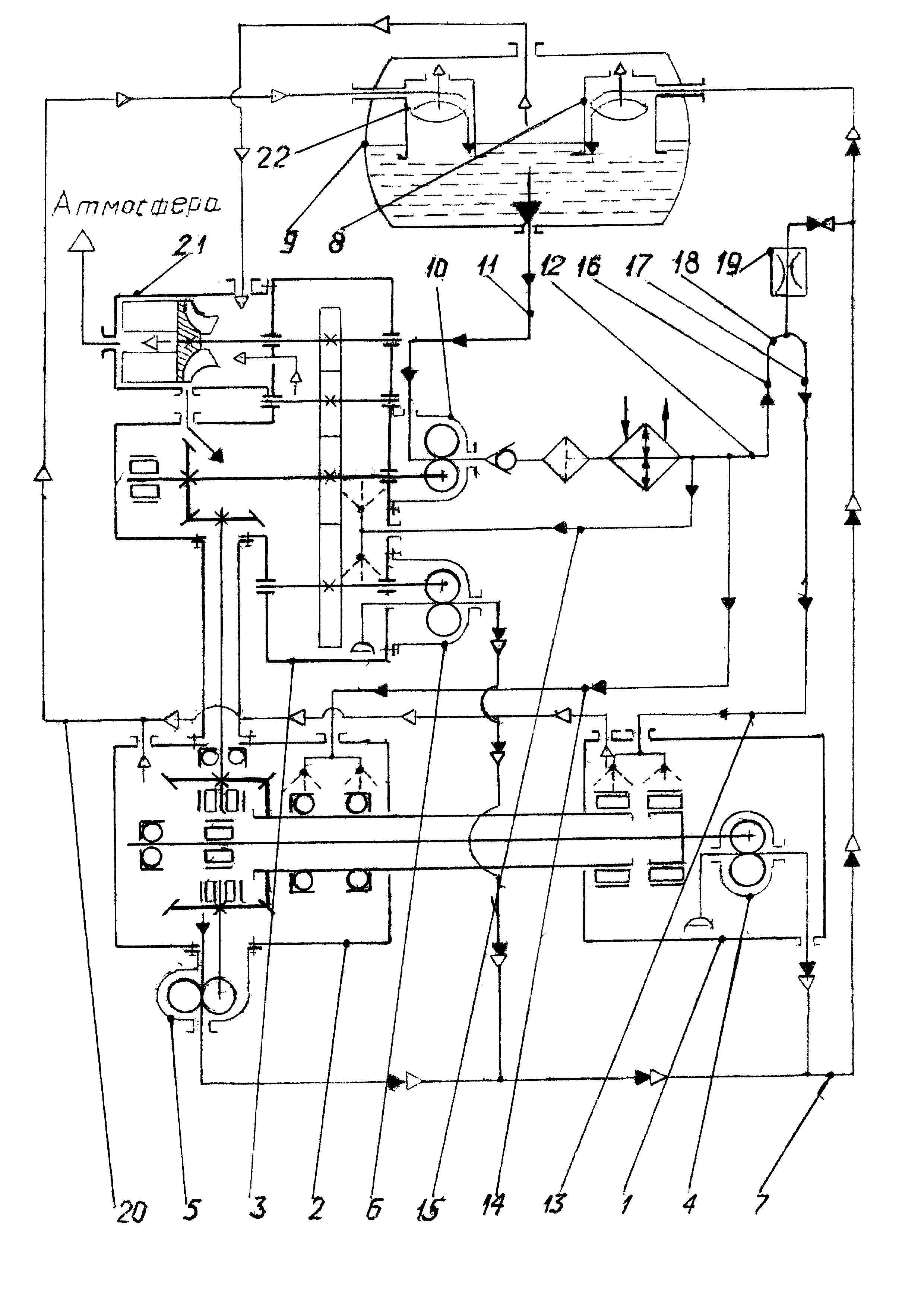
На чертеже показана принципиальная гидравлическая схема маслосистемы газотурбинного двигателя. Масляная система содержит масляные полости 1 и 2 подшипниковых опор роторов турбины и компрессора и масляную полость 3 коробки привода агрегатов (КПА). Каждая из масляных полостей 1, 2 и 3 подключена к своему откачивающему насосу, соответственно 4, 5 и 6, выходы из которых сообщены с магистралью откачки масла 7, которая выведена через воздухоотделитель 8 в маслобак 9. Маслосистема оборудована напорным насосом 10, вход в который всасывающей магистралью 11 сообщен с маслобаком 9, а выход через нагнетающую магистраль 12 подсоединен к магистралям подвода масла 13, 14, 15 к масляным полостям соответственно 1, 2 и 3 опорных подшипников роторов турбины, компрессора и КПА. Между нагнетающей магистралью 12 и магистралью 13 подвода масла в масляную полость 1 подшипниковой опоры ротора турбины смонтирован сифонный затвор так, что восходящая ветвь 16 затвора сообщена с нагнетающей магистралью 12 и магистралям подвода масла 14 и 15, а нисходящая его ветвь 17 через магистраль 13 сообщена с масляной полостью 1 подшипниковой опоры турбины. Петля 18 сифонного затвора расположена выше нагнетающей магистрали 12 и через жиклер 19 стравливания воздуха сообщена с магистралью откачки 7. Суфлирование масляных полостей 1, 2, 3 и маслобака 9 производится по системе суфлирующих магистралей 20 через суфлер-сепаратор 21 в атмосферу через циклон-маслоотделитель 22.

[11]

При работе двигателя масло из маслобака 9 по всасывающей магистрали 11 поступает на вход напорного насоса 10 и подается им под давлением в магистраль нагнетания 12, из которой оно попадает, в первую очередь, по магистрали подвода масла 15 в масляную полость 3 КПА, а по магистрали подвода масла 14 в масляную полость 2 подшипниковой опоры ротора компрессора. В магистраль подвода 13 и в масляную полость 1 подшипниковой опоры ротора турбины масло попадает через нисходящую ветвь 17 сифонного затвора. При этом небольшая доля масла, минуя масляную полость 1, через жиклер 19 стравливания воздуха (диаметр жиклера ≈1,5-2 мм) перепускается по магистрали откачки масла 7 в маслобак 9. Эта постоянная паразитная циркуляция масла от напорного насоса 10 в маслобак 9 обеспечит надежное срабатывание сифонного затвора после остановки двигателя.

[12]

Отработанное масло с помощью откачивающих насосов 4, 5 и 6 через магистраль откачки 7 и воздухоотделитель 8 возвращается в маслобак 9 для повторного использования.

[13]

При останове двигателя прекращается подача масла в нагнетающую магистраль 12 напорного насоса 10. Поскольку нагнетающая магистраль 12 всегда расположена выше масляных полостей 1, 2 и 3 подшипниковых опор ротора двигателя и КПА, масло из нагнетающей магистрали 12 и расположенных в ней агрегатов начнет вытекать в масляные полости 2 и 3, однако, течь масла в масляную полость 1 подшипниковой опоры турбины прекратится сразу же, как только воздух из магистрали откачки масла 7 попадет внутрь петли 18 сифонного затвора и ликвидирует в ней разрежение, возникающее при вытекании масла через нисходящую ветвь 17 затвора внутрь масляной полости 1. Переполнение масляной полости 1 подшипниковой опоры турбины будет предотвращено. Воздух из масляных полостей 1 и 2 подшипниковых опор роторов компрессора и турбины суфлируется по системе суфлирующих магистралей 20 в маслобак 9 через циклон-маслоотделитель 22, а далее через суфлер 21 в атмосферу.

[14]

Масляная полость 3 КПА суфлируется через суфлер 21 в атмосферу, то есть наиболее коротким путем, что обусловлено меньшим объемом образующегося в ней воздуха.

Как компенсировать расходы
на инновационную разработку
Похожие патенты