патент
№ RU 2695206
МПК E21B43/24

СПОСОБ РАЗРАБОТКИ ЗАЛЕЖИ СВЕРХВЯЗКОЙ НЕФТИ

Авторы:
Гарифуллин Марат Зуфарович
Номер заявки
2018134130
Дата подачи заявки
26.09.2018
Опубликовано
22.07.2019
Страна
RU
Как управлять
интеллектуальной собственностью
Чертежи 
2
Реферат

[21]

Изобретение относится к нефтедобывающей промышленности. Технический результат - снижение теплопотерь за счет уменьшения площади прогрева и строительства скважин с учетом их гидродинамических возможностей, увеличение продуктивности залежи. Способ разработки залежи высоковязкой нефти включает строительство в пределах одного пласта параллельных горизонтальных скважин и отдельной скважины, расположенной на примерно равном расчетном расстоянии от забоев параллельных скважин, исключающем прорыв теплоносителя, но позволяющем создать гидродинамическую связь со всеми скважинами, закачку теплоносителя во все скважины с прогревом пласта и образование гидродинамической связи между параллельными скважинами и отдельной скважиной, закачку теплоносителя в параллельные скважины и отбор продукции из добывающей скважины. Причем отдельную скважину строят над параллельными скважинами на расстоянии в плане 50±15 м до их забоев. Указанную отдельную скважину оборудуют колонной с муфтами, размещаемыми в точках пересечений в плане с нижними горизонтальными скважинами. Диаметр муфт подбирают исходя из потребностей закачки пара для нижних горизонтальных скважин. После прогрева пласта и создания гидродинамической связи параллельные скважины переводят в добывающие для отбора продукции, а отдельную скважину - в нагнетательную для закачки теплоносителя. Закачку теплоносителя осуществляют на всех этапах при давлении, исключающем нарушение целостности породы залежи. 2 ил., 1 пр.

Формула изобретения

Способ разработки залежи высоковязкой нефти, включающий строительство в пределах одного пласта параллельных горизонтальных скважин и отдельной скважины, расположенной на примерно равном расчетном расстоянии от забоев параллельных скважин, исключающем прорыв теплоносителя, но позволяющем создать гидродинамическую связь со всеми скважинами, закачку теплоносителя во все скважины с прогревом пласта и образование гидродинамической связи между параллельными скважинами и отдельной скважиной, перевод под закачку теплоносителя нагнетательных скважин и отбор продукции из добывающей скважины, отличающийся тем, что отдельную скважину строят над параллельными скважинами на расстоянии в плане 50±15 м до их забоев, причем отдельную скважину оборудуют колонной с муфтами, размещаемыми в точках пересечений в плане с нижними горизонтальными скважинами, диаметр муфт подбирают исходя из потребностей закачки пара для нижних горизонтальных скважин, после прогрева пласта и создания гидродинамической связи параллельные скважины переводят в добывающие для отбора продукции, а отдельную скважину - в нагнетательную для закачки теплоносителя, причем закачку теплоносителя осуществляют на всех этапах при давлении, исключающем нарушение целостности породы залежи.

Описание

[1]

Изобретение относится к нефтедобывающей промышленности и, в частности, к термическим способам добычи сверхвязкой нефти и/или битума.

[2]

Известен способ разработки залежи высоковязкой нефти (патент RU №2062865, МПК Е21В 43/20, опубл. Бюл. №36 от 27.06.1996), в соответствии, с которым на залежь высоковязкой нефти бурят вертикальные нагнетательные и горизонтальные добывающие скважины. Теплоноситель закачивают через нагнетательные скважины и одновременно периодически через горизонтальные скважины до прорыва теплоносителя к вертикальным добывающим скважинам. После прорыва теплоносителя через нагнетательные скважины закачивают вытесняющий агент, а через горизонтальные скважины осуществляют отбор песка и пластового флюида.

[3]

Недостатком этого способа является то, что он не позволяет разрабатывать нефтяную залежь с достижением высокой нефтеотдачи. Вероятен быстрый прорыв теплоносителя из нагнетательной скважины в добывающую, что снижает его эффективность и увеличивает затраты на реализацию.

[4]

Также известен способ разработки залежи высоковязкой нефти (патент RU №2334095, МПК Е21В 43/24, опубл. Бюл. №26 от 20.09.2008), включающий включающий бурение вертикальных нагнетательных скважин и горизонтальных добывающих скважин, закачку рабочего агента через нагнетательные скважины и отбор нефти через добывающие скважины, причем горизонтальный ствол добывающей скважины проводят в 1,5-2,5 м над подошвой продуктивного пласта, горизонтальный ствол перфорируют, выше горизонтального ствола добывающей скважины на 3,5-4,5 м размещают низ вертикальной нагнетательной скважины, перфорированной в интервале 0,5-1,5 м от низа, вертикальную нагнетательную скважину размещают от вертикального ствола добывающей скважины на расстоянии, большем 2/3 длины горизонтального участка добывающей скважины, вплоть до конца горизонтального ствола, при этом в качестве рабочего агента используют пар в чередовании с воздухом.

[5]

Недостатком способа является вероятность быстрого прорыва теплоносителя из-за небольшого расстояния между забоем добывающей и нагнетательной скважин (3,5-4,5 м). В связи с этим - высокие затраты и малая эффективность.

[6]

Известен также способ разработки залежи высоковязкой нефти (патент RU №2506417, МПК Е21В 43/16, опубл. в Бюл. №4 от 10.02.2014), включающий бурение вертикальных нагнетательных скважин и наклонно-горизонтальных добывающих скважин, закачку рабочего агента через нагнетательные скважины и отбор нефти через добывающие скважины, при этом определяют уровень водонефтяного контакта - ВНК, добывающую наклонно-горизонтальную от устья к забою скважину бурят с расположением как минимум на 2-3 м выше уровня ВНК, вертикальную нагнетательную скважину бурят с расположением забоя над забоем добывающей скважины выше на 5-8 м, перфорируют добывающую скважину по всей длине наклонного участка, нагнетательную вертикальную скважину перфорируют в зоне пласта в направлении устья добывающей скважины, поэтапно по мере прорыва рабочего агента или обводнения продукции выше 95% забой добывающей наклонно-горизонтальной скважины отсекают выше зоны прорыва или обводнения, а зону вскрытия нагнетательной скважины отсекают снизу на 1/3-1/2 часть всей ее длины, при выработке всей вырабатываемой зоны устье добывающей наклонно-горизонтальной скважины переводят под нагнетание рабочего агента.

[7]

Недостатками способа являются неравномерный прогрев области дренирования горизонтальной добывающей скважины, вероятность быстрого прорыва нагнетаемого в вертикальную нагнетательную скважину пара к забою добывающей горизонтальной скважины, низкая приемистость вертикальной скважины, увеличение затрат на обустройстве нескольких вертикальных скважин

[8]

Наиболее близким по технической сущности и достигаемому результату является способ разработки залежи высоковязкой и тяжелой нефти с термическим воздействием (патент RU №2526047, МПК Е21В 43/24, Е21В 7/04, опубл. в Бюл. №23 от 20.08.2014), включающий бурение в пределах одного пласта параллельных горизонтальных или наклонно-горизонтальных нагнетательных скважин и добывающей скважины, закачку теплоносителя в нагнетательные скважины и отбор продукции из добывающей скважины, при этом добывающую скважину располагают на равном расчетном расстоянии от забоев нагнетательных скважин, исключающим прорыв теплоносителя, но позволяющим создать гидродинамическую связь с нагнетательными скважинами, при этом нагнетательные скважины снабжают двумя параллельными каналами с чередующимися по расстоянию фильтрами в продуктивном пласте, причем каналы используют для нагнетания теплоносителя, а после прогрева пласта один из каналов - для внутрискважинного перетока продукции в сторону добывающей скважины.

[9]

Недостатками данного способа являются сложность строительства параллельных скважин с двумя параллельными каналами, большие теплопотери из-за большой площади прогрева у параллельных скважин в стороне от одной добывающей по горизонтали, а также строительство скважин, без учета их гидродинамических возможностей прогрева и отбора.

[10]

Техническими задачами заявляемого способа являются упрощение строительства параллельных скважин, снижение теплопотерь за счет уменьшения площади прогрева и строительства добывающих и нагнетательных скважин с учетом их гидродинамических возможностей.

[11]

Техническая задача решается способом разработки залежи высоковязкой нефти, включающим строительство в пределах одного пласта параллельных горизонтальных скважин и отдельной скважины, расположенной на примерно равном расчетном расстоянии от забоев параллельных скважин, исключающем прорыв теплоносителя, но позволяющем создать гидродинамическую связь со всеми скважинами, закачку теплоносителя во все скважины с прогревом пласта и образование гидродинамической связи между параллельными скважинами и отдельной скважиной, перевод под закачку теплоносителя нагнетательные скважины и отбор продукции из добывающей скважины.

[12]

Новым является то, что отдельную скважину строят над параллельными скважинами на расстоянии в плане 50±15 м до их забоев, причем отдельную скважину оборудуют колонной с муфтами, размещаемыми в точке пересечений в плане с нижними горизонтальными скважинами, диаметр муфт рассчитывается исходя из потребностей закачки пара для нижних горизонтальных скважин, после прогрева пласта и создания гидродинамической связи параллельные скважины переводят в добывающие для отбора продукции, а отдельную скважину - в нагнетательную для закачки теплоносителя, причем закачку теплоносителя осуществляют на всех этапах при давлении, исключающем нарушение целостности породы залежи.

[13]

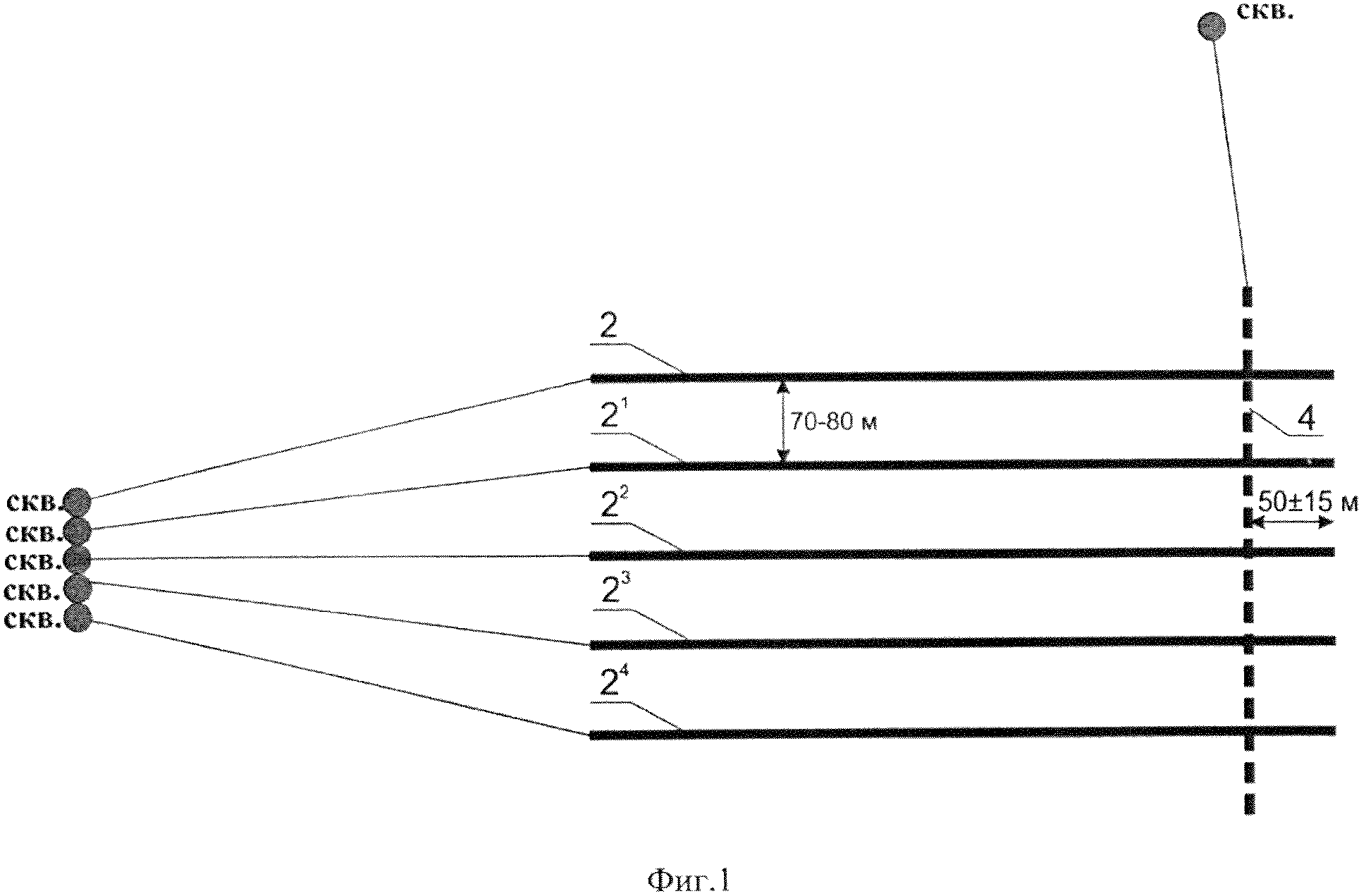
На фиг. 1 изображена схема расположения скважин в залежи (вид сверху).

[14]

На фиг. 2 изображена схема расположения горизонтальных добывающих и горизонтальной нагнетательной скважины в залежи (вид сбоку).

[15]

Способ реализуется следующим образом.

[16]

По геологическим данным, выбирается залежь 1 (фиг 2) сверхвязкой нефти. Производится строительство параллельных добывающих горизонтальных скважин 2 (фиг 1), 2'... 2n с расстояниями между ними для улучшения охвата в плане не менее 50 м (для месторождений Татарстана оптимальным является расстояние 70-80 м) с расположением в залежи 1 (фиг. 2) как минимум на 1 м (для исключения прорыва воды) выше подошвы 3 или уровня 3 водонефтяного контакта (ВНК), далее над пробуренными добывающими скважинами 2 (фиг 1), 2'…2n на расстоянии 50±15 м (отклонение связано с неточностью расположения забоев при строительстве) до их соответствующего забоя параллельных скважин 2 (фиг. 2) и выше бурится нагнетательная горизонтальная скважина 4, которую оборудуют технологической колонной (не показана) с муфтами (не показаны) размещаемыми в точке пересечений в плане с нижними горизонтальными скважинами 2 (фиг 1) и 2'…2n. Диаметр соответствующих муфт эмпирически подбирают исходя из потребностей закачки пара для нижних горизонтальных скважин 2, 2'…2n. При этом вскрытые горизонтальные части стволов горизонтальной скважины 2 (фиг. 2) снабжаются фильтром 5. По глубине залегания залежи 1 (фиг. 2) определят максимальное давление, исключающее нарушение целостности породы залежи 1. На начальном этапе закачивают пар с максимально возможным объемом в добывающие 2 (фиг. 1), 2'…2n и нагнетательную 4 скважины при давлении, исключающем нарушение целостности породы залежи 1 (фиг. 2). После чего горизонтальные скважины 2 (фиг. 1), 2'…2n останавливают на термокапилярную пропитку, а через нагнетательную скважину 4 продолжают закачку рабочего агента в зависимости от приемистости скважины (для Западно-Екатериновской залежи 1 Татарстана это составляет 80-160 т/сут). Далее запускают добывающие скважины 2, 2'…2n на отбор жидкости. При отсутствии термогидродинамической связи цикл прогрева при освоении повторяют.

[17]

Пример конкретного применения.

[18]

На Западно-Екатериновской залежи 1 (фиг. 2) битума, находящемся на глубине 210 м, залежь 1 представлена однородным пластом со средней эффективной нефтенасыщенной толщиной 8,7 м, пластовой температурой 8°С, давлением 0,44 МПа, нефтенасыщенностью 0,68 д. ед., пористостью 30%, проницаемостью 3,176 мкм2, плотностью битума в пластовых условиях 975 кг/м3, вязкостью 18260 мПа с, произвели бурение пяти горизонтальных добывающих скважин 2 (фиг. 1), 2'…24 с расстояниями между ними в плане 75-78 м (разбег связан с отклонением при бурении) с расположением в залежи 1 (фиг. 2) на 1,2-2 м (разбег связан с отклонением при бурении) выше уровня 3 ВНК, а также горизонтальную нагнетательную скважину 4 (фиг. 1) расположили над пробуренными добывающими скважинами 2, 2'…24 на расстоянии 50±8 м от забоя стволов добывающих скважин 2, 2'…24, при этом в верхнюю скважину установили НКТ с муфтами размещаемыми в точке пересечений в плане с нижними горизонтальными скважинами, диаметр которых подобрали (от 088,9 до 0108 мм) исходя из потребностей закачки пара для нижних горизонтальных скважин. По глубине (210 м) определили максимальное давление - 3 МПа, исключающее нарушение целостности породы залежи 1 (фиг. 2). На начальном этапе закачали пар с максимально возможным объемом в добывающие 2 (фиг. 1), 2'…24 и нагнетательную 4 скважины в суммарном количестве 9000 т при давлении 3 МПа, исключающем нарушение целостности породы залежи 1 (фиг. 2). После чего горизонтальные скважины 2 (фиг. 1), 2'…24 останавливают на термокапилярную пропитку, а через нагнетательную скважину продолжают закачку рабочего агента в количестве 120 т/сут (пласт залежи 1 (фиг. 2) больше не принимает). Далее продолжили закачку рабочего агента через нагнетательную горизонтальную скважину 4 в количестве 120 т/сут, а добывающие скважины 2 (фиг. 1), 2'…24 запустили на отбор.

[19]

Начальная добыча из скважин 2, 2'…24 составила от 12 до 15 т/сут, а температура - от 78 до 81°С. В результате использования предлагаемого способа по сравнению с аналогичным участком дебит на одну скважину 2, 2'…24 возрос на 55%, обводненность продукции снизилась с 95% до 88%. Материальные затраты снизились на 18%.

[20]

Предлагаемый способ разработки залежи сверхвязкой нефти позволяет упростить строительство параллельных скважин, снизить теплопотери за счет уменьшения площади прогрева и строительства добывающих и нагнетательных скважин с учетом их гидродинамических возможностей, что в совокупности приводит к увеличению продукции залежи.

Как компенсировать расходы
на инновационную разработку
Похожие патенты