патент
№ RU 2657338
МПК H01J31/50

Электронно-оптический преобразователь изображения с автоэмиссионным фотокатодом

Авторы:
Котляр Пётр Ефимович
Номер заявки
2017113807
Дата подачи заявки
20.04.2017
Опубликовано
13.06.2018
Страна
RU
Как управлять
интеллектуальной собственностью
Чертежи 
1
Реферат

Изобретение относится к области электронно-оптического приборостроения и касается электронно-оптического преобразователя с автоэиссионным фотокатодом. Электронно-оптический преобразователь включает в себя вакуумированную колбу, входное окно, прозрачное в инфракрасной области спектра, фотокатод, расположенный на внутренней поверхности входного окна, микроканальный усилитель и устройство регистрации двумерного электронного изображения. В качестве катода используется автоэмиссионный фотокатод, выполненный в планарной технологии в виде матричного пироэлектрического слоя из отдельных дискретных элементов, на которые нанесены автоэмиссионные излучатели, выполненные на основе углеродных наноструктурированных материалов. Предпороговое поле автоэмиссии обеспечивается в промежутке «катод-микроканальный усилитель» напряжением источника питания, а управление потоком электронов эмиссии катода осуществляется пироэлектрическим слоем за счет дополнительного поля, создаваемого пространственным распределением потенциалов на этом слое, при изменении температуры пироэлектрического материала в результате поглощении им входного инфракрасного излучения. Технический результат заключается в расширении длинноволновой границы спектрального диапазона и повышением чувствительности устройства. 1 ил.

Формула изобретения

Электронно-оптический преобразователь с автоэиссионным фотокатодом, содержащий в вакуумированной колбе: входное окно, прозрачное в инфракрасной области спектра; фотокатод, расположенный на внутренней поверхности входного окна; микроканальный усилитель и устройство регистрации двумерного электронного изображения, отличающийся тем, что в качестве катода применен автоэмиссионный фотокатод, выполненный в планарной технологии в виде матричного пироэлектрического слоя из отдельных дискретных элементов, на которые нанесены автоэмиссионные излучатели, выполненные на основе углеродных наноструктурированных материалов, предпороговое поле автоэмиссии обеспечивается в промежутке «катод-микроканальный усилитель» напряжением источника питания, а управление потоком электронов эмиссии катода осуществляется упомянутым пироэлектрическим слоем за счет дополнительного поля, создаваемого пространственным распределением потенциалов на этом слое, при изменении температуры пироэлектрического материала в результате поглощении им входного инфракрасного излучения.

Описание

[1]

Изобретение относится к области оптоэлектроники, касающейся электронно-оптических преобразователей (ЭОП), преобразующих изображения в среднем и дальнем инфракрасном диапазонах в изображения в видимом диапазоне или в электрический сигнал. Одним из главных применений ЭОП является их использование при создании приборов ночного видения (ПНВ).

[2]

Простейший (классический) ЭОП [Википедия] представляет собой короткий стеклянный цилиндр, на одном торце которого изнутри напылен фотокатод из вещества с малой работой выхода, то есть легко ионизирующегося под действием света. На другом торце напылен люминофор, то есть вещество, светящееся под ударами электронов. Специальная система электродов обеспечивает ускорение (то есть увеличение энергии) и размножение электронов на пути от фотокатода к люминофору. Для нормальной работы на эти электроды подаются определенные напряжения, вырабатываемые источником питания ЭОП.

[3]

Улучшение технических характеристик ЭОП с течением времени было направлено на расширение их рабочего частотного диапазона в область инфракрасного излучения и повышение чувствительности по отношению к уровню принимаемого сигнала. С этой целью проводились исследования по улучшению: эмиссионных свойств катодов (источников первичного потока электронов), характеристик усилителей и умножителей количества электронов и их микроминиатюризация, применение в ЭОП широкополосных пироэлектрических элементов для управления потоком электронов, формирующих изображения в двумерных регистрирующих устройствах.

[4]

В настоящее время традиционные фотокатоды на основе GаАs, применяемые в ЭОП III поколения, работают в области спектра 0,4-0,9 мкм. За последние годы созданы фотокатоды с отрицательным электронным сродством на основе структуры InGаАs - InGаАsР, работающие в области спектра 0,4-1,1 мкм. Достигнутые значения чувствительности многощелочного и арсенидгаллиевого фотокатодов близки к теоретически возможным, и дальнейшее улучшение параметров ЭОП и приборов ночного видения за счет повышения чувствительности фотокатода практически невозможно. Улучшение параметров ПНВ возможно за счет расширения диапазона чувствительности в ближнюю ИК-область спектра [Новые фотокатоды УФ- и ИК-диапазонов для перспективных фотоприемных устройств М.Р. Айнбунд, И.С. Васильев, Е.Г. Вилькин, Л.Г. и др. Прикладная физика 2006 №4, с. 97-101]. Актуальной проблемой является создание фотокатодов с рабочей областью спектра, смещенной в диапазон 1,4-1,8 мкм, поскольку этот диапазон крайне необходим при использовании в приборах ночного видения, так как здесь обеспечивается возможность наблюдения объектов в атмосферных аэрозолях и дымах, а также обнаружения излучения современных лазерных целеуказателей-дальномеров, работающих на длинах волн 1,55 мкм и 1,7 мкм.

[5]

Во всех существующих конструкциях электронно-оптических преобразователей изображения для генерации первичного электронного потока в катодах используется явление фотоэлектронной эмиссии. Какая-либо информация об использовании в ЭОП автоэлектронной эмиссии авторам неизвестна. В тоже время современные автоэмиссионные катоды обладают уникальными эмиссионными характеристиками. Эта уникальность обусловлена

[6]

- во-первых, среди эмиссионных явлений автоэмиссия занимает особое место, так как это чисто квантовый туннельный эффект, при котором для высвобождения электронов из катода не требуется затрат энергии на сам эмиссионный акт в отличие от термо-, фото- и вторичной эмиссии [Елинсон М.И., Васильев ГФ. Ненакаливаемые катоды. М.: Наука. 1974. 278 с.];

[7]

- во-вторых, используемые в катодах углеродные нанотрубки (УНТ) имеют идеальную геометрию для создания эмиттеров электронов - высокое аспектное отношение α (отношение длины трубки к диаметру). Благодаря этой особенности нанотрубки способны усиливать электрическое поле, так что величина напряженности электрического поля Е вблизи края УНТ примерно в α раз превышает среднюю величину этого параметра Ео, определяемую как отношение приложенного напряжение к размеру межэлектродного промежутка. Характерное значение коэффициента усиления поля для углеродных нанотрубок достигает значений 103.

[8]

- пороговая напряженность поля начала автоэмиссии нанотрубных катодов крайне низка и составляет 0,5-1 В/мкм, плотность тока в постоянном режиме достигает 0,5 А/см2, [Ю.В. Гуляев. Углеродные нанотрубные структуры - новый материал для эмиссионой электроники / ВЕСТНИК РОССИЙСКОЙ АКАДЕМИИ НАУК, том 73, №5, 2003, с. 389-391].

[9]

Указанные особенности УНТ в сочетании с высокой крутизной вольт-амперной характеристики эмиссии делают их перспективными для применений в качестве элементов конструкции катодов фотоэлектронных устройств.

[10]

В настоящее время известны автоэмиссионные катоды на основе различных наноструктурированных углеродных (наноуглеродных) материалов [Косаковский Г.Г., Латышев Ю.И., Благов Е.В., Косаковская З.Я., Орлов А.П., Смолович А.М. Низковольтная полевая эмиссия с углеродных нанотрубных катодов. Нанотехнологии: разработка, применение - XXI век, 2013]. В предлагаемом решении представлен вариант изготовления автоэмиссионного катода с использованием углеродных нанотрубок.

[11]

Что касается успехов в разработке усилителей-умножителей первоначального потока электронов, имитируемых катодом, то широкое применение получили в настоящее время микроканальные усилители (на микроканальных пластинах).

[12]

Расширение длинноволновой границы спектральной чувствительности электронно-оптических преобразователей изображения в область среднего и дальнего инфракрасного диапазонов (до 40 мкм) с одновременным повышением их чувствительности фактически переводит ЭОП из класса приборов ночного видения в класс тепловизионных приборов (пирометры, тепловизоры). В качестве фоточувствительных элементов таких приборов могут использоваться пироэлектрики, у которых при изменении температуры возникает электрическое поле. Эти элементы имеют практически постоянную и высокую чувствительность как в ближнем, так и в дальнем ИК-диапазонах.

[13]

Известны работы, в которых рассмотрены попытки применения пироэлектриков при разработке ЭОП. Например, патент [RU 2325725 «Пироэлектрический электронно-оптический преобразователь изображения» Авторы: Гончаренко Б.Г, Брюхневич Г.И., Салов В.Д., Зорин С.М., Виленчик Л.С., Антипов В.А от 10.06.2006], в котором описано устройство, содержащее в вакуумированном объеме источник однородного потока электронов, представляющий собой щелочноземельный фотокатод, выполненный сплошным из материала, прозрачного для инфракрасного излучения, освещаемый вспомогательным источником света, пироэлектрическую мишень со cквозными отверстиями, поглощающий слой со сквозными отверстиями и люминесцентный экран. Устройство осуществляет модуляцию однородного (моноэнергетического) потока электронов матричным пироприемником.

[14]

Известен также патент [RU 2476952 С2 «Электронно-оптический преобразователь». Авторы Карамурзов Б.С. и др., опубл., 27.02.2013. Бюл. №6]. Электронно-оптический преобразователь содержит вакуумированную колбу с входным окном, прозрачным в инфракрасной области спектра, фотокатод, создающий поток электронов, пироэлектрическую мишень со сквозными отверстиями, разделенную на дискретные элементы для прохождения электронного потока, управляющий электрод, несущую диэлектрическую пленку и поглощающий слой, включающий пироэлектрический слой, устройство регистрации двумерного электронного изображения, микроканальную пластину - умножитель электронов.

[15]

В обоих патентах используются пироэлектрические элементы с целью расширения частотного диапазона ЭОП, но в обоих имеются серьезные недостатки: 1 - поток электронов проходит к регистрирующему устройству только через отверстия в пироэлектрической мишени, что снижает чувствительность и разрешение ЭОП, поскольку большая часть площади мишени не пропускает поток электронов;

[16]

2 - применение щелочноземельных фотокатодов с низкой эмиссионной способностью, для которых необходим внешний источник света для облучения катода;

[17]

3 - испарения от щелочного фотокатода, вызванные ионной бомбардировкой приводят к быстрому выходу из строя пироэлектрических элементов вследствие отравления.

[18]

По количеству общих признаков, взятых из прототипа к предлагаемому решению ближе изобретение по патенту RU 2476952 С2.

[19]

Целью предлагаемого изобретения является создание портативного малогабаритного неохлаждаемого преобразователя изображения в среднем и дальнем инфракрасном диапазонах в изображения в видимом диапазоне или в электрический сигнал на базе классического электронно-оптического преобразователя, в котором устраняются отмеченные выше недостатки известных конструктивных решений ЭОП.

[20]

Поставленная цель достигается тем, что в электронно-оптическом преобразователе, содержащем в вакуумированной колбе: входное окно, прозрачное в инфракрасной области спектра; фотокатод, расположенный на внутренней поверхности входного окна и создающий поток электронов; микроканальный усилитель и устройство регистрации двумерного электронного изображения, в качестве катода применен автоэмиссионный фотокатод, выполненный в планарной технологии в виде матричного пироэлектрического слоя из отдельных дискретных элементов, на которые нанесены автоэмиссионные излучатели, выполненные на основе углеродных наноструктурированных материалов,' а управление потоком электронов эмиссии катода осуществляется упомянутым пироэлектрическим слоем за счет дополнительного поля, создаваемого пространственным распределением потенциалов на этом слое, при изменении температуры пироэлектрического материала в результате поглощении им входного инфракрасного излучения.

[21]

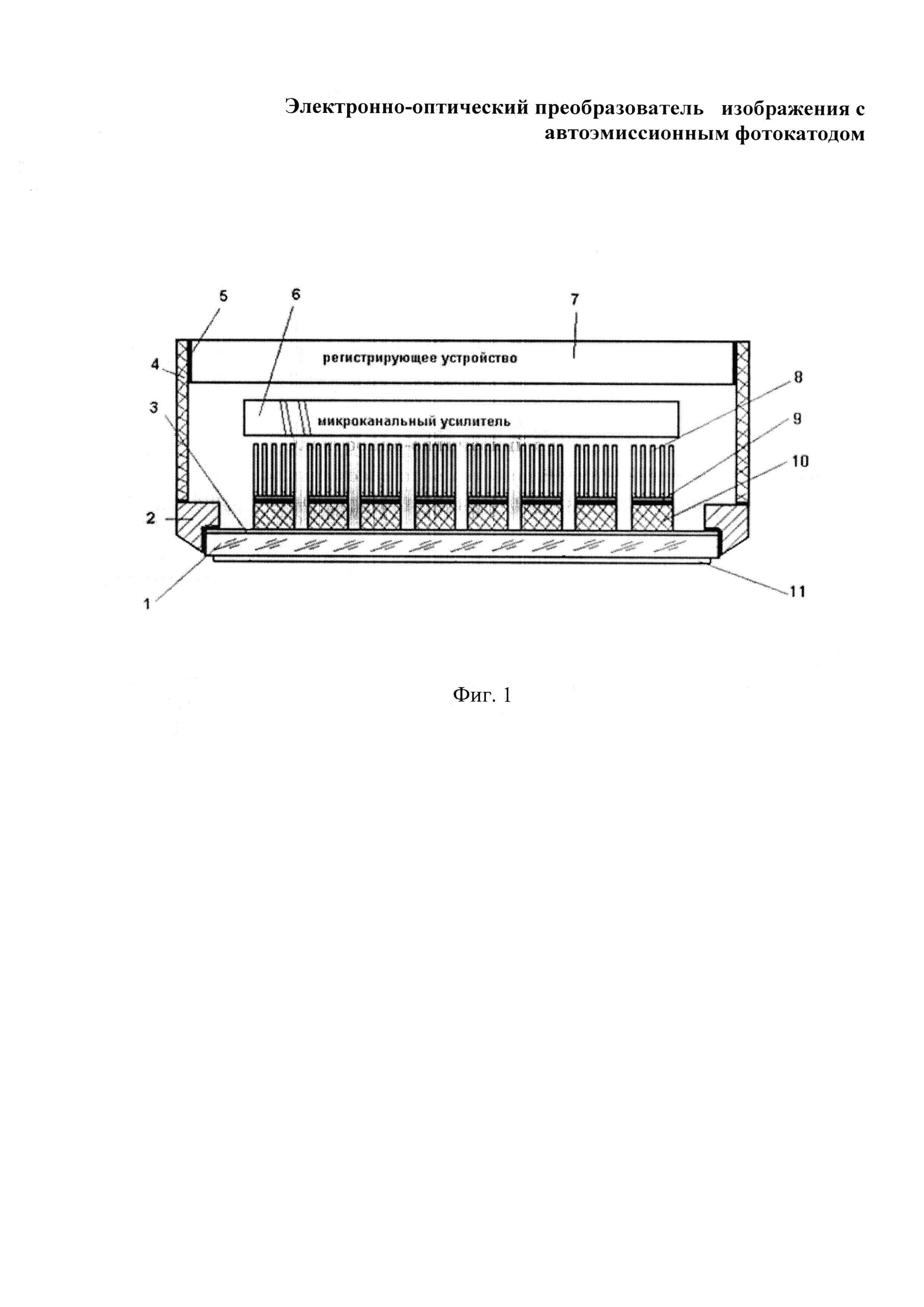
Блок-схема предлагаемого устройства поясняется фиг. 1, в деталях показан разработанный авторами вариант конструкции автоэмиссионного катода - нового элемента в предлагаемом решении. Анализируемое ИК-излучение проходит через входное окно 1, выполненное из прозрачного в исследуемом диапазоне длин волн материала, отсекающего коротковолновую часть спектра, имеющее просветляющее покрытие 11 на наружной поверхности. Входное окно 1 заключено в металлическое кольцо 2. На внутреннюю поверхность входного окна наносятся: прозрачный проводящий слой 3 (например, оксида индия-оксида олова), имеющий гальванический контакт с металлическим кольцом 2; слой пироэлектрического материала (например, сегнетоэлектрика ДТГС), разделенный на отдельные мозаичные элементы 10 субмикронного размера; сплошной металлический электрод 9 пироэлемента, и система ортогонально ориентированных к поверхности пироэлемента автоэмиттирующих электроны острий 8, выполненных на основе углеродных наноструктурированных материалов с высоким аспектным отношением (например, углеродных нанотрубок). Микроканальный усилитель 6 расположен за автоэмиссионным катодом. Устройство регистрации двумерного электронного изображения 7, выполненного в виде люминесцентной панели или электронно чувствительной матрицы. Указанные элементы конструкции помещены в вакуумированный объем, образуемый керамическим корпусным кольцом 4 и герметизирующими слоями 5.

[22]

Работа устройства. Минусовой вывод источника питания электронно-оптического преобразователя подается на металлическое кольцо 2. Напряжение источника питания обеспечивает в промежутке «катод-микроканальный усилитель» предпороговое поле автоэмиссии. Ток автоэмиссии возникает при попадании на входное окно инфракрасного излучения. Управление током автоэмиссии осуществляется дополнительным полем, создаваемым потенциалом на мозаичном элементе пироэлектрического слоя за счет изменения температуры пироэлектрического материала при поглощении инфракрасного излучения. В качестве пироэлектрического слоя можно использовать матрицу на основе мозаичных пироэлементов. Далее ток эмиссии усиливается микроканальным усилителем и электронный поток попадает на устройство регистрации изображения в видимом диапазоне, выполненное в виде люминесцентной панели или электронно-чувствительной матрицы.

[23]

Реализуемость изобретения. Новыми элементами (по сравнению с классическим ЭОЛ) являются: автоэмиссионный катод, матрица пироэлектрических элементов. Реализуемость изобретения обеспечена:

[24]

1. Технологией изготовления пироэлектрических матриц, предназначенных для преобразования проецированного на нее оптического излучения инфракрасного диапазона в потенциальный рельеф, возникающий на поверхности пироэлектрического элемента, которая в настоящее время хорошо отработана и широко применяются в пировидиконах. В работе [Новые высокочувствительные виброустойчивые пировидиконы диапазона длин волн 8-14 мкм. Н.А. Березкин, С.Ю. Меркин, Н.Н. Москвина, Р.М. Степанов. Прикладная физика, №4-2006] сообщается о создании на основе мозаичных пироэлементов размерами 20×18×18 мкм из дейтерированного триглицинсульфата пировидикона для спектрального диапазона 8-14 мкм.

[25]

2. В настоящее время известно значительное количество работ, посвященных разработке технологии изготовления автоэмиссионных катодов на основе УНТ см. патент [РФ 250485, «Автоэмиссионный фотокатод»]; разработана технология струйной печати автоэмиссионных катодов на основе УНТ (Лаборатория технологий 3D печати функциональных микроструктур МФТИ http://mipt.ru) [Петрухин Г.Н. Разработка конструктивно-технологических методов роста углеродных наноструктур для автоэмиссионных применений. М. 2010].

[26]

Указанные ранее недостатки известных устройств устранены за счет разработки оригинальной конструкции катода предлагаемого ЭОП. Новый эффект достигается за счет расширения спектрального диапазона устройства вплоть до дальнего инфракрасного диапазона, обеспечения высокой чувствительности и высокой разрешающей способности.

Как компенсировать расходы
на инновационную разработку
Похожие патенты