патент
№ RU 2703599
МПК F02K9/80

Ракетный двигатель твердого топлива (РДТТ) с изменяемым вектором тяги по направлению и сопловая заглушка

Авторы:
Голубев Михаил Юрьевич
Номер заявки
2019101861
Дата подачи заявки
24.01.2019
Опубликовано
21.10.2019
Страна
RU
Как управлять
интеллектуальной собственностью
Чертежи 
4
Реферат

Ракетный двигатель твердого топлива с изменяемым вектором тяги по направлению состоит из силового теплоизолированного корпуса и центрального тела, образующих в выходной части контур кольцевого сопла, канального заряда твердого топлива, скрепленного с силовым теплоизолированным корпусом, воспламенительного устройства и сопловой заглушки, привода перемещения, расположенного в центральном теле. Часть центрального тела выходит за срез внешнего контура кольцевого сопла. Силовой теплоизолированный корпус снабжен дополнительной внутренней силовой теплоизолированной оболочкой, являющейся продолжением центрального тела, расположенной во внутренней полости канального заряда твердого топлива и соединенной с задним днищем силового теплоизолированного корпуса герметизирующим эластичным шарниром и механизмом привода углового перемещения относительно центральной оси. Другое изобретение группы относится к сопловой заглушке, выполненной в виде герметизирующего элемента. Герметизирующий элемент выполнен в виде тороидальной эластичной камеры, заполненной газом под давлением, установленной в дозвуковой части кольцевого сопла и соединенной связями в виде стержней с несколькими сегментами, прилегающими к сверхзвуковой части кольцевого сопла и равномерно расположенными по его периметру. Группа изобретений позволяет обеспечить снижение потерь тяги, а также надежность и стабильность выхода на режим при запуске двигателя. 2 н. и 5 з.п. ф-лы, 4 ил.

Формула изобретения

1. Ракетный двигатель твердого топлива (РДТТ) с изменяемым вектором тяги по направлению, состоящий из силового теплоизолированного корпуса и центрального тела, образующих в выходной части контур кольцевого сопла, канального заряда твердого топлива, скрепленного с силовым теплоизолированным корпусом, воспламенительного устройства и сопловой заглушки, привода перемещения, расположенного в центральном теле, причем часть центрального тела выходит за срез внешнего контура кольцевого сопла, отличающийся тем, что силовой теплоизолированный корпус РДТТ снабжен дополнительной внутренней силовой теплоизолированной оболочкой, являющейся продолжением центрального тела, расположенной во внутренней полости канального заряда твердого топлива и соединенной с задним днищем силового теплоизолированного корпуса герметизирующим эластичным шарниром и механизмом привода углового перемещения относительно центральной оси.

2. РДТТ по п. 1, отличающийся тем, что ось симметрии профиля кольцевого сопла в закритической части параллельна оси двигателя.

3. РДТТ по п. 1, отличающийся тем, что ось симметрии профиля кольцевого сопла в закритической части составляет с осью двигателя угол в пределах 5…35°.

4. РДТТ по п. 1, отличающийся тем, что механизм привода углового перемещения жестко скреплен с силовым теплоизолированным корпусом и соединен с дополнительной внутренней силовой теплоизолированной оболочкой механической связью управления ее перемещением.

5. РДТТ по п. 1 отличающийся тем, что канальный заряд твердого топлива скреплен с дополнительной внутренней силовой теплоизолированной оболочкой.

6. РДТТ по п. 1 отличающийся тем, что механизм привода углового перемещения жестко скреплен с дополнительной внутренней силовой теплоизолированной оболочкой и соединен с силовым теплоизолированным корпусом механической связью управления ее перемещением.

7. Сопловая заглушка, выполненная в виде герметизирующего элемента, отличающаяся тем, что герметизирующий элемент выполнен в виде тороидальной эластичной камеры, заполненной газом под давлением, установленной в дозвуковой части кольцевого сопла и соединенной связями в виде стержней с несколькими сегментами, прилегающими к сверхзвуковой части кольцевого сопла и равномерно расположенными по его периметру.

Описание

[1]

Изобретение относится к ракетной технике и может быть использовано для разработки двигателя, обеспечивающего перемещение модуля по требуемой траектории при сложных внешних условиях: - например доставку модуля с аппаратурой на подводную глубоководную станцию и обратно при сильных подводных течениях. При этом меняется противодавление окружающей среды, что приводит к нерасчетным режимам работы сопла двигателя, а наличие сильных подводных течений требует удержания модуля на расчетной траектории движения, что должно быть обеспечено управлением по направлению.

[2]

Известны РДТТ с изменяемым вектором тяги по направлению, за счет использования дополнительных поворотных двигателей, двигателей с поворотными соплами, двигателей оснащенных аэродинамическими и газовыми рулями, выдвижными щитками и дефлекторами, а также двигатели с вводом жидкости, газов или твердых тел в сверхзвуковую часть сопла (А.И. Бабкин, С.И. Белов, Н.Б. Рутковский, Е.В. Соловьев, "Основы теории автоматического управления ракетными двигательными установками", Москва, "Машиностроение", 1986 г.). Однако применение таких схем двигателей не всегда целесообразно, исходя из условий компоновки в изделии и целевых условий применения.

[3]

Известны управляемые РДТТ с кольцевым соплом внешнего расширения и установленным внутри центральным телом, а также изменяемым вектором тяги по величине и направлению (см. И.Х. Фахрутдинов, А.В. Котельников "Конструкция и проектирование ракетных двигателей твердого топлива", Москва, Машиностроение, 1987 г. (см. раздел 6.4, рисунок 6.13 принятый за прототип).

[4]

Недостатками данной конструкции являются:

[5]

- наличие ребер крепления центрального тела, что влечет за собой, необходимость их теплоизоляции, а при наличии К-фазы в потоке газа и обеспечение их эрозионной стойкости, а также влияет на структуру потока газа в сверхзвуковой части сопла и снижение тяги, а также увеличение массы двигателя, что увеличивает шарнирный момент, увеличивающий мощность привода;

[6]

- обтекание газом центрального тела влияет на структуру потока в предсопловом объеме и при движении приводит к изменению давления в камере сгорания, и как следствие изменению тяги;

[7]

- необходимость прокладки кабелей системы управления приводом перемещения через высокотемпературную зону потока газа;

[8]

- для обеспечения управления требуется реализовать поворот оси струи газа в закритической части. Величина угла поворота составляет до 11°, что снижает величину осевой тяги, которая пропорциональна углу поворота.

[9]

Для повышения надежности запуска двигателя его камера сгорания герметизируется - в сопле устанавливается вскрываемая сопловая заглушка.

[10]

Известны конструкции сопловых заглушек ракетных двигателей твердого топлива (см. A.M. Виницкий "Ракетные двигатели на твердом топливе", Москва, Машиностроение, 1973 г.). В известной конструкции рисунок 1.13 сопловая заглушка в форме тарели установлена в сверхзвуковой части сопла (прототип к п. 7).

[11]

При использовании данной конструкции сопловой заглушки, в РДТТ с кольцевым соплом не обеспечивается достаточная надежность герметизации и стабильность давления вскрытия сопловой заглушки.

[12]

Задачей данного изобретения является создание двигателя, обеспечивающего перемещение модуля по требуемой траектории при сложных внешних условиях, управляемого по направлению с минимальными потерями тяги, обладающего повышенной надежностью герметизации камеры сгорания и запуска, обеспечивающего стабильность давления вскрытия сопловой заглушки.

[13]

Указанная задача достигается за счет того, что в известном РДТТ с изменяемым вектором тяги по направлению, состоящий из силового теплоизолированного корпуса и центрального тела, образующими в выходной части контур кольцевого сопла, канального заряда твердого топлива, скрепленного с силовым теплоизолированным корпусом, воспламенительного устройства, сопловой заглушки, привода перемещения, расположенного в центральном теле, причем часть центрального тела выходит за срез внешнего контура кольцевого сопла, силовой теплоизолированный корпус РДТТ снабжен дополнительной внутренней силовой теплоизолированной оболочкой, являющейся продолжением центрального тела, расположенной во внутренней полости канального заряда твердого топлива и соединенной с задним днищем силового теплоизолированного корпуса герметизирующим эластичным шарниром и механизмом привода углового перемещения относительно центральной оси, кроме того, ось симметрии профиля кольцевого сопла в закритической части параллельна оси двигателя, или ось симметрии профиля кольцевого сопла в закритической части составляет с осью двигателя угол в пределах 5…35°, механизм привода углового перемещения жестко скреплен с силовым теплоизолированным корпусом и соединен с дополнительной внутренней силовой теплоизолированной оболочкой механической связью управления ее перемещением, канальный заряд твердого топлива скреплен с дополнительной внутренней силовой теплоизолированной оболочкой, или механизм привода углового перемещения жестко скреплен с дополнительной внутренней силовой теплоизолированной оболочкой и соединен с силовым теплоизолированным корпусом механической связью управления ее перемещением. Сопловая заглушка, выполненная в виде герметизирующего элемента, отличающаяся тем, что герметизирующий элемент, выполнен в виде тороидальной эластичной камеры, заполненной газом под давлением, установленной в дозвуковой части кольцевого сопла и соединенной связями в виде стержней с несколькими сегментами, прилегающими к сверхзвуковой части кольцевого сопла и равномерно расположенными по его периметру.

[14]

Предлагаемая конструкция РДТТ с изменяемым вектором тяги по направлению и сопловая заглушка поясняется чертежами.

[15]

На фиг. 1 изображен общий вид РДТТ с изменяемым вектором тяги по направлению, ось симметрии профиля кольцевого сопла которого параллельна оси двигателя и верхним расположением модуля.

[16]

На фиг. 2 изображено положение сегментов сопловой заглушки в кольцевом сопле.

[17]

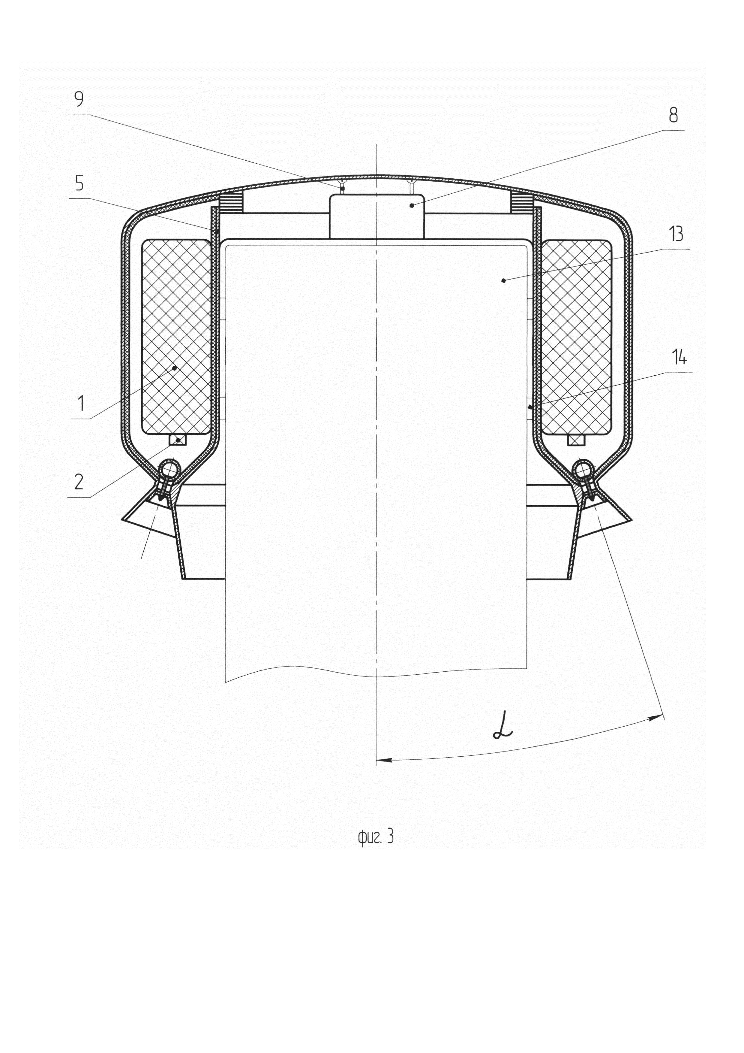
На фиг. 3 изображен общий вид РДТТ с изменяемым вектором тяги по направлению, ось симметрии профиля кольцевого сопла в закритической части которого составляет угол α в пределах 5…35°, относительно оси двигателя и нижним расположением модуля.

[18]

На фиг. 4 изображена конструкция сопловой заглушки.

[19]

РДТТ с изменяемым вектором тяги по направлению (см. фиг. 1) состоит из канального заряда твердого топлива 1 с воспламенительным устройством 2, скрепленного с силовым теплоизолированным корпусом 3. Центральное тело 4 соединено с дополнительной внутренней силовой теплоизолированной оболочкой 5, расположенной внутри канального заряда твердого топлива 1. Дополнительная внутренняя силовая теплоизолированная оболочка 5 соединена с задним днищем 6 силового теплоизолированного корпуса 3 через герметизирующий эластичный шарнир 7 и механизм привода углового перемещения 8 с механической связью 9 управления ее перемещением.

[20]

Кольцевое сопло, образованное центральным телом 4 и силовым теплоизолированным корпусом 3, загерметизировано с помощью сопловой заглушки. Сопловая заглушка, выполнена в виде тороидальной эластичной камеры 10, заполненной газом под давлением, установленной в дозвуковой части кольцевого сопла и соединенной связями в виде стержней 11 с несколькими сегментами 12 (см. фиг. 4), прилегающими к сверхзвуковой части кольцевого сопла и равномерно расположенными по его периметру.

[21]

Кроме того, канальный заряд твердого топлива 1 с воспламенительным устройством 2 может быть скреплен с дополнительной внутренней силовой теплоизолированной оболочкой 5 (см. фиг. 3), а также ось симметрии профиля сопла в закритической части может быть как параллельна оси РДТТ с изменяемым вектором тяги по направлению, так и составлять с ней угол α в пределах 5…35°, а механизм привода углового перемещения 8 может быть как жестко скреплен с силовым теплоизолированным корпусом 3 и соединен с дополнительной внутренней силовой теплоизолированной оболочкой 5 механической связью 9 управления ее перемещением, так и жестко скреплен с дополнительной внутренней силовой теплоизолированной оболочкой 5 и соединен с силовым теплоизолированным корпусом 3 механической связью 9 управления ее перемещением.

[22]

Предлагаемый РДТТ с изменяемым вектором тяги по направлению стыкуется с модулем 13 (показано условно) как с передней части, так и с задней с помощью стыковочных узлов 14. При компоновке РДТТ с изменяемым вектором тяги по направлению с модулем 13 в передней части рационально управление боковым вектором тяги осуществлять перемещением дополнительной внутренней силовой теплоизолированной оболочки 5, а при стыковке модуля 13 к задней части - перемещением силового теплоизолированного корпуса 3. При этом возможно использование свободного объема дополнительной внутренней силовой теплоизолированной оболочки 5.

[23]

РДТТ с изменяемым вектором тяги по направлению и сопловая заглушка работают следующим образом. В исходном положении силовой теплоизолированный корпус 3 и дополнительная внутренняя силовая теплоизолированная оболочка 5 соединены между собой эластичным шарниром 7 и механизмом привода углового перемещения 8 с механической связью 9 управления ее перемещением. Эластичный шарнир 7 компенсирует взаимные перемещения силового теплоизолированного корпуса 3 и дополнительной внутренней силовой теплоизолированной оболочки 5 и герметизирует камеру сгорания РДТТ с изменяемым вектором тяги по направлению.

[24]

За счет того, что силовой теплоизолированный корпус 3 и дополнительная внутренняя силовая теплоизолированная оболочка 5, являющаяся продолжением центрального тела 4 образуют канал, обеспечена плавность течения газа в предсопловом объеме.

[25]

Часть центрального тела 4, выходящая за срез внешнего контура сопла, являющаяся соплом внешнего расширения, обеспечивает саморегулирование режима работы кольцевого сопла по степени расширения в зависимости от противодавления окружающей среды, что оптимизирует потери тяги.

[26]

Сопловая заглушка, состоящая из сегментов 12 соединенных стержнями 11 с тороидальной эластичной камерой 10, которая за счет внутреннего давления заполняющего ее газа обеспечивает герметичность камеры сгорания РДТТ с изменяемым вектором тяги по направлению и фиксацию положения кольцевого сопла. При росте давления в камере сгорания РДТТ с изменяемым вектором тяги по направлению и достижении необходимого перепада давления между давлением в камере сгорания РДТТ с изменяемым вектором тяги по направлению и давлением в тороидальной эластичной камере, сопловая заглушка вылетает из кольцевого сопла и РДТТ с изменяемым вектором тяги по направлению создает тягу. Такая конструкция РДТТ с изменяемым вектором тяги по направлению обеспечивает надежную герметизацию камеры сгорания и стабильность давления вскрытия сопловой заглушки, что обеспечивает расчетный выход РДТТ с изменяемым вектором тяги по направлению на режим, а также фиксацию положения кольцевого сопла до начала работы.

[27]

По мере необходимости в управляющих боковых усилиях механизм привода углового перемещения 8 по команде системы управления перемещает или силовой теплоизолированный корпус 3 или дополнительную внутреннюю силовую теплоизолированную оболочку 5 в нужном направлении и перераспределяет поток газа в критическом сечении, относительно плоскости, проходящей через продольную ось РДТТ с изменяемым вектором тяги по направлению и перпендикулярную требуемому направлению создания боковой силы, что создает асимметрию тяги, обеспечивая возникновение момента вращения вокруг центра масс и боковую силу. При этом, по сравнению с прототипом, потери тяги меньше, поскольку боковое усилие создается за счет перераспределения потока газа в критическом сечении кольцевого сопла, а угол поворота или силового теплоизолированного корпуса 3 или дополнительной внутренней силовой теплоизолированной оболочки 5 составляет не более 3,5°. При этом возможны два варианта управления вектором тяги. В первом варианте (см. фиг. 1) кольцевое сопло образует поток газа параллельный оси РДТТ с изменяемым вектором тяги по направлению, перераспределение потока газа в критическом сечении создает асимметрию тяги, что обеспечивает возникновение момента вращения вокруг центра масс и незначительную боковую силу. Во втором варианте (см. фиг. 3) кольцевое сопло образует поток газа под углом к оси РДТТ с изменяемым вектором тяги по направлению, перераспределение потока газа в критическом сечении приводит к возникновению бокового усилия, в несколько раз большего, чем в первом варианте.

[28]

Конструктивное исполнение такого РДТТ с изменяемым вектором тяги по направлению обеспечивает движение модуля по требуемой траектории при сложных внешних условия. При небольших потребных управляющих усилиях для обеспечения траектории движения модуля следует применять РДТТ с изменяемым вектором тяги по направлению ось симметрии профиля кольцевого сопла которого параллельна оси двигателя (см. фиг. 1), при необходимости обеспечения больших управляющих усилиях - РДТТ с изменяемым вектором тяги по направлению ось симметрии профиля кольцевого сопла которого составляет угол α в пределах 5…35° относительно оси двигателя (см. фиг. 3).

[29]

Повышение надежности герметизации камеры сгорания РДТТ с изменяемым вектором тяги по направлению и стабильности давления вскрытия сопловой заглушки достигается за счет того, что герметизирующий элемент, выполнен в виде тороидальной эластичной камеры 10, заполненной газом под давлением, установленной в дозвуковой части кольцевого сопла и соединенной связями в виде стержней 11 с несколькими сегментами 12, прилегающими к сверхзвуковой части кольцевого сопла и равномерно расположенными по его периметру.

[30]

Стабильность давления вскрытия сопловой заглушки обеспечивается требуемым давлением газа заполняющего тороидальную эластичную камеру 10, создающим необходимый перепад давления для вскрытия сопловой заглушки между давлением в камере сгорания РДТТ с изменяемым вектором тяги по направлению и давлением в тороидальной эластичной камере.

[31]

Применение такой конструкции сопловой заглушки кроме надежной герметизации кольцевого сопла обеспечивает фиксацию его положения до начала работы РДТТ с изменяемым вектором тяги по направлению.

[32]

Предлагаемая конструкция РДТТ с изменяемым вектором тяги по направлению и сопловая заглушка позволяет обеспечить движение модуля по требуемой траектории при сложных внешних условиях, снизить потери тяги и обеспечить надежность и стабильность выхода на режим при запуске двигателя.

[33]

Предлагаемая конструкция РДТТ с изменяемым вектором тяги по направлению и сопловая заглушка планируется для использования в перспективных разработках.

Как компенсировать расходы
на инновационную разработку
Похожие патенты