Изобретение относится к авиационной и ракетной технике. Способ обеспечения теплового режима приборного отсека летательного аппарата заключается в охлаждении аппаратуры (2) двухконтурной системой охлаждения. Теплоотвод осуществляется во внешнем контуре путем испарения низкокипящего хладагента с отводом его паров в атмосферу. Охлаждение аппаратуры (2) приборного отсека во внутреннем контуре системы охлаждения осуществляют кондуктивной передачей тепла от приборов на испарители встроенных в вертикальные силовые сотопанели (3) вертикальных тепловых труб (4). В нижней части сотопанелей (3) размещают охлаждаемые приборы с большим адиабатическим нагревом. В направлении к верхней части сотопанелей (3) размещают приборы с меньшим адиабатическим нагревом. Конденсаторы тепловых труб охлаждают трубным теплообменником (5) внешнего испарительного контура. Изобретение улучшает термостабилизацию бортовой аппаратуры, повышает надежность и снижает энергопотребление. 2 ил.
Способ обеспечения теплового режима приборного отсека летательного аппарата, заключающийся в охлаждении аппаратуры двухконтурной системой охлаждения с теплоотводом во внешнем контуре путем испарения низкокипящего хладагента с отводом его паров в атмосферу, отличающийся тем, что охлаждение аппаратуры приборного отсека во внутреннем контуре системы охлаждения осуществляют кондуктивной передачей тепла от приборов на испарители встроенных в вертикальные силовые сотопанели вертикальных тепловых труб при размещении в нижней части сотопанелей охлаждаемых приборов с большим адиабатическим нагревом, а в направлении к верхней части сотопанелей размещении приборов с меньшим адиабатическим нагревом, при этом интенсивность адиабатического нагрева приборов оценивают величиной, определяемой из соотношения: где i - номер участка полета; n - число участков полета; Ni - тепловыделение прибора на i участке полета, Вт; τi - продолжительность i участка полета, с; С - теплоемкость прибора, Дж/°C, а конденсаторы тепловых труб охлаждают трубным теплообменником внешнего испарительного контура.
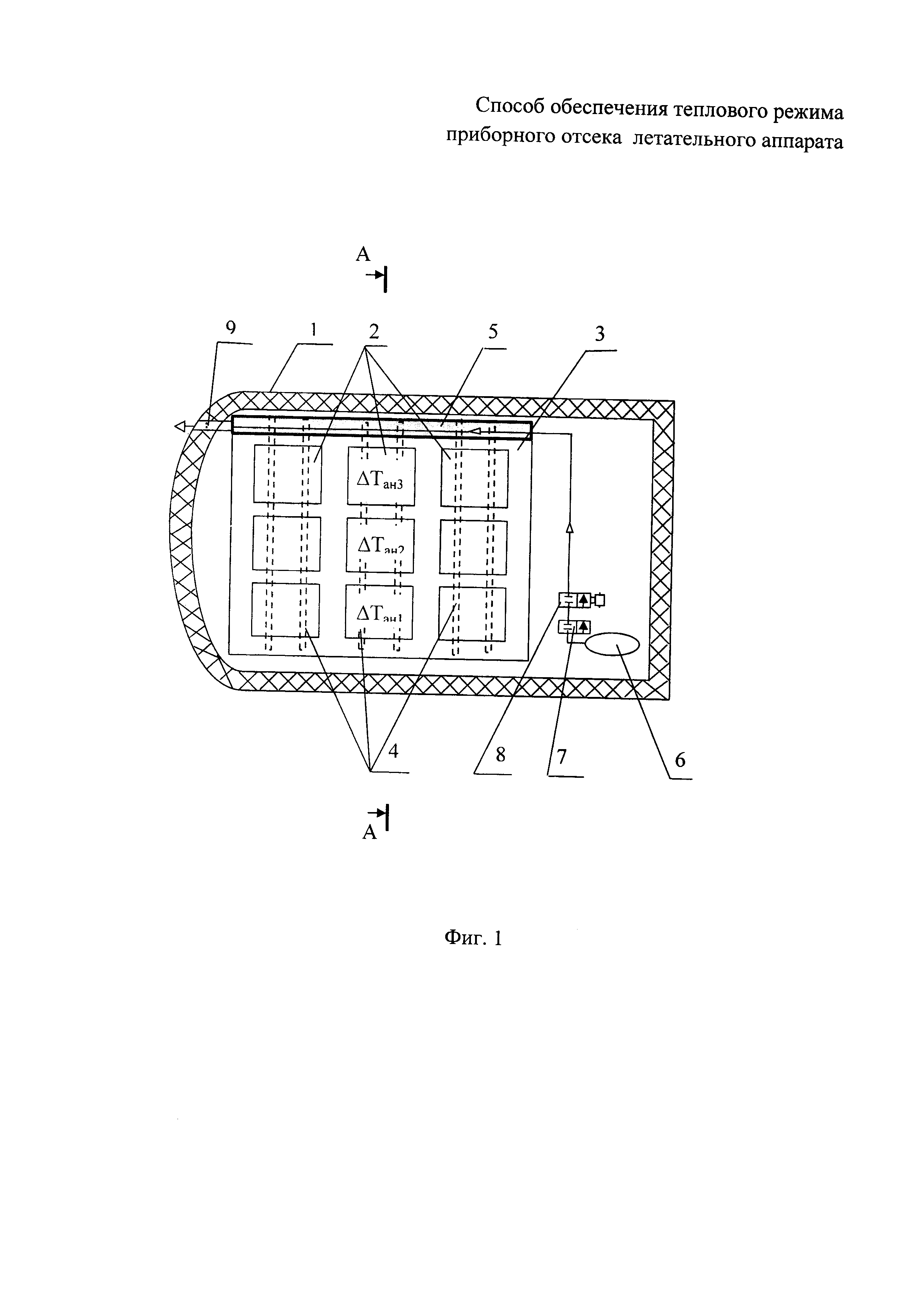
Изобретение относится к авиационной и ракетной технике и может быть использовано для обеспечения теплового режима приборных отсеков сверх- и гиперзвуковых летательных аппаратов (ЛА). В современных условиях с увеличением скоростей полета атмосферных ЛА разработка активных систем охлаждения аппаратуры приборных отсеков становится актуальной задачей. Одновременно возрастают требования к агрегатам систем охлаждения в части снижения энергопотребления, повышения надежности, улучшения габаритно-массовых показателей. Известны способы обеспечения теплового режима приборного отсека ЛА с использованием активных систем охлаждения, например, система тепловой защиты радиоэлектронной аппаратуры сверхзвукового летательного аппарата по а.с. №1840522, B64G 9/00, 2014. Указанная система содержит резервуар с теплоносителем, сообщающийся через регулирующий клапан с испарителем, находящимся в тепловом контакте с охлаждаемой аппаратурой. Испаритель через ряд элементов системы сообщается с забортным пространством. Способ обеспечения теплового режима аппаратуры, реализуемый в известной системе тепловой защиты, заключается в охлаждении аппаратуры испарением жидкого теплоносителя, причем теплоотдача идет через тепловой контакт теплоотдающих элементов конструкции радиоэлектронной аппаратуры с рабочим объемом испарителя, а сброс паров теплоносителя осуществляется в забортное пространство. Недостаток такого способа обеспечения теплового режима аппаратуры заключается в том, что в результате контакта жидкого теплоносителя или его паров непосредственно с охлаждаемой аппаратурой происходит ухудшение термостабилизации аппаратуры и снижение надежности ее функционирования в связи с возникающими значительными градиентами температур. Известны также способы обеспечения теплового режима приборного отсека ЛА (см. патент РФ 2531210, 2014, В64С 30/00, B64G 1/50) и двухконтурные системы обеспечения теплового режима (СОТР) приборно-агрегатного оборудования ЛА (см. "Системы терморегулирования космических аппаратов", перевод с английского под редакцией Г.И. Воронина, М.: Машиностроение, 1968 г., с. 168-170, ближайший аналог). Каждая из систем содержит емкость с хладагентом, регулирующий подачу хладагента клапан, газожидкостный теплообменник-испаритель, жидкостная полость которого через регулятор давления связана с окружающей ЛА внешней средой. Способ обеспечения теплового режима приборного оборудования с помощью таких систем заключается в охлаждении аппаратуры приборного отсека циркулирующим газом и охлаждении газа в контуре с испарительным циклом за счет испарения низкокипящего хладагента с отводом его паров в атмосферу. Известный способ на основе двухконтурной СОТР обладает следующими недостатками: - охлаждение циркулирующим газом не обеспечивает эффективную термостабилизацию аппаратуры вследствие неравномерности ее обдува, а равномерность обдува газом достигается увеличением количества, а также массы и габаритов воздуховодов; - используемая для реализации способа СОТР имеет повышенную массу и энергопотребление и соответственно пониженную надежность, обусловленные наличием вентиляционного контура. В современных системах охлаждения приборных отсеков ЛА масса вентиляционной системы составляет до 5% от массы аппаратуры, а энергопотребление - до 20% от энергопотребления приборов. Задачей настоящего изобретения является улучшение термостабилизации бортовой аппаратуры, существенное снижение энергопотребления и повышение надежности работы СОТР в приборном отсеке ЛА, совершающего полет в условиях гравитации. Поставленная задача решается тем, что для обеспечения теплового режима приборного отсека ЛА с помощью двухконтурной системы охлаждения с теплоотводом во внешнем контуре путем испарения низкокипящего хладагента с отводом его паров в атмосферу, охлаждение аппаратуры приборного отсека во внутреннем контуре системы охлаждения осуществляют кондуктивной передачей тепла от приборов на испарители встроенных в вертикальные силовые панели вертикальных тепловых труб при размещении в нижней части панелей охлаждаемых приборов с большим адиабатическим нагревом, а в направлении к верхней части панелей размещении приборов с меньшим адиабатическим нагревом, при этом интенсивность адиабатического нагрева приборов оценивают величиной, определяемой из соотношения: где ΔTан - адиабатический нагрев прибора, °С; i - номер участка полета; n - число участков полета; Ni - тепловыделение прибора на i участке полета, Вт; τi - продолжительность i участка полета, с; С - теплоемкость прибора, Дж/°С, а конденсаторы тепловых труб охлаждают трубным теплообменником внешнего испарительного контура. Кондуктивная передача тепла от приборов на испарители встроенных в вертикальные силовые панели вертикальных тепловых труб (ТТ) обуславливает улучшение термостабилизации аппаратуры вследствие обеспечиваемого тепловыми трубами незначительного перепада температур (несколько градусов) посадочных мест приборов по поверхности панели. Одним из важных и обязательных условий функционирования ТТ в условиях гравитации, в которых осуществляют полет современные высокоскоростные ЛА, является вертикальная ориентация ТТ и соответственно вертикальное расположение силовых панелей. Следует отметить, что при таком расположении (вертикальном) тепловые трубы функционируют в режиме термосифона, поэтому нет необходимости в капиллярной структуре, что в итоге упрощает конструкцию ТТ и одновременно повышает надежность работы и снижает стоимость. Предложенное размещение приборов на силовых панелях в месте расположения испарителей встроенных тепловых труб путем размещения в нижней части панелей охлаждаемых приборов с большим адиабатическим нагревом, а в направлении к верхней части панелей размещения приборов с меньшим адиабатическим нагревом, необходимо для работы ТТ в условиях гравитации, чтобы группа приборов, расположенная в районе испарителей одной или нескольких тепловых труб, непосредственно участвовала в теплообмене с этой трубой (трубами). Такое размещение приборов обуславливается тем, что в условиях гравитации конвективный теплообмен (и в тепловых трубах) при наличии нескольких источников тепла происходит при условии, если прибор с большим тепловыделением расположен ниже по вертикали прибора с меньшим тепловыделением. Предложенное соотношение Следует отметить, что в выявленном соотношении тепловыделение прибора Ni, продолжительность участка полета τi, теплоемкость прибора С являются параметрами теплообмена и с их помощью определяют поля температур приборов и сотопанелей. В предложенном способе обеспечения теплового режима улучшенная термостабилизация бортовой аппаратуры также достигнута тем, что расположенные в верхней части вертикальных панелей конденсаторы тепловых труб охлаждают внешним испарительным контуром. Теплообмен с использованием фазового превращения вещества, что осуществляют, например, в испарительном теплообменнике, является одним из наиболее интенсивных и эффективных методов теплообмена с позиций минимальных значений габаритно-массовых характеристик рабочего тела и устройств, обеспечивающих процесс. Таким образом, отказ от внутреннего вентиляционного контура и обеспечение теплового режима аппаратуры системой охлаждения, во внутреннем контуре которой реализован кондуктивный теплообмен между приборами и встроенными в вертикальные силовые панели тепловыми трубами, повышает надежность работы СОТР с одновременным существенным снижением энергопотребления. Пример осуществления способа обеспечения теплового режима приборного отсека показан на фиг. 1 и 2. На представленных чертежах введены следующие обозначения: 1 - теплоизолированный корпус приборного отсека; 2 - блоки аппаратуры приборного отсека; 3 - силовая сотопанель; 4 - встроенные в силовую сотопанель тепловые трубы; 5 - трубный теплообменник; 6 - емкость с хладагентом; 7 - пусковой пироклапан; 8 - клапан, регулирующий подачу хладагента; 9 - мембранный клапан. Система охлаждения устройства включает два контура - внутренний контур охлаждения, который образуют вертикальные тепловые трубы 4, встроенные в вертикальных силовых панелях 3, и разомкнутый внешний испарительный контур, содержащий мембранный клапан 9, трубный теплообменник 5, соединенный трубопроводами с емкостью с хладагентом 6 через пусковой пироклапан 7 и регулирующий подачу хладагента клапан 8. Трубный теплообменник 5 внешнего испарительного контура может быть выполнен как одноходовым (как показано на приведенной схеме), так и двухходовым - в зависимости от плотности теплового потока, поступающего от конденсаторов тепловых труб к рабочему телу внешнего испарительного контура, и от других параметров. Предложенный способ обеспечения теплового режима приборного отсека летательного аппарата осуществляют следующим образом. В теплоизолированном корпусе приборного отсека 1 предварительно каждую группу блоков аппаратуры 2 размещают на силовых сотопанелях 3 с двух сторон в месте расположения испарителей встроенных тепловых труб 4 в соответствии с величиной интенсивности адиабатического нагрева приборов, определенной по приведенному соотношению, в порядке уменьшения интенсивности адиабатического нагрева блоков снизу вверх. В полете ЛА при функционировании блоков аппаратуры 2 происходит их нагрев и соответственно нагрев в тепловых трубах 4 низкокипящего рабочего тела, которое, испаряясь, охлаждает приборные блоки. Поднимаясь вверх, пары хладагента тепловых труб в районе конденсатора охлаждаются через стенки трубного теплообменника 5 внешнего испарительного контура, который задействуется при достижении определенной температуры сотопанелей 3. Пары хладагента тепловых труб 4 при охлаждении конденсируются и конденсат по стенкам труб стекает вниз - в зону испарителей. Задействование внешнего испарительного контура происходит подрывом пускового пироклапана 7, при этом жидкий хладагент из емкости 6 поступает в регулирующий клапан 8 и в трубный теплообменник 5, где происходит охлаждение конденсаторов тепловых труб 4. При испарении хладагента во внешнем испарительном контуре повышается давление, при достижении давления насыщенных паров кипения хладагента происходит прорыв мембранного клапана 9 и пары хладагента выбрасываются в атмосферу. Совокупность новых признаков предложенного технического решения - осуществление кондуктивной передачей тепла от приборов на испарители встроенных в вертикальные силовые панели вертикальных тепловых труб при размещении в нижней части панелей охлаждаемых приборов с большим, определенным по соотношению, адиабатическим нагревом, а в направлении к верхней части панелей размещении приборов с меньшим адиабатическим нагревом, и охлаждение конденсаторов тепловых труб трубным теплообменником внешнего испарительного контура - позволяет получить эффективный, обусловленный взаимосвязью признаков технический результат: улучшение термостабилизации бортовой аппаратуры, повышение надежности работы СОТР с одновременным существенным снижением энергопотребления. Резюмируя изложенное, можно заключить, что в приборном отсеке ЛА, совершающего полет в условиях гравитации, реализован новый способ обеспечения теплового режима аппаратуры. Основной положительный эффект состоит в улучшении характеристик системы охлаждения и конструкции отсека, таких как, более точное термостатирование посадочных мест приборов, сниженные габаритно-массовые показатели и отсутствие электропотребления.
позволяет определить интенсивность адиабатического нагрева (тепловыделения). При этом ΔTан1≥ΔTан2≥ΔТан3 (см. фиг. 1).