патент
№ RU 2624661
МПК G02B5/18

ДИФРАКЦИОННОЕ УСТРОЙСТВО

Авторы:
Чугунов Юрий Петрович Скочилов Александр Фридрихович Муслимов Эдуард Ринатович
Все (4)
Номер заявки
2016122797
Дата подачи заявки
08.06.2016
Опубликовано
05.07.2017
Страна
RU
Как управлять
интеллектуальной собственностью
Чертежи 
1
Реферат

Изобретение относится к оптике, а именно к дифракционному устройству, имеющему нарезную решетку с отражательной поверхностью, и может быть использовано, преимущественно, в качестве оптического элемента в мощных лазерных системах для селективного усиления генерируемого излучения. Сущность изобретения заключается в том, что дифракционное устройство содержит дифракционную решетку, состоящую из подложки и отражающего покрытия с рельефом в виде штрихов, а также систему термоэлектрического охлаждения дифракционной решетки, установленную на нерабочей поверхности подложки. Система термоэлектрического охлаждения дифракционной решетки состоит из центрального термоэлектрического модуля и периферийных термоэлектрических модулей, мозаично расположенных на нерабочей поверхности подложки, при этом холодильная мощность центрального термоэлектрического модуля выше холодильной мощности каждого периферийного термоэлектрического модуля. Технический результат заключается в исключении искажения волнового фронта отраженного излучения за счет обеспечения компенсации температурного расширения материала подложки дифракционной решетки и максимального сохранения плоскостности ее поверхности, а также в увеличении габаритных размеров дифракционной решетки для достижения с ее помощью более высоких мощностей генерируемого лазерного излучения. 2 ил.

Формула изобретения

Дифракционное устройство, содержащее дифракционную решетку, состоящую из подложки и отражающего покрытия с рельефом в виде штрихов, а также систему термоэлектрического охлаждения дифракционной решетки, установленную на нерабочей поверхности подложки, отличающееся тем, что система термоэлектрического охлаждения дифракционной решетки состоит из центрального термоэлектрического модуля и периферийных термоэлектрических модулей, мозаично расположенных на нерабочей поверхности подложки, при этом холодильная мощность центрального термоэлектрического модуля выше холодильной мощности каждого периферийного термоэлектрического модуля.

Описание

[1]

Изобретение относится к оптике, а именно к дифракционным устройствам, имеющим нарезную решетку с отражательной поверхностью, и может быть использовано, преимущественно, в качестве оптического элемента в мощных лазерных системах для селективного усиления генерируемого излучения.

[2]

Известно устройство, имеющее нарезную дифракционную решетку, которую изготавливает Акционерное общество «Научно-производственное объединение «Государственный институт прикладной оптики» (http://shvabe.com/products/opticheskie-materialy/difraktsionnaya-optika-nareznaya-difraktsionnaya-reshetka-dlya-so-i-so2-lazerov/). Дифракционная решетка состоит из подложки, выполненной из суперинвара марки 32НКД - материала, имеющего низкий коэффициент термического расширения, размером не более 90×90 мм, и отражающего алюминиевого покрытия с рельефом в виде штрихов. Мощное лазерное излучение, падающее на поверхность дифракционной решетки, нагревает ее. В результате термического расширения материала дифракционной решетки происходит выгибание поверхности, приводящее к искажению волнового фронта отраженного излучения. Для сохранения качества волнового фронта отраженного излучения необходимо использовать дифракционную решетку, имеющую систему охлаждения.

[3]

Известно дифракционное устройство, имеющее дифракционную решетку с водяным охлаждением, которое применяется в мощных СО2 лазерах (патент FR 2653903 А1, МПК G02B 5/18, опубликован 03.05.1991).

[4]

Недостатком аналога является то, что поток воды создает вибрации решетки, давление воды стремится выгнуть поверхность решетки наружу, так же как и тепловое расширение, вследствие облучения поверхности решетки мощным световым потоком, что приводит к искажению волнового фронта отраженного излучения. Устройство требует подвода шлангов, емкости с хладагентом, насосного оборудования, электрического питания, т.е. является довольно громоздким, и при этом работает лишь при температурах выше температуры замерзания хладагента.

[5]

Известно также дифракционное устройство мощного газоразрядного лазера, имеющее дифракционную решетку, нерабочая поверхность которой охлаждается потоком газообразного гелия (патент RU 2250544 С2, МПК H01S 3/04, опубликован 20.04.2005).

[6]

Недостатком аналога является сложность обеспечения гелиевой продувки дифракционной решетки.

[7]

Прототипом является дифракционное устройство, содержащее дифракционную решетку, состоящую из подложки и отражающего покрытия с рельефом в виде штрихов, а также термоэлектрический охладитель, установленный на всей нерабочей поверхности подложки (патент US 6498681 В2, МПК G02B 5/18, G02B 27/44, опубликован 24.12.2002).

[8]

Недостатком прототипа является искажение волнового фронта отраженного излучения. Это обусловлено равномерным охлаждением подложки дифракционной решетки из-за наличия одного термоэлектрического охладителя, установленного на всей нерабочей поверхности подложки. Однако пространственное распределение интенсивности излучения в лазерном пучке неоднородно.

[9]

В одномодовом режиме это распределение описывается Гауссовским контуром, т.е. излучение в центре пучка значительно интенсивней, чем на периферии, и, соответственно, центральная зона подложки дифракционной решетки, на которую падает максимальная лучевая нагрузка, нагревается интенсивней, чем периферийные зоны.

[10]

Таким образом, равномерное охлаждение всей нерабочей поверхности подложки дифракционной решетки не позволяет компенсировать температурное расширение ее материала при использовании в мощных лазерных системах и приводит к искажению волнового фронта отраженного излучения.

[11]

Кроме этого, недостатком прототипа является то, что наличие только одного термоэлектрического охладителя, установленного на всей нерабочей поверхности подложки, ограничивает размеры дифракционной решетки, что не позволяет достигать с ее помощью более высоких мощностей лазерного излучения.

[12]

Задачей изобретения является разработка конструкции дифракционного устройства, в которой устранены недостатки аналогов и прототипа.

[13]

Техническим результатом изобретения является исключение искажения волнового фронта отраженного излучения за счет обеспечения компенсации температурного расширения материала подложки дифракционной решетки и максимального сохранения плоскостности ее поверхности, а также увеличение габаритных размеров дифракционной решетки для достижения с ее помощью более высоких мощностей генерируемого лазерного излучения.

[14]

Технический результат достигается тем, что в дифракционном устройстве, содержащем дифракционную решетку, состоящую из подложки и отражающего покрытия с рельефом в виде штрихов, а также систему термоэлектрического охлаждения дифракционной решетки, установленную на нерабочей поверхности подложки, согласно настоящему изобретению система термоэлектрического охлаждения дифракционной решетки состоит из центрального термоэлектрического модуля и периферийных термоэлектрических модулей, мозаично расположенных на нерабочей поверхности подложки, при этом холодильная мощность центрального термоэлектрического модуля выше холодильной мощности каждого периферийного термоэлектрического модуля.

[15]

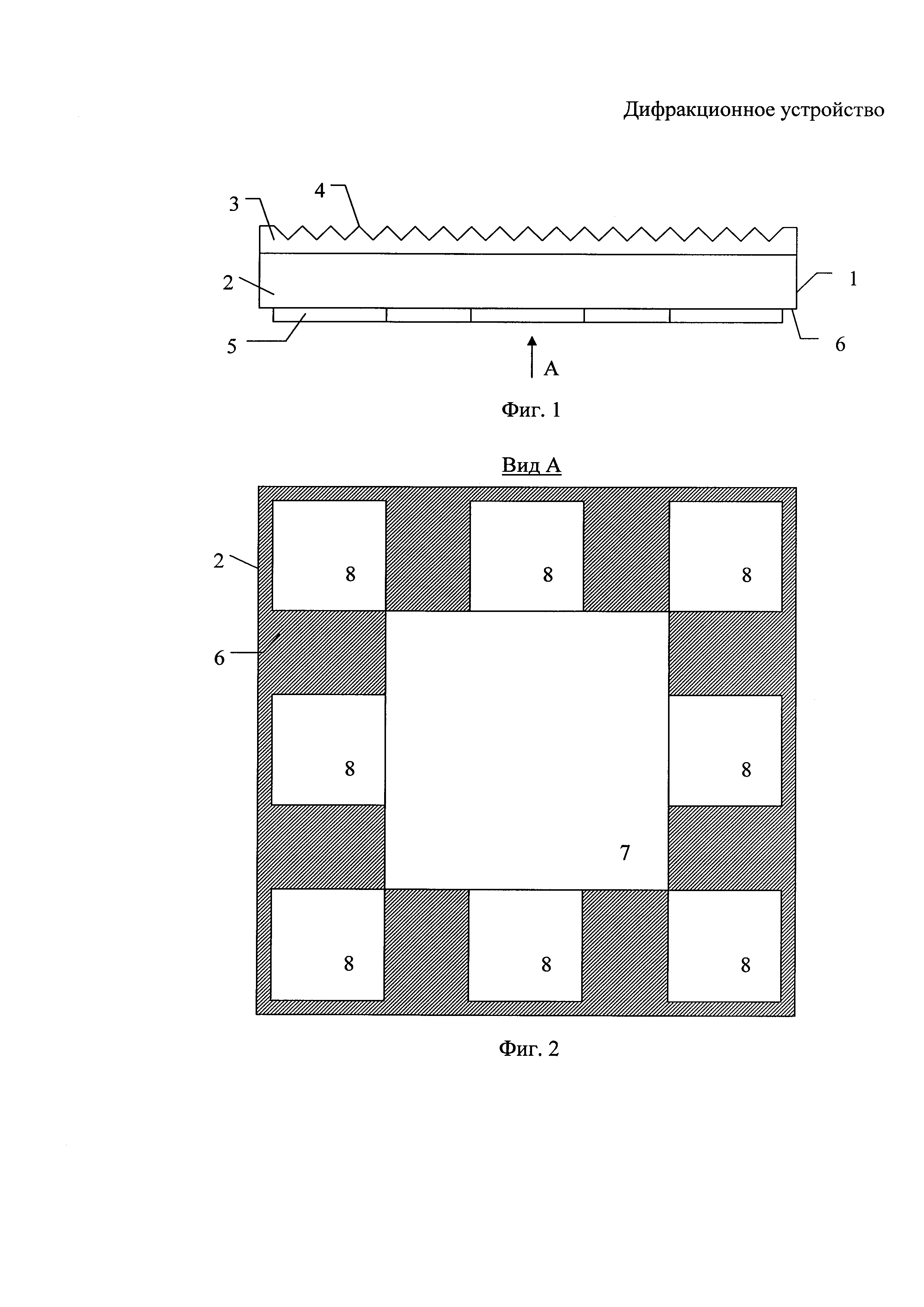
Сущность изобретения поясняется чертежами, где на фиг. 1 изображено предлагаемое дифракционное устройство, а на фиг. 2 представлен вид А на фиг. 1 (вид на систему термоэлектрического охлаждения дифракционной решетки).

[16]

На чертежах элементы и узлы дифракционного устройства обозначены следующими позициями:

[17]

1 - дифракционная решетка,

[18]

2 - подложка дифракционной решетки,

[19]

3 - отражающее покрытие дифракционной решетки,

[20]

4 - рельеф отражающего покрытия,

[21]

5 - система термоэлектрического охлаждения,

[22]

6 - нерабочая поверхность подложки,

[23]

7 - центральный термоэлектрический модуль,

[24]

8 - периферийный термоэлектрический модуль.

[25]

Дифракционное устройство содержит дифракционную решетку 1 и систему 5 термоэлектрического охлаждения дифракционной решетки. Дифракционная решетка 1 состоит из подложки 2 и отражающего покрытия 3 с рельефом 4 в виде штрихов. Система 5 термоэлектрического охлаждения дифракционной решетки установлена на нерабочей поверхности 6 подложки 2.

[26]

Отличием предлагаемого дифракционного устройства является то, что система 5 термоэлектрического охлаждения дифракционной решетки состоит из центрального термоэлектрического модуля 7 и периферийных термоэлектрических модулей 8, мозаично расположенных на нерабочей поверхности 6 подложки 2, при этом холодильная мощность центрального термоэлектрического модуля 7 выше холодильной мощности каждого периферийного термоэлектрического модуля 8.

[27]

Пример конкретного выполнения

[28]

Подложка 2 дифракционной решетки представляет собой плоскопараллельную пластину, выполненную из суперинвара марки 32НКД - материала, имеющего низкий коэффициент термического расширения. На плоскопараллельную пластину в вакууме нанесено отражающее алюминиевое покрытие 3, в котором алмазным резцом нанесен рельеф 4 в виде параллельных штрихов с частотой 600 штр./мм с пилообразным профилем и глубиной, порядка 550 нм. За счет мозаичного расположения термоэлектрических модулей 7 и 8 (элементы Пельтье, изготавливаемые ОАО "НЛП ТФП "ОСТЕРМ СПБ", г. Санкт-Петербург) на нерабочей поверхности 6 подложки 2 обеспечена возможность охлаждения крупногабаритной подложки 2 размером 120×120 мм.

[29]

Центральный термоэлектрический модуль 7 и периферийные термоэлектрические модули 8 монтируются на нерабочей поверхности подложки 2 дифракционной решетки путем наклеивания на термопасту КПТ-8. Термоэлектрический модуль 7, расположенный в центральной зоне подложки 2 дифракционной решетки, имеет холодильную мощность, равную 340 Вт, а каждый термоэлектрический модуль 8, расположенный в периферийной зоне подложки 2, имеет холодильную мощность, равную 85 Вт, т.е. термоэлектрический модуль 7, расположенный в центральной зоне, выбран с большей холодильной мощностью.

[30]

Дифракционное устройство работает следующим образом.

[31]

На рабочую поверхность дифракционной решетки 1 падает генерируемое лазерное излучение с плотностью мощности 100 Вт/см2 и нагревает ее. Для устранения выгибания рабочей поверхности дифракционной решетки 1, облучаемой интенсивным потоком светового излучения, и, соответственно, для сохранения качества волнового фронта отраженного излучения, на нерабочей поверхности подложки 2 установлена система 5 термоэлектрического охлаждения, состоящая из центрального термоэлектрического модуля 7 и периферийных термоэлектрических модулей 8, мозаично расположенных на нерабочей поверхности 6 подложки 2.

[32]

Провода от термоэлектрических модулей 7 и 8 припаяны к электрическому разъему (условно не показаны). На разъем подается электрическое напряжение от внешнего блока питания, не входящего в конструкцию дифракционного устройства.

[33]

Для отвода тепла от термоэлектрических модулей 7 и 8 может быть использован радиатор (условно не показан), рассеивающий тепловую энергию в окружающую среду.

[34]

Центральный термоэлектрический модуль 7 и периферийные термоэлектрические модули 8 работают независимо, каждый в своем температурном режиме. Регулировка степени охлаждения различных зон подложки 2 дифракционной решетки 1 осуществляется путем регулировки подаваемого на термоэлектрические модули 7 и 8 электрического напряжения (с блока питания, пульта или программными средствами с персонального компьютера), при этом центральная зона подложки 2 дифракционной решетки 1, на которую падает максимальная лучевая нагрузка, охлаждается интенсивней, чем ее периферийная зона.

[35]

Система 5 термоэлектрического охлаждения дифракционной решетки 1 не содержит подвижных элементов, охлаждающих жидкостей, при этом в ходе работы не происходит механического износа деталей, не возникает вибраций, утечек жидкости, искривления поверхности подложки 2 решетки из-за внутреннего давления хладагента. Отсутствие шлангов, насосов, теплообменников, вентиляторов позволяет выполнить систему охлаждения дифракционной решетки 1 компактной, эргономичной и бесшумной. Отсутствие жидкостей исключает возможности замерзания или закипания в системе охлаждения.

[36]

Использование предлагаемого дифракционного устройства позволит исключить искажения волнового фронта отраженного излучения за счет обеспечения компенсации температурного расширения материала подложки дифракционной решетки и максимального сохранения плоскостности ее поверхности, а также увеличить габаритные размеры дифракционной решетки для достижения с ее помощью более высоких мощностей генерируемого лазерного излучения.

Как компенсировать расходы
на инновационную разработку
Похожие патенты