Изобретение относится к области систем обработки информации критических функций в бортовых средствах автоматизированного управления процессами авиационных, ракетно-технических, корабельных и других систем. Технический результат заключается в повышении надежности и отказоустойчивости коммутации. Архитектура предлагаемой системы состоит из N модулей с входными аппаратными приложениями, выходными аппаратными приложениями, интерфейсно-вычислительной платформы и встроенного в платформу коммутатора. Обмен информацией между модулями осуществляется без центрального коммутатора при помощи встроенных в модули коммутаторов через выходы модуля, которые соединены с соответствующими входами остальных модулей по принципу «точка-точка». При этом каждый модуль для обеспечения отказоустойчивости системы может включать в себя n коммутаторов, обеспечивающих управление избыточностью модуля посредством его реконфигурации. 1 з.п. ф-лы, 2 ил.
1. Архитектура системы отказоустойчивой коммутации информации, состоящая из N модулей, каждый из которых предназначен для формирования информации и состоит из входных аппаратных приложений, предназначенных для загрузки информации датчиков и радиотехнических средств в интерфейсно-вычислительную платформу, а также выходных аппаратных приложений для терминалов и исполнительных органов, интерфейсно-вычислительной платформы каждого модуля, включает четыре вычислительных узла и два коммутатора, предназначенных для коммутирования информации каждого из четырех каналов, обрабатываемой в каждом вычислительном узле, для осуществления коммутирования определяют исправный вычислительный узел путем мажоритарного сравнения информации, обрабатываемой в каждом вычислительном узле, и коммутируют ее на выходные каналы только с одного исправного вычислительного узла, при этом управление избыточностью модуля за счет четырех избыточных вычислительный узлов, управление временными циклограммами для обмена информацией между модулями по каждому типу интерфейса, а также определение исправного вычислительного узла путем мажоритарного сравнения информации осуществляют с помощью каждого вычислительного узла каждого модуля, обмен информацией между модулями реализуют коммутаторами интерфейсно-вычислительной платформы через выходы каждого модуля, которые соединены с соответствующими входами остальных модулей по принципу «точка-точка». 2. Архитектура системы по п. 1, отличающаяся тем, что каждый модуль может включать в себя n коммутаторов, обеспечивающих управление избыточностью модуля посредством его реконфигурации.
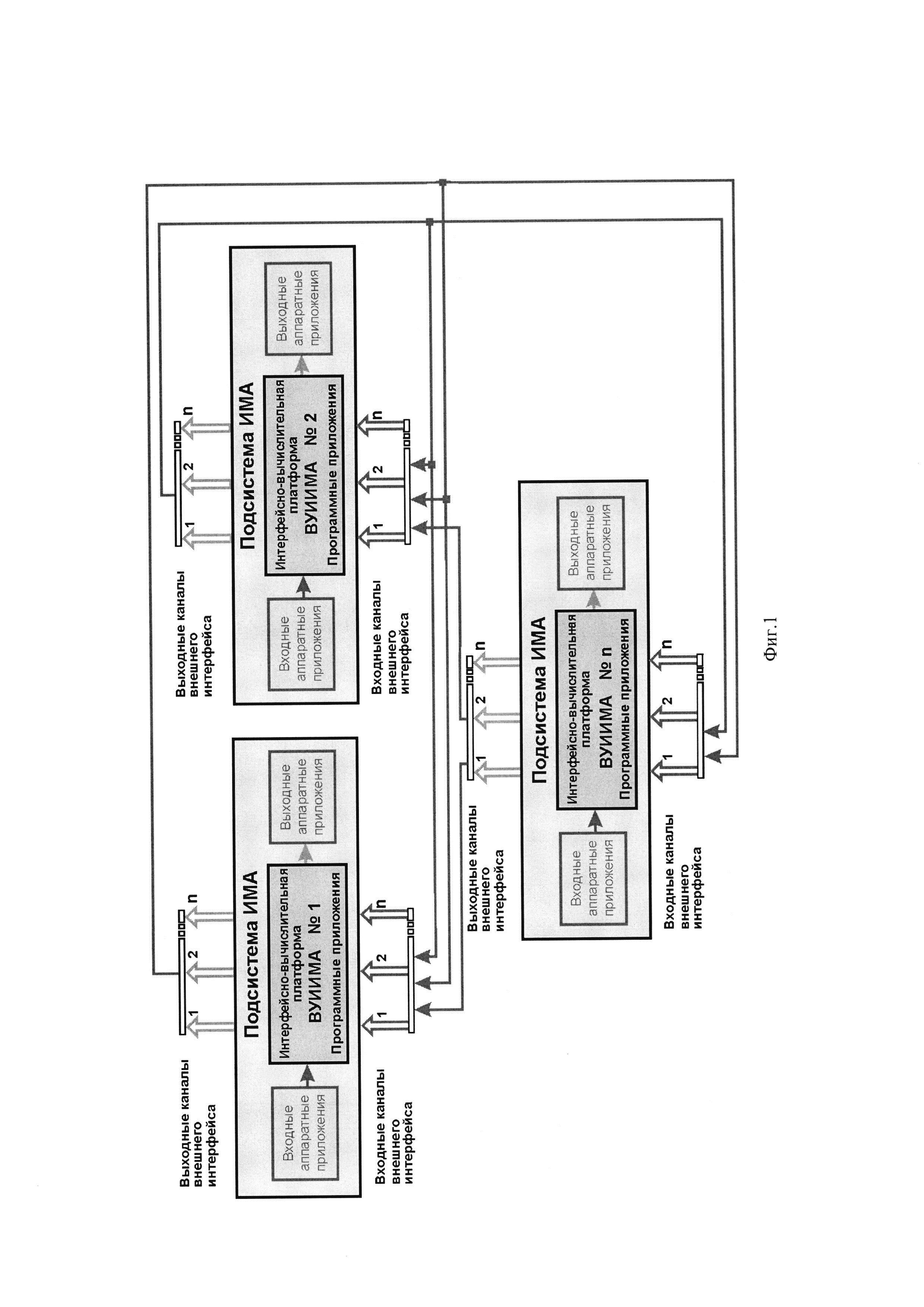
Изобретение относится к области систем бортового радиоэлектронного оборудования повышенной надежности и высоконадежного обмена информацией между системами. Изобретение может найти применение при создании систем обработки информации критических функций в бортовых средствах автоматизированного управления процессами авиационных, ракетно-технических, корабельных и других систем. Известна система, в которой телеметрическая информация критических функций передается на устройства обработки информации и выходные устройства через коммутаторы, коммутирующие информацию посредством временных циклограмм, реализованных в центральных коммутаторах [1]. Известно устройство обработки информации критических функций в системе, архитектура которой включает вычислительную платформу централизованной обработки информации, периферийные устройства (источники информации, индикаторы и другие периферийные устройства) и центральные коммутаторы, коммутирующие обмен информации между устройствами [2]. Известна архитектура компьютера с повышенной превентивной защитой [3]. Архитектура такой компьютерной системы содержит переключатели (коммутаторы), которые, в отличие от традиционных компьютерных систем с постоянным соединением устройств между собой и к терминалам, подключают к терминалу только одно из устройств. Такая архитектура позволяет с помощью программных систем обеспечить повышенную превентивную защиту компьютерной системы. В изобретении [3] архитектура компьютерной системы представляет собой N автономных модулей, подключающихся с помощью одного или N переключателей через соответствующую каждому модулю шину к шине одного или N терминалов, каждый модуль включает в себя центральный процессор, основную память, накопители, устройства ввода-вывода (УВВ), периферийные устройства, шину и программное обеспечение, каждый терминал включает УВВ и периферийные устройства, подключенные к шине терминала, причем каждый модуль осуществляет обмен данными только с терминалом или N терминалами, взаимодействие с которыми обеспечено переключателем или N переключателями. Отказ одного из N переключателей такой системы приводит к невозможности обмена информацией группы модулей, подключенных к данному переключателю, с терминалом, подключенным к этому же переключателю. По своему функциональному назначению переключения модулей системы при обмене информацией, наиболее близким к заявленному изобретению, является изобретение [3], которое было принято авторами в качестве прототипа. В компьютерных системах обработки критических функций, например в системах комплексов бортового оборудования летательных аппаратов, кроме превентивной защиты необходимо обеспечить надежность обмена информацией. Нормы летной годности [4] к надежности функций, отказы которых могут привести к катастрофическим ситуациям, предъявляют требование, чтобы вероятность отказа такой функции не превышала 10-9 на час налета. Из изложенного выше вытекают следующие недостатки прототипа: - Каждый из N переключателей (коммутаторов) соединен с одним из N терминалов. Отказ хотя бы одного любого переключателя (коммутатора) исключает подачу информации на этот терминал с любого из N терминалов, подключенных к этому коммутатору. - Для обеспечения отказоустойчивости системы необходимо резервировать цепочку коммутатор-терминал и, соответственно, все модули, подключенные к этому коммутатору. Целью предлагаемого изобретения является повышение надежности обмена данными (в том числе и критических функций) между любыми из N модулей. В данном изобретении модулем является система, создаваемая по принципам концепции интегральной модульной авионики (ИМА), которая обеспечивает надежную обработку и обмен информации критических функций. Основные положения этой концепции изложены в документе ДО-297 [5]. В заявляемом изобретении повышенная надежность обмена информацией достигается тем, что в архитектуре системы отказоустойчивой коммутации информации, состоящей из N модулей и коммутаторов, каждый модуль состоит из входных аппаратных приложений, выходных аппаратных приложений, интерфейсно-вычислительной платформы и встроенного в платформу коммутатора, при этом обмен информацией между модулями осуществляется при помощи коммутатора через выходы модуля, которые соединены с соответствующими входами остальных модулей по принципу «точка-точка». При этом каждый модуль может включать в себя n коммутаторов, обеспечивающих управление избыточностью модуля посредством его реконфигурации. Надежность коммутации (обмена информацией между модулями) у прототипа определяет надежность одного центрального коммутатора (переключателя). В предлагаемом изобретении надежность коммутации определяют n коммутаторов, реализованных в каждом модуле. При одинаковых характеристиках надежности центрального коммутатора и коммутатора каждого из модулей в предлагаемом изобретении надежность коммутации будет в n-1 раз выше, чем у прототипа. Сущность данного изобретения поясняется следующими графическими материалами: - структурная схема системы отказоустойчивого обмена информацией между подсистемами ИМА представлена на рисунке Фиг. 1; - схема коммутации портов интерфейсов AFDX и Fibre Chanel вычислительных узлов платформы ИМА на порты n выходных каналов представлена на рисунке Фиг. 2. Надежный обмен информацией между N модулями осуществляется следующим образом: 1. В каждом модуле формируются пакеты информации по каждому типу интерфейса для каждого модуля, с которым данная подсистема производит обмен информацией. 2. Коммутаторы каждого типа интерфейса каждого модуля коммутируют эту информацию на соответствующий i-й (i=1, 2, … n) выходной порт, соединенный линией связи данного типа интерфейса с i-м (i=1, 2, … n) модулем, как это показано на Фиг. 1. 3. Обмен информацией между модулями по каждому типу интерфейса производится под управлением временных циклограмм, реализованных в программном обеспечении каждого модуля. Архитектура системы, состоящая из N модулей ИМА (Фиг. 1), каждый из которых имеет архитектуру, приведенную на Фиг. 2, позволяет: - обеспечить заданную отказоустойчивость системы из N модулей за счет создания управляемой избыточности в каждом модуле; - поддерживать отказоустойчивость обмена информацией между модулями на уровне отказоустойчивости модуля. Как видно из Фиг. 1, отказоустойчивый обмен информацией создается за счет того, что обмен информацией между N модулями происходит по линиям связи по принципу «точка-точка», без центрального коммутатора. Эти линии соединяют выходные каналы (порты различных типов интерфейсов) внешнего интерфейса каждого модуля ИМА с соответствующим входным каналом внешнего интерфейса подсистемы. На Фиг. 1 также видно, что модуль ИМА состоит из интерфейсно-вычислительной платформы ИМА, входных и выходных аппаратных приложений и входных и выходных каналов внешнего интерфейса. Входными аппаратными приложениями, как правило, являются источники информации (датчики, радиотехнические и другие средства). Выходными аппаратными приложениями, как правило, являются различного рода терминалы и исполнительные органы. Все программные приложения загружаются в вычислительную систему платформы. Схема коммутации портов интерфейсов AFDX и Fibre Channel вычислительных узлов платформы ИМА на порты N выходных каналов приведена на фиг. 2. На схеме видно, что вычислительная избыточность платформы ИМА создается за счет четырех вычислительных узлов МВУ1-МВУ4. На примере интерфейсов AFDX (COTS-технология интерфейса ETHERNET на условия авиационного борта) и Fibre Channel показано, как два резервированных коммутатора этих интерфейсов KAFDX/KFCH коммутируют информацию, обработанную в вычислительном узле для каждого из четырех каналов на соответствующий порт выходного канала. При этом информация обрабатывается во всех четырех вычислительных узлах, а коммутируется на выходные каналы только с одного исправного вычислительного узла. Исправный вычислительный узел определяется путем мажоритарного сравнения между собой информации, обработанной в каждом вычислительном узле. Для выдачи информации на выходные каналы с исправного вычислительного узла, при возникновении отказов в системе, коммутаторы, в зависимости от отказавшей компоненты, производят соответствующую реконфигурацию системы. Промышленная применимость Возможность осуществления данного изобретения подтверждается результатами отдельной конструкторской работы ОКР «Вычислитель», выполненной АО «НИИАО» совместно с ЗАО НТКЦ «Петрофарм» [6]. В процессе технического проекта был создан макетный образец платформы ИМА, который успешно демонстрировался на международной авиационной выставке МАКС. Реализация отказоустойчивого обмена информацией в системах, построенных на основе платформ ИМА, приведенных на Фиг. 1, позволит создавать комплексы бортового оборудования с архитектурой, подобной отказоустойчивой системе, приведенной на Фиг. 2. Избыточность таких систем при наличии системы управления избыточностью позволит реализовать принцип отложенного ремонта и необслуживаемой авионики - принцип MFOPs (Maintenance-free operating periods). Экономические расчеты показывают, что современные комплексы бортового оборудования, построенные на функциональных блоках (архитектура федерации легкосъемных блоков), имеют отношение затрат на техническое обслуживание к затратам на закупку комплексов как минимум два к одному и более. Внедрение изобретения позволит снизить затраты на техническое обслуживание до величины в 30-50% от затрат на их закупку за счет повышения надежности, снижения затрат на содержание обменных фондов на аэродромах и принципиально другой технологии ремонта отказавших систем. Источники информации 1. Бортовая Система ТелеИзмерений (БСТИ) для изделия РН АНГАРА на основе аппаратуры ПИРИТ. 2. В.В. Косьянчук. Перспективы развития комплекса бортового оборудования на базе ИМА в Российской Федерации, сборник докладов международной конференции «Состояние и перспективы развития интегрированной модульной авионики», М., 2012 г. 3. Патент РФ №2413290, приоритет от 28.08.12 (Архитектура компьютера с автономными модулями). 4. Авиационные правила. Ч. 25: Нормы летной годности самолетов транспортной категории. М.: Изд-во Межгос. Авиац. Комитета. 2009. 5. SC-200 © 2005, RTCA Inc. Руководство по вопросам разработки и сертификации интегрированного модульного авиационного радиоэлектронного оборудования (IMA) ДО-297. RTCA, Incorporated, 1828 L St NW„ NW„ 805 Washington, 2005 г. 6. Технический отчет по ОКР «Вычислитель», ЗАО НТКЦ «Петрофарм», Санкт Петербург, 2008 г.