Изобретение относится к области бурения скважин и может быть использовано в гидравлических забойных двигателях, работающих в скважинах сверхмалого диаметра и радиуса кривизны. Шпиндель забойного двигателя состоит из корпуса и ниппеля, верхней камеры, образованной над ниппелем внутри корпуса, вала с проточным осевым каналом, радиальными входными отверстиями и узлом соединения с карданной или торсионной передачей от силовых секций малогабаритного винтового забойного двигателя, верхней и нижней радиальных опор скольжения, осевых опор скольжения, состоящих из пяты и подпятников, и n регулировочных элементов, установленных в корпусе и на валу. Регулировочные элементы выполнены в виде быстросъемных комплектов виброгасителей, установленных в верхней камере над и под подпятниками осевых опор скольжения с возможностью предварительной взаимной отстройки расчетной частоты собственных колебаний динамически возмущенной массы бурильной компоновки с долотом и зафиксированной экспериментально частоты возмущающей силы, возникающей при разрушении долотной головкой забоя конкретной породы таким образом, что коэффициент передачи - отношение амплитуды силы, переданной виброгасителем на осевые опоры скольжения, к величине максимальной амплитуды возмущающей динамической нагрузки, возникающей при разрушении забоя долотом, - выбирается меньше единицы, при этом коэффициент динамичности, характеризуемый синусоидальной зависимостью угла сдвига фаз между возмущающей нагрузкой и расчетной конструктивной деформацией быстросъемного комплекта, состоящего изштук виброгасителей, выбирается с учетом частоты вращения долота и твердости конкретной породы. Обеспечивается повышение показателей надежности работы шпинделя, забойного двигателя и бурильной компоновки в целом. 10 з.п. ф-лы, 28 ил.
2. Шпиндель по п. 1, отличающийся тем, что быстросъемный комплект виброгасителей выполняется в виде пружинных амортизаторов, эластомеров, демпферов или их сочетаний. 4. Шпиндель по п. 3, отличающийся тем, что узел соединения вала с карданной передачей от силовых секций малогабаритного винтового забойного двигателя выполнен в виде профилированного многогранника или шлицевым, при этом на наружной поверхности вала в месте размещения соединительного узла образована право - или левонаправленная спиральная одно- или многозаходная лопасть, наружная образующая поверхность которой выполнена касательно склоненной к входным радиальным отверстиям, при этом входные отверстия расположены тангенциально к проточному осевому каналу вала и имеют то же направления, что и лопасти. 5. Шпиндель по п. 4, отличающийся тем, что осевые опоры скольжения выполнены радиально-упорными и размещенными с углом установки торцевых поверхностей подпятников с ответными сопрягаемыми поверхностями пяты много больше угла трения. 6. Шпиндель по п. 5, отличающийся тем, что пята размещена на валу либо жестко на резьбе с фиксацией либо с возможностью осевого, радиального и углового перемещения через шпоночное или шлицевое соединение. 7. Шпиндель по п. 6, отличающийся тем, что верхний подпятник размещен с осевым и угловым перемещением относительно вала в соответствии с аналитически и конструктивно подобранной податливостью виброгасителей, а нижний - либо установлен свободно-подвижно, либо жестко вмонтирован на торце ниппеля со степенью свободы, равной нулю. 8. Шпиндель по п. 7, отличающийся тем, что динамический модуль упругости каждого эластомера подбирается из ряда 9. Шпиндель по п. 8, отличающийся тем, что вал изготовлен за одно целое с долотом. 10. Шпиндель по п. 8, отличающийся тем, что вал выполнен раздельно от долота и соединяется с долотом и при необходимости с калибратором, центратором, шламоуловителем с использованием традиционного резьбового замкового соединения. 11. Шпиндель по любому из пп. 9-10, отличающийся тем, что содержит дополнительную радиальную опору, при этом используется осевая опора скольжения упорного типа, установленная с одной степенью свободы.




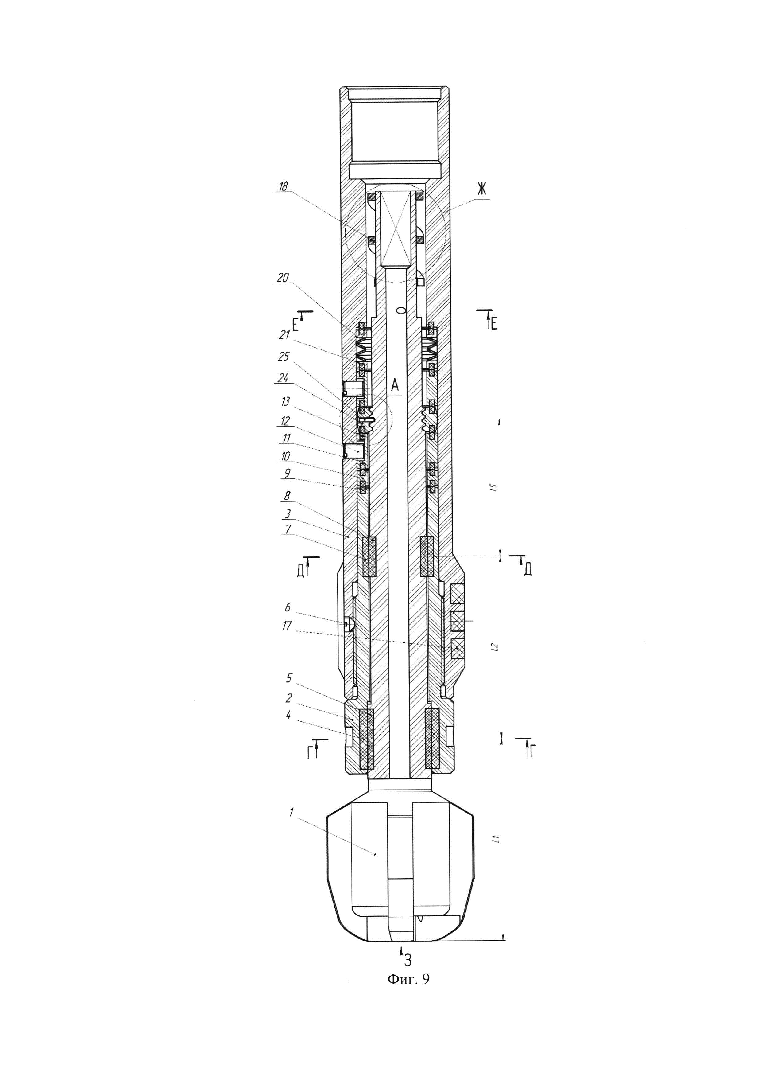
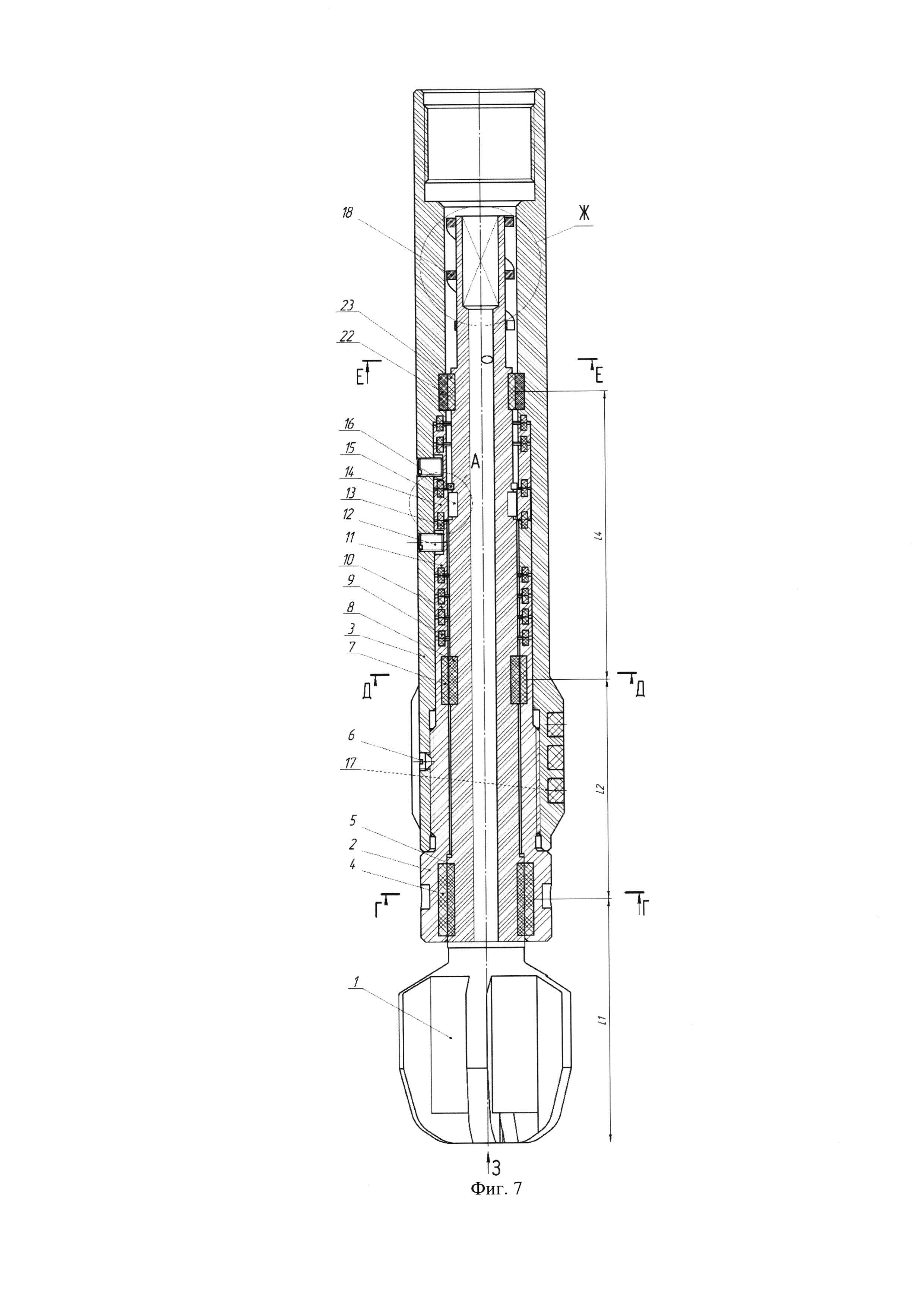
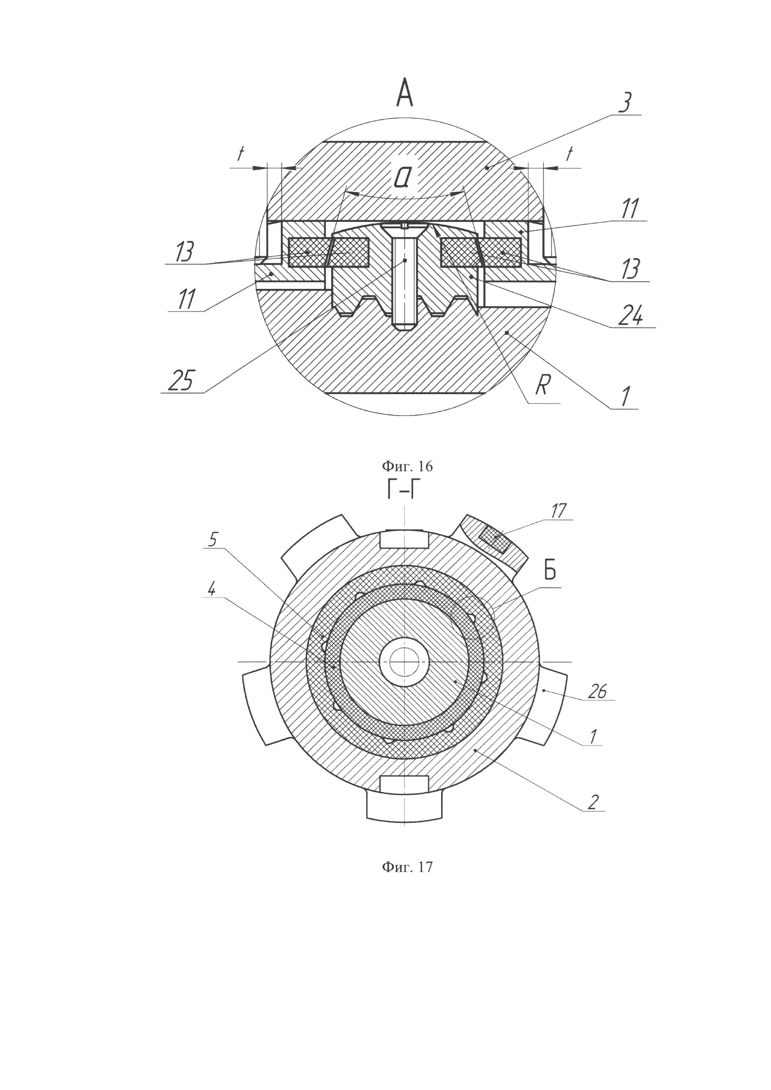
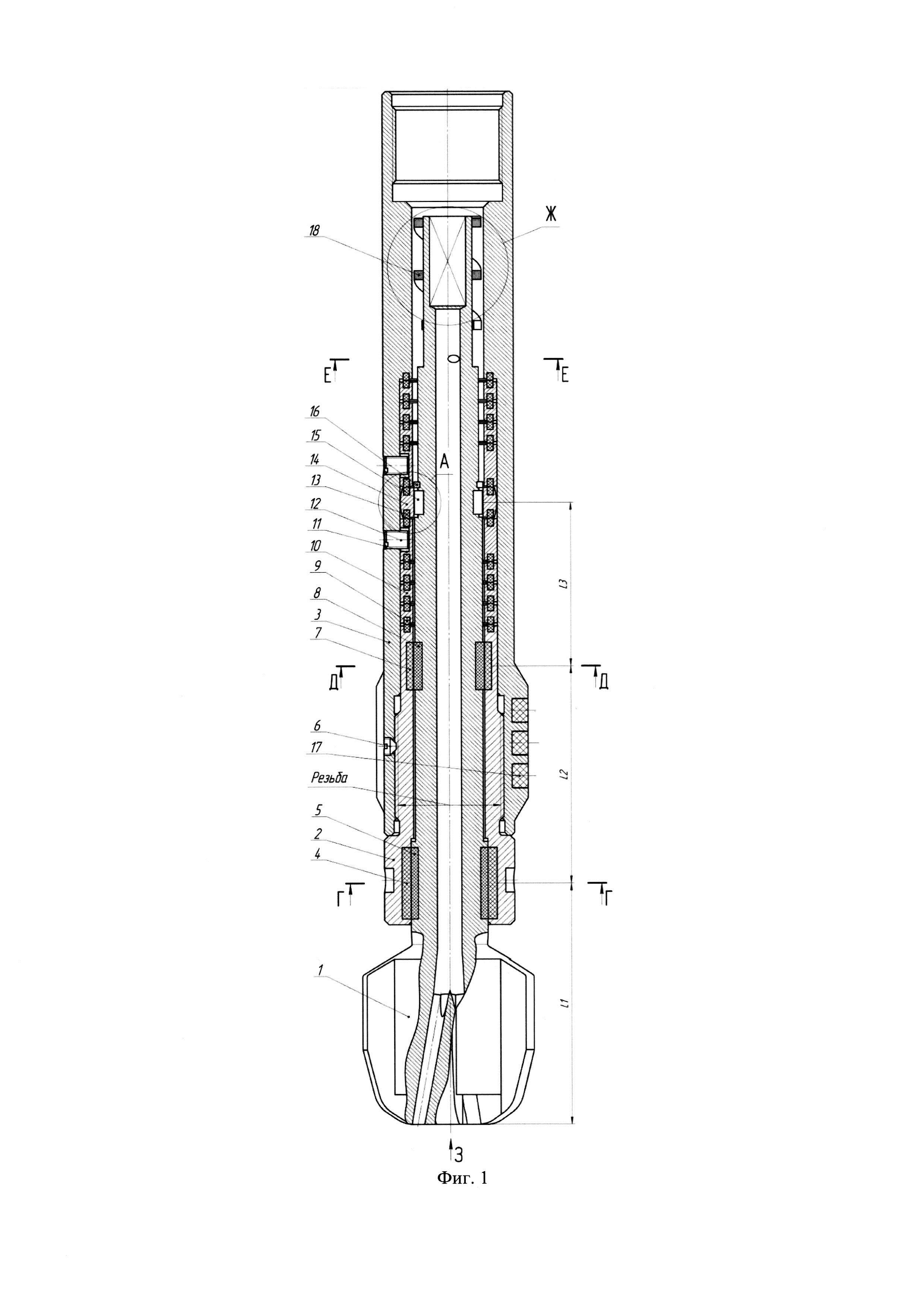
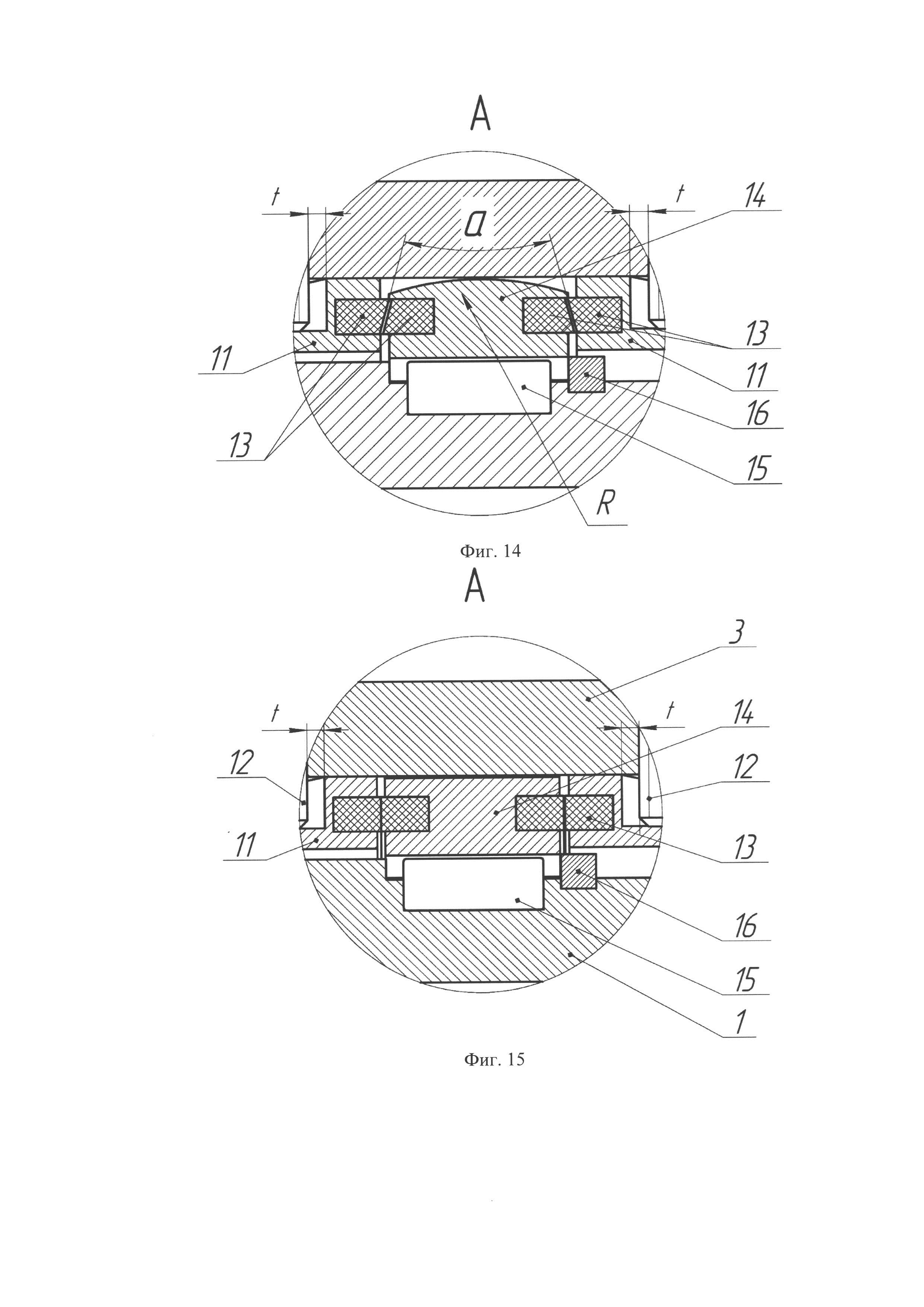
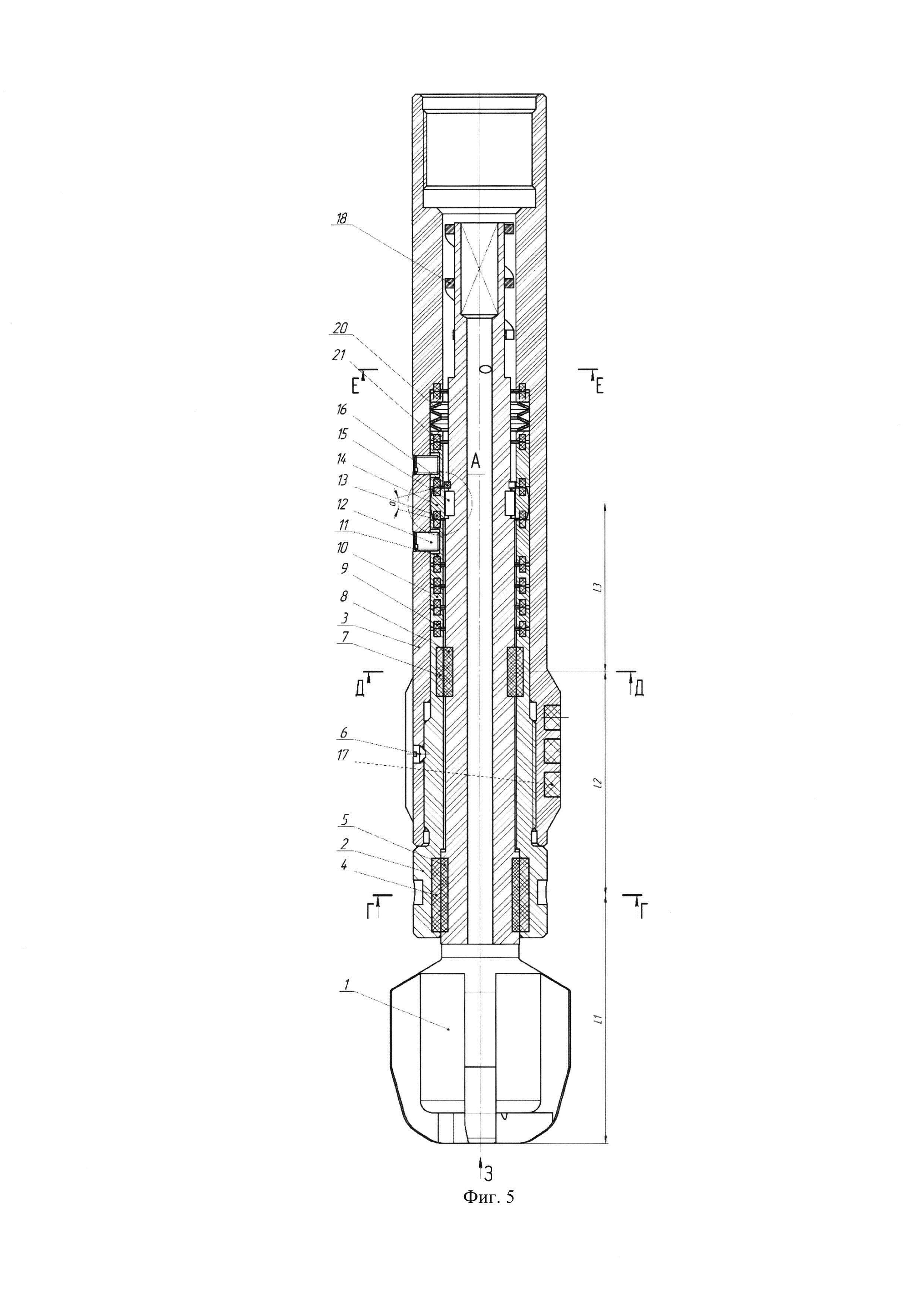
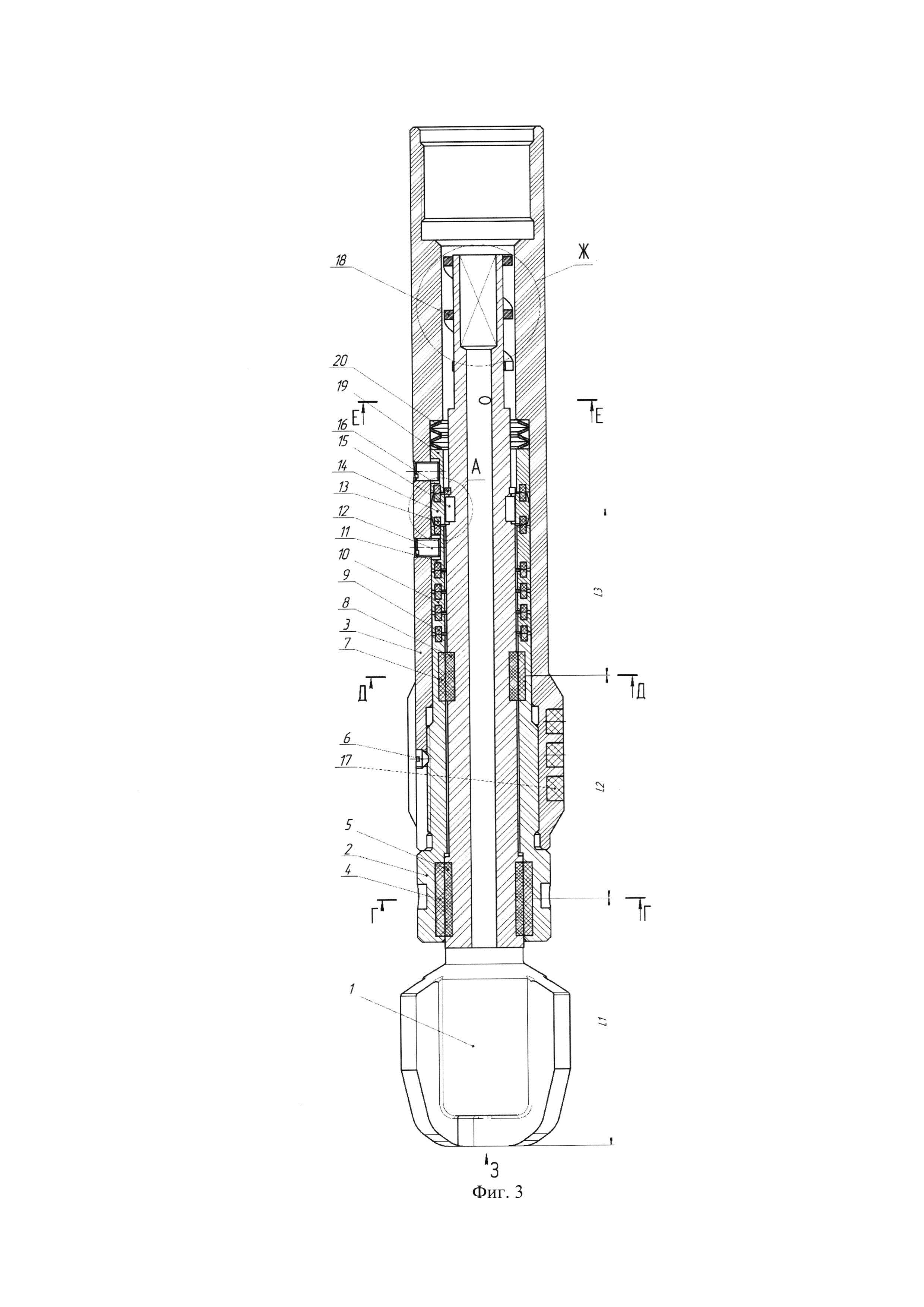
Область техники Изобретение относится к области бурения, в частности, к буровым устройствам приводов вращения, и может быть использовано в гидравлических забойных двигателях, работающих в скважинах сверхмалого диаметра и радиуса кривизны в составе бурильной компоновки при резкоизменяющихся геологических условиях (механические свойства горных пород). Такие условия требуют изменения режима бурения путем оперативного варьирования, например, упруго-вязкими качественными и количественными характеристиками параметров буровых устройств приводов вращения для повышения надежности и эффективности их работы. Уровень техники Ниже, в материалах описания, используется следующая терминология. Устойчивость - прочность, стойкость к воздействию внешних факторов, сбалансированность, стабильность, гомеостазис - способность системы возвращаться в равновесное состояние при выводе из него внешними воздействиями. Структурная устойчивость - надежность, живучесть. Из уровня техники известен малогабаритный винтовой забойный двигатель [RU 2341637 от 20.12.2008, Бюл. №35], включающий силовую секцию, в верхней части которой установлена осевая опора скольжения с твердосплавными вставками, выполненными разной твердостью и с пружинным амортизатором. К недостаткам известного устройства в первую очередь следует отнести узкий диапазон виброзащиты - только пружины, и полное отсутствие возможности оперативной настройки при резкоизменяющихся геологических условиях, требующих изменения режима бурения путем оперативного варьирования (смены), например, упруго-вязких качественных и количественных характеристик параметров буровых устройств приводов вращения, которые у устройства полностью отсутствуют. Кроме того опора не воспринимает радиальные силы, постоянно возникающие в героторных механизмах из-за перекашивающих моментов от силовых секций. Также верхнее расположение осевой опоры абсолютно исключает центрирование двигателя из-за планетарного движения ротора, что ведет к отсутствию контроля траектории бурения скважины и дополнительным входным гидравлическим сопротивлениям. Также известен шпиндель забойного двигателя [RU 2506397 от 10.02.2014, Бюл. №4], включающий корпус, проточный вал с радиальными опорами скольжения и многорядными гидростатическими осевыми опорами скольжения с резиновыми элементами. К недостаткам известного устройства относится зависимость гидростатического эффекта от расхода промывочной жидкости, регулирование которой ограничено особенностями характеристики винтового забойного двигателя, а также невозможностью подачи ее в большем или меньшем объеме через винтовую пару к шпинделю, установленному ниже, что приводит к резкой потере мощности и момента. Кроме того жидкостное демпфирование имеет очень узкий диапазон виброзащиты. Известен забойный двигатель [US 4620601 от 04.11.1986], который содержит корпус шпинделя и размещенный внутри него вал, установленный на радиальных и осевом подшипниках скольжения. Осевой подшипник скольжения выполнен в виде двух пар внутренних и наружных колец, в каждом из которых закреплен ряд упорных модулей с алмазным покрытием на основе поликристаллических алмазов с «таблеточным» закреплением, при этом наружное кольцо закреплено в корпусе шпинделя, а внутреннее кольцо закреплено на валу шпинделя. Недостатком известной конструкции является невозможность оперативного регулирования виброзащитными свойствами непосредственно на буровой, а также неполная возможность повышения ресурса и надежности осевой опоры скольжения шпинделя гидравлического забойного двигателя. Это объясняется недостаточной усталостной прочностью опорных колец и штифтов, установленных в виде «таблеток» без виброизоляции, поэтому твердый сплав разрушается при колебаниях осевой нагрузки на долоте очень быстро, а скопление абразивных частиц в зазорах способствует повышенному абразивному износу поверхностей трения. Наиболее близким аналогичным устройством, относящимся к приводам вращения для забойных двигателей, принятым за прототип, является устройство [RU 2481450 от 10.05.2013, ООО Фирма «Радиус-Сервис»]. Шпиндельная секция в данном устройстве включена в состав забойного двигателя, бурильной компоновки с долотом, и состоит из корпуса и ниппеля, которые образуют над ниппелем, внутри корпуса - верхнюю камеру вала с проточным осевым каналом, радиальными входными отверстиями и узлом соединения с карданной или торсионной передачей от силовых секций забойного двигателя, радиальных опор скольжения, осевых опор скольжения, которые состоят из пяты и подпятников в упругодемпферном исполнении и регулировочных элементов, установленных в корпусе и на валу. К серьезным недостаткам известного изобретения, в первую очередь, относится невозможность оперативно изменять режим бурения при резкоизменяющихся геологических условиях, например механических свойствах горных пород, особенно при бурении каналов сверхмалого диаметра и радиуса кривизны, непосредственно на буровой, путем варьирования, одновременно рядом технологических параметров устройства. Например, типом вооружения долота, упруго-вязкими виброзащитными свойствами опор, качественными и количественными характеристиками параметров буровых устройств приводов вращения в целом для повышения надежности и эффективности их работы, что объясняется сложностью сборочных и настроечных работ известного устройства при отсутствии аналитически и экспериментально подобранных компоновок виброзащитных элементов с необходимыми собственными частотами, жесткостями и степенями свободы. Кроме того в известном изобретении реализована неполная возможность повышения ресурса и надежности осевой опоры скольжения шпиндельной секции, так как контактные поверхности осевой опоры скольжения выполнены с использованием поликристаллических алмазов. Алмазы в свою очередь выполненных в виде «таблеток», рабочие кромки которых постоянно выкрашиваются при наступлении динамически возмущенного состояния, регулярно возникающего в бурильной колонне, особенно работающей в сильно искривленных наклонно-направленных и горизонтальных каналах из-за непредсказуемости и случайности происходящих движений на забое, что негативно сказывается на работе всего инструмента в целом. Кроме того «таблеточное» закрепление твердосплавных опор скольжения создает пустое пространство между двумя парами колец и способствует скапливанию абразивного материала между упорными модулями, что в конечном итоге приводит к повышенному износу последних. Техническая задача и технический результат Технической задачей, на решение которой направлено заявленное изобретение, является повышение показателей функционального назначения: эксплуатационной эффективности бурения и оперативного управления структурной устойчивостью устройства при изменении механических свойств горных пород. Технический результат осуществления изобретения заключается в повышении показателей надежности работы шпинделя, забойного двигателя и бурильной компоновки в целом. Решение Технический результат достигается за счет того, что используется шпиндель забойного двигателя, включенный в состав бурильной компоновки с долотом, состоящий из корпуса и ниппеля, образующие над ниппелем, внутри корпуса верхнюю камеру, вала с проточным осевым каналом, радиальными входными отверстиями и узлом соединения с карданной или торсионной передачей от силовых секций малогабаритного винтового забойного двигателя, верхнюю и нижнюю радиальные опоры скольжения, осевых опор скольжения, которые состоят из пяты и подпятников, и n регулировочных элементов, установленных в корпусе и на валу, при этом регулировочные элементы выполнены в виде быстросъемных комплектов виброгасителей, установленных в верхней камере над и под подпятниками осевых опор скольжения с возможностью предварительной взаимной отстройки расчетной частоты собственных колебаний динамически возмущенной массы бурильной компоновки с долотом - Быстросъемный комплект виброгасителей может быть выполнен в виде пружинных амортизаторов, эластомеров, демпферов или их сочетаний, причем при Шпиндель может быть выполнен таким образом, что узел соединения вала с карданной передачей от силовых секций малогабаритного винтового забойного двигателя выполнен в виде профилированного многогранника или шлицевым, при этом на наружной поверхности вала, в месте размещения соединительного узла, образована право- или левонаправленная спиральная одно- или многозаходная лопасть, наружная образующая поверхность которой выполнена касательно склоненной к входным радиальным отверстиям, при этом входные отверстия расположены тангенциально к проточному осевому каналу вала и имеют то же направления, что и лопасти. Шпиндель может быть выполнен таким образом, что осевые опоры скольжения выполнены радиально-упорными и размещенными с углом установки торцевых поверхностей подпятников с ответными сопрягаемыми поверхностями пяты много больше угла трения. Шпиндель может быть выполнен таким образом, что пята размещена на валу либо жестко на резьбе с фиксацией, либо с возможностью осевого, радиального и углового перемещения через шпоночное или шлицевое соединение. Шпиндель может быть выполнен таким образом, что верхний подпятник размещен с осевым и угловым перемещением относительно вала в соответствии с аналитически и конструктивно подобранной податливостью виброгасителей, а нижний - либо установлен свободно-подвижно, либо жестко вмонтирован на торце ниппеля со степенью свободы, равной нулю. Шпиндель может быть выполнен таким образом, что динамический модуль упругости каждого эластомера подбирается из ряда Ед=10…100 кгс/см2 в соответствии с твердостью по Шору, где первое значение - для мягких и последнее - для твердых пород, а так же аналитически и конструктивным выбором степеней свободы эластомера. Шпиндель может быть выполнен таким образом, что вал изготовлен за одно целое с долотом или раздельно от долота и соединяется с долотом и при необходимости с калибратором или другим инструментом с использованием традиционного резьбового замкового соединения. Шпиндель может быть выполнен таким образом, что вал размещен на трех радиальных опорах, при этом используется осевая опора скольжения упорного типа, установленная с одной степенью свободы. Изобретение описывает несколько вариантов возможного исполнения устройства, отличающиеся друг от друга конструктивными особенностями размещения и комплектования быстросъемных виброгасителей различной жесткостью и коэффициентами динамичности, типом осевой опоры скольжения различного изготовления и установки по степени свободы, количеством радиальных опор, вооружения долотной головки вала в зависимости от категории и группы твердости пород, а также особенностями выполнения внутренней и наружной поверхностей узла соединения вала с карданной передачей и формой изготовления входных радиальных отверстий. Описание чертежей На чертежах представлено: на фиг. 1…12 изображены варианты быстросменных компоновок базовых узлов и деталей в малогабаритном шпинделе секционного винтового забойного двигателя, общие виды с продольными разрезами и различным количеством рабочих лопастей долотной головки вала в зависимости от категории и группы твердости пород На фиг. 1-2 изображена малогабаритная шпиндельная секция винтового забойного двигателя с долотной головкой вала для бурения твердых пород и радиально упорной осевой опорой скольжения твердосплавного типа, установленной с двумя степенями свободы, комплектом виброгасителей, размещенных над и под осевой опорой, и гидравлической системой тангенциально-вихревого ввода промывочной жидкости в проточный осевой канал вала. На фиг. 3-4 изображена малогабаритная шпиндельная секция винтового забойного двигателя с долотной головкой для бурения мягких пород и радиально упорной осевой опорой скольжения твердосплавного типа, установленной с двумя степенями свободы и виброгасителями скомплектованными, например, над опорой с большей податливостью, чем под ней или в другом сочетании На фиг. 5-6 изображена малогабаритная шпиндельная секция винтового забойного двигателя с долотной головкой для бурения пород средней твердости и радиально упорной осевой опорой скольжения установленной аналогично как на фиг. 1 и виброгасителями, собранными с упруго-вязкими свойствами в виде тел Максвелла и Фойгта, с возможностью их размещения и чередования в определенной последовательности. На фиг. 7-8 изображена малогабаритная шпиндельная секция винтового забойного двигателя с тремя радиальными опорами и осевой опорой скольжения упорного типа размещенной с одной степенью свободы для бурения участков стабилизации траектории. На фиг. 9-10 изображена малогабаритная шпиндельная секция винтового забойного двигателя с радиально упорной осевой опорой скольжения установленной с нулевой степенью свободы для интенсификации набора кривизны. На фиг. 11-12 изображена малогабаритная шпиндельная секция винтового забойного двигателя, вал (1) которого выполнен раздельно от долота и соединяется с долотом посредством традиционного резьбового соединения, обеспечивая возможность установки над долотом калибраторов, центраторов, шламоуловителей или другого технологического инструмента. На фиг. 13 изображен фрагмент А, указанный на фигурах 1, 3, 5 и 11, выполнения размещения твердосплавной радиально упорной осевой опорой скольжения, состоящей из пяты (14) и двух подпятников (11), установленной с осевым ƒ перемещением подпятников (11) и комплекта элементов виброгасителей с расчетной деформацией эластомера (9) е одного элемента, размещенных внутри корпуса шпинделя (3) над ниппелем (2) и над подпятниками (11), причем: ƒ=2⋅n⋅е, где n - количество элементов в комплекте, 2 - количество эластомеров в виброгасителе. Твердосплавные поверхности трения (13) пяты (14) и подпятников (11) выполнены, например, путем спекания порошков карбидов вольфрама, кобальта, титана с медно-никелевыми сплавами в водородной среде (ВК6, ВК8, Т14К8, ВК3М и др.) с последующей шлифовкой и доводкой алмазным кругом (АСМ40Б). На фиг. 14 изображен тот же фрагмент А, указанный на фиг. 13, размещенный с двумя степенями свободы: осевого ƒ перемещения подпятников (11) и угловой самоустановки при селективной сборке по сферическому радиусу R пяты (14) с фиксацией стопорным пружинным кольцом (16), а также показан угол расположения контакта а опорных торцевых твердосплавных поверхностей (13) радиально упорной опоры скольжения, причем угол установки торцевых поверхностей подпятников с ответными сопрягаемыми поверхностями пяты выбран много больше угла трения. Твердосплавные поверхности трения (13) пяты (14) и подпятников (11) выполнены аналогично, как указано в описании фиг. 13. На фиг. 15 изображен фрагмент А, указанный на фиг. 7, выполнения размещения твердосплавной осевой опоры скольжения упорного типа, состоящей из пяты (14) и подпятников (11), установленных с осевым перемещением ƒ, с одной степенью свободы, пяты - на валу (1) при помощи шпоночного (15) или шлицевого соединения, а подпятники (11) в корпусе (3) с фиксацией например винтами (12). Твердосплавные поверхности трения (13) пяты (14) и подпятников (11) выполнены аналогично, как указано в описании фиг. 13. На фиг.16 изображен фрагмент А, указанный на фиг. 9, выполнения размещения твердосплавной радиально упорной осевой опоры скольжения, состоящей из пяты (24), установленной с нулевой степенью свободы на валу (1) с использованием резьбового соединения с крупным шагом и фиксирующего элемента, например, винта (25), и подпятников (11), установленных с осевым перемещением ƒ, с одной степенью свободы. Твердосплавные поверхности трения (13) пяты (24) и подпятников (11) выполнены аналогично, как указано в описании фиг. 13. На фиг. 17 изображен поперечный разрез Г-Г по нижней радиальной опоре, включающий твердосплавные поверхности трения (4) и (5) выполненные, соответственно, на валу (1) и в ниппеле (2) с центрирующими ребрами (26) армированными наплавками (17), указанный на фиг. 1…12. На фиг. 18 изображен элемент Б, указанный на фиг. 17, выполнения продольных канавок, обеспечивающих жидкостное трение, охлаждение, смазку и вынос продуктов износа твердосплавных радиальных опор скольжения. На фиг. 19 изображен поперечный разрез Д-Д по верхней радиальной опоре, включающий твердосплавные поверхности трения (7) и (8) выполненные, соответственно, на валу (1) и в ниппеле (2), указанный на фиг. 1, 3, 5, 9… и 11, и по средней радиальной опоре, указанный на фиг. 7 шпинделя. На фиг. 20 изображен элемент В, указанный на фиг. 19, выполнения продольных канавок, обеспечивающих жидкостное трение, охлаждение, смазку и вынос продуктов износа твердосплавных радиальных опор скольжения. На фиг. 21 изображен поперечный разрез Е-Е по месту соединительного узла вала с карданной передачей от силовых секций малогабаритного винтового забойного двигателя, показывающий входные радиальные отверстия, расположенные тангенциально к проточному осевому каналу вала, который указан на фигурах 1, 3, 5, 7, 9 и 11. На фиг. 22-25 изображен элемент Ж, указанный на фигурах 1, 3, 5, 7, 9, и 11 исполнения узла соединения вала с карданной передачей от силовых секций малогабаритного винтового забойного двигателя, который выполнен в виде профилированного многогранника, например: квадрата (фиг. 23, вид И, 1 вариант), шестигранника (фиг. 24, вид И, 2 вариант), или шлицевым (фиг. 25, вид И, 3 вариант), на наружной поверхности которого (вала), в месте размещения соединительного узла, образована право- или левонаправленная спиральная одно- или многозаходная лопасть (18) с шагом X, наружная образующая поверхность которой выполнена касательно склоненной к соответственно тангенциально направленным входным радиальным отверстиям, изображенным на фиг. 21. На фиг. 26 изображена расчетная схема тарельчатой пружины для малогабаритного шпинделя наружного диаметром 43 мм. На фиг. 27 изображена зависимость нагрузки от осевого перемещения пружин и их количества в комплекте быстросъемных виброгасителей На фиг. 28 изображена расчетная схема деформации резинового кольца. Детальное описание решения В процессе бурения скважины нагрузка на долото создается весом сжатой части бурильной компоновки, в которую включены бурильные трубы, калибраторы и центраторы, забойный двигатель, состоящий из силовых секций и шпинделя и породоразрушающий инструмент - долото. В процессе бурения долото, разрушая забой, формирует ухабообразную забойную рейку, создавая при этом возвратно-поступательные движения всей компоновки, приводя ее в динамически возмущенное состояние за счет линейных и нелинейных, стохастических колебаний, регулярно возникающих в бурильной колонне, особенно работающей в сильно искривленных наклонно-направленных и горизонтальных каналах из-за непредсказуемости и случайности происходящих движений, что негативно сказывается на работе всего инструмента в целом. Динамическая, неравномерная нагрузка на долото при резкоизменяющихся механических свойствах горных пород приводит к сколам зубков долота, снижает долговечность опор шпиндельной секции забойного двигателя и как следствие уменьшает механическую, рейсовую и коммерческую скорости бурения. Указанный технический результат при осуществлении изобретения достигается тем, что в известном шпинделе забойного двигателя, включенном в состав бурильной компоновки с долотом, состоящим из полого корпуса и ниппеля, образующие над ниппелем внутри корпуса камеру, вала с проточным осевым каналом, радиальными входными отверстиями и узлом соединения с карданной или торсионной передачей от силовых секций малогабаритного забойного двигателя, верхней и нижней радиальных опор скольжения, осевых опор скольжения, которые состоят из пяты и подпятников, и регулировочных элементов установленных в корпусе и на валу, особенностью изобретения является то, что регулировочные элементы выполнены в виде быстросъемных комплектов виброгасителей, состоящих из элементов, например, выполненных в виде пружинных амортизаторов, эластомеров, демпферов или их сочетаний, установленных в верхней камере над и под подпятниками осевых опор скольжения, или только в одном из указанных мест, установленных с различными степенями свободы, с возможностью предварительной (например, экспериментальной - стендовой и аналитической - расчетной) взаимной отстройки частот, расчетной частоты собственных колебаний динамически возмущенной массы бурильной компоновки с долотом Кроме того, особенность шпинделя заключается в том, что коэффициент передачи Kn - отношение амплитуды силы переданной виброгасителем на осевые опоры скольжения Рв к величине максимальной амплитуды возмущающей динамической нагрузке Рд, возникающей при разрушении забоя долотом, выбирается меньше единицы путем взаимной отстройки частот, причем при Кроме того, особенность шпинделя заключается в том, что вал выполнен раздельно от долота и соединяется с долотом и при необходимости - с калибратором или другим инструментом, с использованием традиционного резьбового соединения. Кроме того, особенность шпинделя заключается в том, что вал размещен на трех радиальных опорах, при этом осевая опора скольжения выполнена упорного типа и установлена с одной степенью свободы. Изобретение описывает несколько вариантов возможного исполнения устройства, отличающихся друг от друга конструктивными особенностями размещения и комплектования быстросъемных виброгасителей различной жесткостью и коэффициентами динамичности, типом осевой опоры скольжения различного изготовления и установки по степени свободы, количеством радиальных опор, вооружения долотной головки вала, в зависимости от категории и группы твердости пород, а также особенностями выполнения внутренней и наружной поверхностей узла соединения вала с карданной передачей и формой изготовления входных радиальных отверстий. При анализе отличительных признаков описываемого изобретения не выявлено аналогичных известных решений, касающихся возможности повышения показателей функционального назначения: эксплуатационной эффективности бурения и оперативного управления структурной устойчивостью устройства при изменении механических свойств горных пород в режиме демпфирования, причем с различными коэффициентами виброзащиты вибраций долота забойного двигателя и всей КНБК, причем непосредственно в условиях буровой, при резкоизменяющихся геологических условиях (механические свойства горных пород), наличие в конструкции вала с проточным осевым каналом, изготовленным как одно целое с долотом и снабженным комплектом виброгасителей с расчетными упруго-вязкими свойствами, установленными в необходимом месте, причем быстросъемными и с различными степенями свободы, что придают устройству новые свойства - повышение эффективности одновременно с расширением функциональных возможностей. По этой причине, на наш взгляд, предложенное техническое решение может считаться соответствующим критерию «изобретательский уровень» так как не является очевидным для специалистов в данной отрасли промышленности. Все признаки независимого пункта формулы изобретения являются существенными, то есть необходимыми для обеспечения технического результата. Остальные признаки являются частично существенными, необходимыми для реализации частных решений конструкции устройства. В связи с тем, что из данной области техники не известна совокупность признаков, характеризующих предложенное изобретение, это позволяет сделать вывод о том, что заявленное изобретение отвечает условию «новизна». Малогабаритный шпиндель секционного забойного двигателя для бурения твердых пород (фиг. 1) включает долотную головку, изготовленную совместно с проточным валом (1), ниппель (2), образующий с полым корпусом (3) верхнюю камеру. Ниппель соединен с корпусом с использованием резьбового соединения, которое зафиксировано стопорным винтом (6). Ниппель (2) и вал (1) размещены на радиальных опорах - (4), (5) и (7), (8). Твердосплавные поверхности трения радиальных опор (4), (5) и (7), (8) выполнены путем спекания порошков карбидов вольфрама, кобальта и титана с медно-никелевыми сплавами в водородной среде (ВК6, ВК8, Т14К8, ВК3М и др.) с последующей шлифовкой и доводкой алмазным кругом (АСМ40Б). Таблица 1. Модуль упругости эластомеров в зависимости от твердости по Шору В верхней камере размещены быстросъемные комплекты виброгасителей (10) в виде замкнутых двухсторонних стаканов с завулканизированными внутри них упруго вязкими эластомерами (9), обеспечивающими расчетную деформацию одного эластомера е, показанную на фиг. 13. Виброгасящие свойства эластомеров определяются путем подбора жесткости Кж (податливости) быстросъемного комплекта Кж=Р/(е n), где Р - допустимая статическая осевая нагрузка на забойный двигатель, а е - расчетно-допустимая, конструктивная деформация одного эластомера (ход сжатия) быстросъемного комплекта состоящего из n штук виброгасителей размешенных над и под твердосплавной радиальной опорой, состоящей из двух подпятников (11) и пяты (14), а также путем подбора динамического модуля упругости эластомера Ед=10…100 кгс/см2 в соответствии с твердостью по Шору, где первое значение - для мягких и последнее - для твердых пород, как показано в таблице 1. Подпятники (11), с одной стороны армированы эластомером с виброгасящими свойствами эластомеров (9), с другой - твердым сплавом (13) типа ВК6…Т14К8, ВК3М и др., выполненными по технологии изготовления радиальных опор и размещены в корпусе (3) с осей податливостью 2 f каждый относительно стопорных винтов (12). Пята (14) размещена на валу с возможностью осевого, радиального и углового перемещения по средством шпоночного (15) или шлицевого соединения (на фигуре не показано), с регламентированными посадочными зазорами, и из-за расчетной деформации комплекта эластомеров, а также податливости подпятников, что обеспечивает необходимую степень свободы. Твердосплавные поверхности пяты, взаимодействующие с ответными сопрягаемыми поверхностями подпятников, размещены под углом много больше угла трения, обеспечивая осевой опоре радиально упорные свойства. После установки осевой опоры на валу, пята (14) фиксируется пружинным кольцом (16). Позиция (18) показывает особенности выполнения наружной поверхности узла соединения вала (1) с карданной передачей (не показано) в виде право- или левонаправленной спиральной одно- или многозаходной лопасти, наружная образующая поверхность которой выполнена касательно склоненной к входным радиальным отверстиям для прохода промывочной буровой жидкости. Фиг. 2, вид 3 показывает малогабаритную долотную головкой вала типа PDC (Polycrystalline Diamond Compakt) с пятью лопостями, армированными поликристаллическими алмазами для бурения твердых пород. Ряд конструктивных особенностей в виде сечений Г-Г, Д-Д, Е-Е, а также изображений элементов А и Ж указаны на фиг. 13, 14, 15, 17, 18, 19, 20, 21 и 23-25 и описаны выше. На фиг. 3 изображен малогабаритный шпиндель секционного забойного двигателя для бурения мягких пород и в отличие от шпинделя, изображенного на фиг. 1, верхняя камера оснащается верхним подпятником (19) неармированным эластомером, а верхний комплект виброгасителей выполнен в виде пружинных амортизаторов (например, тарельчатых пружин), работающих при продольно-поперечной деформации в Эйлеровой зоне, причем при Тарельчатые пружины устанавливаются пакетами. Кольца накладываются друг на друга последовательно. Нагрузка, необходимая для сжатия пакетов, увеличивается пропорционально количеству пакетов. Гашения энергии происходят за счет фрикционного трения, но в Эйлеровой зоне. Как показывает практика, использование таких пружин снижает вибрацию в 8-10 раз. При заданной осевой статической нагрузке Р и с выбранными размерами пружин определяется количество пружин n (см. фиг. 26). Например, ниже при следующих габаритах пружин: D=30 мм - внешний диаметр пружины, d=24 мм - внутренний диаметр пружины, Р=10000 Н - заданная осевая нагрузка. где: μ=0,3 - коэффициент Пуассона; Е=2,1⋅1011 Н/м2 - модуль упругости (Юнга); U=0,6 мм - толщина пружины; е=(0,8 - 0,65)⋅ƒm - расчетный прогиб одной пружины, мм; ƒm=2 мм - высота внутреннего конуса пружины; hk - общая высота комплекта пружины, мм. Полное осевое перемещение Δhj набора тарельчатых пружин будет равно: После подстановки получаем: е=ƒm⋅0.7=2⋅0.7=1,4 мм; Δhj1=n⋅ƒ=12⋅1,4=16,8 мм. На фиг. 27 показана расчетная зависимость нагрузки от осевого перемещения пружин и их количества в комплекте быстросъемных виброгасителей. Нижний комплект виброгасителей, установленный ниже радиально-упорной осевой опоры скольжения, выполнен также как и на фиг. 1-2 быстросъемным в виде замкнутых двухсторонних стаканов (10) с завулканизированными внутри них упруго вязкими эластомерами (9), обеспечивающих расчетную деформацию эластомера е. При расчете необходимо учитывать коэффициент формы эластомера (см. фиг. 28): где m - расчетный коэффициент, величина которого в случае сжатия 4,67 [3]; hk - высота кольца, мм; d, d1 - наружный и внутренний диаметры кольца, мм; Ед=40⋅106 H/м2 - динамический модуль упругости (см. таблица 1); Напряжение сжатия найдем из соотношения Δhk - деформация кольца, мм. Определим деформацию одного резинового кольца по формуле: При наборе колец число которых равно n, общая деформация будет равна: Согласно данным формулам произведем расчет: Деформация одного кольца: Деформация набора из 6 резиновых колец: Таким образом, комплекты быстросъемных виброгасителей, состоящий из 5 элементов пружинных амортизаторов и 6 комплектов эластомеров будут работать синхронно с амплитудой колебаний долота на забое до 5-6 мм. На фиг. 6 изображена малогабаритная шпиндельная секция винтового забойного двигателя с четырьмя лопастями долотной головки (фиг. 7, см. Вид 3) для бурения пород средней твердости с позициями рабочих узлов и деталей как на фиг. 3-4, и виброгасителями собранными с упруго-вязкими свойствами в виде тел Максвелла и Фойхта, с возможностью их размещения и чередования в определенной последовательности. На фиг. 7 изображена малогабаритная шпиндельная секция винтового забойного двигателя с тремя радиальными опорами, в дополнении к двум ниже установленным, в виде твердосплавных поверхностей трения на валу (23) и в корпусе (22), и осевой опорой скольжения упорного типа размещенной с одной степенью свободы, также с быстросъемными комплектами виброгасителей для бурения участков стабилизации траектории. Согласно известным данным увеличение количества радиальных опор, установленных на расчетных расстояниях от долота L1, и между собой L2 и L3,приводит к уменьшению реакций в них при постоянстве осевой нагрузки на долото, что объясняется снижением изгибного сопротивления, как вала так и корпуса, что в свою очередь формирует ответные реакции в радиальных опорах, при этом уменьшается и величина прогиба вала относительно корпуса, то есть снижается кривизна вала и, как следствие, снижение - изгибающего момента и уменьшение отклоняющей силы на долоте, т.е. достигается стабилизация бурящего участка при повышении технического ресурса забойного двигателя. На фиг. 9 изображена малогабаритная шпиндельная секция винтового забойного двигателя с радиально упорной осевой опорой скольжения установленной с нулевой степенью свободы для интенсификации набора кривизны с меньшим радиусом при включении данного варианта конструкции в забойный двигатель с кривым переводником. Здесь твердосплавная радиально упорная пята (24) установлена на вал (1) с использованием резьбового соединения с крупным шагом и фиксирующим элементом, например винтом (25) на расстоянии L5 от верхней радиальной опоры (7), (8), а подпятники (11), установлены, также как в других вариантах, с осевым ƒ перемещением, то есть с одной степенью свободы. Причем количество пружин, установленных над опорой и эластомеров, установленных под опорой в быстросъемных комплектах виброгасителей меньше чем в других вариантах минимум в два раза, что значительно сократило величину L5 по сравнению с величиной L3 в фиг. 1…6. Данное обстоятельство уменьшило общую длину шпиндельной секции, то есть длину плеча от долота до линии перекоса кривого переводника, а значит уменьшает радиус кривизны скважины. На фиг. 11 изображена малогабаритная шпиндельная секция винтового забойного двигателя, вал (1) которого выполнен раздельно от долота и соединяется с долотом любого типа посредством традиционного резьбового соединения, обеспечивая возможность установки над долотом калибраторов, центраторов, шламоуловителей или другого технического инструмента (не показаны на чертеже) при непрогнозированном технологическом условии. Устройство работает следующим образом: Как видно из вышеописанных вариантов возможного исполнения устройства все предложенные конструкции шпиндельных секций могут включать два составляющих модуля: постоянный модуль - корпус и ниппель с радиальными опорами; и сменные модули - валы с долотными головками для различных пород, осевыми или радиально-упорными опорами скольжения с различной степенью свободы и комплектами виброгасителей с набором гармоник собственных частот, жесткостей, коэффициентами передачи и динамичности, а также крепежными и регулировочными элементами. Отсюда можно сделать вывод о модульном исполнении предлагаемого изобретения. В зависимости от ожидаемых категорий и групп твердости пород перед бурением определенного горизонта, собираются варианты сменных модулей шпиндельной секции малогабаритного забойного двигателя. На вал с соответствующей долотной головкой (1) устанавливают ниппель (2), предварительно смазав трущиеся и резьбовые поверхности. Затем на вал до упора в торец ниппеля набирают «нижний» комплект виброгасителей с необходимой жесткостью (податливостью) Кж, гармоникой собственных частот Собранный модуль вставляют в корпус (3) и заворачивают ниппель в сборе валом до упора в верхний торец корпуса, контролируя совмещения отверстий под стопорные винты (6) и (12). Заворачивают и кернят винты. Аналогично собирают остальные варианты конструкций. Тестирование виброзащитных свойств сменных модулей осуществляют на стенде «Перфобур». Последовательность сборки других вариантов устройства очевидна для специалистов из вышеизложенных описаний фигур данного изобретения. В процессе бурения скважин сверхмалого диаметра и радиуса кривизны возникает момент резкоизменяющихся геологических условий (или прогнозируемых), что можно определить по снижению механической скорости бурения, и если технологические изменения режима бурения, например путем регулирования осевой нагрузки или расхода промывочной буровой жидкости, не дали ожидаемого результата, то очевидно нужно изменить тип долота и качественные характеристики нижней части буровой компоновки (БК). В этом случае, после подъема БК и раскрепления стопорных винтов непосредственно на буровой установке монтируют уже собранный и оттестированный модуль с необходимыми механическими параметрами, что позволит подобрать наиболее благоприятный режим работы БК и ее рабочих элементов, таким образом добиться достижения искомого технического результата.
и зафиксированной экспериментально частоты возмущающей силы -
возникающей при разрушении долотной головкой забоя конкретной породы таким образом, что коэффициент передачи Kn - отношение амплитуды силы переданной виброгасителем на осевые опоры скольжения Рв к величине максимальной амплитуды возмущающей динамической нагрузки Рд, возникающей при разрушении забоя долотом, выбирается меньше единицы, при этом коэффициент динамичности, характеризуемый синусоидальной зависимостью угла сдвига фаз между возмущающей нагрузкой Рд и расчетной конструктивной деформацией
быстросъемного комплекта, состоящего из n штук виброгасителей, выбирается с учетом частоты вращения долота и твердости конкретной пород так, чтобы
путем подбора жесткости быстросъемного комплекта
где Р - допустимая статическая осевая нагрузка на забойный двигатель, а ei - расчетно-допустимая, конструктивная деформация i-ого виброгасителя (ход сжатия) быстросъемного комплекта состоящего из n штук виброгасителей.
быстросъемный комплект виброгасителей выполняется в виде пружинных амортизаторов, при
комплект виброгасителей выполняется в виде эластомеров, а при
- в виде сочетаний комплектов пружин и эластомеров.
и зафиксированной экспериментально частоты возмущающей силы
возникающей при разрушении долотной головки забоя конкретной породы, а так же с возможностью восприятия и передачи осевых динамических сил от долота, и от силовых секций малогабаритного забойного двигателя к бурильной компоновки и обратно, одни из которых скомплектованы с наибольшей жесткостью (податливостью), другие - со средней, а третьи с наименьшей или упруго-вязкими, но всегда собственная частота, которая подобранная аналитически, должна быть ниже установленной экспериментально частоты возмущения и с оптимальными коэффициентами передачи и динамичности, при этом вал с проточным осевым каналом, изготовлен за одно целое с долотом, а узел соединения вала с карданной передачей выполнен в виде профилированного многогранника, например квадрата, шестигранника или шлицевым, на наружной поверхности которого (вала), в месте размещения соединительного узла, образована право или лево направленная спиральная одно или многозаходная лопасть, наружная образующая поверхность которой выполнена касательно склоненной к соответственно направленным входным радиальным отверстиям, а те в свою очередь расположены тангенциально к проточному осевому каналу вала и направлены в одну сторону с лопастями, причем осевые опоры скольжения выполнены радиально-упорными, и размещенными с углом установки торцевых поверхностей подпятников с ответными сопрягаемыми поверхностями пяты больше угла трения, а пята размещена на валу либо жестко на резьбе с фиксацией, либо с возможностью осевого, радиального и углового перемещения по средством шпоночного или шлицевого соединения с регламентированными посадочными зазорами, обеспечивающими необходимую степень свободы, а подпятники: верхний - с регламентированным осевым и угловым перемещением относительно вала в соответствии с аналитически и конструктивно подобранной податливостью виброгасителей, нижний - либо тоже установлен свободно-подвижно, либо, при необходимости, жестко вмонтирован на торце ниппеля со степенью свободы равном нулю.
быстросъемный комплект виброгасителей выполняется в виде пружинных амортизаторов, при
комплект виброгасителей выполняется в виде эластомеров, а при
- в виде сочетаний комплектов пружин и эластомеров, при этом коэффициент динамичности, характеризуемый синусоидальной зависимостью угла сдвига фаз между возмущающей нагрузкой Рд и расчетной конструктивной деформацией быстросъемного комплекта виброгасителей е, что показывает эффективность виброизоляции быстросъемного комплекта, выбирается с учетом частоты вращения долота и твердости конкретной пород, так чтобы частота собственных колебаний динамически возмущенного участка бурильной колонны с долотом
была бы всегда ниже частоты возмущающей силы
путем подбора жесткости (податливости) быстросъемного комплекта виброгасителей
где Рс - допустимая статическая осевая нагрузка на забойный двигатель, а е - расчетная конструктивная деформация быстросъемного комплекта виброгасителей (ход сжатия) эластомера, также путем подбора динамического модуля упругости эластомера Ед=10…100 кгс/см2 в соответствии с твердостью по Шору, где первое значение - для твердых и последнее - для мягких пород, а так же аналитически и конструктивным выбором степеней свободы эластомера.
, и так чтобы частота собственных колебаний динамически возмущенного участка бурильной колонны с долотом
была бы всегда ниже частоты возмущающей силы
, путем подбора жесткости (податливости) быстросъемного комплекта Кж=Р/(е n), где Р - допустимая статическая осевая нагрузка на забойный двигатель, е - расчетный прогиб одной пружины, а n - количество пружин.

- отношение наружного и внутреннего диаметров тарельчатой пружины,




- статический модуль упругости, H/м2.








оптимальными коэффициентами передачи Kn и динамичности. Далее устанавливают нижний подпятник (1) 1, пяту (14) с использованием шпоночного (15) или шлицевого соединения (не показано) и фиксируют сборку пружинным кольцом (16). Установка осевой опоры заканчивается размещением на опорной поверхности пяты верхнего подпятника (11). Окончательно, набирается верхний комплект виброгасителей с необходимыми механическими параметрами и качественными и количественными характеристиками, с учетом возможной синхронной работы с «нижним» комплектом и всем модулем в целом. Сборку виброгасителей ведут селективно.