патент
№ RU 2695470
МПК B64D29/04

НОСОВОЙ ОБТЕКАТЕЛЬ ЛЕТАТЕЛЬНОГО АППАРАТА В ТРАНСПОРТНО-ПУСКОВОМ КОНТЕЙНЕРЕ

Авторы:
Дергачев Александр Анатольевич Каверин Виктор Александрович Белов Михаил Владимирович
Все (7)
Номер заявки
2018128345
Дата подачи заявки
03.08.2018
Опубликовано
23.07.2019
Страна
RU
Как управлять
интеллектуальной собственностью
Чертежи 
7
Реферат

Изобретение относится к летательным аппаратам. Носовой обтекатель летательного аппарата (2) в транспортно-пусковом контейнере (3) состоит из днища (11) и корпуса (12), образующих разъемное соединение с обеспечением герметизации стыка. Между выступом носового обтекателя и передним торцом транспортно-пускового контейнера (3) установлено перестыковочное кольцо, закрепленное на транспортно-пусковом контейнере (3). При этом носовой обтекатель своими срезными элементами закреплен на перестыковочном кольце с обеспечением герметизации стыка. Кроме того, в корпусе носового обтекателя установлены система двигателей разворота летательного аппарата и увода носового обтекателя после его расфиксации от летательного аппарата, а также система грузов (9) для регулирования положения центра масс носового обтекателя, а на заднем торце корпуса носового обтекателя закреплено прижимное кольцо для элемента герметизации носового обтекателя с корпусом летательного аппарата. Изобретение позволяет расширить функциональность, снижает трудоемкость сборочных работ на заключительных этапах сборки и обеспечить взаимозаменяемость. 4 з.п. ф-лы, 9 ил.

Формула изобретения

1. Носовой обтекатель летательного аппарата (ЛА) в транспортно-пусковом контейнере (ТПК), закрепленный с возможностью отделения на носовой части корпуса ЛА с перекрытием его воздухозаборника с центральным телом и с обеспечением герметизации внутренних полостей как ЛА, так и ТПК, а на боковой поверхности носового обтекателя выполнен выступ для упора в передний торец ТПК, при этом носовой обтекатель скреплен с ТПК посредством срезных элементов, отличающийся тем, что носовой обтекатель состоит из днища и корпуса, образующих разъемное соединение с обеспечением герметизации стыка, между выступом носового обтекателя и передним торцом ТПК установлено перестыковочное кольцо, закрепленное на ТПК, а носовой обтекатель своими срезными элементами закреплен на перестыковочном кольце с обеспечением герметизации стыка, кроме того, в корпусе носового обтекателя установлены система двигателей разворота ЛА и увода носового обтекателя после его расфиксации от ЛА и система грузов для регулирования положения центра масс носового обтекателя, а на заднем торце корпуса носового обтекателя закреплено прижимное кольцо для элемента герметизации носового обтекателя с корпусом ЛА.

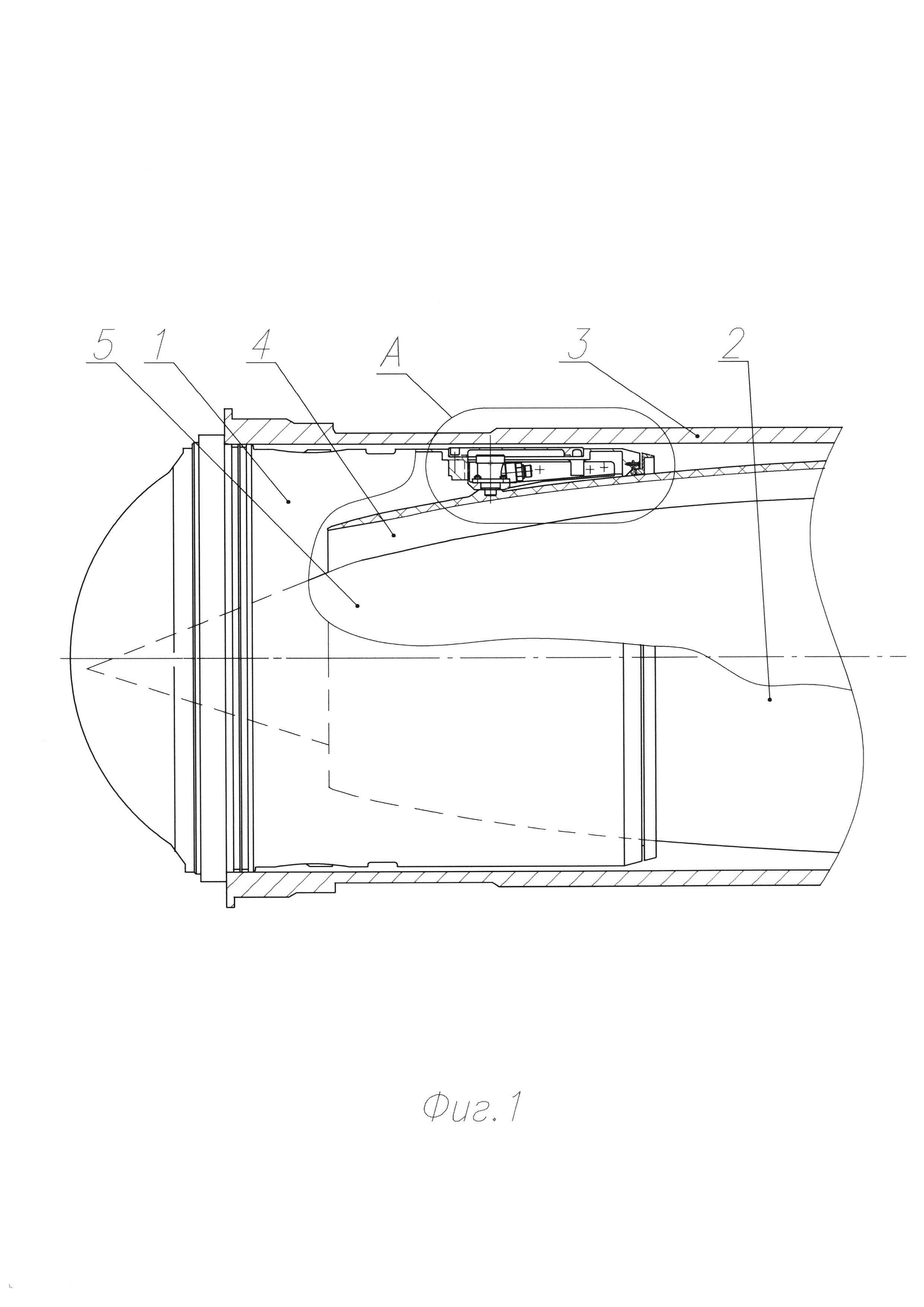
2. Носовой обтекатель по п. 1, отличающийся тем, что он закреплен на носовой части корпуса ЛА пиростопорами.

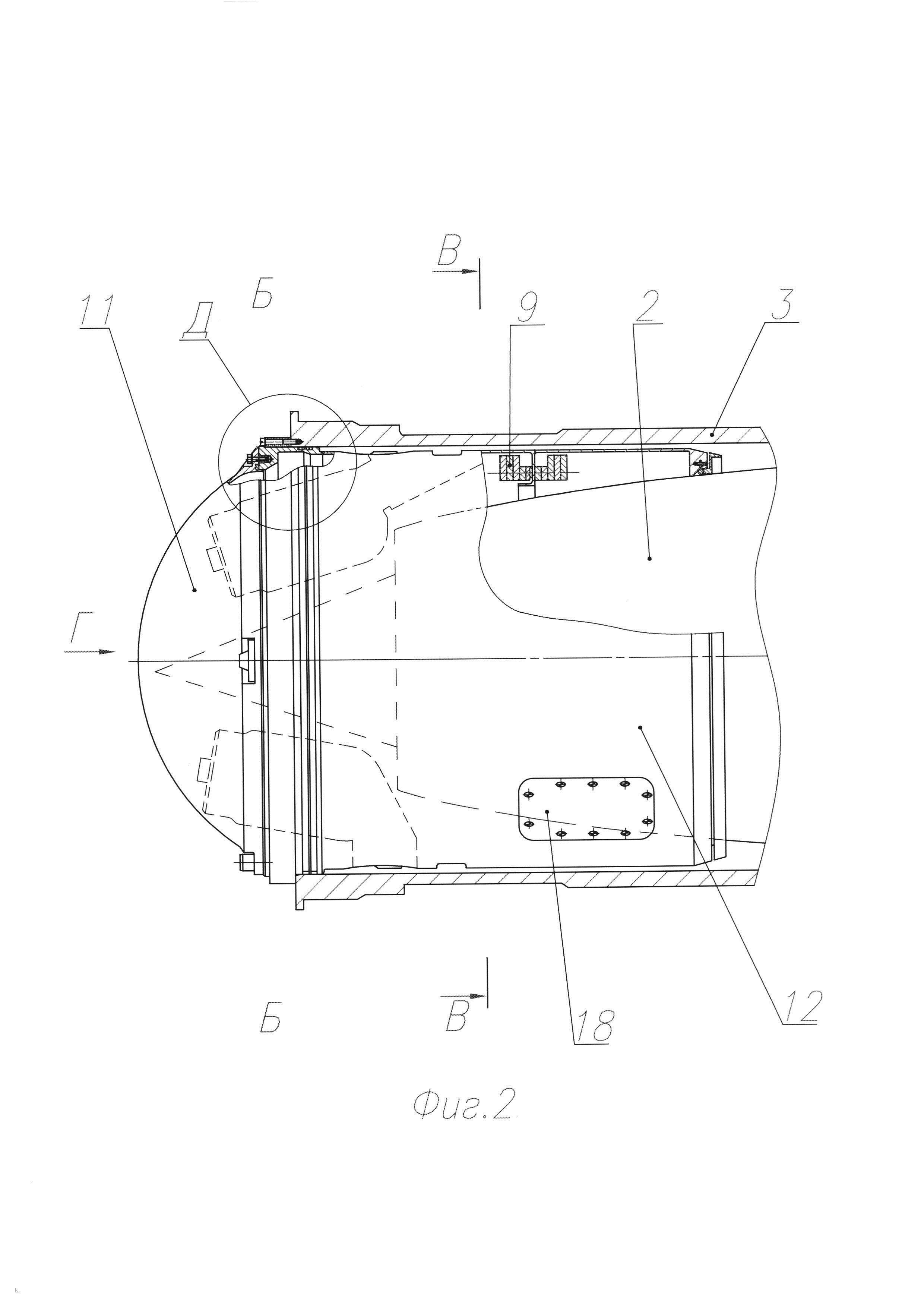
3. Носовой обтекатель по п. 1 и по 2, отличающийся тем, что на корпусе носового обтекателя выполнены люки для монтажа пиростопоров с последующей установкой крышек с обеспечением герметизации стыка.

4. Носовой обтекатель по п. 1, отличающийся тем, что система грузов выполнена в виде набора пластин разной толщины, закрепленных на стенке корпуса носового обтекателя.

5. Носовой обтекатель по п. 1, отличающийся тем, что на днище носового обтекателя установлены четыре сухаря для проведения такелажных работ с носового обтекателя, с носового обтекателя вместе с ЛА, а также с носового обтекателя вместе с ЛА внутри ТПК.

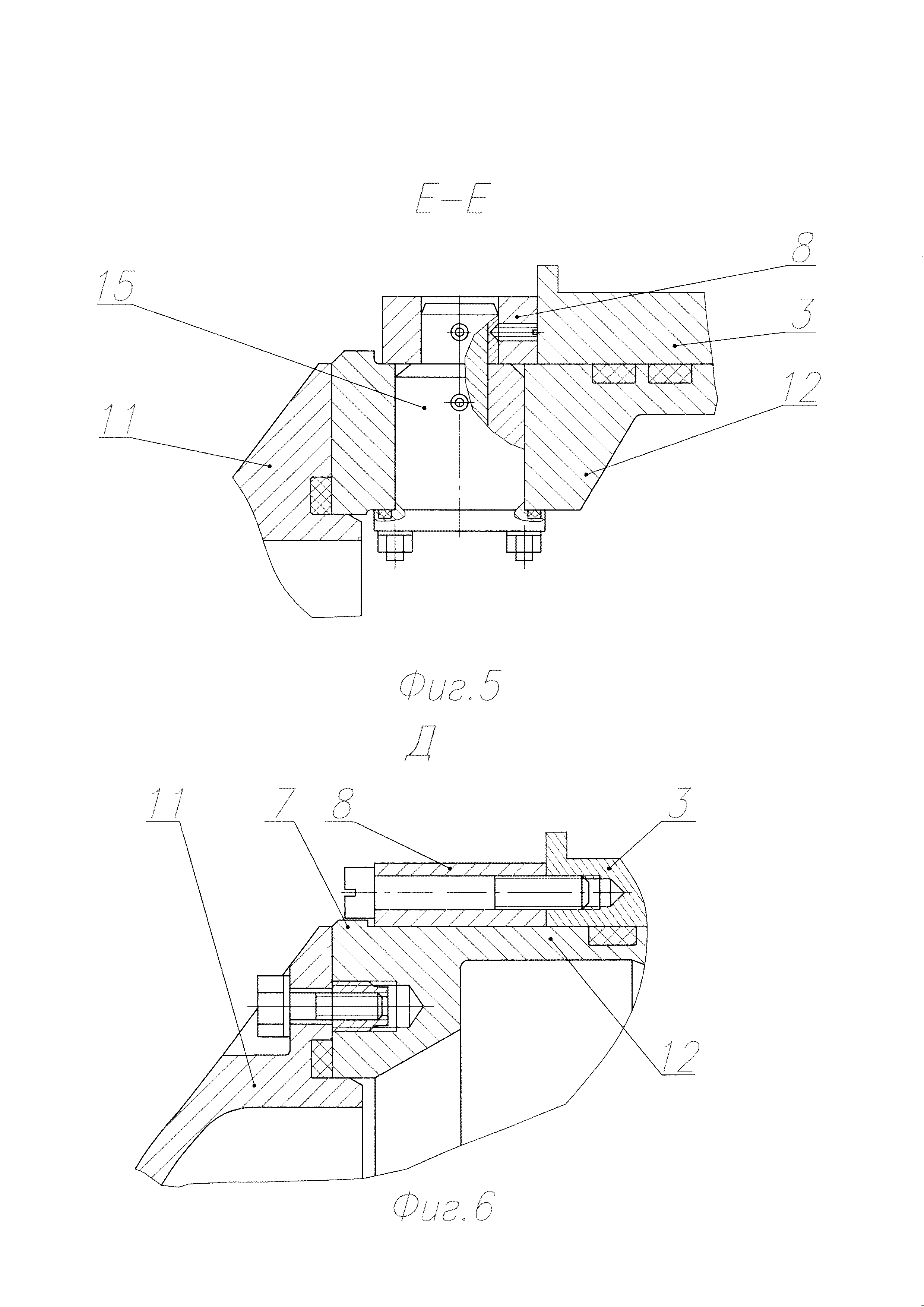
Описание

[1]

Заявляемое техническое решение относится к области летательных аппаратов (ЛА), а именно к устройствам, обеспечивающим компактное размещение и требуемые условия эксплуатации ЛА в транспортно-пусковых контейнерах (ТПК), и может найти применение на ЛА, преимущественно сверхзвуковых, разрабатываемых, в том числе, под условия подводного старта.

[2]

Известен ЛА в ТПК по патенту РФ №2215981, содержащий осесимметричный фюзеляж, оборудованный воздухозаборником воздушно-реактивного двигателя ЛА и снабженный складывающимися крыльями и оперением, соосно скрепленную с фюзеляжем стартово-разгонную ступень, при этом воздухозаборник расположен в носовой части фюзеляжа и снабжен носовым обтекателем (НО), посредством которого ЛА крепится в контейнере в продольном направлении и осуществляется герметизация внутренних полостей как ЛА, так и ТПК. На боковой поверхности обтекателя цилиндроконической формы выполнен уступ, опирающийся на передний торец ТПК, и установлены кольца уплотнения, контактирующие с его внутренней поверхностью, при этом обтекатель скреплен с ТПК посредством срезных элементов.

[3]

НО ЛА по патенту РФ №2215981 имеет следующие недостатки:

[4]

- отсутствие переходной детали между НО и ТПК требует совместной разделки отверстий под срезные элементы в НО и ТПК. Тем самым снижается технологичность конструкции и повышается трудоемкость работ на заключительных этапах сборки, а также не обеспечивается взаимозаменяемость таких трудоемких в изготовлении агрегатов, как НО и ТПК;

[5]

- НО выполнен как одно целое, без съемного днища и эксплуатационных люков, что приводит к значительным трудностям в ходе сборочных и электромонтажных работ;

[6]

- не представлено техническое решение установки пиростопоров для фиксации НО относительно носовой части ЛА;

[7]

- не представлено техническое решение герметизации НО с носовой частью ЛА;

[8]

- не представлено техническое решение установки внутри НО системы двигателей разворота ЛА на цель и увода НО после его расфиксации от ЛА;

[9]

- отсутствует возможность регулировки положения центра масс НО, что очень важно для правильной и надежной работы системы двигателей;

[10]

- отсутствуют узлы, обеспечивающие такелажные работы с НО, с НО вместе с ЛА, а также с НО вместе с ЛА внутри ТПК.

[11]

Данное устройство принято за ближайший аналог.

[12]

Технической задачей, на решение которой направлено заявляемое техническое решение, является:

[13]

увеличение плотности компоновки путем рационального использования внутренних объемов НО;

[14]

- введение перестыковочного кольца между НО и ТПК, при этом срезные элементы устанавливаются в перестыковочном кольце, что значительно снижает трудоемкость сборочных работ на заключительных этапах сборки и обеспечивает взаимозаменяемость НО и ТПК путем замены кольца, если это необходимо;

[15]

уменьшение энергозатрат путем использования двигателей, установленных внутри НО, обеспечивающих разворот ЛА на цель и увод НО после его расфиксации вместе с этими двигателями от ЛА;

[16]

- повышение точности и надежности отделения и увода НО и разворота ЛА путем регулировки положения центра масс НО;

[17]

- обеспечение для НО дополнительной функциональности путем разделения его на корпус и днище и введения эксплуатационных люков для установки и обслуживания узлов и агрегатов, размещенных внутри НО;

[18]

- установка на НО такелажных узлов для работ не только с НО, но и с НО вместе с ЛА, а также с НО вместе с ЛА внутри ТПК;

[19]

- введение прижимного кольца для элемента герметизации НО с носовой частью ЛА с целью регулирования степени его обжатия после закрепления НО на ЛА пиростопорами.

[20]

Поставленная задача достигается тем, что НО ЛА в ТПК, закрепленный с возможностью отделения на носовой части корпуса ЛА с перекрытием его воздухозаборника с центральным телом и с обеспечением герметизации внутренних полостей как ЛА, так и ТПК, на боковой поверхности которого выполнен выступ для упора в передний торец ТПК, при этом НО скреплен с ТПК посредством срезных элементов, состоит из днища и корпуса, образующих разъемное соединение с обеспечением герметизации стыка, между выступом НО и передним торцем ТПК установлено перестыковочное кольцо, закрепленное на ТПК, а НО своими срезными элементами закреплен на перестыковочном кольце с обеспечением герметизации стыка, кроме того, в корпусе НО установлены система двигателей разворота ЛА и увода НО после его расфиксации от ЛА, и система грузов для регулирования положения центра масс НО, а на заднем торце корпуса НО закреплено прижимное кольцо для элемента герметизации НО с корпусом ЛА. НО закреплен на носовой части корпуса ЛА пиростопорами. На корпусе НО выполнены люки для монтажа пиростопоров с последующей установкой крышек с обеспечением герметизации стыка.

[21]

Система грузов выполнена в виде набора пластин разной толщины, закрепленных на стенке корпуса НО. На днище НО установлены четыре сухаря для проведения такелажных работ с НО, с НО вместе с ЛА, а также с НО вместе с ЛА внутри ТПК.

[22]

Предложенное техническое решение поясняется чертежами.

[23]

На фиг. 1 дан вид на НО 1 ЛА 2 в ТПК 3. В разрезе показан осесимметричный воздухозаборник 4 с центральным телом 5 ЛА 2.

[24]

На фиг. 2 показано, что НО 1 ЛА 2 в ТПК 3 состоит из днища 11 и корпуса 12. В разрезе показана система грузов 9, обеспечивающая выставление центра масс НО в необходимых допусках. Также показана крышка 18 одного из пиростопоров крепления НО на носовой части ЛА 2.

[25]

На фиг. 3 дан вид на днище 11 НО, показаны сухари 13 для такелажных работ с НО, с НО вместе с ЛА, а также с НО вместе с ЛА внутри ТПК.

[26]

На фиг. 4 дан разрез по корпусу 12 НО и показана, установленная внутри НО система двигателей 16, обеспечивающих разворот ЛА 2 на цель и увод НО вместе с этими двигателями от ЛА после его расфиксации.

[27]

На фиг. 5 дан разрез по стыку НО с ТПК 3 по месту установки срезного элемента 15, который закреплен на корпусе 12 НО и входит в ответное отверстие перестыковочного кольца 8. Здесь также видно, что днище 11 НО герметично соединено с корпусом 12 НО, срезной элемент 15 герметично соединен с корпусом 12 НО, корпус 12 НО герметично соединен с ТПК 3.

[28]

Виден выступ 7 НО для перестыковочного кольца 8.

[29]

На фиг. 6 также дан разрез по стыку НО с ТПК 3 по месту крепления днища 11 НО с корпусом 12 НО и перестыковочного кольца 8 с ТПК 3.

[30]

На фиг. 7 дан разрез по стыку корпуса 12 НО с ЛА 2 по месту установки пиростопора 14. Здесь же показаны крышка 18 пиростопора 14 и прижимное кольцо 10 для элемента герметизации 17 НО с корпусом ЛА 2.

[31]

На фиг. 8 показан разрез по корпусу 12 НО, где представлена система грузов 9 в виде набора пластин разной толщины.

[32]

На фиг. 9 показан разрез по одному из сухарей 13, где показано его крепление вместе с днищем 11 НО к корпусу 12 НО.

[33]

Устройство работает следующим образом.

[34]

Производятся работы по сборке и снаряжению корпуса 12 НО, включая установку системы двигателей 16 и системы грузов 9. При этом количество и место установки грузов подбираются из условия обеспечения заданного положения центра масс НО 1 в сборе.

[35]

На корпус 12 НО 1 устанавливается перестыковочное кольцо 8 и крепятся срезные элементы 15.

[36]

На днище 11 НО устанавливаются сухари 13 для такелажных работ.

[37]

Крепление НО 1 на корпусе ЛА 2 осуществляется пиростопорами 14, а прижимное кольцо 10 обеспечивает необходимое обжатие элемента герметизации 17. По завершении работ с пиростопорами 14 устанавливаются крышки 18 эксплуатационных люков.

[38]

После завершения работ по сборке и снаряжению НО 1 с ЛА 2 устанавливается днище 11 НО. Теперь с использованием тех же сухарей 13 можно производить такелажные работы с НО вместе с ЛА. После заведения НО 1 вместе с ЛА 2 в ТПК 3 происходит крепление перестыковочного кольца 8 к ТПК 3. Теперь можно производить такелажные работы с системой НО - ЛА - ТПК с помощью тех же сухарей 13, установленных на днище 11 НО 1.

[39]

При эксплуатации выход ЛА 2 из ТПК 3 осуществляется, например, путем срабатывания газогенератора. После того, как давление, создаваемое газогенератором в задонном объеме достигнет заданного уровня, происходит разрушение срезных элементов 15. В результате ЛА 2 с НО 1 начинает выходить из ТПК 3. По команде от системы управления выполняются операции по расфиксации пиростопоров 14, после чего подается команда на систему двигателей 16 разворота ЛА на цель и увода НО от ЛА.

[40]

Предложенная конструкция успешно прошла лабораторно-стендовые и летно-конструкторские испытания в составе ЛА в диапазоне температур ±50°С.

[41]

Использование предлагаемого технического решения позволит повысить многофункциональность НО как агрегата, снизить трудоемкость сборочных работ на заключительных этапах сборки и обеспечить взаимозаменяемость НО и ТПК, повысить надежность и точность отделения и увода НО и разворота ЛА, увеличить плотность компоновки путем размещения внутри НО системы двигателей и системы грузов, а также уменьшить энергозатраты, на маневры по траектории вывода на цель после отделения НО.

Как компенсировать расходы
на инновационную разработку
Похожие патенты