патент
№ RU 2693868
МПК G01R21/12

Диодный детектор мощности сигналов сверхвысоких частот

Авторы:
Павлов Сергей Владимирович Загородний Андрей Сергеевич Добриков Александр Иванович
Все (4)
Номер заявки
2018143412
Дата подачи заявки
07.12.2018
Опубликовано
05.07.2019
Страна
RU
Как управлять
интеллектуальной собственностью
Чертежи 
2
Реферат

Использование: для детектирования мощности электромагнитных сигналов СВЧ. Сущность изобретения заключается в том, что диодный детектор мощности сигналов сверхвысоких частот, включающий металлический корпус, соединенный со входным и выходным коаксиальными соединителями, между которыми расположены диэлектрическая пластина с расположенными на ней согласующей цепью, выполненной с использованием тонкопленочных пассивных элементов, выход которой подключен к первому выводу полупроводникового низкобарьерного диода, выполненного на подложке из арсенида галлия, второй вывод которого подключен к фильтру низких частот, образованному конденсатором и первым резистором, второй вывод которого соединен с центральным проводником выходного коаксиального соединителя, при этом введен гермоввод, который подключен между входным коаксиальным соединителем и согласующей цепью, в которую введены две параллельно подключенные цепи в микрополосковом исполнении, содержащие второй резистор и регулируемую индуктивность, замкнутую на корпус, и третий резистор, подключенный последовательно перед диодом, при этом диод имеет пробивное отрицательное напряжение не менее 4 В, емкость перехода не более 50 фФ и видеосопротивление в диапазоне от 0,7 до 2,5 кОм, прямое сопротивление потерь не более 40 Ом. Технический результат: обеспечение возможности повышения точности детектирования сигналов на частотах до 50 ГГц. 2 з.п. ф-лы, 4 ил.

Формула изобретения

1. Диодный детектор мощности сигналов сверхвысоких частот, включающий металлический корпус, соединенный с входным и выходным коаксиальными соединителями, между которыми расположены диэлектрическая пластина с расположенными на ней согласующей цепью, выполненной с использованием тонкопленочных пассивных элементов, выход которой подключен к первому выводу полупроводникового низкобарьерного диода, выполненного на подложке из арсенида галлия, второй вывод которого подключен к фильтру низких частот, образованному конденсатором и первым резистором, второй вывод которого соединен с центральным проводником выходного коаксиального соединителя, отличающийся тем, что введен гермоввод, который подключен между входным коаксиальным соединителем и согласующей цепью, в которую введены две параллельно подключенные цепи в микрополосковом исполнении, содержащие второй резистор и регулируемую индуктивность, замкнутую на корпус, и третий резистор, подключенный последовательно перед диодом, при этом диод имеет пробивное отрицательное напряжение не менее 4 В, емкость перехода не более 50 фФ и видеосопротивление в диапазоне от 0,7 до 2,5 кОм, прямое сопротивление потерь не более 40 Ом.

2. Диодный детектор мощности сигналов сверхвысоких частот по п. 1, отличающийся тем, что диод включен в прямом или в обратном направлении.

3. Диодный детектор мощности сигналов сверхвысоких частот по п. 1, отличающийся тем, что регулируемая индуктивность выполнена в виде параллельно включенных разварочных проволочек в количестве от одной до четырех штук.

Описание

[1]

Область техники

[2]

Изобретение относится к области радиотехники сверхвысоких частот (СВЧ), а именно, к устройствам детектирования мощности электромагнитных сигналов СВЧ и может быть использовано как отдельное измерительное устройство, так и для построения измерительных комплексов, в приборостроении, радиометрии.

[3]

Уровень техники

[4]

Известен детектор СВЧ (Патент RU № 2350973, МПК G01R 21/12 опубл. 14.01.2008), состоящий из корпуса, отрезка линии передачи, в котором выполнен продольный вырез, СВЧ-соединителей, низкочастотного фильтра и конденсатора, в котором длина продольного выреза выбрана равной половине средней рабочей длины волны в линии. В упомянутом вырезе размещен проводящий СВЧ-элемент, связанный с отрезком посредством встречно включенных СВЧ-диодов.

[5]

Недостатком известного детектора является малый диапазон рабочих частот.

[6]

Наиболее близким аналогом является диодный детектор мощности фирмы «Keysight Technologies» (http://literature.cdn.keysight.com/litweb/pdf/5965-7238E.pdf) с полосой рабочих частот от 10 МГц до 50 ГГц, который выполнен на основе GaAs низкобарьерного диода, согласованного с коаксиальным трактом и включенного за диодом фильтра низких частот.

[7]

Основным недостатком выше указанного технического решения является малый уровень максимальной измеряемой мощности, равный 100 мВт, а также низкая вольт-ваттная чувствительность, порядка 0,4 мВ/мкВт.

[8]

Кроме того, у известного детектора достаточно высокий коэффициент стоячей волны по напряжению (КСВН) по входу в диапазоне 40 ГГц-50 ГГц, (не более 2,8) который, в свою очередь, оказывает негативное влияние на точность детектирования сигналов.

[9]

Изобретение направлено на создание диодного детектора мощности сигналов СВЧ, который позволяет устранить или минимизировать некоторые из рассмотренных недостатков.

[10]

Основной технической задачей заявляемого изобретения является увеличение максимальной измеряемой мощности, а также повышение вольт-ваттной чувствительности и уменьшение максимально допустимого КСВН на частотах до 50 ГГц.

[11]

Техническим результатом является повышение точности детектирования сигналов на частотах до 50 ГГц за счет уменьшения максимально допустимого КСВН и увеличения вольт-ваттной чувствительности.

[12]

В заявляемом диодном детекторе мощности сигналов СВЧ, включающем металлический корпус, соединенный со входным и выходным коаксиальными соединителями, между которыми расположены диэлектрическая пластина с расположенными на ней согласующей цепью, выполненной с использованием тонкопленочных пассивных элементов, выход которой подключен к первому выводу полупроводникового низкобарьерного диода, выполненного на подложке из арсенида галлия, второй вывод которого подключен к фильтру низких частот, образованному конденсатором и первым резистором, второй вывод которого соединен с центральным проводником выходного коаксиального соединителя, согласно предложенному решению, введен гермоввод, который подключен между входным коаксиальным соединителем и согласующей цепью, в которую введены две параллельно подключенные цепи в микрополосковом исполнении, содержащие второй резистор и регулируемую индуктивность, замкнутую на корпус, и третий резистор, подключенный последовательно перед диодом, при этом диод имеет пробивное отрицательное напряжение не менее 4 В, емкость перехода не более 50 фФ и видеосопротивление в диапазоне от 0,7 кОм до 2,5 кОм, прямое сопротивление потерь не более 40 Ом.

[13]

В частном случае, диод может быть включен в прямом или в обратном направлении.

[14]

В частном случае, регулируемая индуктивность может быть выполнена в виде параллельно включенных разварочных проволочек в количестве от одной до четырех штук.

[15]

Заявленное изобретение поясняется рисунками, где представлены: на фиг. 1 – вид сверху устройства, на фиг. 2 – разрез А-А устройства, представленного на фиг. 1, на фиг. 3 – разрез Б-Б устройства, представленного на фиг. 1, демонстрирующий пример его конкретного выполнения; на фиг. 4 – эквивалентная электрическая схема устройства, представленного на фиг. 3.

[16]

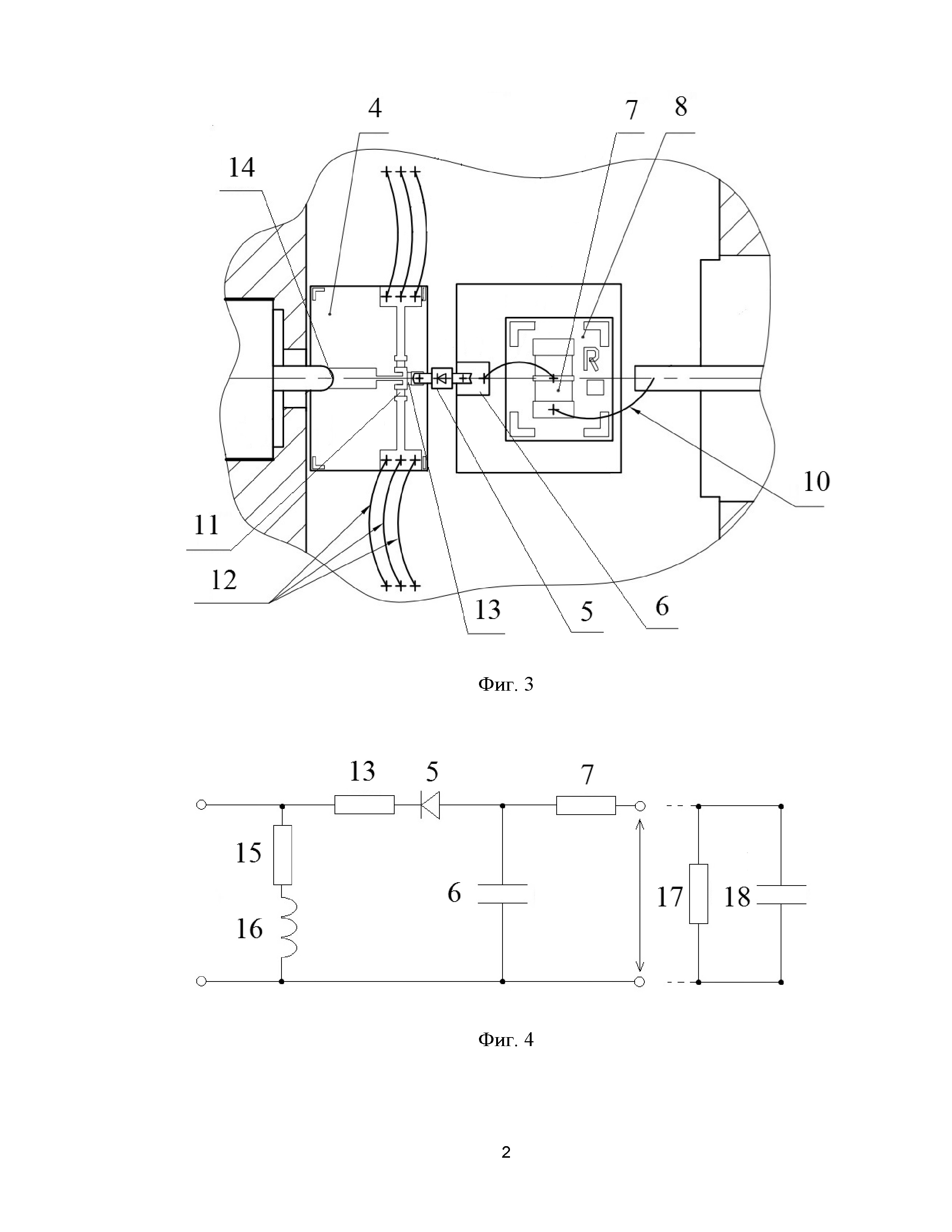
В диодном детекторе мощности сигналов СВЧ (фиг. 1 и 2) корпус 1 соединен со входным коаксиальным соединителем 2, выход которого соединен с расположенными в корпусе 1 через гермоввод 3 с согласующей цепью, расположенной на диэлектрической пластине 4, к выходу которой последовательно подключены диод 5, и фильтр низких частот, включающий конденсатор 6 и первый резистор 7 (фиг. 3, фиг. 4). Конденсатор 6 замкнут на корпус, первый резистор 7 расположен на диэлектрической пластине 8, при этом второй вывод первого резистора 7 соединен с центральным проводником выходного коаксиального соединителя 9 при помощи разварочной проволочки 10, который соединен с корпусом 1. Согласующая цепь выполнена в виде двух параллельно подключенных цепей, каждая из которых содержит последовательно включенные второй резистор 11 и регулируемую индуктивность 12, и последовательно включенного к диоду 5 третьего резистора 13, с применением микрополосковой линии передачи 14. Регулируемая индуктивность 12 выполнена в виде трех разварочных проволочек. На фиг. 4 второй резистор 11 и регулируемая индуктивность 12 двух цепей обозначены эквивалентными резистором 15 и индуктивностью 16, соответственно. К выходу устройства параллельно подключено сопротивление 17 и конденсатор 18 внешней нагрузки, образующие эквивалентные сопротивление и ёмкость нагрузки, соответственно, подключаемой к выходному соединителю детектора.

[17]

Устройство работает следующим образом. Высокочастотный сигнал через входной коаксиальный соединитель 2 поступает на вход детектора. Часть энергии рассеивается на эквивалентных резисторе 15 и индуктивности 16, остальная часть энергии поступает через третий резистор 13 на диод 5, где происходит нелинейное преобразование отрицательных полупериодов входного сигнала, а на нагрузке детектора 17 выделяется продетектированный сигнал отрицательной полярности. При этом конденсатор 6, первый резистор 7, сопротивление 17 и ёмкость 18 внешней нагрузки, выполняют функцию фильтра нижних частот, ограничивая высокочастотные составляющие сигнала на выходе.

[18]

Амплитуда выходного напряжения заявляемого детектора пропорциональна уровню мощности входного сигнала СВЧ. При включении катода диода 5 к согласующей цепи, а анода к фильтру нижних частот происходит детектирование отрицательных полуволн входного сигнала и формирование выходного сигнала отрицательной полярности. При включении диода в обратном направлении достигается выходной сигнал положительной полярности.

[19]

Заявляемый детектор работает в диапазоне частот от 10 МГц до 50 ГГц. С ростом частоты входного сигнала эквивалентное сопротивление полупроводникового диода 5 уменьшается ввиду уменьшения реактивного сопротивления ёмкости его перехода. Это приводит к увеличению КСВН детектора. Реактивное сопротивление индуктивности увеличивается с ростом частоты сигнала. За счет использования в согласующей цепи регулируемой индуктивности 12, происходит компенсация эквивалентного сопротивления диода 5. Выполнение регулируемой индуктивности 12 в виде параллельно включенных разварочных проволочек, соединяющих вторые резисторы 11 с корпусом 1, позволяет изменять эквивалентную индуктивность 16, путем прижима части проволочки со стороны замыкания к плоскости с нулевым потенциалом, обеспечивая коррекцию КСВН в устройстве.

[20]

При изготовлении партии заявляемых детекторов конкретного исполнения (фиг. 3) в качестве диода 5 были использованы диоды ZB-28 производства АО «НПФ «Микран» с пробивным напряжением 4,5 В, видеосопротивлением 0,9 кОм, прямым сопротивлением потерь 30 Ом и ёмкостью перехода 35 фФ. В согласующей цепи использованы тонкопленочные второй и третий резисторы 11 и 13 соответственно, максимально допустимая мощность каждого резистора не менее 200 мВт (+23 дБм), в качестве индуктивности 12 применены три разварочные проволочки длиной 1,6 мм. Предложенная согласующая цепь и подстройка длины разварочных проволочек позволили достичь КСВН: в диапазоне частот от 40 ГГц до 50 ГГц – не более 2,2 для партии; КСВН в диапазоне от 10 МГц до 20 ГГц - не более 1,2 для парии; от 20 ГГц до 40 ГГц – не более 1,5 для партии.

[21]

Предложенная согласующая цепь с тонкопленочными вторыми и третьим резисторами 11 и 13, соответственно, максимально допустимая мощность каждого из которых не менее 200 мВт (+23 дБм), с диодом 5, видеосопротивление которого составляет от 0,7 кОм до 2,5 кОм, а прямое сопротивление потерь не более 40 Ом, позволяет достичь максимальной измеряемой мощности в заявляемом детекторе не менее 160 мВт (+22 дБм), максимальной допустимой входной мощности не менее 350 мВт (+25 дБм) и вольт-ваттной чувствительности не менее 0,5 мВ/мкВт. Обеспечиваемый диапазон измерения мощности – от 10 нВт до 160 мВт (от -50 дБм до +22 дБм).

[22]

Для сравнения, величина максимальной измеряемой мощности наиболее близкого к изобретению детектора 8474E фирмы «Keysight Technologies» составляет 100 мВт (+20 дБм), чувствительность порядка 0,4 мВ/мкВт, КСВН в диапазоне частот от 40 ГГц до 50 ГГц не более 2,8.

Как компенсировать расходы
на инновационную разработку
Похожие патенты