патент
№ RU 2613344
МПК F41G7/22

АНТЕННОЕ УСТРОЙСТВО С БИКАРДАНОВЫМ ПОДВЕСОМ

Авторы:
Фролов Александр Семенович
Номер заявки
2015140377
Дата подачи заявки
22.09.2015
Опубликовано
16.03.2017
Страна
RU
Как управлять
интеллектуальной собственностью
Чертежи 
5
Реферат

[35]

Изобретение относится к системам самонаведения, в частности к антеннам с механическим сканированием зеркала антенны, и может быть использовано на подвижных объектах, например, в активных радиолокационных головках самонаведения сверхзвуковых ракет на конечном участке выхода на цель. Антенное устройство с бикардановым подвесом, выполненным в виде двух кардановых подвесов, состоящих из внешней и внутренней рамок, содержит приводы поворота внешней и внутренней рамок, расположенные на неподвижном основании, сверхвысокочастотный тракт, зеркало, закрепленное на внутренней рамке первого карданова подвеса, и подвижно и консольно установленный шток, на котором закреплена вилка, кинематически связанная с бугелем (дугой), концы которого закреплены на приводе внутренней рамки. При этом ось вращения внешней рамки второго карданова подвеса проходит параллельно плоскости основания, отличающееся тем, что внутренние и внешние рамки кардановых подвесов соединены соответственно двумя тягами, установленными симметрично оси вращения штока, закрепленного на валу внешней рамки второго карданова подвеса на внешней ее стороне и по оси симметрии внешней рамки, при этом ось привода бугеля (внутренней рамки) пересекает ось вращения внешней рамки второго карданова подвеса перпендикулярно плоскости основания, а вал вилки бугеля установлен подвижно в плоскости симметрии штока под углом к оси симметрии внешней рамки второго карданова подвеса, причем вилка выполнена с возможностью ее поворота относительно оси поперечного сечения бугеля, а на валу вилки установлена пружина кручения, один конец которой закреплен на штоке, а другой на вилке. Техническим результатом является повышение плотности компоновки антенного устройства симметрично строительной оси ракеты, улучшение балансировки и увеличение поля «зрения» подвижного зеркала антенны. 8 ил.

Формула изобретения

Антенное устройство с бикардановым подвесом, выполненным в виде двух кардановых подвесов, состоящих из внешней и внутренней рамок, содержащее приводы поворота внешней и внутренней рамок, расположенные на неподвижном основании, сверхвысокочастотный тракт, зеркало, закрепленное на внутренней рамке первого карданова подвеса, подвижно и консольно установленный шток, на котором закреплена вилка, кинематически связанная с бугелем (дугой), концы которого закреплены на приводе внутренней рамки, при этом ось вращения внешней рамки второго карданова подвеса проходит параллельно плоскости основания, отличающееся тем, что внутренние и внешние рамки кардановых подвесов соединены соответственно двумя тягами, установленными симметрично оси вращения штока, закрепленного на валу внешней рамки второго карданова подвеса на внешней ее стороне и по оси симметрии внешней рамки, при этом ось привода бугеля (внутренней рамки) пересекает ось вращения внешней рамки второго карданова подвеса перпендикулярно плоскости основания, а вал вилки бугеля установлен подвижно в плоскости симметрии штока под углом к оси симметрии внешней рамки второго карданова подвеса, причем вилка выполнена с возможностью ее поворота относительно оси поперечного сечения бугеля, а на валу вилки установлена пружина кручения, один конец которой закреплен на штоке, а другой на вилке.

Описание

[1]

Изобретение относится к системам самонаведения, в частности к антеннам с механическим сканированием зеркала антенны, и может быть использовано на подвижных объектах, например, в активных радиолокационных головках самонаведения.

[2]

Известно устройство «Электромеханический привод» (патент РФ на изобретение №2159485, МПК H01Q 3/00, F16H 25/22, опубл. 20.11.2000), в котором зеркало антенны закреплено на бугеле (дуге). Бугель выполнен в виде изогнутого по радиусу ходового винта, центр радиуса которого совпадает с центром вращения зеркала антенны. Винт перемещается по радиусу от гайки, которая получает вращение от электрического двигателя, например моментного. Такая схема имеет недостаток - поворот зеркала антенны может осуществляться только по одной оси вращения - по азимуту. Причем эта ось перпендикулярна строительной оси подвижных объектов, что затрудняет балансировку зеркала антенны и не позволяет обеспечить необходимую компоновку конструкции. Данное устройство может использоваться только в стационарных условиях.

[3]

Наиболее близким по технической сущности является выбранное за прототип устройство с бикардановым подвесом, схема механизма вращения которого показана на рис. 6.15 (С.С. Ривкин. Стабилизация измерительных устройств на качающемся основании. М. «Наука», 1978 г., стр. 197-198).

[4]

Указанное устройство представляет собой сочетание двух кардановых подвесов. Первый из них состоит из внешней рамки (кольца), внутренней рамки и стабилизируемой площадки (зеркало антенны). Механизм вращения состоит из двигателей, которые поворачивают рамки подвеса. Двигатель привода внешней рамки, установленный на неподвижном основании, поворачивает через зубчатый сектор внешнюю рамку и, таким образом, осуществляет поворот зеркала антенны по азимуту. Второй карданов подвес состоит из бугеля (дуги) и вилки. Здесь бугель играет роль внешней рамки второго подвеса, а вилка - роль его внутренней рамки. Двигатель привода внутренней рамки, установленный на том же неподвижном основании, поворачивает бугель. Плоскость, в которой расположен бугель, всегда перпендикулярна плоскости зеркала антенны, например плоской антенной решетки с волноводным трактом. Движение бугеля передается поводковой вилке, закрепленной на одном конце штока через подшипник. Другой конец штока жестко закреплен на внутренней рамке с зеркалом антенны, что заставляет его поворачиваться вокруг внутренней оси, обеспечивая поворот зеркала антенны по наклону.

[5]

Конструкция данного устройства не позволяет использовать его в активных радиолокационных головках самонаведения, обтекатель которых имеет конус с острым углом, например, 25 градусов относительно оси ракеты. Применение прототипа не может обеспечить необходимую компоновку. Бугель в этом случае будет пересекать строительную ось ракеты, что требует размещения привода бугеля и привода внешней рамки перпендикулярно строительной оси ракеты. Угол конуса обтекателя, в этом случае, должен быть значительно увеличен или заменен на сферическую форму, что увеличивает аэродинамическое сопротивление.

[6]

Кроме этого, используя приведенное в прототипе техническое решение, трудно обеспечить балансировку антенны и равножесткость механической системы двух кардановых подвесов, когда рамки испытывают большие нагрузки вследствие ускорений и вибраций, в результате чего может возникнуть возмущающий момент, который отрицательно действует на работу всего устройства.

[7]

Схема, использованная в прототипе, ограничивает поле «зрения» антенны из-за возникновения, при некоторых углах поворота зеркала, отражающего сигнала от внешней рамки, что также является недостатком устройства.

[8]

Техническим результатом настоящего изобретения является повышение плотности компоновки антенного устройства симметрично строительной оси ракеты, улучшение балансировки и увеличение поля «зрения» подвижного зеркала антенны.

[9]

Технический результат достигается тем, что антенное устройство с бикардановым подвесом, выполненным в виде двух кардановых подвесов, состоящих из внешней и внутренней рамок, содержит приводы поворота внешней и внутренней рамок, расположенные на неподвижном основании, сверхвысокочастотный тракт, зеркало, закрепленное на внутренней рамке первого карданова подвеса, подвижно и консольно установленный шток, на котором закреплена вилка, кинематически связанная с бугелем (дугой), концы которого закреплены на приводе внутренней рамки, а ось вращения внешней рамки второго карданова подвеса проходит параллельно плоскости основания. При этом внутренние и внешние рамки кардановых подвесов соединены соответственно двумя тягами, установленными симметрично оси вращения штока, закрепленного на валу внешней рамки второго карданова подвеса на внешней ее стороне и по оси симметрии внешней рамки, а ось привода бугеля (внутренней рамки) пересекает ось вращения внешней рамки второго карданова подвеса перпендикулярно плоскости основания. Вал вилки бугеля установлен подвижно в плоскости симметрии штока под углом к оси симметрии внешней рамки второго карданова подвеса, причем вилка выполнена с возможностью ее поворота относительно оси поперечного сечения бугеля, а на валу вилки установлена пружина кручения, один конец которой закреплен на штоке, а другой на вилке.

[10]

В прототипе ось вращения бугеля параллельна плоскости основания, а в предложенном техническом решении ось вращения (привода) бугеля пересекает ось вращения внешней рамки второго карданова подвеса перпендикулярно плоскости основания. В отличие от прототипа, бугель повернут на 90 градусов и ось вращения бугеля, т.е. ось вращения внутренней рамки второго карданова подвеса, совпадает со строительной осью ракеты. Все элементы антенного устройства (бугель, приводы, кинематические связи и т.д.) смещены к строительной оси ракеты и симметрично размещены вдоль нее. Такая конструкция обладает повышенной плотностью компоновки, что позволяет использовать ее в активных радиолокационных головках самонаведения, где обтекатель имеет конус с острым углом.

[11]

Так как все элементы устройства равномерно размещены вдоль строительной оси ракеты, центр масс всего антенного устройства конструктивно совпадает со строительной осью, что позволяет снизить момент инерции и улучшает балансировку антенны. В предлагаемом устройстве еще при проектировании производится балансировка как зеркала антенны, так и всей конструкции устройства относительно строительной оси ракеты.

[12]

Все оси бикарданова подвеса находятся за зеркалом антенны, что исключает появление ложного сигнала при некоторых углах поворота зеркала и увеличивает поле «зрения» антенны.

[13]

Предложенная конструкция вилки обеспечивает работоспособность антенного устройства. Вилка не только обкатывает бугель с помощью роликов, но и вращается вокруг своей оси и относительно поперечного сечения бугеля, поворачивает шток и через тяги изменяет положение зеркала антенны по азимуту. Вал вилки установлен под углом к оси симметрии внешней рамки второго карданова подвеса, что создает момент вращения для поворота штока относительно этой оси.

[14]

Сущность предлагаемого технического решения поясняется графическими материалами и чертежами:

[15]

Фиг. 1 - сечение антенного устройства с бикардановым подвесом по оси азимута и по оси привода азимута (ось вращения бугеля);

[16]

Фиг. 2 - сечение Α-A антенного устройства с бикардановым подвесом в плане по оси вала вилки;

[17]

Фиг.3 - сечение в плоскости по оси вала вилки и осям роликов антенного устройства с бикардановым подвесом в масштабе 1:1 (выносной элемент Б);

[18]

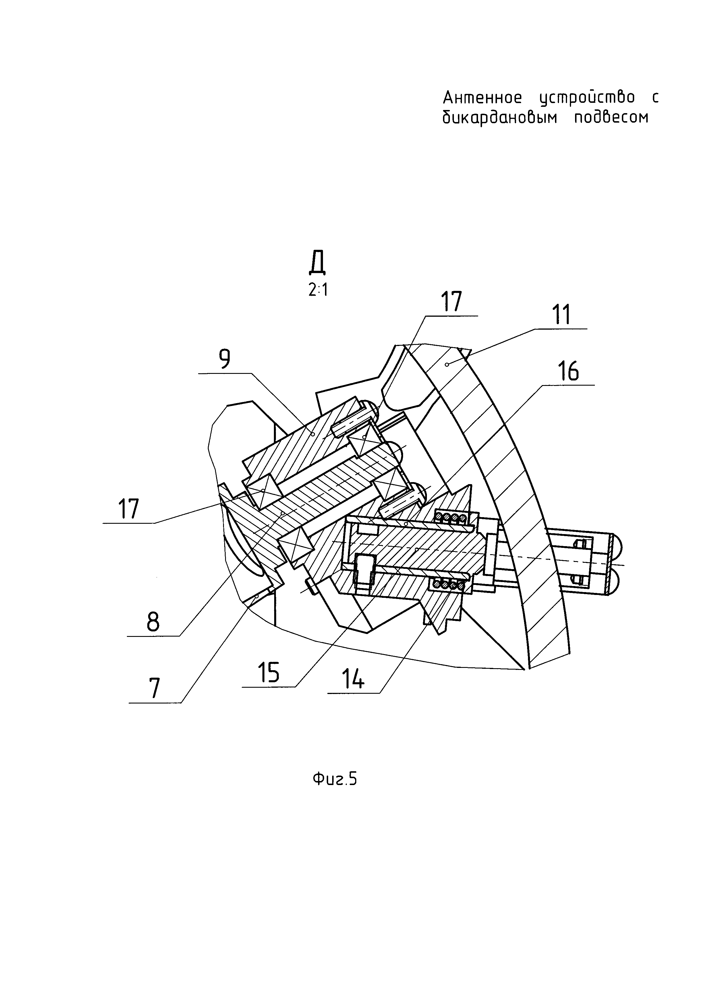
Фиг. 4 - антенное устройство с бикардановым подвесом (В - вид сзади);

[19]

Фиг. 5 - сечение в плоскости симметрии штока по оси вала вилки в масштабе 2:1 (выносной элемент Д);

[20]

Фиг. 6 - график нелинейной зависимости положения зеркала антенны по азимуту от углового положения бугеля;

[21]

Фиг. 7 - график изменения положения плоскости симметрии вилки при изменении угла наклона зеркала антенны (угла места);

[22]

Фиг. 8 - общий вид 3D-модели антенного устройства с бикардановым подвесом.

[23]

Антенное устройство с бикардановым подвесом (фиг. 1, фиг. 2, фиг. 3, фиг. 4, фиг. 5), выполненным в виде двух кардановых подвесов, состоящих из внешней и внутренней рамок, содержит неподвижное основание 1, на стойке 2 которого с помощью первого карданова подвеса 3 установлено подвижное зеркало 4 (например, антенная решетка с сверхвысокочастотным трактом), закрепленное на внутренней рамке (ось азимута I-I) первого карданова подвеса 3. На основании 1 антенного устройства расположены привод 5 поворота внешней рамки (привод наклона) и привод 6 поворота внутренней рамки (привод азимута) второго карданова подвеса. На валу 8 внешней рамки (скоба) 7 второго карданова подвеса, на внешней ее стороне и по оси симметрии внешней рамки 7, подвижно и консольно установлен шток 9, на котором закреплена вилка 10, кинематически связанная с бугелем (дугой) 11, концы которого закреплены на приводе 6 внутренней рамки второго карданова подвеса. Бугель 11 выполняет роль внутренней рамки второго карданова подвеса (ось азимута). При этом внутренние и внешние рамки кардановых подвесов соединены соответственно двумя тягами 12, установленными симметрично оси вращения штока 9 и передающими движение по азимуту и углу наклона (углу места) от штока 9 на зеркало 4.

[24]

Ось вращения внешней рамки 7 второго карданова подвеса проходит параллельно плоскости основания 1 антенного устройства, при этом ось привода 6 внутренней рамки второго карданова подвеса (ось вращения бугеля 11) пересекает ось вращения внешней рамки 7 второго карданова подвеса перпендикулярно плоскости основания, т.е. вал привода 6 внутренней рамки второго карданова подвеса находится под углом 90 градусов к оси вращения внешней рамки 7 второго карданова подвеса.

[25]

Вилка 10 с роликами 13 и пружиной кручения 14 подвижно закреплена на штоке 9 через вал 15 вилки 10 с помощью подшипника скольжения 16. Шток 9 с помощью подшипников 17 закреплен подвижно на валу 8 оси симметрии внешней рамки 7 второго карданова подвеса, при этом вал 15 вилки 10 бугеля 11 установлен подвижно в плоскости симметрии штока 9 под углом к оси симметрии внешней рамки 7 второго карданова подвеса. Например, при угле 45 градусов создается наиболее оптимальный момент вращения для поворота штока 9. Бугель 11 (его поперечное сечение) располагается между роликами 13 вилки 10. Ролики 13 обкатывают бугель 11 с возможностью поворота вилки 10 вокруг своей оси и относительно поперечного сечения бугеля 11. Пружина кручения 14, один конец которой закреплен на штоке 9, а другой на вилке 10, убирает люфт и создает постоянное прилегание роликов 13 вилки 10 к бугелю 11, обеспечивая вращение вилки 10 и точность работы устройства.

[26]

Устройство работает следующим образом.

[27]

Поворот зеркала 4 антенного устройства вокруг оси наклона (по углу места) осуществляется приводом поворота 5, на оси которого закреплена внешняя рамка 7 второго карданова подвеса. Происходит перемещение штока 9, установленного подвижно на валу 8 оси симметрии внешней рамки 7, и движение по наклону передается через тяги 12 к внешней рамке первого карданова подвеса 3, поворачивая зеркало 4 антенны по углу места. При этом вилка 10 перемещается по бугелю 11, обкатывая его, а бугель 11 не оказывает давления на ролики 13 вилки 10 и шток 9 не вращается относительно вала 8 оси симметрии внешней рамки 7 второго карданова подвеса.

[28]

Вращение зеркала 4 антенного устройства по азимуту производится от привода 6, который поворачивает бугель 11 - внутреннюю рамку второго карданова подвеса. Бугель 11 передает усилие привода 6 на вилку 10 с роликами 13. Поскольку вилка 10 установлена под углом к оси симметрии внешней рамки 7, то усилие от вилки 10 создает момент вращения относительно вала 8 оси симметрии внешней рамки 7, в результате чего шток 9, с закрепленными подвижно тягами 12, поворачивается вокруг вала 8. Тяги 12 передают вращение зеркалу 4 антенны по оси азимута через внутреннюю рамку первого карданова подвеса 3.

[29]

При работе антенного устройства с бикардановым подвесом вращение рамок первого карданова подвеса осуществляется за счет поворота рамок второго карданова подвеса.

[30]

Для создания алгоритма управления устройства проводились предварительные измерения. На фиг. 6 представлен график зависимости положения зеркала антенны по азимуту от углового положения бугеля. Данная функция является нелинейной, что необходимо учитывать при разработке системы управления приводами. Нелинейная зависимость объясняется как вращением вилки вокруг своей оси, так и ее вращением вокруг поперечного сечения бугеля. На фиг. 7 представлен график изменения положения плоскости симметрии вилки при изменении угла наклона зеркала антенны для нескольких значений положения антенны по азимуту (положения 1, 2, 3 и 4). График показывает подвижность вилки, которая не мешает изменению положения зеркала, и движение происходит без заклинивания. Измерения проводились в 3-D модели. Общий вид 3D-модели заявленного антенного устройства с бикардановым подвесом представлен на фиг. 8.

[31]

Вследствие принятия конструктивных решений при формировании кинематической схемы привода связь положения зеркала (платформы) с углами отклонения осей двигателей и совмещенных с ними датчиков углов оказывается нелинейной. Эта зависимость устанавливается по 3-D модели компьютерного проектирования или экспериментальным путем. Компенсация выявленных зависимостей достигается алгоритмическим путем в блоке управления приводами как при выработке сигналов положения платформы относительно основания, так и при формировании управляющих сигналов, подаваемых на двигатели приводов в системе гироскопической стабилизации платформы.

[32]

Источники информации

[33]

1. Патент РФ на изобретение №2159485, МПК H01Q 3/00, F16H 25/22, опубл. 20.11.2000.

[34]

2. С.С. Ривкин. Стабилизация измерительных устройств на качающемся основании. М. «Наука», 1978 г., стр. 197-198.

Как компенсировать расходы
на инновационную разработку
Похожие патенты