патент
№ RU 2674060
МПК F24D3/08

Тепловой пункт системы отопления и горячего водоснабжения

Авторы:
Львова Алина Михайловна
Номер заявки
2018109122
Дата подачи заявки
14.03.2018
Опубликовано
04.12.2018
Страна
RU
Как управлять
интеллектуальной собственностью
Чертежи 
2
Реферат

Изобретение относится к системам центрального теплоснабжения и направлено на повышение энергетической эффективности теплового пункта и расширение его функциональных возможностей. Тепловой пункт системы отопления и горячего водоснабжения содержит подающий и обратный трубопроводы тепловой сети. При этом к подающему трубопроводу тепловой сети параллельно подключены подающий трубопровод системы ГВС, подающий трубопровод электрогенерирующего модуля (ЭЛГМ), подающий трубопровод теплоснабжения вентиляционных установок (ТВУ) и подающий трубопровод системы отопления (СО). К обратному трубопроводу тепловой сети параллельно подключены обратный трубопровод системы ГВС, обратный трубопровод ЭЛГМ, обратный трубопровод ТВУ и обратный трубопровод СО. К подающему трубопроводу системы ГВС подключен первый вход теплообменника второй ступени подогрева ГВС, первый выход которого соединен с обратным трубопроводом системы ГВС, второй выход подключен к трубопроводу нагретого теплоносителя системы ГВС, а второй вход соединен с трубопроводом циркуляционной линии системы ГВС. К подающему трубопроводу ЭЛГМ подсоединен первый вход теплообменника перегревателя контура цикла Ренкина, первый выход которого подключен к обратному трубопроводу ЭЛГМ, второй выход соединен трубопроводом рабочего вещества в состоянии перегретого пара цикла Ренкина со входом турбогенератора цикла Ренкина, выход которого соединен трубопроводом отработанного рабочего вещества цикла Ренкина с первым входом теплообменника рекуператора цикла Ренкина, первый выход которого соединен трубопроводом подогретого конденсата рабочего вещества цикла Ренкина со вторым входом теплообменника перегревателя контура цикла Ренкина. Второй выход теплообменника рекуператора цикла Ренкина соединен трубопроводом промежуточно охлажденного рабочего вещества цикла Ренкина с первым входом теплообменника конденсатора цикла Ренкина, первый выход которого соединен трубопроводом конденсата рабочего вещества цикла Ренкина со вторым входом теплообменника рекуператора цикла Ренкина. При этом на трубопроводе конденсата рабочего вещества цикла Ренкина установлен циркуляционный насос. Ко второму входу теплообменника конденсатора цикла Ренкина подключен трубопровод холодного водоснабжения (ХВС). Второй выход теплообменника конденсатора цикла Ренкина соединен трубопроводом подогретого теплоносителя системы ГВС с трубопроводом циркуляционной линии системы ГВС. К управляющим входам турбогенератора цикла Ренкина и циркуляционного насоса подключены соответственно первый и второй выходы блока управления автоматизированной системы управления теплового пункта (БУ). 2 ил.

Формула изобретения

Тепловой пункт системы отопления и горячего водоснабжения, содержащий подающий и обратный трубопроводы тепловой сети, параллельно подключенные к подающему трубопроводу тепловой сети подающий трубопровод системы горячего водоснабжения (ГВС), подающий трубопровод теплоснабжения вентиляционных установок (ТВУ) и подающий трубопровод системы отопления (СО), а также параллельно подключенные к обратному трубопроводу тепловой сети обратный трубопровод системы ГВС, обратный трубопровод ТВУ и обратный трубопровод СО, теплообменник второй ступени подогрева ГВС, трубопровод нагретого теплоносителя системы ГВС, трубопровод циркуляционной линии системы ГВС, трубопровод холодного водоснабжения (ХВС) и блок управления автоматизированной системы управления теплового пункта, при этом первый вход теплообменника второй ступени подогрева ГВС подключен к подающему трубопроводу системы ГВС, первый выход соединен с обратным трубопроводом системы ГВС, второй выход подключен к трубопроводу нагретого теплоносителя системы ГВС, а второй вход соединен с трубопроводом циркуляционной линии системы ГВС, отличающийся тем, что он снабжен электрогенерирующим модулем (ЭЛГМ), подающим и обратным трубопроводами ЭЛГМ, при этом подающий трубопровод ЭЛГМ подключен параллельно к подающему трубопроводу тепловой сети, обратный трубопровод ЭЛГМ подключен параллельно к обратному трубопроводу тепловой сети, электрогенерирующий модуль представляет собой цикл Ренкина, выполненный в виде теплообменника перегревателя контура цикла Ренкина, первый вход которого подсоединен к подающему трубопроводу ЭЛГМ, а первый выход подключен к обратному трубопроводу ЭЛГМ, второй выход соединен трубопроводом рабочего вещества в состоянии перегретого пара цикла Ренкина со входом турбогенератора цикла Ренкина, выход которого соединен трубопроводом отработанного рабочего вещества цикла Ренкина с первым входом теплообменника рекуператора цикла Ренкина, первый выход которого соединен трубопроводом подогретого конденсата рабочего вещества цикла Ренкина со вторым входом теплообменника перегревателя контура цикла Ренкина, второй выход теплообменника рекуператора цикла Ренкина соединен трубопроводом промежуточно охлажденного рабочего вещества цикла Ренкина с первым входом теплообменника конденсатора цикла Ренкина, первый выход которого соединен трубопроводом конденсата рабочего вещества цикла Ренкина со вторым входом теплообменника рекуператора цикла Ренкина, при этом на трубопроводе конденсата рабочего вещества цикла Ренкина установлен циркуляционный насос, второй выход теплообменника конденсатора цикла Ренкина соединен трубопроводом подогретого теплоносителя системы ГВС с трубопроводом циркуляционной линии системы ГВС, ко второму входу теплообменника конденсатора цикла Ренкина подключен трубопровод холодного водоснабжения (ХВС), при этом первый выход блока управления автоматизированной системы управления теплового пункта подключен к управляющему входу турбогенератора цикла Ренкина, а второй его выход подключен к управляющему входу циркуляционного насоса.

Описание

[1]

Изобретение относится к системам центрального теплоснабжения, в частности, к установкам электрогенерации на низкокипящем рабочем веществе при утилизации низкопотенциальных энергоресурсов (теплоты воды, водяного пара, дымовых или выхлопных газов) и предназначено для совместного производства электрической и тепловой энергии.

[2]

Известна тепловая электрическая станция, описанная в изобретении «Способ работы тепловой электрической станции» (патент РФ №2575252, публ. 20.02.2016, МПК F01K 17/02), содержащая последовательно соединенные паровую турбину, конденсатор паровой турбины и конденсатный насос конденсатора паровой турбины. В тепловую электрическую станцию введена система маслоснабжения подшипников паровой турбины и тепловой двигатель с замкнутым контуром циркуляции, работающий по органическому циклу Ренкина. Замкнутый контур циркуляции теплового двигателя выполнен в виде контура с низкокипящим рабочим телом, содержащим турбодетандер с электрогенератором, теплообменник-рекуператор, теплообменник-конденсатор, конденсатный насос, причем выход конденсатного насоса соединен по нагреваемой среде с входом теплообменника-рекуператора, который соединен по нагреваемой среде с входом конденсатора паровой турбины, выход которого соединен по нагреваемой среде с входом маслоохладителя, выход маслоохладителя соединен по нагреваемой среде с входом турбодетандера, выход которого соединен по греющей среде с теплообменником-рекуператором, выход теплообменника-рекуператора соединен по греющей среде с теплообменником-конденсатором, выход которого соединен по нагреваемой среде с входом конденсатного насоса, образуя замкнутый контур охлаждения.

[3]

Недостатками данного технического решения являются низкая энергетическая эффективность ТЭС в целом, а также применение в качестве рабочего вещества пожаро- и взрывоопасных углеводородов (в частности, пропана), которые ограничены по применению и уровнем термической стойкости (до 270°С).

[4]

Наиболее близким по технической сущности к предлагаемому изобретению является тепловой пункт системы отопления и горячего водоснабжения (патент РФ №2484382, публ. 10.06.2013, МПК F24D 3/08), содержащий подающий и обратный трубопроводы тепловой сети, прямой и обратный трубопроводы системы отопления, трубопровод холодной воды и трубопровод горячей воды, теплообменник-водонагреватель системы горячего водоснабжения, установленный на обратном трубопроводе системы отопления, трубопровод с регулятором расхода - двухходовым клапаном и датчиком температуры, а соотношение диаметров трубопровода, соединяющего прямой трубопровод отопления и первый вход двухходового регулирующего клапана, и обратного трубопровода системы отопления перед теплообменником-водонагревателем находится в пределах 0,3 D8/D4 1,3, где D8 - диаметр трубопровода, соединяющего прямой трубопровод отопления и первый вход двухходового регулирующего клапана, D4 - диаметр обратного трубопровода системы отопления перед теплообменником-водонагревателем. В тепловом пункте системы отопления и горячего водоснабжения в качестве теплообменника-водонагревателя использован теплообменник пластинчатого типа.

[5]

Недостатком данного технического решения является низкая энергетическая эффективность технического решения в целом.

[6]

Технической задачей предлагаемого изобретения является обеспечение возможности производства электрической энергии на тепловом пункте для обеспечения электроэнергией собственных нужд и дополнительной тепловой энергии для частичного покрытия нужд потребителя системы горячего водоснабжения (ГВС).

[7]

Технический результат заключается в повышении энергетической эффективности теплового пункта и расширении его функциональных возможностей.

[8]

Это достигается тем, что известный тепловой пункт системы отопления и горячего водоснабжения, содержащий подающий и обратный трубопроводы тепловой сети, параллельно подключенные к подающему трубопроводу тепловой сети подающий трубопровод системы горячего водоснабжения (ГВС), подающий трубопровод теплоснабжения вентиляционных установок (ТВУ) и подающий трубопровод системы отопления (СО), а также параллельно подключенные к обратному трубопроводу тепловой сети обратный трубопровод системы ГВС, обратный трубопровод ТВУ и обратный трубопровод СО, теплообменник второй ступени подогрева ГВС, трубопровод нагретого теплоносителя системы ГВС, трубопровод циркуляционной линии системы ГВС, трубопровод холодного водоснабжения (ХВС) и блок управления автоматизированной системы управления теплового пункта, при этом первый вход теплообменника второй ступени подогрева ГВС подключен к подающему трубопроводу системы ГВС, первый выход соединен с обратным трубопроводом системы ГВС, второй выход подключен к трубопроводу нагретого теплоносителя системы ГВС, а второй вход соединен с трубопроводом циркуляционной линии системы ГВС, снабжен электрогенерирующим модулем (ЭЛГМ), подающим и обратным трубопроводами ЭЛГМ, при этом подающий трубопровод ЭЛГМ подключен параллельно к подающему трубопроводу тепловой сети, обратный трубопровод ЭЛГМ подключен параллельно к обратному трубопроводу тепловой сети, электрогенерирующий модуль представляет собой цикл Ренкина, выполненный в виде теплообменника перегревателя контура цикла Ренкина, первый вход которого подсоединен к подающему трубопроводу ЭЛГМ, а первый выход подключен к обратному трубопроводу ЭЛГМ, второй выход соединен трубопроводом рабочего вещества в состоянии перегретого пара цикла Ренкина со входом турбогенератора цикла Ренкина, выход которого соединен трубопроводом отработанного рабочего вещества цикла Ренкина с первым входом теплообменника рекуператора цикла Ренкина, первый выход которого соединен трубопроводом подогретого конденсата рабочего вещества цикла Ренкина со вторым входом теплообменника перегревателя контура цикла Ренкина, второй выход теплообменника рекуператора цикла Ренкина соединен трубопроводом промежуточно охлажденного рабочего вещества цикла Ренкина с первым входом теплообменника конденсатора цикла Ренкина, первый выход которого соединен трубопроводом конденсата рабочего вещества цикла Ренкина со вторым входом теплообменника рекуператора цикла Ренкина, при этом на трубопроводе конденсата рабочего вещества цикла Ренкина установлен циркуляционный насос, второй выход теплообменника конденсатора цикла Ренкина соединен трубопроводом подогретого теплоносителя системы ГВС с трубопроводом циркуляционной линии системы ГВС, ко второму входу теплообменника конденсатора цикла Ренкина подключен трубопровод холодного водоснабжения (ХВС), при этом первый выход блока управления автоматизированной системы управления теплового пункта подключен к управляющему входу турбогенератора цикла Ренкина, а второй его выход подключен к управляющему входу циркуляционного насоса.

[9]

Сущность технического решения поясняется чертежами, где на фиг. 1 представлен тепловой пункт системы отопления и горячего водоснабжения, на фиг. 2 изображена зависимость внутреннего КПД цикла Ренкина от давления на входе в турбогенератор цикла Ренкина.

[10]

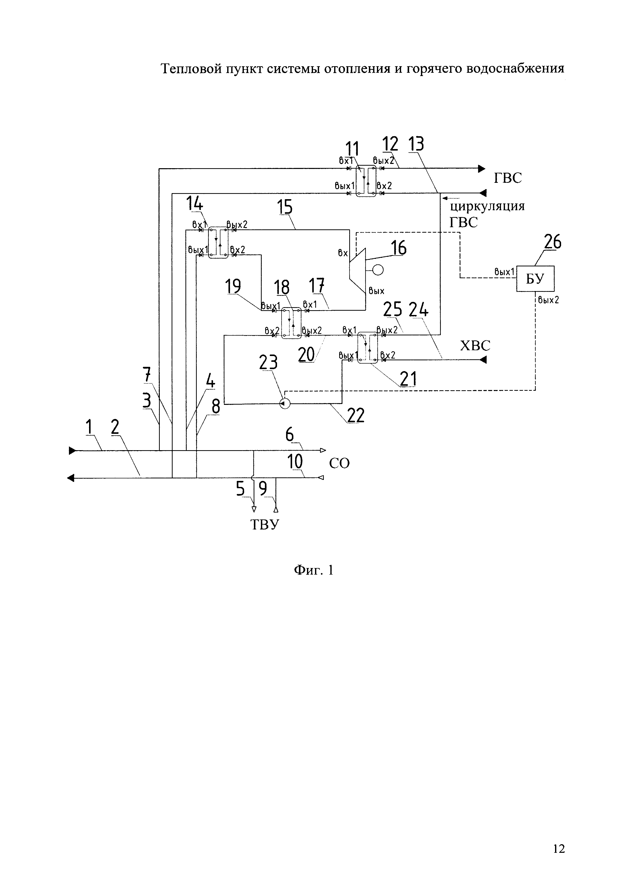
Тепловой пункт системы отопления и горячего водоснабжения содержит подающий 1 и обратный 2 трубопроводы тепловой сети. При этом к подающему трубопроводу тепловой сети 1 параллельно подключены подающий трубопровод системы ГВС 3, подающий трубопровод электрогенерирующего модуля (ЭЛГМ) 4, подающий трубопровод теплоснабжения вентиляционных установок (ТВУ) 5 и подающий трубопровод системы отопления (СО) 6. К обратному трубопроводу тепловой сети 2 параллельно подключены обратный трубопровод системы ГВС 7, обратный трубопровод ЭЛГМ 8, обратный трубопровод ТВУ 9 и обратный трубопровод СО 10.

[11]

К подающему трубопроводу системы ГВС 3 подключен первый вход теплообменника второй ступени подогрева ГВС 11, первый выход которого соединен с обратным трубопроводом системы ГВС 7, второй выход подключен к трубопроводу нагретого теплоносителя системы ГВС 12, а второй вход соединен с трубопроводом циркуляционной линии системы ГВС 13. К подающему трубопроводу ЭЛГМ 4 подсоединен первый вход теплообменника перегревателя контура цикла Ренкина 14, первый выход которого подключен к обратному трубопроводу ЭЛГМ 8, второй выход соединен трубопроводом рабочего вещества в состоянии перегретого пара цикла Ренкина 15 со входом турбогенератора цикла Ренкина 16, выход которого соединен трубопроводом отработанного рабочего вещества цикла Ренкина 17 с первым входом теплообменника рекуператора цикла Ренкина 18, первый выход которого соединен трубопроводом подогретого конденсата рабочего вещества цикла Ренкина 19 со вторым входом теплообменника перегревателя контура цикла Ренкина 14.

[12]

Второй выход теплообменника рекуператора цикла Ренкина 18 соединен трубопроводом промежуточно охлажденного рабочего вещества цикла Ренкина 20 с первым входом теплообменника конденсатора цикла Ренкина 21, первый выход которого соединен трубопроводом конденсата рабочего вещества цикла Ренкина 22 со вторым входом теплообменника рекуператора цикла Ренкина 18. При этом на трубопроводе конденсата рабочего вещества цикла Ренкина 22 установлен циркуляционный насос 23. Ко второму входу теплообменника конденсатора цикла Ренкина 21 подключен трубопровод холодного водоснабжения (ХВС) 24. Второй выход теплообменника конденсатора цикла Ренкина 21 соединен трубопроводом подогретого теплоносителя системы ГВС 25 с трубопроводом циркуляционной линии системы ГВС 13. К управляющим входам турбогенератора цикла Ренкина 16 и циркуляционноого насоса 23 подключены, соответственно, первый и второй выходы блока управления автоматизированной системы управления теплового пункта (БУ) 26.

[13]

Таким образом, электрогенерирующий модуль представляет собой цикл Ренкина и образован теплообменником перегревателя контура цикла Ренкина 14, трубопроводом рабочего вещества в состоянии перегретого пара цикла Ренкина 15, турбогенератором цикла Ренкина 16, трубопроводом отработанного рабочего вещества цикла Ренкина 17, теплообменником рекуператора цикла Ренкина 18, трубопроводом подогретого конденсата рабочего вещества цикла Ренкина 19, трубопроводом промежуточно охлажденного рабочего вещества цикла Ренкина 20, теплообменником конденсатора цикла Ренкина 21, трубопроводом конденсата рабочего вещества цикла Ренкина 22, циркуляционным насосом 23 и трубопроводом подогретого теплоносителя системы ГВС 25.

[14]

Тепловой пункт системы отопления и горячего водоснабжения работает следующим образом.

[15]

По подающему 1 и обратному 2 трубопроводам тепловой сети циркулирует теплосетевая вода, которая поступает в систему горячего водоснабжения по подающему 3 и обратному 7 трубопроводам системы ГВС, отдавая теплоту через теплообменник второй ступени подогрева ГВС 11. Далее нагреваемый теплоноситель по трубопроводу нагретого теплоносителя системы ГВС 12 поступает к потребителю системы горячего водоснабжения, а затем часть расхода нагреваемого теплоносителя системы горячего водоснабжения поступает по трубопроводу циркуляционной линии системы ГВС 13 обратно в теплообменник второй ступени подогрева ГВС 11.

[16]

Теплосетевая вода является также греющим теплоносителем для систем теплоснабжения вентиляционных установок и отопления, поступая в них по подающим трубопроводам ТВУ 5 и СО 6 и по обратным трубопроводам ТВУ 9 и СО 10.

[17]

Одновременно с этим теплосетевая вода по подающему 4 и обратному 8 трубопроводам ЭЛГМ поступает в электрогенерирующий модуль, где отдает теплоту через теплообменник перегреватель цикла Ренкина 14 рабочему веществу цикла Ренкина (в качестве которого используется неводное фторуглеродное вещество), которое затем перегревается в теплообменнике перегревателе цикла Ренкина 14 до требуемых параметров, далее по трубопроводу рабочего вещества в состоянии перегретого пара цикла Ренкина 15 поступает в турбогенератор цикла Ренкина 16, где срабатывает свой потенциал, далее по трубопроводу отработанного рабочего вещества цикла Ренкина 17 поступает в теплообменник рекуператор 18, где отдает свою теплоту конденсату органического рабочего вещества, а далее уже с более низкими параметрами, близкими к параметрам насыщения, поступает по трубопроводу промежуточно охлажденного рабочего вещества цикла Ренкина 20 в теплообменник конденсатор цикла Ренкина 21, где конденсируется и затем по трубопроводу конденсата рабочего вещества цикла Ренкина 22 с помощью циркуляционного насоса 23 под требуемым напором подается в теплообменник перегреватель цикла Ренкина 14, пройдя теплообменник рекуператор 18 для дополнительного подогрева. Теплообменник конденсатор цикла Ренкина 21 является теплообменником первой ступени подогрева системы ГВС, в котором происходит нагрев воды, поступающей из системы холодного водоснабжения (ХВС) по трубопроводу ХВС 24, которая затем по трубопроводу подогретого теплоносителя системы ГВС 25 поступает в теплообменник второй ступени подогрева ГВС 11, смешиваясь с частью расхода трубопровода циркуляционной линии системы ГВС 13. Блок управления автоматизированной системы управления теплового пункта 26 осуществляет ПИД-регулирование (пропорциональ-интегрально-дифференциальное) параметров (температуры и давления рабочего вещества) перед входом турбогенератора цикла Ренкина 16 и циркуляционного насоса 23 для достижения максимального КПД ЭЛГМ.

[18]

Изобретение применимо для центральных тепловых пунктов, где подразумевается одноступенчатая схема подогрева системы ГВС, в тех схемах, где соотношение нагрузок системы ГВС и отопления ≥ 1, либо ≤ 0,2. В первом случае это могут быть потребители, использующие, например, бассейн, в таком случае нагрузка на систему ГВС может превышать нагрузку на систему отопления. Во втором случае потребителями могут быть промышленные предприятия, заводы, фермы, где велика нагрузка на технологию, системы вентиляции. Этот вариант выглядит более привлекательным для применения предлагаемого изобретения, так как у таких потребителей высока вероятность потребности в электрической энергии, что также покрывается полностью, либо частично предлагаемым изобретением.

[19]

Система ГВС организована по закрытой схеме двухступенчатого последовательного подогрева, где в качестве первой ступени подогрева выступает теплообменник-конденсатор цикла Ренкина 21 на органическом рабочем веществе. Внедрение в схему ЭЛГМ позволяет осуществить производство электрической энергии эффективностью выработки (внутренний КПД ЭЛГМ, работающего по циклу Ренкина с регенерацией) до 22% для собственных нужд теплового пункта, как это показано на фиг. 2.

[20]

Отвод теплоты конденсации рабочего вещества на нагрев воды системы ГВС, обеспечивает покрытие части нагрузки на систему ГВС (расчетным путем установлено, что это составляет 33% от требуемой тепловой энергии на систему ГВС в расчетном режиме), что приводит к наиболее полному использованию теплового потенциала сетевой воды и, как следствие, снижению себестоимости выработанного кВт-часа. Таким образом, обеспечивается не только экономия первичного топлива, но и предотвращение последствия аварийных ситуаций, когда при отключении электроснабжения в период максимальной нагрузки теплоснабжения в связи с резким понижением температуры наружного воздуха возможна заморозка трубопроводов и батарей систем теплоснабжения жилых и административных зданий.

[21]

Использование изобретения позволяет повысить энергетическую эффективность теплового пункта и расширить его функциональные возможности за счет обеспечения комбинированного производства электрической энергии и дополнительной тепловой энергии.

Как компенсировать расходы
на инновационную разработку
Похожие патенты