патент
№ RU 2680028
МПК F04B23/00
Номер заявки
2018118830
Дата подачи заявки
22.05.2018
Опубликовано
14.02.2019
Страна
RU
Как управлять
интеллектуальной собственностью
Чертежи 
1
Реферат

Изобретение относится к области компрессорных машин и может быть использовано при добыче нефти и газа. Установка содержит рабочие камеры высокого и низкого давления, выполненные в виде частично заполненных жидкостью подземных вертикальных емкостей с устьевыми головками. Всасывающий и нагнетательный газовые клапаны установлены соответственно на газопроводах низкого и высокого давления, подсоединенных к полостям устьевых головок рабочих камер высокого и низкого давления. Погружной насос размещен в рабочей камере низкого давления. Содержит эжектор, сопло которого подсоединено к выходу погружного насоса. Вход камеры смешения через всасывающий газовый клапан сообщен с газопроводом низкого давления. Выход камеры смешения гидравлически связан с рабочей камерой высокого давления. Рабочие камеры низкого и высокого давления сообщены между собой посредством регулируемых распределительных устройств, установленных соответственно на линии, сообщающей указанные камеры непосредственно, и на линии, соединяющей выход погружного насоса с рабочей камерой высокого давления. Повышается энергоэффективность за счет снижения колебаний мощности насоса и, соответственно, приводного двигателя за счет реализации эжекторного процесса. Также снижаются габариты компрессорной установки. 1 ил.

Формула изобретения

Компрессорная установка, характеризующаяся тем, что она содержит рабочие камеры высокого и низкого давления, выполненные в виде частично заполненных жидкостью подземных вертикальных емкостей с устьевыми головками, всасывающий и нагнетательный газовые клапаны, установленные соответственно на газопроводах низкого и высокого давления, подсоединенных к полостям устьевых головок рабочих камер высокого и низкого давления, погружной жидкостной насос, размещенный в рабочей камере низкого давления, и эжектор, сопло которого подсоединено к выходу погружного жидкостного насоса, вход камеры смешения через всасывающий газовый клапан сообщается с газопроводом низкого давления, а выход камеры смешения гидравлически связан с рабочей камерой высокого давления, при этом рабочие камеры низкого и высокого давления сообщаются между собой посредством регулируемых распределительных устройств, установленных соответственно на линии, сообщающей указанные камеры непосредственно, и на линии, соединяющей выход погружного жидкостного насоса с рабочей камерой высокого давления.

Описание

[1]

Изобретение относится к области компрессорных машин, и может быть использовано при добыче нефти и газа на месторождениях углеводородов на суше или на море, в том числе для реализации газлифтного метода эксплуатации скважин или для технологий закачки различных газов в пласт при внедрении методов увеличения нефтеотдачи.

[2]

Известна компрессорная установка, содержащая две рабочие камеры, сообщающиеся с жидкостным насосом, перепускное распределительное устройство и нагнетательное распределительное устройство, всасывающие газовые клапаны и нагнетательные газовые клапаны, которые отделяют полости рабочих камер от газопровода низкого давления и газопровода высокого давления (SU 1707231 A1, 23.01.1992 г.).

[3]

Недостатком известного устройства является низкая эффективность рабочего процесса при сжатии газа, поскольку при перепуске газа через жидкостной насос мощность двигателя значительно снижается, провоцируя неравномерность нагрузки на двигатель.

[4]

Из известных устройств наиболее близкой к предлагаемому по технической сущности и достигаемому результату является компрессорная установка, содержащая рабочую камеру, сообщающуюся с жидкостным насосом, эжектор, перепускное распределительное устройство, всасывающий газовый клапан, который отделяет полость рабочей камеры и газопровода высокого давления от газопровода низкого давления (RU 2154749C2, 20.08. 2000 г.).

[5]

Недостатком указанного устройства является низкая эффективность рабочего процесса при сжатии газа, поскольку при заполнении газом рабочей камеры мощность жидкостного насоса и приводного двигателя значительно ниже, чем при вытеснении газа в газопровод высокого давления, что сопровождается неравномерной загрузкой двигателя. Указанное обстоятельство негативно отражается на эффективности самого рабочего процесса при сжатии и перекачке газа. Кроме того, из-за неравномерной загрузки установленная мощность двигателя к насосу должна быть увеличена, что сопряжено с соответствующим увеличением габаритов жидкостного насоса, двигателя и рабочих камер.

[6]

Технической проблемой, на решение которой направлено предлагаемое изобретение, является повышение энергоэффективности и снижение габаритов компрессорной установки.

[7]

Указанная проблема решается тем, что компрессорная установка, содержит рабочие камеры высокого и низкого давления, выполненные в виде частично заполненных жидкостью подземных вертикальных емкостей с устьевыми головками, всасывающий и нагнетательный газовые клапаны, установленные, соответственно, на газопроводах низкого и высокого давления, подсоединенных к полостям устьевых головок рабочих камер высокого и низкого давления, погружной жидкостной насос, размещенный в рабочей камере низкого давления, и эжектор, сопло которого подсоединено к выходу погружного жидкостного насоса, вход камеры смешения через всасывающий газовый клапан сообщается с газопроводом низкого давления, а выход камеры смешения гидравлически связан с рабочей камерой высокого давления, при этом рабочие камеры низкого и высокого давления сообщаются между собой посредством регулируемых распределительных устройств, установленных, соответственно, на линии, сообщающей указанные камеры непосредственно, и на линии, соединяющей выход погружного жидкостного насоса с рабочей камерой высокого давления.

[8]

Достигаемый технический результат заключается в снижении колебаний мощности жидкостного насоса, и, соответственно, приводного двигателя за счет реализации эжекторного процесса для предварительного сжатия газа при заполнении рабочей камеры газом с одновременным снижением гидравлического сопротивления.

[9]

Сущность изобретения поясняется чертежом, на котором представлена схема заявляемой компрессорной установки.

[10]

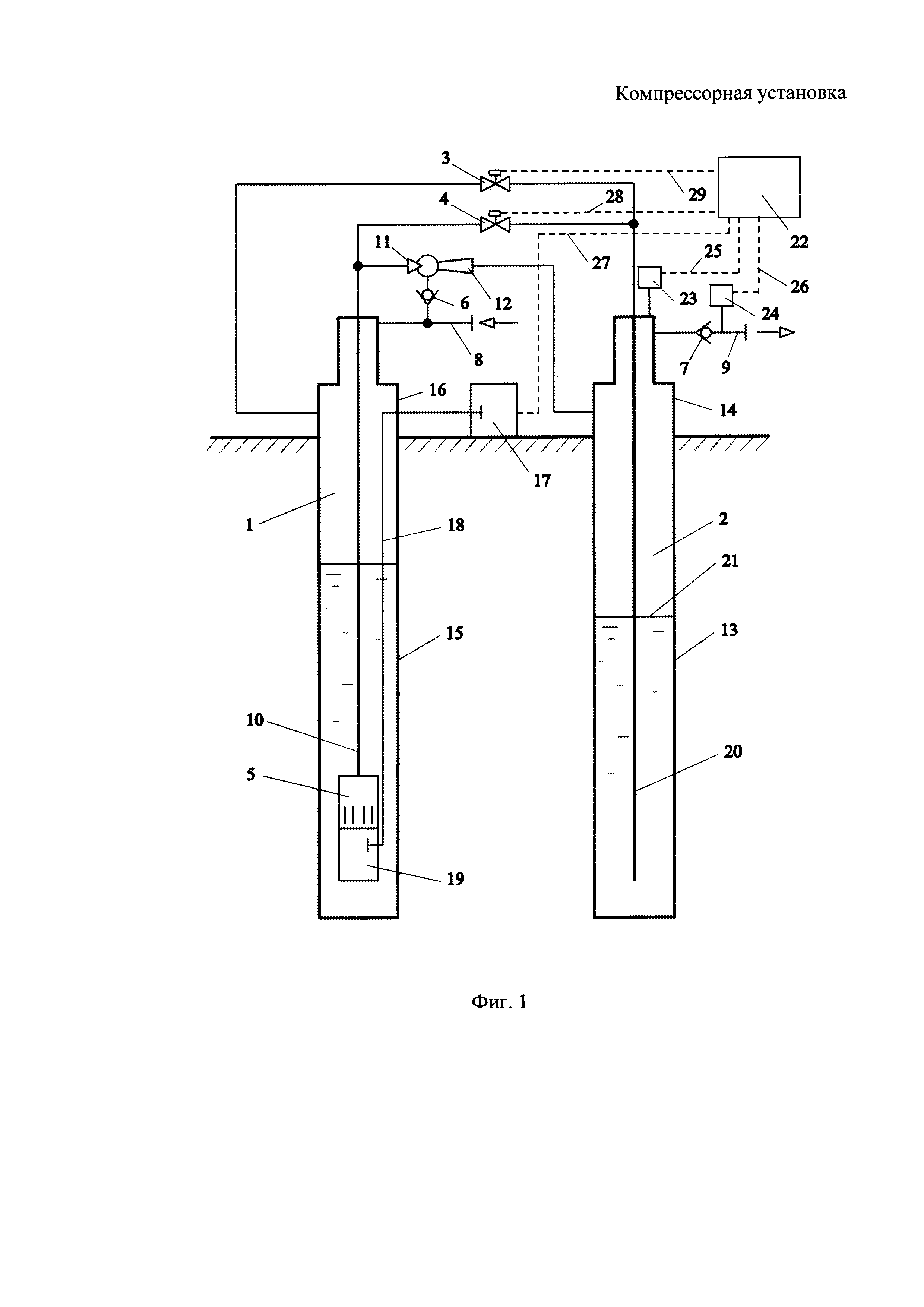
Компрессорная установка содержит рабочие камеры 1, 2 низкого и высокого давления, регулируемые распределительные устройства 3, 4, погружной жидкостной насос 5, всасывающий газовый клапан 6, нагнетательный газовый клапан 7, установленные, соответственно, на газопроводах низкого 8 и высокого 9 давления. Выход 10 погружного жидкостного насоса 5 соединен с соплом 11 эжектора. Вход камеры смешения 12 эжектора через всасывающий газовый клапан 6 сообщается с газопроводом низкого давления 8, а выход камеры смешения 12 гидравлически связан с рабочей камерой высокого давления 2. Рабочая камера 2 высокого давления выполнена в виде частично заполненной жидкостью подземной вертикальной емкости 13 с устьевой головкой 14. Рабочая камера 1 низкого давления выполнена в виде частично заполненной жидкостью подземной вертикальной емкости 15 с устьевой головкой 16. Погружной жидкостной насос 5 может быть оснащен регулятором подачи 17. Регулятор подачи 17 может быть выполнен в виде частотного преобразователя, который подключен через электрический кабель 18 к электродвигателю 19, который и приводит в действие жидкостной насос 5. Для исключения попадания газа в жидкостный насос 5, в рабочих камерах 1 и/или 2 могут использоваться колонны насосно-компрессорных труб 20, как в известных технических решениях, когда погружная насосная установка (или отдельная колонна труб) спускается в скважину под уровень жидкости. На фигуре для наглядности показана граница раздела 21 между жидкостью и газом в рабочей камере.

[11]

При этом рабочие камеры низкого 1 и высокого 2 давления сообщаются между собой посредством регулируемых распределительных устройств 3 и 4, установленных, соответственно, на линии, сообщающей указанные камеры непосредственно, и на линии, соединяющей выход 10 погружного жидкостного насоса 5 с рабочей камерой высокого давления 2.

[12]

Рабочие камеры низкого 1 и высокого 2 давления могут быть выполнены с применением известной технологии строительства скважин, и с использованием серийно выпускаемого нефтяного и газового оборудования.

[13]

Работа компрессорной установки может быть автоматизирована и компьютеризирована с использованием системы управления 22. Система управления 22 соединена с датчиками 23 и 24 через каналы связи 25 и 26, соответственно. В качестве датчиков 23 и 24 могут быть использованы датчики давления, к примеру (также могут использоваться и другие известные датчики, в том числе для контроля скорости потока, плотности перекачиваемой среды, или датчики для контроля уровня жидкости в скважине: по расстоянию от устья скважины до границы раздела 21 между жидкостью и газом в рабочей камере). Система управления 22 соединена с регулятором подачи 17 через канал связи 27. Система управления 22 соединена с регулируемыми распределительными устройствами 4 и 3 через каналы управления 28 и 29, соответственно.

[14]

Компрессорная установка работает следующим образом.

[15]

Рабочие камеры высокого 2 и низкого 1 давления, выполненные в виде подземных вертикальных емкостей 13 и 15, частично заполнены жидкостью, в качестве которой может использоваться пластовая вода. При режиме работы, когда регулируемое распределительное устройство 4 закрыто, а регулируемое распределительном устройстве 3 открыто, погружной жидкостной насос 5 подает жидкость из рабочей камеры низкого давления 1 в сопло 11 эжектора. За счет энергии струи жидкости на входе камеры смешения 12 эжектора понижается давление, и в камеру смешения 12 поступает газ из газопровода низкого давления 8, через открытый всасывающий газовый клапан 6. На выходе камеры смешения 12 эжектора повышается давление в потоке смеси жидкости и газа, за счет преобразования кинетической энергии жидкости в потенциальную энергию, что сопровождается повышением давления при понижении скорости течения газожидкостного потока. Сжатый газ вместе с жидкостью поступает в рабочую камеру высокого давления 2, где реализуется процесс сепарации, с разделением газожидкостной смеси на жидкую и газовую фазу. Жидкость скапливается в нижней части рабочей камеры высокого давления 2, а газ в верхней части, как в известных гравитационных сепараторах. Сжатый газ накапливается в верхней части рабочей камеры высокого давления 2, что приводит к смещению границы раздела 21 в направлении сверху вниз. При этом жидкость из рабочей камеры высокого давления 2 вытесняется через колонну насосно-компрессорных труб 20, и через открытое регулируемое распределительное устройство 3, в рабочую камеру низкого давления 1. При этом газ из рабочей камеры низкого давления 1 отводится в камеру смешения 12 эжектора через открытый всасывающий газовый клапан 6, поскольку рабочая камера 1 сообщается с газопроводом низкого давления 8. Когда граница раздела 21 приблизится к нижнему концу колонны насосно-компрессорных труб 20, в систему управлений 22 поступит сигнал с датчика 23 через канал связи 25. При этом система управления 22 сгенерирует управляющий сигнал на закрытие регулируемого распределительного устройства 3, и на открытие регулируемого распределительного устройства 4. Управляющий сигнал на закрытие регулируемого распределительного устройства 3 поступает через канал управления 29. Управляющий сигнал на открытие регулируемого распределительного устройства 4 поступает через канал управления 28. Часть жидкости с выхода 10 погружного жидкостного насоса 5 начнет поступать в полость колонны насосно-компрессорных труб

[16]

20 через открытое регулируемое распределительное устройство 4. При этом снижается гидравлическое сопротивление и уменьшаются потери мощности в каналах при заполнении рабочей камеры 2 жидкостью, поскольку жидкость в рабочую камеру 2 поступает уже по двум параллельным каналам: через регулируемое распределительное устройство 4, и через сопло 11, камеру смешения 12 эжектора.

[17]

Граница раздела 21 начнет смещаться в направлении снизу вверх, поскольку регулируемое распределительное устройство 3 переведено в закрытое положение. При этом продолжится сжатие газа в рабочей камере высокого давления 2, что сопровождается соответствующим ростом давления. Из-за увеличения давления в рабочей камере высокого давления 2 всасывающий газовый клапан 6 закроется. При смещении границы раздела 21 вверх, наступит момент, когда давление в рабочей камере высокого давления 2 сравняется с давлением в газопроводе высокого давления 9, а информация об этом поступит в систему управления 22, поскольку система управления 22 соединена с датчиками 23 и 24 через каналы связи 25 и 26, соответственно. Такое выравнивание давления приведет к открытию нагнетательного газового клапана 7. При дальнейшем смещении границы раздела 21 вверх, сжатый газ из рабочей камеры высокого давления 2 вытесняется в газопровод высокого давления 9, через открытый нагнетательный газовый клапан 7. После цикла вытеснения газа, жидкость попадет в полость нагнетательного газового клапана 7, и такое замещения газа на жидкость отразится на показаниях от датчиков 23 и 24. В систему управления, таким образом, поступит сигнал о завершении цикла по вытеснению газа из рабочей камеры высокого давления 2. При этом система управления 22 сгенерирует управляющий сигнал на открытие регулируемого распределительного устройства 3, и на закрытие регулируемого распределительного устройства 4. Управляющий сигнал на открытие регулируемого распределительного устройства 3 поступает через канал управления 29. Управляющий сигнал на закрытие регулируемого распределительного устройства 4 поступает через канал управления 28. При этом давление в рабочей камере высокого давления 2 снизится до значения равного давлению в рабочей камере низкого давления 1, и соответственно до значения давления в газопроводе низкого давления 8, поскольку рабочая камера 1 сообщается с газопроводом низкого давления 8. При этом закроется нагнетательный газовый клапан 7. Вся жидкость с выхода 10 погружного жидкостного насоса 5 будет поступать в сопло 11 эжектора. При этом на входе камеры смешения 12 снизится давление, что приведет к открытию всасывающего газового клапана 6. В камеру смешения 12 эжектора начнет поступать газ из газопровода низкого давления 8, и описанный выше цикл работы повторится. Тем самым достигается технический результат изобретения, которой заключается в снижении колебаний мощности погружного жидкостного насоса 5, и приводного двигателя 19 соответственно, за счет использования эжекторного процесса для предварительного сжатия газа при заполнении рабочей камеры 2 газом, с одновременной откачкой жидкости из этой же рабочей камеры 2. Кроме того, компрессорная установка может иметь исполнение, где погружной жидкостной насос 5 оснащен регулятором подачи 17. Регулятор подачи 17 может быть выполнен в виде частотного преобразователя, который, как в известной системе регулирования, подключен через электрический кабель 18 к электродвигателю 19, который и приводит в действие погружной жидкостной насос 5. При подаче управляющего сигнала от системы управления 22, через канал управления 27, на регулятор подачи 17 в виде частотного преобразователя, достигается изменение частоты вращения ротора у погружного жидкостного насоса 5, что позволяет снизить колебания мощности жидкостного насоса 5, и приводного двигателя 19 соответственно.

[18]

Предлагаемое изобретение предоставляет дополнительные возможности для использования принципов унификации. Широкая гамма серийно выпускаемых обсадных труб, устьевого и насосного оборудования дает возможности для сборки оптимальной компрессорной установки, при самых различных давлениях и производительности компрессорной установки. В том числе в качестве рабочих камер 1 и 2 могут быть использованы нефтяные или газовые скважины, выведенные в бездействующий фонд скважин. Для морских месторождений подобная компактная компрессорная установка может быть расположена на дне моря или на морской нефтяной платформе.

Как компенсировать расходы
на инновационную разработку
Похожие патенты