патент
№ RU 2678793
МПК F02C7/04

Газоперекачивающий агрегат (ГПА), газотурбинная установка (ГТУ), входное устройство ГТУ ГПА (варианты), опорный комплекс входного устройства ГТУ ГПА

Авторы:
Куприк Виктор Викторович Лобов Дмитрий Анатольевич Субботина Вера Сергеевна
Все (7)
Номер заявки
2018107973
Дата подачи заявки
05.03.2018
Опубликовано
05.02.2019
Страна
RU
Как управлять
интеллектуальной собственностью
Чертежи 
4
Реферат

Группа изобретений относится к нефтегазовой области. Газоперекачивающий агрегат (ГПА) содержит последовательно сообщенные по рабочему телу: тракт всасывания воздуха, газотурбинную установку с входным устройством для подачи воздуха из камеры всасывания воздуха на вход в ГТД, тракт выхлопа отработанных газов, газовый компрессор и систему охлаждения ГТД. Входное устройство включает трубу с аэродинамическим входным насадком, имеющим раструб с конфигурацией продольного сечения типа фрагмента лемнискаты с градиентом Gубывания площади поперечного сечения проточной части на длине насадка от Fдо F, определенным в диапазоне значений G=(1,15÷1,58) [м/м]. Труба ВУ выполнена сборной и включает проставки, герметично соединенные через фланцы, и опорные кольца для крепления к опорному комплексу. Опорной комплекс включает размещенную под трубой ВУ направляющую балку, регулируемо соединенную одним концом через талреп с опорной рамой. Передним концом балка подвижно оперта на неподвижную стойку, которая снабжена в верхней части опорным колесом с возможностью осевых монтажных и эксплуатационных перемещений трубы ВУ. Технический результат группы изобретений состоит в повышении надежности, эффективности и ресурса работы ГПА за счет улучшения конструктивных, аэродинамических и энергетических параметров входного устройства. 5 н. и 5 з.п. ф-лы, 10 ил.

Формула изобретения

1. Газоперекачивающий агрегат (ГПА) компрессорной станции (КС), характеризующийся тем, что содержит последовательно сообщенные по рабочему телу тракт всасывания воздуха, включающий комплексное воздухоочистительное устройство (КВОУ), воздуховод и камеру всасывания воздуха; газотурбинную установку (ГТУ) с входным устройством (ВУ) в виде соосной с осью двигателя трубы для подачи воздуха из камеры всасывания на вход в газотурбинный двигатель (ГТД), имеющий модули газогенератора (ГГ) и силовой турбины (СТ), а также соединенный с модулем СТ газоотвод, выполненный в виде улитки; тракт выхлопа отработанных газов, сообщенный газоходом на входе по потоку рабочего тела из СТ с газоотводом и на выходе - с завершающей тракт выхлопа выхлопной трубой ГПА, которая, в свою очередь, сообщена с теплообменником утилизатора теплоты с автономной выхлопной трубой; газовый компрессор, сообщенный по крутящему моменту с валом СТ ГТД посредством трансмиссии, включающей промежуточный вал, а также по рабочему телу - перекачиваемому газу - с подводящим и отводящим газопроводами; систему охлаждения ГТД, включающую воздухозаборник, по меньшей мере один нагнетающий вентилятор, нагнетающий с распределительным коробом и отводящий воздуховоды; при этом входное устройство ГТУ включает трубу с аэродинамическим входным насадком, заведенным в верхнюю секцию камеры всасывания и имеющим раструб с конфигурацией продольного сечения в виде кривой второго порядка типа фрагмента лемнискаты с осредненным градиентом Gвх.н убывания площади поперечного сечения проточной части на длине Lвх.н насадка по потоку рабочего тела от Fmax п.ч раструба насадка до Fmin п.ч проточной части трубы, определенным в диапазоне значений

Gвх.н.=(Fmax п.ч-Fmin п.ч) / Lвх.н = (1,15÷1,58) [м2/м];

причем максимальный диаметр Dmax вх.н входного контура раструба насадка, образованного совокупностью точек касания условной плоскости к вершинам раструба, выполнен превышающим минимальный диаметр проточной части на выходе из насадка в N раз и определен в диапазоне значений

N = (Dmax вх.н / Dmin п.ч) = (1,4÷2,1);

при этом труба ВУ выполнена сборной и включает разъемные проставки, первая по потоку рабочего тела проставка с одной стороны соединена фронтальным фланцем с ответным фланцем входного насадка и с другой стороны - с примыкающей к ней второй проставкой, соединенной тыльным фланцем с ответным фланцем мерной проставки, которая, в свою очередь, аналогично соединена с промывочной проставкой, а та через промежуточную проставку объединена с оконечной проставкой ВУ, телескопически соединенной с направляющим аппаратом (ВНА) ГТД, а проставки герметично соединены через фланцы крепежными элементами, установленными с угловой частотой γо.ф.п, определенной в диапазоне значений γо.ф.п = (3,18÷4,46) [ед/рад]; кроме того, труба ВУ наделена опорными кольцами, установленными во фланцевых соединениях соответственно между первой и второй, а также мерной и промывочной проставками, каждое из которых снабжено в нижней части опорным уширением для разъемного соединения понизу крепежными элементами с направляющей балкой ВУ, тыльный конец которой через талреп регулируемо соединен с нижним поперечным элементом тыльной трапецеидальной опорной рамы ВУ.

2. Газоперекачивающий агрегат по п. 1, отличающийся тем, что третье опорное кольцо трубы ВУ введено во фланцевое соединение промежуточной и оконечной проставок трубы ВУ и снабжено двумя боковыми уширениями с отверстиями для разъемного соединения посредством крепежных элементов с ответными элементами стоек, опертых на наклонные боковые стойки опорной рамы ВУ, снабженные каждая понизу не менее чем одним колесом, установленным в направляющей типа швеллера с двумя оппозитными нижней опорной и верхней страховочной полками, а оконечная проставка ВУ соединена с ВНА через сборный фланец, содержащий П-образную выемку, в которой установлен уплотнительный кольцевой элемент исходной торообразной формы и через ответное входное кольцо ВНА сообщена по потоку рабочего тела с ГТД, при этом ответные фланцы герметично соединены крепежными элементами, установленными с угловой частотой γс.ф., определенной в диапазоне значений γс.ф. = (1,27÷2,23) [ед/рад].

3. Газотурбинная установка ГПА, характеризующаяся тем, что включает входное устройство, сообщенное напроход по рабочему телу с ГТД, в который входят модуль ГГ, включающий в качестве функциональных узлов компрессоры низкого и высокого давления (КНД и КВД), камеру сгорания, двухступенчатую турбину, имеющую ступень турбины низкого давления (ТНД), связанную валом ротора низкого давления с КНД, турбину высокого давления (ТВД), объединенную соосным валом ротора высокого давления с КВД, и газодинамически связанную с модулем ГГ силовую турбину (СТ), которая выполнена осевой, имеет корпус с многоступенчатым сопловым аппаратом и вал ротора с рабочими колесами ступеней СТ, имеющими лопаточные венцы, газодинамически сообщенные с потоком рабочего тела, при этом труба ВУ имеет площадь поперечного сечения, равную площади поперечного сечения проточной части ВНА двигателя, и наделена на входе аэродинамическим входным насадком, раструб которого выполнен с конфигурацией продольного сечения в виде кривой второго порядка типа фрагмента лемнискаты, при этом максимальный диаметр Dmax вх.н входного контура раструба насадка, образованного совокупностью точек касания условной плоскости к вершинам раструба, выполнен превышающим минимальный диаметр проточной части на выходе из насадка в N раз и определен в диапазоне значений

N = (Dmaxвх.н / Dmin п.ч) = (1,4÷2,1);

причем труба ВУ выполнена сборной и включает разъемные проставки, герметично соединенные через фланцы крепежными элементами, в том числе включает соединенную фронтальным фланцем с ответным фланцем входного насадка первую по потоку рабочего тела проставку и примыкающую к ней вторую проставку, соединенную тыльным фланцем с ответным фланцем мерной проставки, которая, в свою очередь, аналогично соединена с промывочной проставкой, а та через промежуточную проставку, объединена с оконечной проставкой ВУ, которая телескопически соединена через фланец, наделенный уплотнительным элементом, и входное кольцо ВНА с ГТД, кроме того, фланцевые соединения первой со второй проставок и мерной проставки с фланцем промывочной проставки наделены каждое опорным кольцом и разъемно соединены понизу крепежными элементами с направляющей балкой ВУ, а третье опорное кольцо введено во фланцевое соединение, образованное фланцами промежуточной и оконечной проставок ВУ, выполнено с двумя боковыми уширениями в узлах разъемного крепления к стойкам, опертым на наклонные боковые стойки трапецеидальной опорной рамы ВУ, снабженные понизу каждая не менее чем одним колесом, при этом направляющая балка ВУ регулируемо соединена тыльным концом через талреп с нижним поперечным элементом по ходу рабочего тела рамы ВУ с возможностью подвижной передачи нагрузки через колеса наклонных стоек рамы на направляющий элемент опорного комплекса ГТУ ГПА, а передним концом балка ВУ подвижно оперта на неподвижную стойку, снабженную в верхней части опорным колесом с возможностью осевых монтажных и эксплуатационных перемещений трубы ВУ, причем группы отверстий под крепежные элементы в пластинах боковых уширений опорного кольца, введенного между ответными фланцами промежуточной и оконечной проставок трубы ВУ, а также в пластинах боковых уширений стоек, опертых на наклонные элементы опорной рамы ВУ, выполнены с угловой частотой γо.п, определенной в диапазоне значений γо.п = (0,087÷0,12) [ед/рад].

4. Газотурбинная установка ГПА по п. 3, отличающаяся тем, что проставки герметично соединены через фланцы крепежными элементами, установленными с угловой частотой γо.ф.п, определенной в диапазоне значений γо.ф.п = (3,18÷4,46) [ед/рад], при этом мерная проставка трубы ВУ выполнена с кольцевым утолщением в средней части осевой длины проставки, имеющим функцию элемента жесткости корпуса проставки и содержащим равномерно разнесенные по периметру отверстия в количестве не менее двух под съемную установку проходников для измерения статического давления рабочего тела перед входом в ВНА ГТД, а промывочная проставка снабжена кольцевым утолщением с функцией ребра жесткости, в котором выполнены отверстия с возможностью установки в последние съемных заглушек, заменяемых на периоды промывки ГТД съемными промывочными форсунками.

5. Входное устройство ГТУ ГПА, характеризующееся тем, что выполнено в виде трубы, имеющей площадь поперечного сечения, равную площади поперечного сечения проточной части ВНА газотурбинного двигателя, и наделенной на входе аэродинамическим входным насадком, имеющим раструб с конфигурацией продольного сечения в виде кривой второго порядка типа фрагмента лемнискаты, при этом максимальный диаметр Dmax вх.н входного контура раструба насадка, образованного совокупностью точек касания условной плоскости к вершинам раструба, выполнен превышающим минимальный диаметр проточной части на выходе из насадка в N раз и определен в диапазоне значений

N = (Dmax вх.н / Dmin п.ч) = (1,4÷2,1);

причем труба ВУ выполнена сборной и включает разъемные проставки, герметично соединенные через фланцы крепежными элементами, установленными с угловой частотой γо.ф.п, определенной в диапазоне значений γо.ф.п = (3,18÷4,46) [ед/рад], в том числе включает соединенную фронтальным фланцем с ответным фланцем входного насадка первую по потоку рабочего тела проставку и примыкающую к ней вторую проставку, соединенную тыльным фланцем с ответным фланцем мерной проставки, которая, в свою очередь, аналогично соединена с промывочной проставкой, а та через промежуточную проставку объединена с оконечной проставкой ВУ, которая телескопически соединена через фланец, наделенный уплотнительным элементом, и входное кольцо ВНА с ГТД, причем мерная проставка трубы ВУ наделена в средней части длины кольцевым утолщением, в котором выполнены отверстия для установки проходников для измерения статического давления на входе в ВНА ГТД, равномерно разнесенные по периметру с угловой частотой γо.м.п, определенной в диапазоне значений γо.м.п = (0,32÷1,12) [ед/рад].

6. Входное устройство по п. 5, отличающееся тем, что фланцевые соединения первой со второй проставок и мерной проставки с фланцем промывочной проставки наделены каждое опорным кольцом и разъемно соединены понизу крепежными элементами с направляющей балкой ВУ, а третье опорное кольцо введено во фланцевое соединение, образованное фланцами промежуточной и оконечной проставок ВУ, и выполнено с двумя боковыми уширениями в узлах разъемного крепления к стойкам, опертым на наклонные боковые стойки трапецеидальной опорной рамы ВУ, снабженные понизу каждая не менее чем одним колесом, при этом направляющая балка ВУ регулируемо соединена тыльным концом по ходу рабочего тела через талреп с нижним поперечным элементом опорной рамы ВУ с возможностью подвижной передачи нагрузки через колеса наклонных стоек рамы на направляющий элемент опорного комплекса ГТУ ГПА, а передним концом балка ВУ подвижно оперта на неподвижную стойку, снабженную в верхней части опорным колесом с возможностью осевых монтажных и эксплуатационных перемещений трубы ВУ, кроме того, группы отверстий под крепежные элементы в пластинах боковых уширений опорного кольца, введенного между ответными фланцами промежуточной и оконечной проставок, а также в пластинах боковых уширений стоек, опертых на наклонные элементы рамы ВУ, выполнены с угловой частотой γо.п, определенной в диапазоне значений γо.п = (0,087÷0,12) [ед/рад].

7. Входное устройство ГТУ ГПА, характеризующееся тем, что выполнено в виде трубы, имеющей площадь поперечного сечения, равную площади поперечного сечения проточной части ВНА газотурбинного двигателя, и наделенной на входе аэродинамическим входным насадком, имеющим раструб с конфигурацией продольного сечения в виде кривой второго порядка типа фрагмента лемнискаты с осредненным градиентом Gвх.н убывания площади поперечного сечения проточной части на длине Lвх.н насадка по потоку рабочего тела от Fmax п.ч раструба насадка до Fmin п.ч проточной части трубы, определенным в диапазоне значений

Gвх.н = (Fmax п.ч-Fmin п.ч) / Lвх.н = (1,15÷1,58) [м2/м];

причем труба ВУ выполнена сборной и включает разъемные проставки, герметично соединенные через фланцы крепежными элементами, установленными с угловой частотой γо.ф.п, определенной в диапазоне значений γо.ф.п = (3,18÷4,46) [ед/рад], в том числе включает соединенную фронтальным фланцем с ответным фланцем входного насадка первую по потоку рабочего тела проставку и примыкающую к ней вторую проставку, соединенную тыльным фланцем с ответным фланцем мерной проставки, которая, в свою очередь, аналогично соединена с промывочной проставкой, а та через промежуточную проставку объединена с оконечной проставкой ВУ, которая телескопически соединена через фланец, наделенный уплотнительным элементом, и входное кольцо ВНА с ГТД, причем мерная проставка трубы ВУ наделена в средней части длины кольцевым утолщением, в котором выполнены отверстия для установки проходников для измерения статического давления на входе в ВНА ГТД, равномерно разнесенные по периметру с угловой частотой γо.м.п, определенной в диапазоне значений γо.м.п = (0,32÷1,12) [ед/рад], а промывочная проставка снабжена кольцевым утолщением с функцией ребра жесткости, в котором выполнены отверстия с возможностью установки в последние съемных заглушек, заменяемых на периоды промывки ГТД съемными промывочными форсунками, при этом указанные отверстия под заглушки/форсунки равномерно разнесены по периметру кольцевого утолщения проставки с угловой частотой γо.з.ф., определенной в диапазоне значений γо.з.п = (1,59÷2,39) [ед/рад], кроме того, фланцевые соединения первой со второй проставок и мерной проставки с фланцем промывочной проставки наделены каждое опорным кольцом и разъемно соединены понизу крепежными элементами с направляющей балкой ВУ.

8. Входное устройство по п. 7, отличающееся тем, что третье опорное кольцо введено во фланцевое соединение, образованное фланцами промежуточной и оконечной проставок ВУ, и выполнено с двумя боковыми уширениями в узлах разъемного крепления к стойкам, опертым на наклонные боковые стойки трапецеидальной опорной рамы ВУ, снабженные понизу каждая не менее чем одним колесом, при этом направляющая балка ВУ регулируемо соединена по ходу рабочего тела тыльным концом через талреп с нижним поперечным элементом опорной рамы ВУ с возможностью подвижной передачи нагрузки через колеса наклонных стоек рамы на направляющий элемент опорного комплекса ГТУ ГПА, а передним концом балка ВУ подвижно оперта на неподвижную стойку, снабженную в верхней части опорным колесом с возможностью осевых монтажных и эксплуатационных перемещений трубы ВУ, кроме того, группы отверстий под крепежные элементы в пластинах боковых уширений опорного кольца, введенного между ответными фланцами промежуточной и оконечной проставок, а также в пластинах боковых уширений стоек, опертых на наклонные элементы опорной рамы ВУ, выполнены с угловой частотой γо.п, определенной в диапазоне значений γо.п = (0,087÷0,12) [ед/рад].

9. Опорный комплекс входного устройства в газотурбинный двигатель ГТУ ГПА, включающий многоступенчатую СТ с затурбинной хвостовой частью не менее чем с двумя рабочими колесами (ГПА), характеризующийся тем, что выполнен с возможностью монтажно-демонтажных ограниченных перемещений входного устройства вдоль оси двигателя и содержит размещенную под трубой ВУ направляющую балку, опертую трапецеидальную опорную раму ВУ, причем труба ВУ выполнена сборной и включает разъемные проставки, герметично соединенные через фланцы крепежными элементами, и входной насадок, в том числе включает первую по потоку рабочего тела проставку, соединенную фронтальным фланцем с ответным фланцем упомянутого входного насадка, а также примыкающую к ней вторую проставку, соединенную тыльным фланцем с ответным фланцем мерной проставки, которая, в свою очередь, аналогично соединена с промывочной проставкой, а та через последнюю по ходу рабочего тела промывочной проставку объединена с оконечной проставкой ВУ, которая телескопически соединена через фланец, наделенный уплотнительным элементом, и через входное кольцо ВНА соединена с ГТД, а также содержит три соосных опорных кольца опорного комплекса ВУ, неподвижно вмонтированных в корпус трубы ВУ между смежными фланцами проставок, два из которых, введенные во фланцевые соединения между первой со второй проставками и мерной и промывочной проставками, наделены каждое нижним опорным уширением в виде радиально приращенной дуги окружности, снабженной дополнительной группой отверстий, выполненных с угловой частотой γд.г.о > 9,5 [ед/рад], соосной с группой ответных отверстий, выполненных в автономном дугообразном кронштейне, жестко прикрепленном к верхней части направляющей балки, а третье опорное кольцо введено во фланцевое соединение между промежуточной и оконечной проставками, выполнено с двумя боковыми уширениями и разъемно прикреплено к укороченным стойкам, опертым на наклонные боковые стойки опорной рамы ВУ, снабженные понизу каждая не менее чем одним колесом, причем направляющая балка ВУ регулируемо оперта тыльным по ходу рабочего тела концом через талреп на нижний поперечный элемент опорной рамы ВУ с возможностью подвижной или стационарной передачи нагрузки через колеса наклонных стоек рамы на направляющий элемент типа швеллера с двумя оппозитными нижней опорной и верхней страховочной полками, установленный на опорной раме ГТД ГТУ ГПА, а передним концом балка ВУ подвижно оперта на неподвижную стойку-подставку, снабженную в верхней части опорным колесом с возможностью хода возвратных осевых монтажных и эксплуатационных перемещений ВУ на длину не менее длины хвостовой затурбинной части СТ, считая от выходного фланца за последним рабочим колесом СТ.

10. Опорный комплекс входного устройства по п. 9 отличающийся тем, что группы отверстий под крепежные элементы в пластинах боковых уширений третьего опорного кольца, введенного между ответными фланцами промежуточной и оконечной проставок трубы ВУ, а также в пластинах боковых уширений стоек, опертых на наклонные элементы опорной рамы ВУ, выполнены с угловой частотой γо.п, определенной в диапазоне значений γо.п = (0,087÷0,12) [ед/рад], кроме того, опорный комплекс снабжен стопорными фиксаторами стационарного эксплуатационного положения ВУ, выполненными в узлах опирания наклонных стоек рамы ВУ на нижнюю опорную поверхность направляющих опорного комплекса ВУ с возможностью разъединения колес с опорной поверхностью направляющих и перевода опирания каждой из стоек рамы на стационарный стопорный фиксатор, а в узле регулируемого подвижного опирания направляющей балки ВУ на опорное колесо верхнего конца стойки с возможностью прижатия колеса к нижней поверхности балки посредством тяги, соединяющей с регулируемым усилием последнюю со стойкой.

Описание

[1]

Группа изобретений относится к области двигателестроения, а именно, к конструкции входного устройства газотурбинной установки (ГТУ) в составе газоперекачивающего агрегата (ГПА) и может быть использовано на компрессорных станциях нефтегазовой и энергетической промышленности.

[2]

Из существующего уровня техники известен газоперекачивающий агрегат, содержащий газотурбинный двигатель, включающий газогенератор и турбину, расположенные на общей подмоторной раме. ГПА содержит тракт всасывания воздуха с воздуховодами и камерой всасывания, входное устройство для подачи воздушного потока из камеры всасывания на вход двигателя, выхлопную систему с трактом выхлопа для удаления продуктов сгорания. Выхлопная система выполнена с возможностью установки утилизационного теплообменника. Система охлаждения газотурбинной установки выполнена с возможностью принудительной подачи атмосферного воздуха под защитный кожух (RU 2403416 С1, опубл. 10.11.2010).

[3]

Из существующего уровня техники известен газоперекачивающий агрегат, содержащий ГТД с входным устройством и центробежный компрессор для сжатия газа, КВОУ, выхлопную систему с выхлопной шахтой для удаления продуктов сгорания. ГТД вместе с входным устройством расположен на общей фундаментной раме. Система охлаждения ГТД выполнена с возможностью обеспечения регулирования количества охлаждающего воздуха. Выхлопная шахта выполнена с возможностью установки утилизационного теплообменника и оснащена погодным колпаком (зонтом) (RU 115843 U1, опубл. 10.05.2012).

[4]

Недостатком известных решений является относительно невысокая эффективность, надежность и долговечность работы газоперекачивающего агрегата, неадаптированность конкретно к техническим решениям двухвального, двухконтурного ГТД, сложность получения компромиссного сочетания повышенных значений КПД и ресурса ГПА с одновременным повышением компактности входящих в ГПА сборочных единиц и деталей, входящих в состав ГПА, в том числе недостаточной проработанности входного устройства для подачи рабочего тела на вход в двигатель, что в конечном итоге снижает эксплуатационную надежность и ресурс работы как ГТУ, так и ГПА в целом.

[5]

Задача, решаемая группой изобретений, заключается в повышении КПД, эксплуатационной надежности и ресурса работы ГПА для транспортировки газа и газотурбинной станции.

[6]

Поставленная задача решается тем, что газоперекачивающий агрегат (ГПА) компрессорной станции (КС), согласно изобретению, содержит последовательно сообщенные по рабочему телу: тракт всасывания воздуха, включающий комплексное воздухоочистительное устройство (КВОУ), воздуховод и камеру всасывания воздуха; газотурбинную установку (ГТУ) с входным устройством (ВУ) в виде соосной с осью двигателя трубы для подачи воздуха из камеры всасывания на вход в газотурбинный двигатель (ГТД), имеющий модули газогенератора (ГТ) и силовой турбины (СТ), а также соединенный с модулем СТ газоотвод, выполненный в виде улитки; тракт выхлопа отработанных газов, сообщенный газоходом на входе по потоку рабочего тела из СТ с газоотводом и на выходе с завершающей тракт выхлопа выхлопной трубой ГПА, которая в свою очередь сообщена с теплообменником утилизатора теплоты с автономной выхлопной трубой; газовый компрессор, сообщенный по крутящему моменту с валом СТ ГТД посредством трансмиссии, включающей промежуточный вал, а также по рабочему телу - перекачиваемому газу с подводящим и отводящим газопроводами; систему охлаждения ГТД, включающую воздухозаборник, по меньшей мере, один нагнетающий вентилятор, нагнетающий с распределительным коробом и отводящий воздуховоды; при этом входное устройство ГТУ включает трубу с аэродинамическим входным насадком, заведенным в верхнюю секцию камеры всасывания и имеющем раструб с конфигурацией продольного сечения в виде кривой второго порядка типа фрагмента лемнискаты с осредненным градиентом Gвх.н.. убывания площади поперечного сечения проточной части на длине Lвх.н.. насадка по потоку рабочего тела от Fmax п.ч. раструба насадка до Fmin п.ч. проточной части трубы, определенным в диапазоне значений

[7]

Gвх.н.=(Fmax п.ч.-Fmin п.ч.)/Lвх.н.=(1,15÷1,58) [м2/м];

[8]

причем максимальный диаметр Dmax вх.н. входного контура раструба насадка, образованного совокупностью точек касания условной плоскости к вершинам раструба, выполнен превышающем минимальный диаметр проточной части на выходе из насадка в N раз и определен в диапазоне значений

[9]

N=(Dmax.вх.н./Dmin п.ч.)=(1,4÷2,1),

[10]

при этом труба ВУ выполнена сборной и включает разъемные проставки, первая по потоку рабочего тела проставка с одной стороны соединена фронтальным фланцем с ответным фланцем входного насадка и с другой стороны - с примыкающей к ней второй проставкой, соединенной тыльным фланцем с ответным фланцем мерной проставки, которая в свою очередь аналогично соединена с промывочной проставкой, а та через промежуточную проставку, объединена с оконечной проставкой ВУ, телескопически соединенной с направляющим аппаратом (ВНА) ГТД, а проставки герметично соединены через фланцы крепежными элементами, установленными с угловой частотой γо.ф.п., определенной в диапазоне значений γо.ф.п.=(3,18÷4,46) [ед/рад]; кроме того труба ВУ наделена опорными кольцами, установленными во фланцевых соединениях соответственно между первой и второй, а также мерной и промывочной проставками, каждое из которых снабжено в нижней части опорным уширением для разъемного соединения понизу крепежными элементами с направляющей балкой ВУ, тыльный конец которой через талреп регулируемо соединен с нижним поперечным элементом тыльной трапецеидальной опорной рамы ВУ.

[11]

При этом третье опорное кольцо трубы ВУ может быть введено во фланцевое соединение промежуточной и оконечной проставок трубы ВУ и снабжено двумя боковыми уширениями с отверстиями для разъемного соединения посредством крепежных элементов с ответными элементами стоек, опертых на наклонные боковые стойки опорной рамы ВУ, снабженные каждая понизу не менее чем одним колесом, установленным в направляющей типа швеллера с двумя оппозитными нижней опорной и верхней страховочной полками, а оконечная проставка ВУ соединена с ВНА через сборный фланец, содержащий П-образную выемку, в которой установлен уплотнительный кольцевой элемент исходной торообразной формы и через ответное входное кольцо ВНА сообщена по потоку рабочего тела с ГТД, при этом ответные фланцы герметично соединены крепежными элементами, установленными с угловой частотой γс.ф., определенной в диапазоне значений γс.ф.=(1,27÷2,23) [ед/рад].

[12]

Поставленная задача в части ГТУ ГПА решается тем газотурбинная установка ГПА, согласно изобретению, включает входное устройство, сообщенное напроход по рабочему телу с ГТД, в который входят модуль ГГ, включающий в качестве функциональных узлов компрессоры низкого и высокого давления (КНД и КВД), камеру сгорания, двухступенчатую турбину, имеющую ступень турбины низкого давления (ТНД), связанную валом ротора низкого давления с КНД, турбину высокого давления (ТВД), объединенную соосным валом ротора высокого давления с КВД и газодинамически связанный с модулем ГГ силовую турбину (СТ), которая выполнена осевой, имеет корпус с многоступенчатым сопловым аппаратом и вал ротора с рабочими колесами ступеней СТ, имеющими лопаточные венцы, газодинамически сообщенные с потоком рабочего тела, при этом труба ВУ имеет площадь поперечного сечения, равную площади поперечного сечения проточной части ВНА двигателя, и наделена на входе аэродинамическим входным насадком, раструб которого выполнен с конфигурацией продольного сечения в виде кривой второго порядка типа фрагмента лемнискаты, при этом максимальный диаметр Dmax вх.н. входного контура раструба насадка, образованного совокупностью точек касания условной плоскости к вершинам раструба, выполнен превышающем минимальный диаметр проточной части на выходе из насадка в N раз и определен в диапазоне значений

[13]

N=(Dmax вх.н./Dmin п.ч.)=(1,4÷2,1),

[14]

причем труба ВУ выполнена сборной и включает разъемные проставки, герметично соединенные через фланцы крепежными элементами, в том числе включает соединенную фронтальным фланцем с ответным фланцем входного насадка первую по потоку рабочего тела проставку и примыкающую к ней вторую проставку, соединенную тыльным фланцем с ответным фланцем мерной проставки, которая в свою очередь аналогично соединена с промывочной проставкой, а та через промежуточную проставку, объединена с оконечной проставкой ВУ, которая телескопически соединена через фланец, наделенный уплотнительным элементом, и входное кольцо ВНА с ГТД, кроме того, фланцевые соединения первой со второй проставок и мерной проставки с фланцем промывочной проставки наделены каждое опорным кольцом и разъемно соединены понизу крепежными элементами с направляющей балкой ВУ, а третье опорное кольцо введено во фланцевое соединение, образованное фланцами промежуточной и оконечной проставками ВУ, выполнено с двумя боковыми уширениями в узлах разъемного крепления к стойкам, опертым на наклонные боковые стойки трапецеидальной опорной рамы ВУ, снабженные понизу каждая не менее чем одним колесом, при этом направляющая балка ВУ регулируемо соединена тыльным концом через талреп с нижним поперечным элементом по ходу рабочего тела рамы ВУ с возможностью подвижной передачи нагрузки через колеса наклонных стоек рамы на направляющий элемент опорного комплекса ГТУ ГПА, а передним концом балка ВУ подвижно оперта на неподвижную стойку, снабженную в верхней части опорным колесом с возможностью осевых монтажных и эксплуатационных перемещений трубы ВУ, причем группы отверстий под крепежные элементы в пластинах боковых уширений опорного кольца, введенного между ответными фланцами промежуточной и оконечной проставками трубы ВУ, а также в пластинах боковых уширений стоек, опертых на наклонные элементы опорной рамы ВУ, выполнены с угловой частотой γо.п., определенной в диапазоне значений γo.п.=(0,087+0,12) [ед/рад].

[15]

При этом проставки герметично могут быть соединены через фланцы крепежными элементами, установленными с угловой частотой γо.ф.п., определенной в диапазоне значений γо.ф.п.=(3,18÷4,46) [ед/рад], при этом мерная проставка трубы ВУ выполнена с кольцевым утолщением в средней части осевой длины проставки, имеющем функцию элемента жесткости корпуса проставки и содержащем равномерно разнесенные по периметру отверстия в количестве не менее двух под съемную установку проходников для измерения статического давления рабочего тела перед входом в ВНА ГТД, а промывочная проставка снабжена кольцевым утолщением с функцией ребра жесткости, в котором выполнены отверстия с возможностью установки в последние съемных заглушек, заменяемых на периоды промывки ГТД съемными промывочными форсунками.

[16]

Поставленная задача в части входного устройства ГТУ ГПА решается тем, что согласно изобретению входное устройство выполнено в виде трубы, имеющей площадь поперечного сечения, равную площади поперечного сечения проточной части ВНА газотурбинного двигателя, и наделенной на входе аэродинамическим входным насадком, имеющем раструб с конфигурацией продольного сечения в виде кривой второго порядка типа фрагмента лемнискаты, при этом максимальный диаметр Dmaxвх.н. входного контура раструба насадка, образованного совокупностью точек касания условной плоскости к вершинам раструба, выполнен превышающем минимальный диаметр проточной части на выходе из насадка в N раз и определен в диапазоне значений

[17]

N=(Dmax вх.н./Dmin п.ч.)=(1,4÷2,1),

[18]

причем труба ВУ выполнена сборной и включает разъемные проставки, герметично соединенные через фланцы крепежными элементами, установленными с угловой частотой γо.ф.п., определенной в диапазоне значений γо.ф.п.=(3,18÷4,46) [ед/рад], в том числе включает соединенную фронтальным фланцем с ответным фланцем входного насадка первую по потоку рабочего тела проставку и примыкающую к ней вторую проставку, соединенную тыльным фланцем с ответным фланцем мерной проставки, которая в свою очередь аналогично соединена с промывочной проставкой, а та через промежуточную проставку, объединена с оконечной проставкой ВУ, которая телескопически соединена через фланец, наделенный уплотнительным элементом, и входное кольцо ВНА с ГТД, причем мерная проставка трубы ВУ наделена в средней части длины кольцевым утолщением, в котором выполнены отверстия для установки проходников для измерения статического давления на входе в ВНА ГТД, равномерно разнесенные по периметру с угловой частотой γо.м.п., определенной в диапазоне значений γо.м.п.=(0,324÷1,12) [ед/рад].

[19]

При этом фланцевые соединения первой со второй проставок и мерной проставки с фланцем промывочной проставки могут быть наделены каждое опорным кольцом и разъемно соединены понизу крепежными элементами с направляющей балкой ВУ, а третье опорное кольцо введено во фланцевое соединение, образованное фланцами промежуточной и оконечной проставками ВУ, и выполнено с двумя боковыми уширениями в узлах разъемного крепления к стойкам, опертым на наклонные боковые стойки трапецеидальной опорной рамы ВУ, снабженные понизу каждая не менее чем одним колесом, при этом направляющая балка ВУ регулируемо соединена тыльным концом по ходу рабочего тела через талреп с нижним поперечным элементом опорной рамы ВУ с возможностью подвижной передачи нагрузки через колеса наклонных стоек рамы на направляющий элемент опорного комплекса ГТУ ГПА, а передним концом балка ВУ подвижно оперта на неподвижную стойку, снабженную в верхней части опорным колесом с возможностью осевых монтажных и эксплуатационных перемещений трубы ВУ, кроме того группы отверстий под крепежные элементы в пластинах боковых уширений опорного кольца, введенного между ответными фланцами промежуточной и оконечной проставок, а также в пластинах боковых уширений стоек, опертых на наклонные элементы рамы ВУ, выполнены с угловой частотой γо.п., определенной в диапазоне значений γо.п.=(0,087÷0,12) [ед/рад].

[20]

Поставленная задача в части входного устройства ГТУ ГПА по второму варианту решается тем, что согласно изобретению входное устройство выполнено в виде трубы, имеющей площадь поперечного сечения, равную площади поперечного сечения проточной части ВНА газотурбинного двигателя, и наделенной на входе аэродинамическим входным насадком, имеющем раструб с конфигурацией продольного сечения в виде кривой второго порядка типа фрагмента лемнискаты с осредненным градиентом Gвх.н. убывания площади поперечного сечения проточной части на длине Lвх.н. насадка по потоку рабочего тела от Fmax п.ч. раструба насадка до Fmin п.ч. проточной части трубы, определенным в диапазоне значений

[21]

Gвx.н.=(Fmax п.ч.-Fmin п.ч.)/Lвх.н.=(1,15÷1,58) [м2/м];

[22]

причем труба ВУ выполнена сборной и включает разъемные проставки, герметично соединенные через фланцы крепежными элементами, установленными с угловой частотой γо.ф.п., определенной в диапазоне значений γо.ф.п.=(3,18÷4,46) [ед/рад], в том числе включает соединенную фронтальным фланцем с ответным фланцем входного насадка первую по потоку рабочего тела проставку и примыкающую к ней вторую проставку, соединенную тыльным фланцем с ответным фланцем мерной проставки, которая в свою очередь аналогично соединена с промывочной проставкой, а та через промежуточную проставку, объединена с оконечной проставкой ВУ, которая телескопически соединена через фланец, наделенный уплотнительным элементом, и входное кольцо ВНА с ГТД, причем мерная проставка трубы ВУ наделена в средней части длины кольцевым утолщением, в котором выполнены отверстия для установки проходников для измерения статического давления на входе в ВНА ГТД, равномерно разнесенные по периметру с угловой частотой γо.м.п., определенной в диапазоне значений γо.м.п.=(0,324÷1,12) [ед/рад], а промывочная проставка снабжена кольцевым утолщением с функцией ребра жесткости, в котором выполнены отверстия с возможностью установки в последние съемных заглушек, заменяемых на периоды промывки ГТД съемными промывочными форсунками, при этом указанные отверстия под заглушки/форсунки равномерно разнесены по периметру кольцевого утолщения проставки с угловой частотой γо.з.ф., определенной в диапазоне значений γо.з.п.=(1,59÷2,39) [ед/рад], кроме того фланцевые соединения первой со второй проставок и мерной проставки с фланцем промывочной проставки наделены каждое опорным кольцом и разъемно соединены понизу крепежными элементами с направляющей балкой ВУ.

[23]

При этом третье опорное кольцо может быть введено во фланцевое соединение, образованное фланцами промежуточной и оконечной проставками ВУ, и выполнено с двумя боковыми уширениями в узлах разъемного крепления к стойкам, опертым на наклонные боковые стойки трапецеидальной опорной рамы ВУ, снабженные понизу каждая не менее чем одним колесом, при этом направляющая балка ВУ регулируемо соединена по ходу рабочего тела тыльным концом через талреп с нижним поперечным элементом опорной рамы ВУ с возможностью подвижной передачи нагрузки через колеса наклонных стоек рамы на направляющий элемент опорного комплекса ГТУ ГПА, а передним концом балка ВУ подвижно оперта на неподвижную стойку, снабженную в верхней части опорным колесом с возможностью осевых монтажных и эксплуатационных перемещений трубы ВУ, кроме того группы отверстий под крепежные элементы в пластинах боковых уширений опорного кольца, введенного между ответными фланцами промежуточной и оконечной проставок, а также в пластинах боковых уширений стоек, опертых на наклонные элементы опорной рамы ВУ, выполнены с угловой частотой γо.п., определенной в диапазоне значений γо.п.=(0,087÷0,12) [ед/рад].

[24]

Поставленная задача в части опорного комплекса решается тем, что опорный комплекс входного устройства в газотурбинный двигатель ГТУ ГПА, включающий многоступенчатую СТ с затурбинной хвостовой частью не менее чем с двумя рабочими колесами, согласно изобретению, выполнен с возможностью монтажно-демонтажных ограниченных перемещений входного устройства вдоль оси двигателя и содержит размещенной под трубой ВУ направляющую балку, опертую трапецеидальную опорную раму ВУ, причем труба ВУ выполнена сборной и включает разъемные проставки, герметично соединенные через фланцы крепежными элементами и входной насадок, в том числе включает первую по потоку рабочего тела проставку, соединенную фронтальным фланцем с ответным фланцем упомянутого входного насадка, а также примыкающую к ней вторую проставку, соединенную тыльным фланцем с ответным фланцем мерной проставки, которая в свою очередь аналогично соединена с промывочной проставкой, а та через последнюю по ходу рабочего тела промывочной проставку, объединена с оконечной проставкой ВУ, которая телескопически соединена через фланец, наделенный уплотнительным элементом, и через входное кольцо ВНА соединена с ГТД, а также содержит три соосных опорных кольца опорного комплекса ВУ, неподвижно вмонтированных в корпус трубы ВУ между смежными фланцами проставок, два из которых, введенные во фланцевые соединения между первой со второй проставками и мерной и промывочной проставками, наделены каждое нижним опорным уширением в виде радиально приращенной дуги окружности, снабженной дополнительной группой отверстий, выполненных с угловой частотой γд.г.о.>9,5 [ед/рад], соосной с группой ответными отверстий, выполненных в автономном дугообразном кронштейне, жестко прикрепленном к верхней части направляющей балки, а третье опорное кольцо введено во фланцевое соединение между промежуточной и оконечной проставками, выполнено с двумя боковыми уширениями и разъемно прикреплено к укороченным стойкам, опертым на наклонные боковые стойки опорной рамы ВУ, снабженные понизу каждая не менее чем одним колесом, причем направляющая балка ВУ регулируемо оперта тыльным по ходу рабочего тела концом через талреп на нижний поперечный элемент опорной рамы ВУ с возможностью подвижной или стационарной передачи нагрузки через колеса наклонных стоек рамы на направляющий элемент типа швеллера с двумя оппозитными нижней опорной и верхней страховочной полками, установленный на опорной раме ГТД ГТУ ГПА, а передним концом балка ВУ подвижно оперта на неподвижную стойку-подставку, снабженную в верхней части опорным колесом с возможностью хода возвратных осевых монтажных и эксплуатационных перемещений ВУ на длину не менее длины хвостовой затурбинной части СТ, считая от выходного фланца за последним рабочим колесом СТ.

[25]

При этом группы отверстий под крепежные элементы в пластинах боковых уширений третьего опорного кольца, введенного между ответными фланцами промежуточной и оконечной проставками трубы ВУ, а также в пластинах боковых уширений стоек, опертых на наклонные элементы опорной рамы ВУ, могут быть выполнены с угловой частотой уо.п., определенной в диапазоне значений γо. п.=(0,087÷0,12) [ед/рад], кроме того опорный комплекс снабжен стопорными фиксаторами стационарного эксплуатационного положения ВУ, выполненными в узлах опирания наклонных стоек рамы ВУ на нижнюю опорную поверхность направляющих опорного комплекса ВУ с возможностью разъединения колес с опорной поверхностью направляющих и перевода опирания каждой из стоек рамы на стационарный стопорный фиксатор, а в узле регулируемого подвижного опирания направляющей балки ВУ на опорное колесо верхнего конца стойки с возможностью прижатия колеса к нижней поверхности балки посредством тяги, соединяющей с регулируемым усилием последнюю со стойкой.

[26]

Технический результат, достигаемый приведенной совокупностью существенных признаков группы изобретений, объединенных единым творческим замыслом, заключается в повышении надежности, эффективности и ресурса работы ГПА за счет улучшения конструктивных, аэродинамических и энергетических параметров входного устройства, выполненного в виде соосной с осью двигателя трубы с лемнискатным входом для обеспечения плавного, без срывов и завихрений, захода воздуха из камеры всасывания на вход в газотурбинный двигатель. Большая протяженность входного устройства обеспечивает достижение требуемых характеристик по неравномерности воздушного потока, достигая тем самым повышение КПД, безопасной работы и ресурса двигателя ГПА в процессе эксплуатации. Предлагаемый в изобретении опорный комплекс входного устройства выполнен с возможностью монтажно-демонтажных ограниченных перемещений входного устройства вдоль оси двигателя, для чего снабжен размещенной под трубой ВУ направляющей балкой с возможностью подвижной или стационарной передачи нагрузки на направляющий элемент, установленный на опорной раме ГТД, и неподвижной стойкой, снабженную в верхней части опорным колесом с возможностью хода возвратных осевых перемещений ВУ, чем достигают повышение безопасной работы и ресурса входного устройство ГПА при одновременном снижении материалоемкости и энергозатрат при проведении монтажных и эксплуатационных работ.

[27]

Сущность группы изобретений поясняется чертежами, где:

[28]

на фиг. 1 изображен газоперекачивающий агрегат, вид сверху;

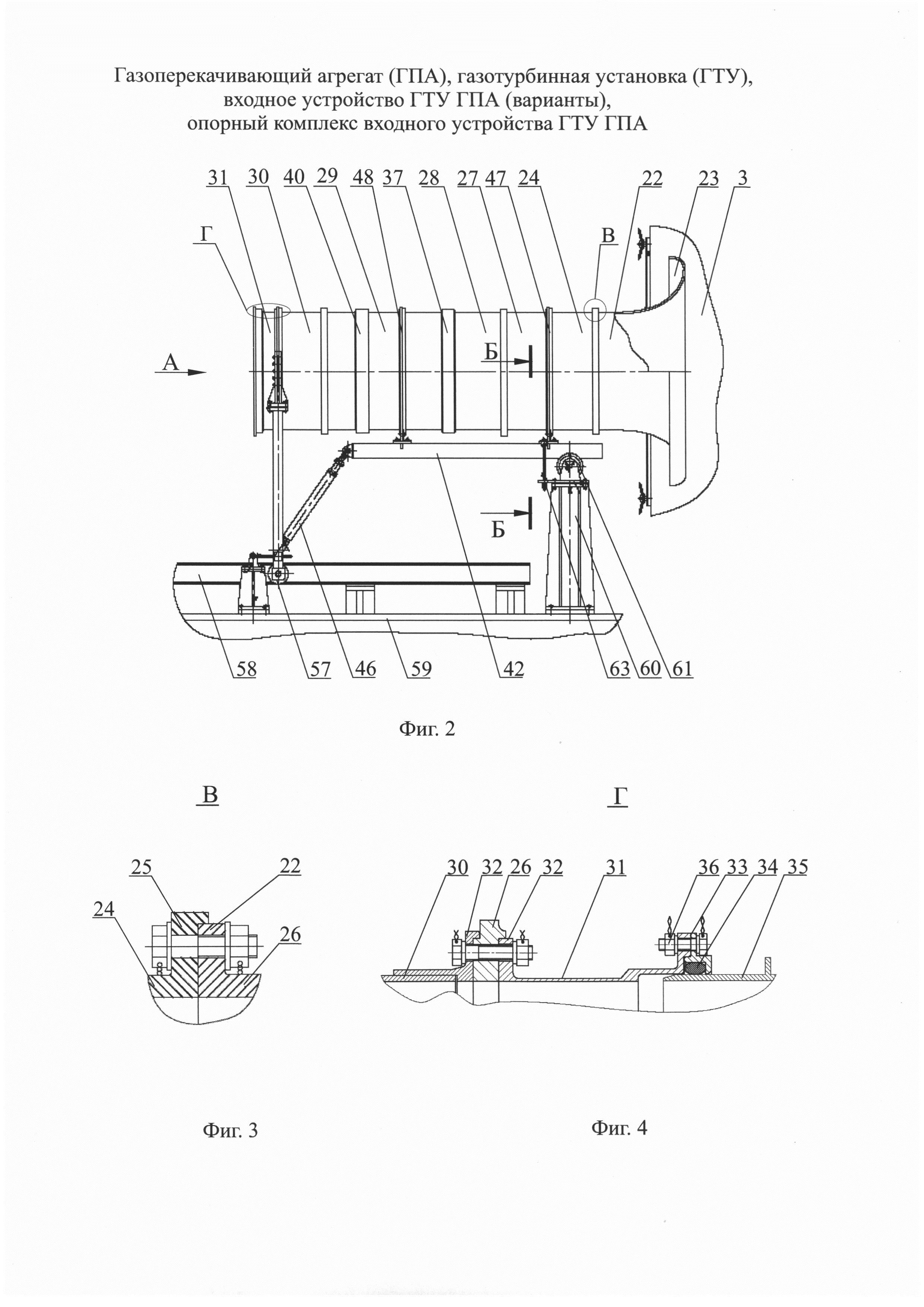
[29]

на фиг. 2 - входное устройство с опорным комплексом, вид сбоку;

[30]

на фиг. 3 - фрагмент входного устройства - фланцевое соединение входного насадка с первой проставкой трубы, вид В на фиг. 2;

[31]

на фиг. 4 - фрагмент входного устройства - фланцевое соединение оконечной проставки трубы и кольца ВНА ГТД, вид Г на фиг. 2;

[32]

на фиг. 5 - опорный комплекс входного устройства, вид по А на фиг. 2;

[33]

на фиг. 6 - разрез по Б-Б на фиг. 1;

[34]

на фиг. 7 - мерная проставка входного устройства, продольный разрез;

[35]

на фиг. 8 - промывочная проставка входного устройства, продольный разрез;

[36]

на фиг. 9 - фрагмент мерной проставки, вид Д на фиг. 7;

[37]

на фиг. 10 - фрагмент промывочной проставки, вид Е на фиг. 8.

[38]

Газоперекачивающий агрегат компрессорной станции содержит последовательно сообщенные по рабочему телу: тракт всасывания воздуха, газотурбинную установку ГПА, тракт выхлопа отработанных газов и систему охлаждения ГТД.

[39]

Тракт всасывания воздуха включает комплексное воздухоочистительное устройство КВОУ-1, всасывающий воздуховод 2 и двухсекционную камеру 3 всасывания воздуха.

[40]

Газотурбинная установка ГТУ включает входное устройство 4 в виде соосной с осью двигателя трубы для подачи воздуха из камеры 3 всасывания на вход в газотурбинный двигатель 5, имеющий модуль газогенератора ГГ-6 и газодинамически связанный с модулем ГГ модуль силовой турбины СТ-7, а также соединенный с СТ газоотвод 8, выполненный в виде улитки. Модуль ГГ-6 включающий в качестве функциональных узлов компрессоры КНД и КВД, камеру сгорания, двухступенчатую турбину, имеющую ступень ТНД, связанную валом ротора низкого давления с КНД и ТВД, объединенную соосным валом ротора высокого давления с КВД. СТ-7 выполнена осевой, имеет корпус с многоступенчатым сопловым аппаратом и вал ротора с рабочими колесами ступеней СТ, имеющими лопаточные венцы, газодинамически сообщенные с потоком рабочего тела.

[41]

Тракт выхлопа отработанных газов сообщен газоходом 9 на входе по потоку рабочего тела из СТ-7 с газоотводом 8 и на выходе с завершающей тракт выхлопа выхлопной трубой 10 ГПА, которая в свою очередь сообщена с теплообменником 11 утилизатора теплоты с автономной выхлопной трубой 12.

[42]

Газовый компрессор - нагнетатель 13 центробежного типа сообщен по крутящему моменту с валом СТ-7 посредством трансмиссии, включающей промежуточный вал 14, а также по рабочему телу - перекачиваемому газу с подводящим газопроводом на входе и с отводящим на выходе.

[43]

Система охлаждения ГТД включает воздухозаборник 15, по меньшей мере, один нагнетающий вентилятор 16 (основной или резервный), нагнетающий воздуховод 17 с распределительным коробом 18 и отводящий воздуховод 19. Система охлаждения ГТД выполнена с возможностью равномерного охлаждения двигателя посредством регулирования распределения потока охлаждающего воздуха. ГТД установлен в защитном кожухе 20, выполненном для шумоизоляции работающего ГТД и защиты технического персонала.

[44]

Входное устройство 4 ГТУ включает трубу 21 с аэродинамическим входным насадком 22, который заведен в верхнюю секцию камеры 3 всасывания. Входной насадок 22 выполнен с раструбом 23 с конфигурацией продольного сечения в виде кривой второго порядка типа фрагмента лемнискаты с осредненным градиентом Gвх.н. убывания площади поперечного сечения проточной части на длине Lвх.н. насадка 22 по потоку рабочего тела от Fmax п.ч. раструба насадка до Fminп.ч. проточной части трубы 21, определенным в диапазоне значений

[45]

Gвх.н.=(Fmax п.ч.-Fmin п.ч.)/Lвх.н.=(1,15-1,58) [м2/м].

[46]

Труба 21 ВУ-4 имеет площадь поперечного сечения, равную площади поперечного сечения проточной части ВНА двигателя. Максимальный диаметр Dmax вх.н. входного контура раструба 23 насадка 22, образованного совокупностью точек касания условной плоскости к вершинам раструба, выполнен превышающем минимальный диаметр проточной части на выходе из насадка 22 в N раз и определен в диапазоне значений

[47]

N=(Dmax вх.н./Dmin п.ч.)=(1,4÷2,1).

[48]

Труба 21 ВУ-4 выполнена сборной и включает разъемные проставки. Первая по потоку рабочего тела проставка 24 с одной стороны соединена фронтальным фланцем 25 с ответным фланцем 26 входного насадка 22 и с другой стороны - с примыкающей к ней второй проставкой 27, соединенной через фланцы с мерной проставкой 28, которая в свою очередь аналогично соединена с промывочной проставкой 29. Промывочная проставка 29 через промежуточную проставку 30 объединена с оконечной проставкой 31 трубы 21, телескопически соединенной с ВНА ГТД.

[49]

Проставки герметично соединены между собой через фланцы 32 крепежными элементами, установленными с угловой частотой γо.ф.п., определенной в диапазоне значений

[50]

γо.ф.п.=(N/2π)=(3,184÷4,46) [ед/рад],

[51]

где N - число крепежных элементов.

[52]

Оконечная проставка 31 трубы ВУ-4 соединена с ВНА через сборный фланец 33, содержащий П-образную выемку, в которой установлен уплотнительный кольцевой элемент 34 исходной торообразной формы и через ответное входное кольцо 35 ВНА сообщена по потоку рабочего тела с ГТД, при этом ответные фланцы герметично соединены крепежными элементами 36, установленными с угловой частотой γс.ф., определенной в диапазоне значений γс.ф.=(1,27÷2,23) [ед/рад].

[53]

Мерная проставка 28 трубы 21 ВУ-4 выполнена с кольцевым утолщением 37 в средней части осевой длины проставки 28, имеющем функцию элемента жесткости корпуса проставки. Мерная проставка 28 содержит отверстия 38 для установки проходников 39 для измерения статического давления на входе в ВНА ГТД, равномерно разнесенные по периметру кольцевого утолщения 37 с угловой частотой γо.м.п., определенной в диапазоне значений γо.м.п.=(0,324÷1,12) [ед/рад].

[54]

Промывочная проставка 29 снабжена кольцевым утолщением 40 с функцией ребра жесткости, в котором выполнены отверстия 41 с возможностью установки в последние съемных заглушек 42, заменяемых на периоды промывки ГТД съемными промывочными форсунками. Отверстия 41 под заглушки/форсунки равномерно разнесены по периметру кольцевого утолщения 40 проставки 29 с угловой частотой γо.з.ф., определенной в диапазоне значений γо.з.п.=(1,59÷2,39) [ед/рад].

[55]

Входное устройство ВУ-4 установлено на опорном комплексе, выполненном с возможностью монтажно-демонтажных ограниченных перемещений входного устройства вдоль оси двигателя. Опорный комплекс содержит размещенную под трубой 21 ВУ направляющую балку 42 и трапецеидальную опорную раму 43 с нижним и верхним поперечными элементами 44, 45. Тыльный конец направляющей балки 42 через талреп 46 регулируемо соединен с нижним поперечным элементом 44 опорной рамы 43.

[56]

ВУ-4 крепится к опорному комплексу в передней, средней и задней части. Для чего труба 21 наделена опорными кольцами.

[57]

Одно опорное кольцо 47 установлено во фланцевых соединениях между первой и второй проставками 24 и 27, второе кольцо 48 - между мерной и промывочной проставками 28 и 29. Каждое из колец 47, 48 снабжено в нижней части опорным уширением 49 для разъемного соединения понизу крепежными элементами с направляющей балкой 42. Опорное уширение 49 колец 47, 48 выполнено в виде радиально приращенной дуги окружности, снабженной группой отверстий 50, выполненных с угловой частотой γд.г.о.>9,5 [ед/рад], соосной с группой отверстий выполненных ответными в автономном дугообразном кронштейне 51, который жестко прикреплен к верхней части направляющей балки 42.

[58]

Третье опорное кольцо 52 трубы 21 ВУ-4 введено во фланцевое соединение промежуточной и оконечной проставками 30 и 31. Опорное кольцо 52 снабжено двумя боковыми уширениями 53, выполненных с отверстиями 54 для разъемного соединения посредством крепежных элементов с ответными элементами стоек 55. Стойки 55 оперты на наклонные боковые стойки 56 опорной рамы ВУ. Группы отверстий 54 под крепежные элементы в пластинах боковых уширений 53 третьего опорного кольца 52 и в ответных пластинах боковых уширений стоек 55 выполнены с угловой частотой γо.п., определенной в диапазоне значений γо.п.=(0,087÷0,12) [ед/рад].

[59]

Боковые стойки 55 опорной рамы снабжены каждая понизу не менее чем одним колесом 57, установленным в направляющей 58 типа швеллера (рельса) с двумя оппозитными нижней опорной и верхней страховочной полками установленными на раме 59 ГТД. При этом направляющая балка 42 регулируемо соединена через талреп 46 с нижним поперечным элементом 44 по ходу рабочего тела рамы 43 с возможностью подвижной передачи нагрузки через колеса 56 наклонных стоек 55 рамы на направляющей 58 опорного комплекса ГТУ ГПА. Передним концом балка 42 подвижно оперта на неподвижную стойку 60, которая снабжена в верхней части опорным колесом 61 с возможностью осевых монтажных и эксплуатационных перемещений трубы ВУ на длину не менее длины хвостовой затурбинной части СТ-7, считая от выходного фланца за последним рабочим колесом СТ.

[60]

Опорный комплекс снабжен стопорными фиксаторами 62 стационарного эксплуатационного положения ВУ, выполненными в узлах опирания наклонных стоек 55 рамы ВУ на нижнюю опорную поверхность направляющих 58 опорного комплекса ВУ с возможностью разъединения колес 57 с опорной поверхностью направляющих и перевода опирания каждой из стоек 55 рамы на стационарный стопорный фиксатор 62. В узле регулируемого подвижного опирания балки 43 на опорное колесо 61 стойки 60 с возможностью прижатия колеса 61 к нижней поверхности балки 42 посредством тяги 63, соединяющей с регулируемым усилием балку 42 со стойкой 60.

[61]

Работа ГПА осуществляется следующим образом.

[62]

Перед запуском ГПА выполняют предпусковые работы. Перед запуском выполняют заполнение контура газовых систем ГПА топливным и пусковым газом. Выполняют запуск ГПА. По команде «Запуск» с пульта управления из магистрального трубопровода пусковой газ поступает в газовый стартер двигателя, который начинает раскручивать РВД. Одновременно атмосферный воздух через КВОУ-1, где он подогревается с помощью противообледенительной системы (ПОС) (при необходимости) и проходит очистку до требуемых параметров. Через тракт всасывания и камеру 3 всасывания воздуха воздушный поток поступает в ВУ-4, выполненное в виде соосной с осью двигателя трубы с лемнискатным входом для обеспечения плавного, без срывов и завихрений, захода воздуха из камеры всасывания на вход в КНД и затем в КВД двигателя 5. Большая протяженность трубы ВУ-4 обеспечивает достижение требуемых характеристик по неравномерности воздушного потока. В компрессоре ГТД воздух сжимается, в результате чего повышается его температура и давление. После этого подготовленное рабочее тело поступает в камеру сгорания. Через контрольный промежуток времени по сигналу САУиР ГПА в камеру сгорания начинается подача топливного газа. Происходит перемешивание сжатого воздуха с топливным газом и воспламенением топливовоздушной смеси из камеры сгорания. Топливовоздушная смесь сгорает в камере сгорании, продукты сгорания поступают в модуль ГГ-6. Кинетическая энергия продуктов сгорания при расширении на рабочих лопатках модуля ГГ-6 преобразуется в механическую работу компрессора без помощи газового стартера. Через контрольный промежуток времени по циклограмме САУиР подача пускового газа прекращается. После модуля ГГ-6 продукты сгорания поступают в СТ-7, где кинетическая энергия продуктов сгорания при расширении на рабочих лопатках турбины СТ также преобразуется в механическую работу вращения ротора СТ. Ротор СТ-7 через промежуточный вал 14 вращает ротор центробежного нагнетателя 13. В нагнетателе 13 компрессор сжимает природный газ, отбираемый из магистрального трубопроводов, до требуемых параметров. Из нагнетателя 13 сжатый технологический газ поступает в станционную систему охлаждения, откуда, после охлаждения, направляется обратно в магистральный трубопровод для дальнейшей транспортировки. После СТ-7 двигателя 5 продукты сгорания через газоотвод 8 поступают в газоход 9 тракт выхлопа, откуда через выхлопную трубу 10 ГПА выходят в атмосферу. Конструкция тракта выхлопа обеспечивает рассеивание в окружающей атмосфере вредных выбросов до требуемого уровня ПДК. При наличии теплообменника 11 утилизатора теплоты в системе тракта выхлопа до выхода в атмосферу часть горячих продуктов сгорания осуществляет подогрев теплоносителя для нужд КС и затем через выхлопную трубу 12 системы выхлопа теплоутилизатора теплоты выбрасываются в атмосферу.

[63]

Таким образом, за счет улучшения конструктивных, аэродинамических и энергетических параметров входного устройства, выполненного в виде соосной с осью двигателя трубы с лемнискатным входом для обеспечения плавного, без срывов и завихрений, захода воздуха из камеры всасывания на вход в газотурбинный двигатель, а большая протяженность входного устройства обеспечивает достижение требуемых характеристик по неравномерности воздушного потока, достигая тем самым повышение КПД, безопасной работы и ресурса двигателя процессе эксплуатации в составе газоперекачивающих агрегатов для транспортировки газа или газотурбинной электростанции.

Как компенсировать расходы
на инновационную разработку
Похожие патенты