патент
№ RU 2250153
МПК B22D41/00

СПОСОБ ЛИТЬЯ МЕТАЛЛА В ВАКУУМЕ И УСТРОЙСТВО ДЛЯ ЕГО ОСУЩЕСТВЛЕНИЯ

Авторы:
Елисеев Ю.С. Хайченко В.Е. Виноградов В.А.
Все (7)
Номер заявки
2003127775/02
Дата подачи заявки
16.09.2003
Опубликовано
20.04.2005
Страна
RU
Как управлять
интеллектуальной собственностью
Чертежи 
8
Реферат

[55]

Изобретение может быть использовано для производства сплавов на основе Ni, Fe, Al, изготовления из них отливок точным литьем в вакууме и при выплавке шихтовых заготовок. В плавильной печи создают электромагнитное поле, посредством которого расплавляют и перемешивают металл в тигле в условиях вакуума. В части объема тигля посредством разделительной перегородки формируют пространство, свободное от воздействия электромагнитного поля. При перемешивании металла неметаллические включения перемещаются в вертикальном направлении. Через отверстия в разделительной перегородке включения поступают в пространство, образованное разделительной перегородкой, и всплывают. Последующую очистку металла от неметаллических включений осуществляют при сливе металла из тигля через фильтрующие элементы. Обеспечивается повышение чистоты металла в тигле печи и в отливке.2 с. и 23 з.п. ф-лы, 9 ил.

[56]

Формула изобретения

1. Способ литья металла, включающий подачу токовой нагрузки на индуктор печи, создание электромагнитного поля, посредством которого расплавляют и перемешивают металл в тигле плавильной печи, отличающийся тем, что в части объема тигля формируют пространство, свободное от воздействия электромагнитного поля, и осуществляют перетекание в него части расплавленного металла для очистки металла от неметаллических включений, отключают токовую нагрузку, выдерживают расплавленный металл и сливают, причем литье металла осуществляют в вакууме.

2. Способ по п.1, отличающийся тем, что после отключения токовой нагрузки расплавленный металл выдерживают в течение не менее 1 мин.

3. Способ по п.1 или 2, отличающийся тем, что в процессе слива расплавленный металл разделяют, по меньшей мере, на две части.

4. Способ по любому из пп.1-3, отличающийся тем, что в процессе слива расплавленного металла осуществляют его раскисление.

5. Устройство для литья металла, содержащее индуктор, корпус тигля с донным выпускным отверстием, втулку для слива металла, стопор, крышку и разделительную перегородку, в которой выполнено, по меньшей мере, одно отверстие, отличающееся тем, что разделительная перегородка выполнена соприкасающейся с крышкой и дном корпуса тигля и охватывающей стопор с образованием пространства, свободного от воздействия электромагнитного поля, при этом устройство снабжено фильтром.

6. Устройство по п.5, отличающееся тем, что разделительная перегородка выполнена в виде цилиндра.

7. Устройство по п.7, отличающееся тем, что фильтр выполнен в виде втулки для слива металла с размещенными в выпускном отверстии фильтрующими элементами.

8. Устройство по п.5, отличающееся тем, что фильтр выполнен присоединенным к корпусу тигля посредством крепежного элемента.

9. Устройство по п.8, отличающееся тем, что втулка для слива металла выполнена в виде крепежного элемента.

10. Устройство по п.9, отличающееся тем, что втулка для слива металла выполнена сменной.

11. Устройство по п.10, отличающееся тем, что сменные втулки для слива металла имеют различные площади выпускного отверстия.

12. Устройство по п.8, отличающееся тем, что фильтр выполнен в виде пустотелого элемента, заполненного фильтрующим составом.

13. Устройство по п.8, отличающееся тем, что фильтр выполнен в виде пустотелого элемента, в котором размещены горизонтально расположенные пластины с отверстиями.

14. Устройство по п.13, отличающееся тем, что пластины снабжены упорами, фиксирующими расстояние между ними.

15. Устройство по п.13 или 14, отличающееся тем, что пустотелый элемент выполнен сборным, например, из корпуса и крышки.

16. Устройство по п.5, отличающееся тем, что оно снабжено перфорированной перегородкой, размещенной на выходе из фильтра.

17. Устройство по п.5, отличающееся тем, что оно снабжено перфорированной перегородкой, размещенной на входе в фильтр.

18. Устройство по п.16 или 17, отличающееся тем, что отверстия перегородки имеют форму усеченного конуса.

19. Устройство по п.5, отличающееся тем, что крышка выполнена составной, по меньшей мере, из двух частей.

20. Устройство по п.19, отличающееся тем, что в одной из частей крышки выполнено отверстие для фиксации разделительной перегородки.

21. Устройство по п.19, отличающееся тем, что в одной из частей крышки выполнено отверстие для фиксации термопары.

22. Устройство по п.19, отличающееся тем, что крышка выполнена с возможностью фиксации ее частей относительно друг друга и корпуса.

23. Устройство по п.5, отличающееся тем, что стопор выполнен с возможностью установки в нем термопары.

24. Устройство по п.5, отличающееся тем, что корпус тигля выполнен, по меньшей мере, из двух частей.

25. Устройство по п.19, отличающееся тем, что в одной из частей крышки выполнено технологическое отверстие.

Описание

[1]

Изобретения относятся к области литейного производства и могут быть использованы для производства сплавов на основе Ni, Fe и Аl, а также изготовления отливок из этих сплавов точным литьем в вакууме и при выплавке шихтовых заготовок.

[2]

Известен способ литья деталей в вакууме с использованием плавки в тигле индукционной печи и донным сливом расплава (заявка Японии №51-26297, В 22 D 27/16, опубл. 1976 г.) - аналог.

[3]

После расплавления сплава стопор, выполненный в виде керамического шарика и закрывающий отверстие для слива расплава, всплывает и происходит заливка расплава в форму.

[4]

Данный способ не позволяет производить очистку расплава.

[5]

Известен способ снижения количества включений в расплаве при литье в вакууме (патент Великобритании №1504280, С 22 В 9/00, опубл. 15.03.1978 г.) - аналог.

[6]

В соответствии с данным способом для снижения количества неметаллических включений поверхностный слой плавильного тигля выполняют вязким, и к нему в процессе перемешивания расплава магнитным полем индуктора прилипают неметаллические включения.

[7]

Недостатком данного решения является то, что при интенсивном перемешивании расплавленного металла в процессе его расплавления и перегрева для технологических нужд вязкий слой может быть частично смыт и может служить дополнительным источником загрязнения расплава.

[8]

Известен способ литья металлов с использованием литейной формы (патент СН №602235, В 22 D 41/00, опубл. 31.07.1978 г.) - прототип.

[9]

Известный способ литья металла позволяет получать очищенный от шлаков и “успокоенный” металл путем равномерного температурного его распределения в литейной форме. Кроме того, траектория подачи расплавленного металла обеспечивает отсутствие турбулентности в нем.

[10]

Недостатком данного способа является взаимодействие с атмосферой в литейном ковше при его заполнении расплавом, в результате чего окисляется поверхность металла в полости ковша, расположенной вокруг заглушки, (полость 8в) и в полости ковша, расположенной перед перегородкой 24, (полость 8а).

[11]

Таким образом, данный способ не обеспечивает защиту расплава от окисления во всех полостях литейного ковша.

[12]

Известно устройство для отсечки шлака (а.с. СССР №1437145, В 22 D 43/00, БИ №42 за 1988 год) - аналог.

[13]

Недостатком данного устройства является то, что оно не предполагает очистку расплава от мелких частиц и неметаллических включений, так как базируется на отделении легкоплавкого шлака от металла. Скорость всплытия мелких частиц неметаллических окислов в этом случае невозможна, так как устройство не нагревается, а скорость всплытия частиц в виде неметаллических плен и твердых частиц по формуле Стокса на уровень ниже скорости всплытия шлаков. Устройство, содержащее металлические части корпусов, не может быть использовано для подогрева металла в индукционном поле.

[14]

Известно устройство для литья металла (патент СН №602235, В 22 D 41/00, опубл. 31.07.1978 г.) - прототип.

[15]

Устройство для литья металла представляет собой тигель, в котором поверхность дна его полости выполнена с наклоном в направлении от дна канала к сливному отверстию, и между устьем канала и сливным отверстием полость тигля разделяется перегородкой, которая имеет, по меньшей мере, одно сквозное отверстие, расположенное в самой низкой части перегородки.

[16]

Недостатком известного устройства является присутствие окисленного расплава с поверхности в зоне 8 вокруг заглушки 20, что не позволяет очистить расплав, так как присутствует окислительная атмосфера.

[17]

Предлагаемыми изобретениями решается задача улучшения очистки расплавленного металла в тигле индукционной печи и повышения чистоты металла в отливке при осуществлении способа в вакууме, и, кроме того, предлагаемое устройство позволяет улучшить технологичность процессов его сборки, разборки и работы.

[18]

Для получения такого технического результата в предлагаемом способе литья металла на индуктор плавильной печи подают токовую нагрузку и создают электромагнитное поле, посредством которого расплавляют и перемешивают металл в тигле плавильной печи, причем в части объема тигля формируют пространство, свободное от воздействия электромагнитного поля, и осуществляют перетекание в него части расплавленного металла для очистки металла от неметаллических включений, отключают токовую нагрузку и выдерживают расплавленный металл с последующим его сливом, причем литье металла осуществляют в вакууме.

[19]

В способе литья металла после отключения токовой нагрузки расплавленный металл могут выдерживать не менее 1 минуты.

[20]

В способе литья металла в процессе слива расплавленный металл могут разделять, по меньшей мере, на две части.

[21]

В способе литья металла в процессе слива расплавленного металла могут осуществлять его раскисление.

[22]

Для получения заявленного технического результата устройство для литья металла содержит индуктор, корпус тигля с донным выпускным отверстием, втулку для слива металла, стопор, крышку и разделительную перегородку, в которой выполнено, по меньшей мере, одно отверстие, причем разделительная перегородка выполнена соприкасающейся с крышкой и дном корпуса тигля и охватывающей стопор с образованием пространства, свободного от воздействия электромагнитного поля, при этом устройство снабжено фильтром.

[23]

В устройстве для литья металла фильтр может быть выполнен присоединенным к корпусу тигля посредством крепежного элемента.

[24]

В устройстве для литья металла втулка для слива металла может быть выполнена в виде крепежного элемента и может быть выполнена сменной.

[25]

В устройстве для литья металла сменные втулки для слива металла могут иметь различные площади выпускного отверстия.

[26]

В устройстве для литья металла фильтр может быть выполнен в виде пустотелого элемента, заполненного фильтрующим составом, и в пустотелом элементе могут быть размещены горизонтально расположенные пластины с отверстиями, причем пластины могут быть снабжены упорами, фиксирующими расстояние между ними.

[27]

В устройстве для литья металла пустотелый элемент может быть выполнен сборным, например, из корпуса и крышки.

[28]

Устройство для литья металла может быть снабжено перфорированной перегородкой, размещенной на выходе из фильтра.

[29]

Устройство для литья металла может быть снабжено перфорированной перегородкой, размещенной на входе в фильтр.

[30]

В устройстве для литья металла отверстия решетки могут иметь форму усеченного конуса.

[31]

В устройстве для литья металла крышка может быть выполнена составной, по меньшей мере, из двух частей.

[32]

В устройстве для литья металла в одной из частей крышки может быть выполнено отверстие для фиксации разделительной перегородки.

[33]

В устройстве для литья металла в одной из частей крышки может быть выполнено отверстие для фиксации термопары.

[34]

В устройстве для литья металла крышка может быть выполнена с возможностью фиксации ее частей относительно друг друга и корпуса.

[35]

В устройстве для литья металла стопор может быть выполнен с возможностью размещения в нем термопары.

[36]

В устройстве для литья металла корпус тигля может быть выполнен, по меньшей мере, из двух частей.

[37]

В устройстве для литья металла в крышке может быть выполнено технологическое отверстие.

[38]

Предлагаемые изобретения иллюстрируются чертежами, представленными на фиг.1-9, на которых изображены:

[39]

на фиг.1 - схема устройства для осуществления предложенного способа (в разрезе);

[40]

на фиг.2 - увеличенный фрагмент А фиг.1 без фильтрующих элементов;

[41]

на фиг.3 - увеличенный фрагмент А фиг.1 без втулки для слива расплавленного металла;

[42]

на фиг.4 - вид сверху на фиг.1;

[43]

на фиг.5 - разрез Б-Б;

[44]

на фиг.6 - вариант выполнения фильтра, прикрепленного к сливной втулке и заполненного фильтрующим составом;

[45]

на фиг.7 - вариант выполнения фильтра с горизонтально расположенными пластинами;

[46]

на фиг.8 - схема слива расплавленного металла из тигля;

[47]

на фиг.9 - стопор с налипшими частицами неметаллических включений.

[48]

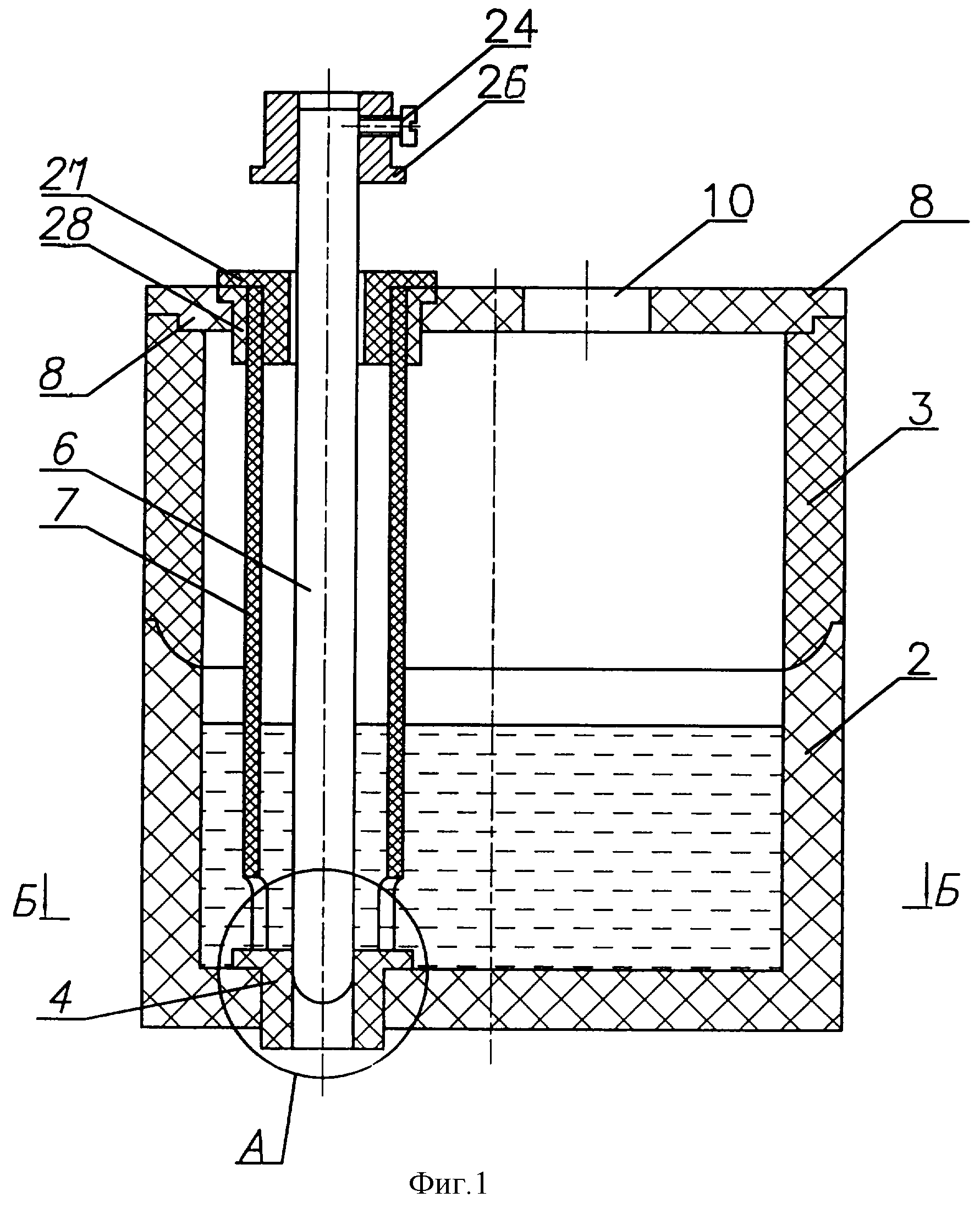
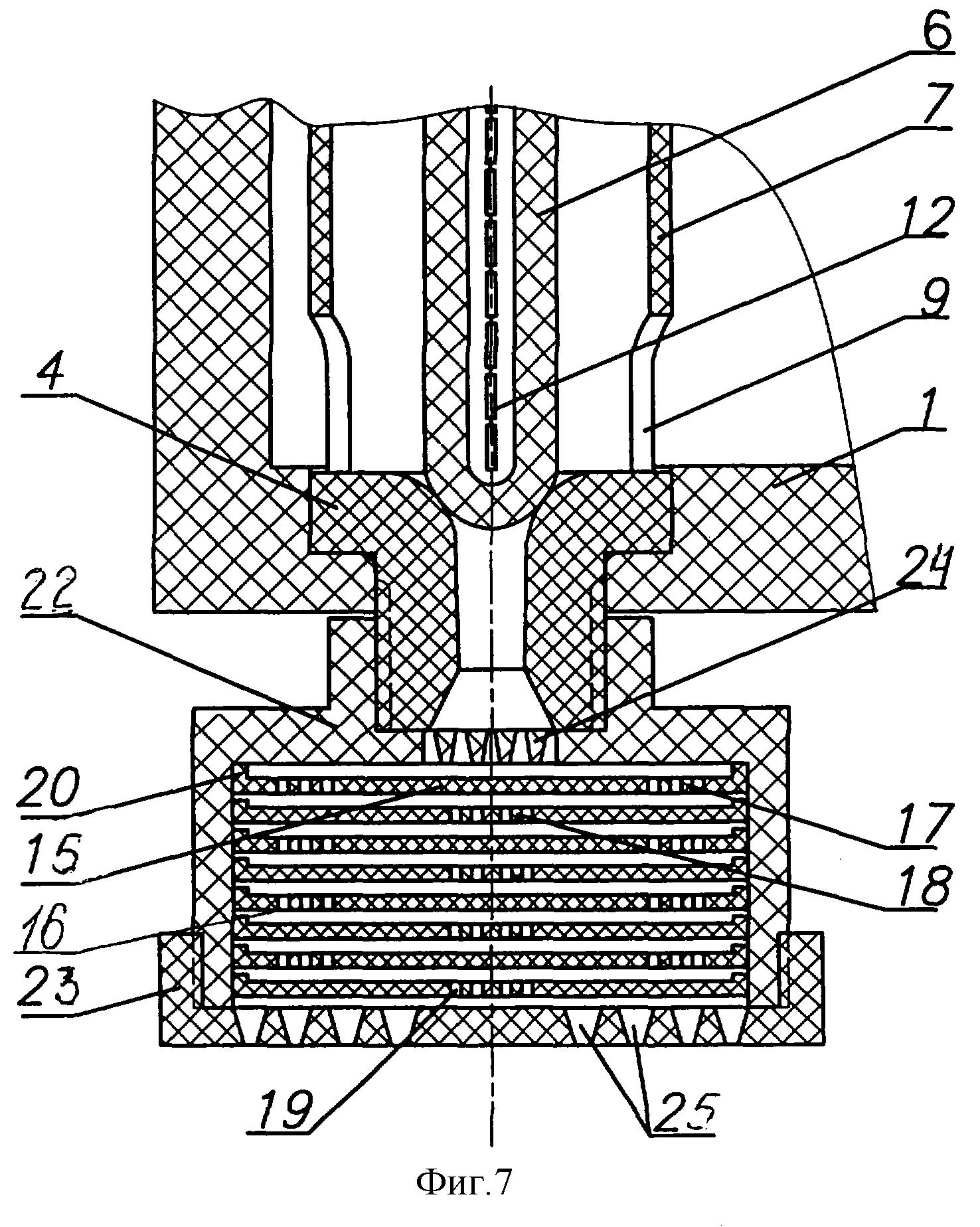
Устройство содержит корпус 1 тигля, который может состоять из плавильной чаши 2 тигля и надставки 3 корпуса 1 тигля. В корпусе 1 тигля размещена втулка 4 для слива расплавленного металла, расположенная в донном выпускном отверстии 5 корпуса 1 тигля. В корпусе 1 тигля расположен также стопор 6, выполненный и размешенный в тигле с возможностью перекрытия донного выпускного отверстия 5. В корпусе 1 тигля размещена разделительная перегородка 7, соприкасающаяся с крышкой 8 устройства и зафиксированная в ней, и с втулкой 4, расположенной в корпусе 1 тигля, и охватывающая размещенный в корпусе 1 стопор 6, причем в разделительной перегородке 7 выполнено, по меньшей мере, одно отверстие 9. В зависимости от количества расплавленного металла, разливаемого в единицу времени, в разделительной перегородке 7 может быть выполнено количество отверстий 9 больше одного, причем их форма, размер поперечного проходного сечения и их расположение относительно дна плавильной чаши 2 тигля может быть различным. Крышка 8 может состоять, например, из двух частей, в одной из частей крышки 8 выполнено технологическое отверстие 10, например, для взятия проб металла в процессе плавки, а в другой части крышки 8 выполнено отверстие 11 для размещения и фиксации термопары 12, причем это отверстие может быть, например, расположено в той части крышки 8, которая предназначена для фиксации разделительной перегородки 7 стопора 6. Крышка 8 выполнена с возможностью фиксации ее частей относительно друг друга и корпуса 1 тигля. Фильтрующие элементы 13 могут быть расположены непосредственно во втулке 4 донного выпускного отверстия 5, образуя с ней фильтр 14. Однако фильтр 14 может иметь другую конструкцию и может присоединяться к корпусу 1 посредством крепежного элемента. В качестве крепежного элемента может быть использована, например, втулка 4 или какой либо другой конструктивный элемент, который может быть выполнен с возможностью замены. Могут применяться втулки 4 с различной площадью сливного отверстия. Фильтр может быть выполнен, например, в виде пустотелого элемента 15, который может быть заполнен фильтрующими элементами 13. Фильтр 14 может также быть выполнен в виде пустотелого элемента, в котором размещены горизонтально расположенные пластины 15, в которых выполнены отверстия 16, 17, 18, 19. Пластины 15 снабжены упорами 20, а пустотелый элемент фильтра 14 может быть выполнен составным из нескольких частей, например из корпуса 22 и крышки 23. В корпусе 22 и крышке 23 может быть выполнена перфорация с формой отверстий 24 и 25, например, в виде усеченного конуса. Стопор 6 может быть выполнен пустотелым с возможностью размещения в нем термопары 12. Стопор 6 в верхней части разделительной перегородки 7 фиксируется направляющей втулкой 26, которая обеспечивает вертикальное перемещение стопора 6.

[49]

Способ литья металла в вакууме осуществляется следующим образом. В плавильной чаше 2 тигля находится расплавленный металл, поверхность которого находится ниже границы соединения плавильной чаши 2 тигля и надставки 3 корпуса 1 тигля. Расплавленный металл перемешивается электромагнитным полем индуктора, причем при расплавлении металла неметаллические включения перемещаются вместе с ним в плавильной чаше 2 тигля в вертикальном направлении. Через отверстия 9 в разделительной перегородке 7, расположенной вокруг стопора 6, неметаллические включения попадают внутрь пространства, образованного разделительной перегородкой 7 и ограниченного ею. Расплавленный металл в пространстве, образованном разделительной перегородкой, не подвержен воздействию электромагнитного поля индуктора, что обусловлено экранированием расплавленного металла в основном пространстве плавильной чаши 2 тигля. Неметаллические включения в пространстве, образованном разделительной перегородкой 7, всплывают и слипаются друг с другом. Происходит первичная стадия очистки расплавленного металла. Вторичная стадия его очистки происходит при снятии электрического напряжения с индуктора перед сливом металла из тигля. Электромагнитные движущие силы исчезают, и неметаллические частицы под действием закона Стокса всплывают на поверхность расплавленного металла. Следующая стадия - очистки от мелкодисперсных взвесей в расплавленном металле осуществляется при его протекании через фильтрующие элементы 13. Поверхность фильтрующих элементов 13 увеличивает эффективность прилипания неметаллических включений к их поверхности, а углеродосодержащее покрытие фильтрующих элементов 13, которое может наноситься на них, позволяет эффективно раскислять неметаллические включения. Фильтр 14, размещенный во втулке 4, и разделительная перегородка 7 стопора 6 предотвращают образование в объеме расплавленного металла крутящейся воронки затягивающей плены и неметаллические включения в струю сливающегося металла. При прохождении расплавленным металлом одной из перфорированных сторон фильтра 14, образующей, например, решетку, поток расплавленного металла разбивается на несколько струй. В результате с увеличением поверхности расплавленного металла обеспечивается более полное удаление из него азота за счет диффузии через поверхность расплавленного металла в струе.

[50]

Устройство работает следующим образом. В плавильную чашу 2 устанавливается втулка 4, к которой с внешней стороны дна плавильной чаши 2 прикрепляется фильтр 14, например, на резьбе, которая покрыта суспензией на основе электрокорунда и этилсиликаита 40, или кремнийорганической смолы с отвердителем. Корпус фильтра 14, представляющий собой пустотелый элемент, заполнен фильтрующими элементами, например, 13 или 15 и закрыт крышкой 22.

[51]

На плавильную чашу 2 устанавливаются надставка 3 корпуса 1 тигля, разделительная перегородка 7 с втулками 27 и 28 и одна из частей крышки, фиксирующая разделительную перегородку 7, размещенную вокруг стопора 6. В разделительную перегородку 7 вставляется направляющая втулка 27 и вводится стопор 6, который прижимается к втулке 4 грузом 26, закрепленным в верхней части стопора 6. В пространство тигля вводятся шихтовые заготовки, которые устанавливаются на дне плавильной чаши 2 тигля, после чего тигель закрывается второй половиной крышки, в которой выполнено технологическое отверстие. Собранный тигель устанавливается в пространство плавильного индуктора. В отверстие крышки, расположенное в половине крышки, которая фиксирует разделительную перегородку, устанавливается размещенная в чехле термопара 12. Тигель готов к работе.

[52]

После вакуумирования установки на индуктор плавильной печи подается токовая нагрузка и производится плавка металла. После расплавления металла производится его очистка, выдержка расплава без токовой нагрузки, например, в течение не менее 1 минуты и слив расплавленного металла путем поднятия стопора 6.

[53]

После развакуумирования установки тигель удаляется из плавильного индуктора, охлаждается и разбирается. Втулка 4 удаляется из плавильной чаши 2 без возможности дальнейшего использования. Плавильная чаша 2, разделительная перегородка 7 и стопор 6 очищаются от плен, контролируются на отсутствие трещин и повторно используются для плавки. Для устранения простоев может использоваться конвейерный способ подготовки тиглей к работе.

[54]

Применение предложенных способа литья металла в вакууме и устройства для его осуществления позволяет повысить чистоту получаемого металла и повысить качество отливок, а применение тигля с крышкой обеспечивает снижение затрат электроэнергии на проведение плавки на 20-25%.

Как компенсировать расходы
на инновационную разработку
Похожие патенты