патент
№ RU 2633010
МПК H01L43/08

МАГНИТОРЕЗИСТИВНЫЙ ДАТЧИК

Авторы:
Грабов Алексей Борисович Суханова Наталья Николаевна Ажаева Людмила Анатольевна
Все (4)
Номер заявки
2016117564
Дата подачи заявки
04.05.2016
Опубликовано
11.10.2017
Страна
RU
Как управлять
интеллектуальной собственностью
Чертежи 
2
Реферат

Изобретение относится к области измерительной техники и может быть использовано в устройствах контроля напряженности магнитного поля и бесконтактного контроля электрического тока. Магниторезистивный датчик тока содержит мостовую измерительную схему из четырех магниторезисторов, сформированных из пленки ферромагнитного сплава в виде параллельных друг другу полосок, закороченных последовательно перемычками из низкорезистивного немагнитного металла и ориентированных к оси легкого намагничивания исходной пленки ферромагнитного сплава в одной паре соседних магниторезисторов под углом +45°, а в другой паре под углом -45°. Отношение ширины b магниторезистивных полосок к их толщине h удовлетворяет соотношению b/h≥1500. Проводник перемагничивания сформирован из пленки немагнитного металла в виде меандра, четыре рабочие полоски которого проходят над магниторезисторами. Техническим результатом является повышение чувствительности к напряженности магнитного поля мостовой измерительной схемы датчика, магниторезисторы которого состоят из полосок, ориентированных под углом 45° к оси легкого намагничивания. 2 ил.

Формула изобретения

Магниторезистивный датчик, содержащий мостовую измерительную схему из четырех магниторезисторов, сформированных из тонкой пленки ферромагнитного сплава в виде четырех рядов, состоящих из параллельных друг другу магниторезистивных полосок, закороченных последовательно перемычками из низкорезистивного немагнитного металла и ориентированных к оси легкого намагничивания исходной пленки ферромагнитного сплава в одной паре соседних магниторезисторов под углом +45°, а в другой паре под углом -45°, отличающийся тем, что отношение ширины b магниторезистивных полосок к их толщине h удовлетворяет соотношению b/h≥1500.

Описание

[1]

Изобретение относится к области измерительной техники, а именно к магниторезистивным датчикам, основанным на использовании анизотропного магниторезистивного эффекта, и может быть использовано в устройствах контроля напряженности магнитного поля и бесконтактного контроля электрического тока.

[2]

Известен магниторезистивный датчик напряженности магнитного поля с нечетной передаточной характеристикой, содержащий мостовую измерительную схему из четырех магниторезисторов, сформированных из пленки магнитомягкого ферромагнитного металла (Патент US №4847584, МКИ H01L 43/00).

[3]

Магниторезисторы в таком датчике представляют собой полоски, изготовленные методами литографии из пленки магнитомягкого ферромагнитного сплава, ориентированные вдоль оси легкого намагничивания (ОЛН) исходной пленки и соединенные последовательно низкорезистивными перемычками из немагнитного металла. С целью формирования нечетной передаточной характеристики на поверхности полосок нанесены так называемые полосы Барбера, представляющие собой низкорезистивные шунты из немагнитного металла, ориентированные под углом 45° к длине полоски. Благодаря наличию низкорезистивных шунтов электрический ток в полосках течет примерно под углом 45° к длине полоски и соответственно к ОЛН полоски. В соседних плечах мостовой схемы полосы Барбера в магниторезистивных полосках ориентированы под углом ±45° к длине полоски. Благодаря этому в отсутствие магнитного поля угол между направлением тока и намагниченностью полосок в соседних плечах моста составляет примерно ±45°. При появлении магнитного поля в направлении, перпендикулярном направлению ОЛН, угол между направлением тока и намагниченностью полосок в соседних плечах моста изменяется в разные стороны (в одних уменьшается, а в других увеличивается), что, в свою очередь, ведет к уменьшению и увеличению сопротивления магниторезисторов в соседних плечах и соответственно к изменению выходного сигнала (разбаланса) мостовой измерительной схемы.

[4]

Недостатком такого датчика является технологическая сложность создания полос Барбера.

[5]

Прототипом предлагаемого технического решения является магниторезистивный датчик напряженности магнитного поля с нечетной передаточной характеристикой содержащий следующие электрически изолированные друг от друга и от подложки функциональные элементы: замкнутую мостовую измерительную схему из четырех магниторезисторов, сформированных из пленки магнитомягкого ферромагнитного сплава, проводник перемагничивания, сформированный в виде меандра из пленки немагнитного металла, и проводник управления, сформированный в виде плоской катушки из пленки немагнитного металла (Патент РФ №2561762 C1, МКИ Н01L 43/08).

[6]

В известном датчике магниторезисторы представляют собой четыре ряда параллельных друг другу магниторезистивных полосок, сформированных из тонкой пленки магнитомягкого ферромагнитного сплава, соединенных последовательно низкорезистивными перемычками из немагнитного металла. При этом в одной паре соседних магниторезисторов полоски ориентированы к оси легкого намагничивания исходной пленки под углом +45°, а в другой паре - под углом -45°. Проводник перемагничивания имеет форму меандра, четыре рабочие полоски которого расположены над магниторезисторами, а одна дополнительная полоска проходит между парами магниторезисторов. Благодаря такому решению ток в рабочих полосках проводника перемагничивания, симметричных относительно дополнительной полоски, направлен в одинаковую сторону. После прохождения импульса тока по такому проводнику намагниченность полосок магниторезисторов устанавливается вдоль ОЛН и ориентирована в резисторах, симметричных относительно дополнительной полоски, в противоположные стороны. При воздействии внешнего магнитного поля, направленного поперек ОЛН, все вектора намагниченности полосок поворачиваются в его направлении, причем в двух магниторезисторах угол между вектором намагниченности и направлением тока в полосках увеличивается, а в двух других уменьшается. Благодаря этому сопротивление магниторезисторов изменяется в разные стороны (у двух увеличивается, а у двух других уменьшается). Магниторезисторы соединены в мостовую измерительную схему полосками из немагнитного металла таким образом, чтобы сопротивление соседних плеч мостовой измерительной схемы изменялось в противоположные стороны. Такой датчик обладает нечетной, практически линейной передаточной характеристикой в диапазоне изменения напряженности магнитного поля ±6 Э.

[7]

Недостатком прототипа является низкая чувствительность его измерительной схемы к напряженности магнитного поля.

[8]

Задачей, поставленной и решаемой настоящим изобретением, является повышение чувствительности к напряженности магнитного поля мостовой измерительной схемы датчика, магниторезисторы которого состоят из полосок, ориентированных под углом 45° к оси легкого намагничивания.

[9]

Указанный технический результат достигается тем, что в магниторезистивном датчике, содержащем мостовую измерительную схему из четырех магниторезисторов, сформированных из тонкой пленки ферромагнитного сплава в виде четырех рядов, состоящих из параллельных друг другу магниторезистивных полосок, закороченных последовательно перемычками из низкорезистивного немагнитного металла и ориентированных к оси легкого намагничивания исходной пленки ферромагнитного сплава в одной паре соседних магниторезисторов под углом +45°, а в другой паре под углом -45°, установлены требования к соотношению между шириной и толщиной магниторезтстивных полосок, а именно в предлагаемом датчике отношение ширины магниторезистивных полосок b к их толщине h удовлетворяет соотношению b/h≥1500.

[10]

Сущность изобретения заключается в том, что увеличение отношения ширины магниторезистивных полосок b к их толщине h позволяет увеличить коэффициент передачи мостовой измерительной схемы датчика, магниторезисторы которого состоят из полосок, ориентированных под углом 45° к оси легкого намагничивания. При выполнении соотношения b/h≥1500 коэффициент передачи мостовой схемы практически достигает максимального значения.

[11]

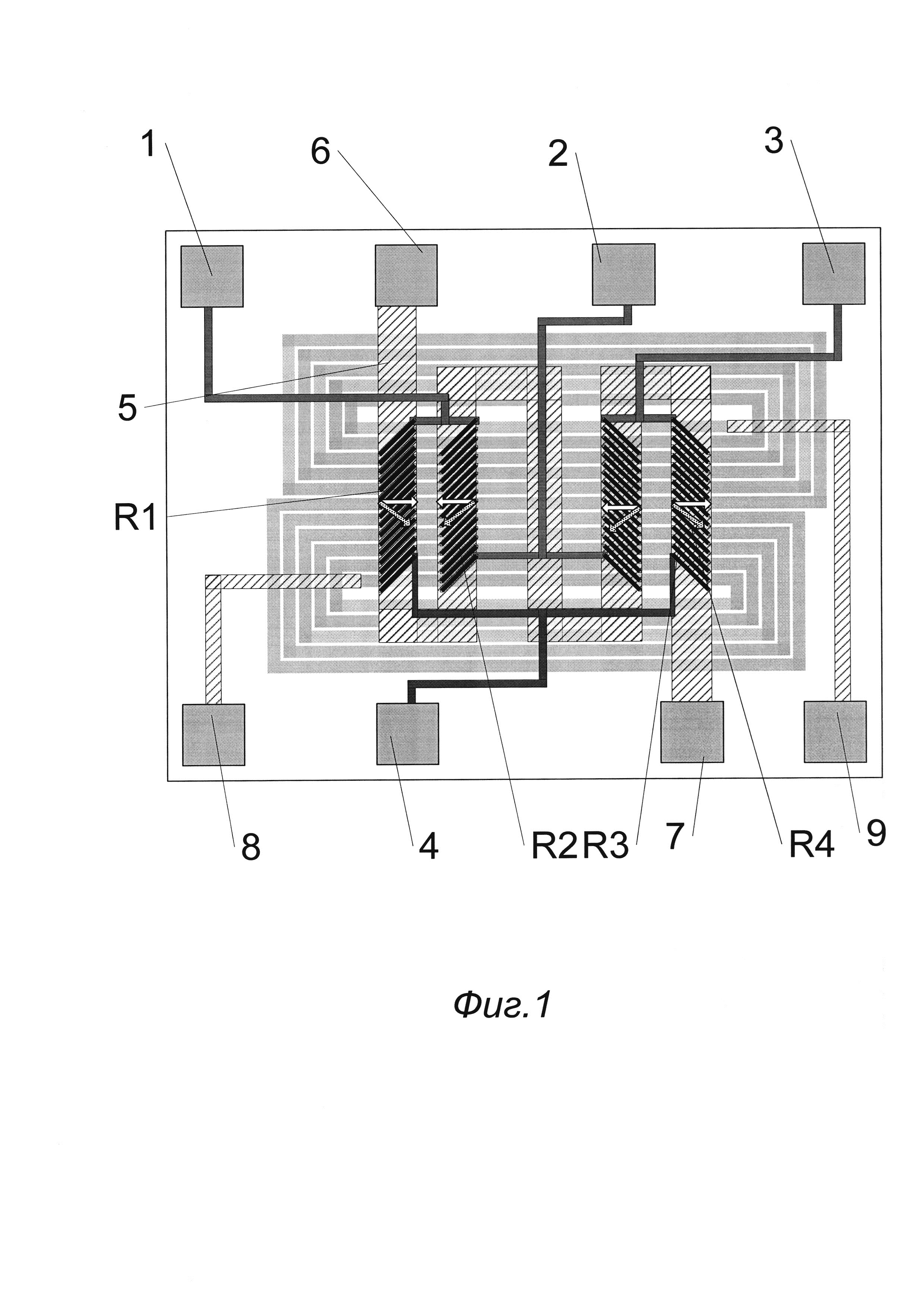
На фиг. 1 показан топологический рисунок датчика (вид сверху).

[12]

На фиг. 2 показана экспериментально полученная зависимость коэффициента передачи мостовой измерительной схемы датчика S от отношения b/h.

[13]

Измерительная схема магниторезистивного датчика представляет собой замкнутый мост, содержащий четыре магниторезистора R1, R2, R3 и R4 в виде параллельных друг другу полосок ферромагнитного сплава, соединенных низкорезистивными перемычками из немагнитного металла, и контактные площадки 1, 2, 3 и 4. Полоски имеют ширину 56 мкм и изготовлены из пленки магнитомягкого ферромагнитного сплава толщиной (20-30) нм. Таким образом, отношение ширины b магниторезистивных полосок к их толщине h может находиться в пределах от 1800 до 2800. Полоски ферромагнитного металла во всех магниторезисторах ориентированы под углом 45° к оси легкого намагничивания (ОЛН) исходной пленки, причем полоски в паре (R1, R2) перпендикулярны полоскам в паре (R3, R4). Проводник перемагничивания 5 содержит контактные площадки 6 и 7 и имеет форму меандра, рабочие полоски которого проходят над магниторезисторами R1, R2, R3 и R4, а дополнительная полоска расположена между парами магниторезисторов (R1, R2) и (R3, R4). Проводник управления сформирован в виде планарной катушки и содержит контактные площадки 8 и 9. Рабочие полоски проводника управления расположены над магниторезисторами и ориентированы вдоль ОЛН ферромагнитной пленки, из которой изготовлены магниторезисторы. Нерабочие полоски проводника управления для уменьшения размеров датчика расположены по обе стороны магниторезисторов.

[14]

Предлагаемый магниторезистивный датчик работает следующим образом. Мостовая измерительная схема с помощью контактов 1 и 3 подключается к источнику электрического питания (например, генератору напряжения), а с помощью контактов 2 и 4 - к измерительному прибору (например, вольтметру). При отсутствии внешнего поля и тока в проводнике управления векторы намагниченности полосок, из которых состоят магниторезисторы, устанавливаются вдоль ОЛН. При подаче через контактные площадки 6 и 7 в проводник перемагничивания короткого импульса тока создаваемое им магнитное поле будет действовать вдоль ОЛН на полоски магниторезисторов R1 и R4 в одном направлении, а на полоски магниторезисторов R2 и R3 в противоположном направлении. Под действием магнитного поля, созданного импульсом тока в проводнике перемагничивания, векторы намагниченности полосок в магниторезисторах R1 и R4 и установятся в одном направлении, а в магниторезисторах R2 и R3 в другом, как показано на фиг. 1. Установившийся после прохождения такого импульса выходной сигнал мостовой измерительной схемы является начальным сигналом (технологическим разбалансом мостовой схемы) магниторезистивного датчика. При появлении внешнего магнитного поля в направлении, перпендикулярном ОЛН, сопротивление магниторезисторов R1, R3 и R2, R4 начинает изменяться в противоположных направлениях, что ведет к изменению выходного сигнала мостовой схемы пропорционально значению напряженности магнитного поля. При пропускании тока по проводнику управления в области расположения магниторезисторов возникает однородное магнитное поле, которое может использоваться для уменьшения технологического разбаланса мостовой схемы или для компенсации паразитного магнитного поля (например, магнитного поля объекта, на котором закреплен датчик).

[15]

Из фиг. 2 видно, что при значениях b/h≥1500 коэффициент передачи датчика практически достигает своего максимального значения. Сравнительные испытания датчика с полосами Барбера и предлагаемого датчика показали, что в диапазоне измерения ±6 Э коэффициенты передачи обоих типов датчиков находятся в пределах (1,0-1,4) мВ/(В⋅Э).

[16]

Техническим результатом предлагаемого решения является повышение чувствительности к напряженности магнитного поля мостовой измерительной схемы датчика, магниторезисторы которого состоят из полосок, ориентированных под углом 45° к оси легкого намагничивания.

Как компенсировать расходы
на инновационную разработку
Похожие патенты