патент
№ RU 2656872
МПК G21K5/08

МИКРОФОКУСНОЕ УСТРОЙСТВО РЕНТГЕНОВСКОГО КОНТРОЛЯ

Авторы:
Шиманский Евгений Юрьевич
Номер заявки
2017130899
Дата подачи заявки
01.09.2017
Опубликовано
07.06.2018
Страна
RU
Как управлять
интеллектуальной собственностью
Чертежи 
4
Реферат

Изобретение относится к средствам неразрушающего контроля и анализа широкого спектра изделий, таких как печатные платы, узлы, электронные компоненты, микросборки и модули и т.д. Устройство включает конструкцию, установленную и закрепленную внутри каркаса, состоящего из жестко соединенных направляющих, и содержит опорную раму, под которой установлена неподвижно и центросимметрично относительно указанной рамы рентгеновская трубка, и блок детектирования, оптически связанный с указанной трубкой. Между указанными трубкой и блоком смонтирован на опорной раме координатный стол с расположенным на нем поддоном для размещения объекта контроля и выполненный с возможностью перемещения по координатным осям X, Y и Z. Ось рабочего пучка рентгеновского излучения трубки направлена по нормали к плоскости опорной рамы. Блок детектирования находится над опорной рамой и размещен на дугообразной балке с возможностью перемещения по ней на требуемый угол раствора рабочего пучка рентгеновского излучения трубки. Дугообразная балка соединена с верхней направляющей каркаса с помощью средства крепления, неподвижно установленного напротив рентгеновской трубки и обеспечивающего вращение балки вокруг оси рабочего пучка рентгеновского излучения. Балка имеет рабочий и нерабочий участки, где рабочий участок предназначен для перемещения блока детектирования, Технический результат заключается в расширении арсенала технических средств микрофокусных устройств рентгеновского контроля с высокой эксплуатационной надежностью, а также уменьшении массогабаритных показателей устройства без ухудшения его технических характеристик. 6 з.п. ф-лы, 4 ил.

Формула изобретения

1. Микрофокусное устройство рентгеновского контроля, характеризующееся тем, что включает конструкцию, содержащую опорную раму, под которой установлена неподвижно и центросимметрично относительно указанной рамы рентгеновская трубка, ось рабочего пучка рентгеновского излучения которой направлена по нормали к плоскости опорной рамы, блок детектирования, оптически связанный с указанной трубкой, при этом блок детектирования находится над опорной рамой и размещен на дугообразной балке с возможностью перемещения по ней на требуемый угол раствора рабочего пучка рентгеновского излучения трубки, между указанными трубкой и блоком детектирования смонтирован на опорной раме координатный стол с расположенным на нем поддоном для размещения объекта контроля и выполненный с возможностью перемещения по координатным осям X, Y и Z,

отличающееся тем, что

указанная конструкция установлена и закреплена внутри каркаса, состоящего из жестко соединенных направляющих, при этом дугообразная балка соединена с верхней направляющей каркаса с помощью средства крепления, неподвижно установленного напротив рентгеновской трубки и обеспечивающего вращение балки вокруг оси рабочего пучка рентгеновского излучения, причем балка имеет рабочий и нерабочий участки, где рабочий участок предназначен для перемещения блока детектирования, его длина пропорциональна максимальной величине упомянутого угла раствора, а угол раствора ограничен осью рабочего пучка рентгеновского излучения трубки и оптической осью блока детектирования.

2. Устройство по п. 1, отличающееся тем, что максимальная величина угла раствора, ограниченного осью рабочего пучка рентгеновского излучения и оптической осью блока детектирования, составляет не более чем 80°.

3. Устройство по п. 1, отличающееся тем, что средство соединения указанной балки с направляющей каркаса выполнено в виде подшипника вращения.

4. Устройство по п. 1, отличающееся тем, что на нерабочем участке дугообразной балки размещен регулировочный противовес, обеспечивающий при вращении балки равномерное распределение нагрузки на подшипник вращения.

5. Устройство по п. 4, отличающееся тем, что противовес выполнен полым для размещения в нем оборудования для управления перемещением детектора.

6. Устройство по п. 1, отличающееся тем, что дополнительно снабжено средством гашения вибраций.

7. Устройство по п. 6, отличающееся тем, что средство гашения вибраций выполнено, например, в виде воздушных пружин, равномерно установленных по периметру нижних направляющих каркаса, при этом количество и рабочие параметры воздушных пружин могут меняться в зависимости от требуемых характеристик устройства.

Описание

[1]

Техническое решение относится к средствам для анализа материалов с использованием рентгеновского излучения и предназначено для рентгеновского контроля объектов в реальном времени, требующих высокого пространственного разрешения. Решение может быть использовано для получения наборов проекционных данных исследуемого объекта, например для неразрушающего контроля и анализа широкого спектра изделий, таких как печатные платы, узлы, электронные компоненты, микросборки и модули и т.д.

[2]

Традиционно микрофокусное устройство рентгеновского контроля строится по схеме микрофокусный рентгеновский источник - объект исследования - приемник рентгеновского излучения и содержит в качестве основных компонентов оптически связанные рентгеновскую трубку и высокоразрешающий плоскопанельный детектор. Такое устройство может быть размещено в рентгенозащитном корпусе, что позволяет устанавливать его непосредственно в производственных помещениях без предъявления дополнительных требований по безопасности. При проведении исследования объект анализа размещают на координатном столе, находящемся на пути следования рентгеновского луча от источника рентгеновского излучения к детектору. Помимо указанных компонентов в состав устройства входит, как правило, система перемещения с различного рода манипуляторами, обеспечивающая взаимосвязанное перемещение компонентов устройства относительно друг друга. Данная система обеспечивает, например, перемещение стола в горизонтальной плоскости X Y, наклон детектора и его перемещение по направляющим для обеспечения максимально возможного углового и кругового обзора, а также перемещение стола вдоль вертикальной оси Z.

[3]

Из уровня техники известно устройство для анализа объекта с помощью рентгеновского излучения (патент US №6687328, опубл. 03.02.2004). В рентгенозащитном корпусе устройства размещены рентгеновская трубка, детектор, система поступательного перемещения (позиционирования) трубки и детектора в направлениях X и Z, стол - платформа с поддоном, на котором находится объект исследования (образец). В плоскости платформы с поддоном закреплены внешняя и внутренняя рамы с соответствующими приводами для обеспечения возможности всестороннего анализа образца, размещаемого на поддоне. Рамы с закрепленным столом - платформой работают по принципу карданова подвеса. Система поступательного перемещения прикреплена к внутренней части корпуса и состоит из нескольких направляющих. К одной из таких направляющих, расположенной над предметным столом, прикреплена рентгеновская трубка, к другой, находящейся под предметным столом, прикреплен детектор. И трубка, и детектор выполнены с возможностью перемещения по соответствующим направляющим. Получение изображения выполняется путем воздействия рентгеновского излучения на исследуемую область образца в его нескольких пространственных положениях. При этом трубка и детектор могут перемещаться только поступательно, а платформа с размещенным на ней образцом, благодаря шарнирному креплению в рамах может вращаться как минимум в одной плоскости, либо одновременно в нескольких плоскостях (максимально - в трех).

[4]

Известно также устройство рентгеновского контроля элементов электронной схемы, (https://www.ees.it/wp-content/uploads/2012/01/Nikon_X-RAY-XTV1601.pdf), выполняющее детализированный просмотр и анализ внутренней структуры образца. Устройство включает микрофокусную рентгеновскую трубку и оптически связанный с трубкой плоскопанельный детектор. Образец размещают на поддоне, установленном на подвижной горизонтальной платформе, расположенной между трубкой и детектором. Причем, в отличие от вышеописанного аналога, рентгеновская трубка установлена под столом, а детектор находится над столом и прикреплен к горизонтальной направляющей двухопорной П-образной балки, вдоль которой он может перемещаться. Устройство, в отличие от предыдущего аналога, имеет больше степеней свободы и для получения изображения исследуемой области образца реализовано пять вариантов перемещения входящих в его состав компонентов: балка с детектором выполнена с возможностью плавного отклонения в обе стороны от координатной оси Z на угол ±70°; платформа с поддоном выполнена с возможностью возвратно-поступательного перемещения вдоль координатной оси Y, а поддон - с возможностью вращения вокруг вертикальной оси Z в плоскости платформы. В техническом решении исключено перемещение платформы с поддоном вдоль координатной оси X, вместо этого в устройстве реализована возможность синхронного перемещения детектора и рентгеновской трубки по своим направляющим вдоль этой оси. Известно, что для получения заданного рентгеновского увеличения объекта необходимо обеспечить соответствующие отрезки между анодом трубки и образцом и образцом и детектором рентгеновского излучения. Данная возможность, по сравнению с вышеописанным аналогом, в этом устройстве реализована за счет наличия вертикального перемещения платформы с поддоном, что позволило отчасти минимизировать горизонтальные габариты устройства. Однако в данной конструкции, как и в предыдущем техническом решении, рентгеновская трубка является подвижной, при этом вес ее составляет 30 кг и может доходить до 50 кг, что при соблюдении требований к точности позиционирования трубки накладывает жесткие требования по исполнению механических компонентов устройства, их соединений друг с другом и четкой реализации довольно сложных алгоритмов синхронизации их работы.

[5]

Наиболее близким техническим решением, выбранным заявителем в качестве прототипа, является решение по патенту US №9442080 (опубл. 13.09.2016), в котором описано устройство для получения трехмерной модели области интереса объекта исследования. Устройство включает опорную раму с расположенным на ней координатным столом. К раме посредством подшипников прикреплена двухопорная дугообразная балка с направляющим профилем, соответствующим форме дуги; на концах балки установлены противовесы. Помимо этого, устройство содержит микрофокусный источник рентгеновского излучения, неподвижно установленный под опорной рамой, причем напротив места расположения источника находится центр дугообразной балки, и блок детектирования (детектор). Детектор закреплен в направляющем профиле балки и выполнен с возможностью перемещения по профилю. Активной областью детектор обращен к объекту анализа, помещаемому на поддоне, установленном на координатном столе, и оптически связан с источником рентгеновского излучения. Имеется система управления передвижением компонентов устройства, реализованная в виде приводов возвратно-поступательного движения, каждый из которых соответственно управляет перемещением координатного стола с поддоном в направлении X, в направлении Y и в направлении Z. Кроме того, имеются приводы, предназначенные для перемещения детектора по профилю направляющей дугообразной балки, к которой он прикреплен, и привод, управляющий движением (наклоном) самой балки. Для обеспечения осмотра объекта и формирования проекций изображения устройство позволяет выполнять анализ объекта, размещаемого на поддоне координатного стола, с заданным уголом раствора рабочего пучка рентгеновского излучения трубки. Этот угол составляет 140° поскольку детектор по дуге смещается относительно оси рабочего пучка на угол ±70° и сама дуга наклоняется также на угол ±70°. Таким образом, детектор описывает полусферу вокруг объекта исследования.

[6]

Общим недостатком известных устройств являются большие габаритные размеры, в частности горизонтальные габариты: при перемещении объекта в области зоны контроля габариты устройства по координатам X Y должны быть определены, исходя как минимум из удвоенных максимальных размеров исследуемого объекта. (Кроме того, при вращении координатного стола (устройство фирмы NIKON METROLOGY NV) габарит увеличивается как минимум в корень из двух раз, что определяется радиусом окружности, в которую вписан габаритный стол.) Помимо этого, в устройстве, представленном на сайте фирмы NIKON METROLOGY NV, и в устройстве по патентному документу US №9442080 при наклоне балки с размещенным на ней блоком детектирования в обе стороны от оси Z за счет трения в местах крепления балки к опорной раме возникают дополнительные вибрации, которые в итоге приводят к искажению информации и результатов анализа.

[7]

Технической проблемой, решение которой обеспечивается при использовании изобретения, является расширение арсенала микрофокусных устройств рентгеновского контроля, альтернативного устройству прототипа и обладающего меньшими массогабаритными показателями при том же размере координатного стола для размещения исследуемого объекта и имеющего высокую эксплуатационную надежность. Техническим результатом является уменьшение габаритов без ухудшения технических и пользовательских характеристик устройства рентгеновского контроля.

[8]

Указанный технический результат достигается в микрофокусном устройстве рентгеновского контроля, которое включает конструкцию, содержащую опорную раму, под которой установлена неподвижно и центросимметрично относительно указанной рамы рентгеновская трубка. Ось рабочего пучка рентгеновского излучения трубки направлена по нормали к плоскости опорной рамы. Кроме того, устройство содержит блок детектирования, оптически связанный с трубкой, причем блок детектирования находится над опорной рамой и размещен на дугообразной балке с возможностью перемещения по ней на требуемый угол раствора рабочего пучка рентгеновского излучения трубки. Между указанными трубкой и блоком детектирования смонтирован на опорной раме координатный стол с расположенным на нем поддоном для размещения объекта и выполненный с возможностью перемещения по координатным осям X, Y и Z. Данная конструкция установлена и закреплена внутри каркаса, состоящего из жестко соединенных направляющих, при этом дугообразная балка соединена с верхней направляющей каркаса с помощью средства крепления, неподвижно установленного напротив рентгеновской трубки. Средство крепления выполнено с возможностью обеспечения вращение балки вокруг оси рабочего пучка рентгеновского излучения, а сама балка имеет рабочий и нерабочий участки, где рабочий участок предназначен для перемещения блока детектирования и его длина пропорциональна максимальной величине упомянутого угла раствора, а данный угол ограничен осью рабочего пучка рентгеновского излучения и оптической осью блока детектирования.

[9]

В известных устройствах - аналогах предпринята попытка минимизировать при сохранении размера поддона габаритные размеры устройства за счет выполнения балки для перемещения детектора в виде двухопорной П-образной балки, либо в виде двухопорной дугообразной балки, как это описано соответственно на сайте компании NIKON METROLOGY NV и в патентном документе US №9442080. Однако автор и заявитель установили, что наличие таких элементов конструкции является причиной значительных габаритов устройства. Выполнение балки так, как это предлагается автором и заявителем, снизит габаритные размеры устройства, значительно повысит его надежность за счет сокращения числа механических соединений, которые предусматривались в устройствах-аналогах. Балка в заявляемом решении выполняет не возвратно-поступательное, а круговое вращение вокруг образца, используя лишь один узел соединения балки с направляющей каркаса, при этом детектор так же, как и в устройствах - аналогах, описывает вокруг объекта исследования полусферу, т.е. позволяет выполнить тот же функционал, но при меньших габаритах. Преимуществом заявленного технического решения также является использование узла жесткой передачи для крепления балки. В отличие от традиционно используемых в таких устройствах длинных ременных передач, предлагаемая конструкция меньше подвержена вибрациям и соответственно обеспечивает большую точность позиционирования дуги и, следовательно, блока детектирования по всей описываемой полусфере.

[10]

Целесообразно, чтобы максимальная величина угла раствора, ограниченного осью рабочего пучка рентгеновского излучения и оптической осью блока детектирования, составляла не более чем 80°.

[11]

Целесообразно, чтобы средство соединения указанной балки с направляющей каркаса было выполнено в виде подшипника вращения.

[12]

Кроме того, целесообразно, чтобы

[13]

- на нерабочем участке дугообразной балки был размещен регулировочный противовес, обеспечивающий при вращении балки равномерное распределение нагрузки на подшипник вращения

[14]

- и противовес был выполнен полым для размещения в нем оборудования для управления перемещением детектора.

[15]

В конкретном воплощении устройство дополнительно снабжено средством гашения вибраций, уменьшающих влияние внешних вибраций на устройство. При этом средство гашения выполнено, например, в виде воздушных пружин, равномерно установленных по периметру нижних направляющих каркаса, причем количество и рабочие параметры воздушных пружин могут меняться в зависимости от требуемых характеристик устройства. Использование средств гашения является немаловажным фактором для таких устройств, поскольку вибрации оказывают негативное влияние на сохранение стабильности параметров компонентов устройства, что в итоге сказывается и на качестве проводимого анализа.

[16]

Заявляемый технический результат обеспечивается всей совокупностью существенных признаков в рамках реализации назначения, при этом все составляющие устройства, характеризуемые существенными признаками, находятся в конструктивном единстве и функционально взаимосвязаны. Все составляющие устройства объединены в единую конструкцию, размещаемую и жестко закрепленную в каркасе, и при изготовлении устройства соединяются между собой сборочными операциями.

[17]

Для описания конструкции устройства и его функционирования в документе использованы следующие термины, применяемые в данной области техники и приведенные в ГОСТ 20337-74 и ГОСТ 22091.3-84:

[18]

угол раствора рабочего пучка рентгеновского излучения трубки - угол рабочего пучка, измеряемый в заданной плоскости, проходящей через ось рабочего пучка рентгеновского излучения трубки,

[19]

ось рабочего пучка рентгеновского излучения трубки - условная прямая линия, совпадающая с осью конуса, ограничивающего рабочий пучок рентгеновского излучения трубки.

[20]

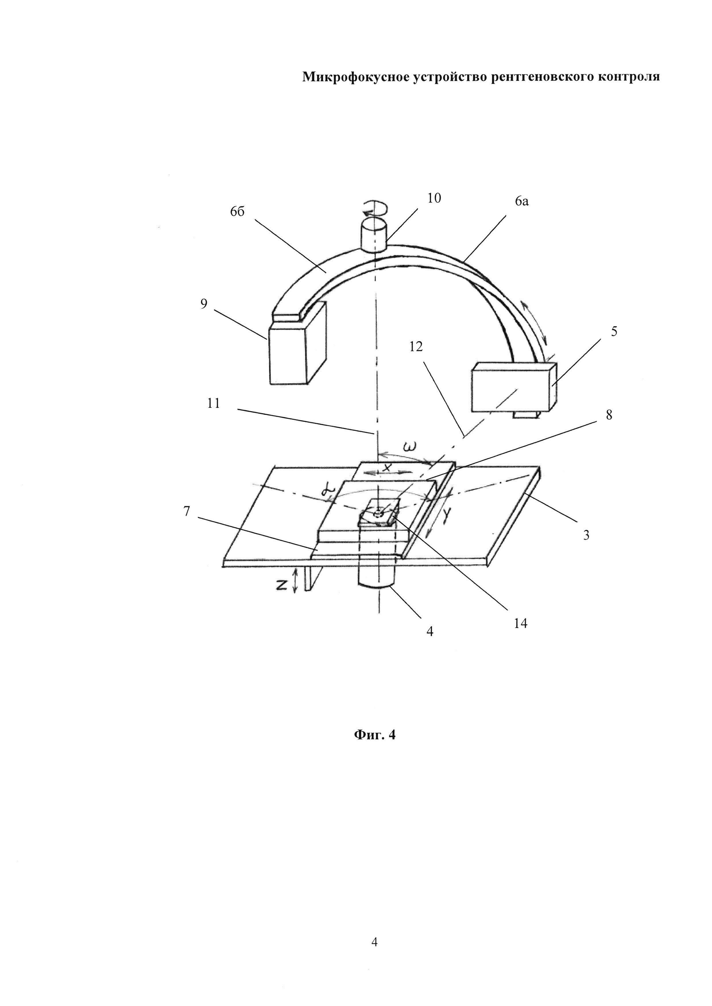
На фиг. 1-4 приведены элементы конструкции микрофокусного устройства рентгеновского контроля, при этом схематично показаны на фиг. 1 - общий вид, где координатный стол с расположенным на нем поддоном находится в исходном положении в плоскости опорной рамы, фиг. 2 - общий вид устройства, где координатный стол с расположенным на нем поддоном находятся в одном из рабочих положений, фиг. 3 - размещение устройства в рентгенозащитном корпусе, фиг. 4 - схематическое изображение компонентов микрофокусного устройства рентгеновского контроля; позициями обозначены:

[21]

1 - микрофокусное устройство рентгеновского контроля,

[22]

2 - каркас, состоящий из жестко соединенных направляющих,

[23]

3 - опорная рама,

[24]

4 - микрофокусная рентгеновская трубка,

[25]

5 - блок детектирования (детектор),

[26]

6 - дугообразная балка с рабочим (6а) и нерабочим (6б) участками,

[27]

7 - координатный стол,

[28]

8 - поддон,

[29]

9 - противовес,

[30]

10 - подшипник вращения,

[31]

11 - ось рабочего пучка рентгеновского излучения трубки 4,

[32]

12 - оптическая ось блока детектирования 5,

[33]

13 - воздушные пружины,

[34]

14 - объект контроля (образец),

[35]

15 - рентгенозащитный корпус.

[36]

Микрофокусное устройство рентгеновского контроля 1 содержит каркас 2, выполненный из жестко соединенных направляющих. Внутри каркаса установлена конструкция, которая включает размещенную на его направляющих опорную раму 3, под которой установлена неподвижно и центросимметрично относительно указанной рамы микрофокусная рентгеновская трубка 4 открытого типа с прострельным анодом и размером фокусного пятна не более 2 мкм. Для микрофокусных трубок такого типа угол раствора рабочего пучка рентгеновского излучения (на фиг. 4 - угол мишени анода α), как правило, составляет 160°. Ось 11 рабочего пучка рентгеновского излучения трубки 4 направлена по нормали к плоскости опорной рамы 3. Конструкция включает также детектор 5, оптически связанный с трубкой 4. Детектор 5 находится над опорной рамой 3 и размещен на дугообразной балке 6 с возможностью перемещения по ней. При этом балка 6 закреплена на верхней направляющей каркаса 2 с помощью подшипника вращения 10, причем подшипник 10 должен быть отцентрирован относительно фокуса рентгеновской трубки 4 (причем плоскости подшипника, трубки и координатного стола должны быть параллельны). Балка 6 имеет рабочий 6а и нерабочий 6б участки, где рабочий участок 6а предназначен для перемещения детектора 5. Длина участка 6а, вдоль которого может перемещаться детектор 5 при выполнении анализа объекта, ограничивается осью 11 рабочего пучка рентгеновского излучения и оптической осью 12 детектора 5, т.е. пропорциональна максимальной величине угла раствора (на фиг. 4 - угол ω). В отличие от прототипа, где выполняется наклон балки с детектором, в заявляемом устройстве выполняется ее вращение вокруг оси 11, что при угле ω, равном 45° и более, обеспечивает больший объем и большую площадь реконструкции, чем в прототипе.

[37]

На нерабочем участке 6б балки 6 может размещаться противовес 9. Противовес может быть выполнен полым для размещения в нем электропривода (не показан), управляющего передвижением детектора 5 вдоль рабочего участка 6а балки. Между трубкой 4 и детектором 5 смонтирован на опорной раме 3 координатный стол 7 с расположенным на нем поддоном 8 для размещения образца (не показан). Стол 7 посредством приводов (на фиг. не показаны) может перемещаться по координатным осям X, Y и Z. В устройстве предусмотрено наличие воздушных пружин 13, равномерно установленных по периметру нижних направляющих каркаса, при этом количество и рабочие параметры воздушных пружин могут меняться в зависимости от требуемых характеристик устройства. Устройство может быть установлено в рентгенозащитном корпусе 15 (фиг. 3).

[38]

Соединение блоков и узлов при изготовлении осуществляется соответствующими сборочными операциями с образованием единого устройства.

[39]

Функционирование устройства основано на регистрации рентгеновского излучения трубки 4, который сканирует объект контроля, а интенсивность излучения регистрируется детектором 5. Детектор выполняет поворот вокруг объекта на 360° с отклонением оптической оси 12 от оси 11 рабочего пучка рентгеновского излучения трубки 4 на угол ω (угол наклона детектора) от 0 до 70° (для варианта трубки с углом раствора рабочего пучка рентгеновского излучения 160 градусов). Скорость вращения, скорость перемещения детектора определяется оператором, размером исследуемого объекта и типом исследования. Координатный стол 7 с исследуемым образцом на поддоне 8 может перемещаться по плоскости опорной рамы 3 по координатным осям X и Y, а также вдоль оси 11 излучения (координатная ось Z), что обеспечивает возможность выбора и изменения в процессе контроля пространственного разрешения и размеров исследуемой области объекта.

[40]

Таким образом, создано устройство, расширяющее арсенал средств рентгеновского контроля, имеющее высокую эксплуатационную надежность и при прочих равных условиях превосходящее представленные аналоги по совокупности таких характеристик, как габаритные размеры, виброустойчивость, мобильность.

Как компенсировать расходы
на инновационную разработку
Похожие патенты