патент
№ RU 2604328
МПК G06F15/16

СПОСОБ ФОРМИРОВАНИЯ ЗАЩИЩЕННОГО СОЕДИНЕНИЯ В СЕТЕВОЙ КОМПЬЮТЕРНОЙ СИСТЕМЕ

Авторы:
Тычина Леонид Анатольевич
Номер заявки
2015126544/08
Дата подачи заявки
03.07.2015
Опубликовано
10.12.2016
Страна
RU
Как управлять
интеллектуальной собственностью
Чертежи 
2
Реферат

Изобретение относится к способам обеспечения безопасности в сетях передачи данных. Технический результат заключается в повышении защищенности соединения между компьютерами-клиентами. Указанный результат достигается за счет применения способа формирования защищенного соединения в сетевой компьютерной системе. Система включает прикладной сервер, осуществляющий прием и обработку запросов по прикладному протоколу от компьютеров-клиентов по сети через туннелирующий сервер. Компьютеры-клиенты выполнены с возможностью осуществлять взаимодействие между собой и с прикладным сервером по прикладному протоколу. Посылают запрос из первого компьютера-клиента в прикладной сервер для осуществления взаимодействия со вторым компьютером-клиентом; анализируют в туннелирующем сервере ответ из прикладного сервера первому компьютеру-клиенту; если в ответе присутствует сетевой адрес второго компьютера-клиента, то передают из туннелирующего сервера первому компьютеру-клиенту вместе с сообщением прикладного протокола информацию, необходимую для установки защищенного соединения со вторым компьютером-клиентом; формируют защищенное соединение между первым компьютером-клиентом и вторым компьютером-клиентом. 2 ил.

Формула изобретения

Способ формирования защищенного соединения в сетевой компьютерной системе, причем система включает
прикладной сервер, осуществляющий прием и обработку запросов по прикладному протоколу от компьютеров-клиентов по сети через туннелирующий сервер,
туннелирующий сервер, обеспечивающий защищенное соединение для компьютеров-клиентов с прикладным сервером,
компьютеры-клиенты, выполненные с возможностью осуществлять взаимодействие между собой и с прикладным сервером по прикладному протоколу,
способ, заключающийся в том, что:
посылают запрос из первого компьютера-клиента в прикладной сервер для осуществления взаимодействия со вторым компьютером-клиентом;
получают запрос от первого компьютера-клиента в прикладном сервере;
посылают ответ на запрос из прикладного сервера первому компьютеру-клиенту, в котором содержится сетевой адрес второго компьютера-клиента;
анализируют в туннелирующем сервере ответ из прикладного сервера первому компьютеру-клиенту;
если в ответе присутствует сетевой адрес второго компьютера-клиента, то передают из туннелирующего сервера первому компьютеру-клиенту вместе с сообщением прикладного протокола информацию, необходимую для установки защищенного соединения со вторым компьютером-клиентом;
получают в первом компьютере-клиенте ответ на запрос из туннелирующего сервера, включающий сообщение прикладного протокола и информацию, необходимую для установки защищенного соединения со вторым компьютером-клиентом;
формируют защищенное соединение между первым компьютером-клиентом и вторым компьютером-клиентом.

Описание

[1]

Область техники, к которой относится изобретение

[2]

Предлагаемое изобретение относится к способам обеспечения безопасности в сетях передачи данных и, в частности, к способам организации защищенного канала передачи по требованию.

[3]

Уровень техники

[4]

Развитие сетей передачи данных привело к созданию многочисленных прикладных приложений, использующих сеть для взаимодействия. Актуальной задачей является обеспечение безопасности такого сетевого взаимодействия. Для обеспечения безопасности в практике используются различные решения.

[5]

Разработаны отдельные протоколы, обеспечивающие безопасность, например, архитектура безопасности IPsec [1, 2] обеспечивающие криптографическую защиту IP протокола.

[6]

В архитектуре IPsec предусмотрен способ организации защищенного канала передачи по требованию. Способ включает в себя предварительное определение диапазонов IP-адресов, взаимодействие по которым должно происходить по защищенному каналу. При начале взаимодействия по адресу из диапазона происходит организация защищенного канала. Защищенный канал при отсутствии активности удаляется.

[7]

Недостатком способа является необходимость заранее знать диапазоны IP-адресов, которые подлежат защите. Это часто невозможно, особенно в больших сетях.

[8]

Известен также способ маршрутизации пакетов [3], реализуемый в сетевой компьютерной системе.

[9]

Сетевая компьютерная система включает связанные через сеть центральный концентратор и компьютеры-клиенты, причем компьютеры-клиенты, в общем случае, могут входить в состав других подсетей, имеющих локальные концентраторы.

[10]

Способ включает следующие действия:

[11]

- получают пакет в центральном концентраторе, причем пакет, полученный от 1-го компьютера-клиента, предназначен для передачи 2-му компьютеру-клиенту;

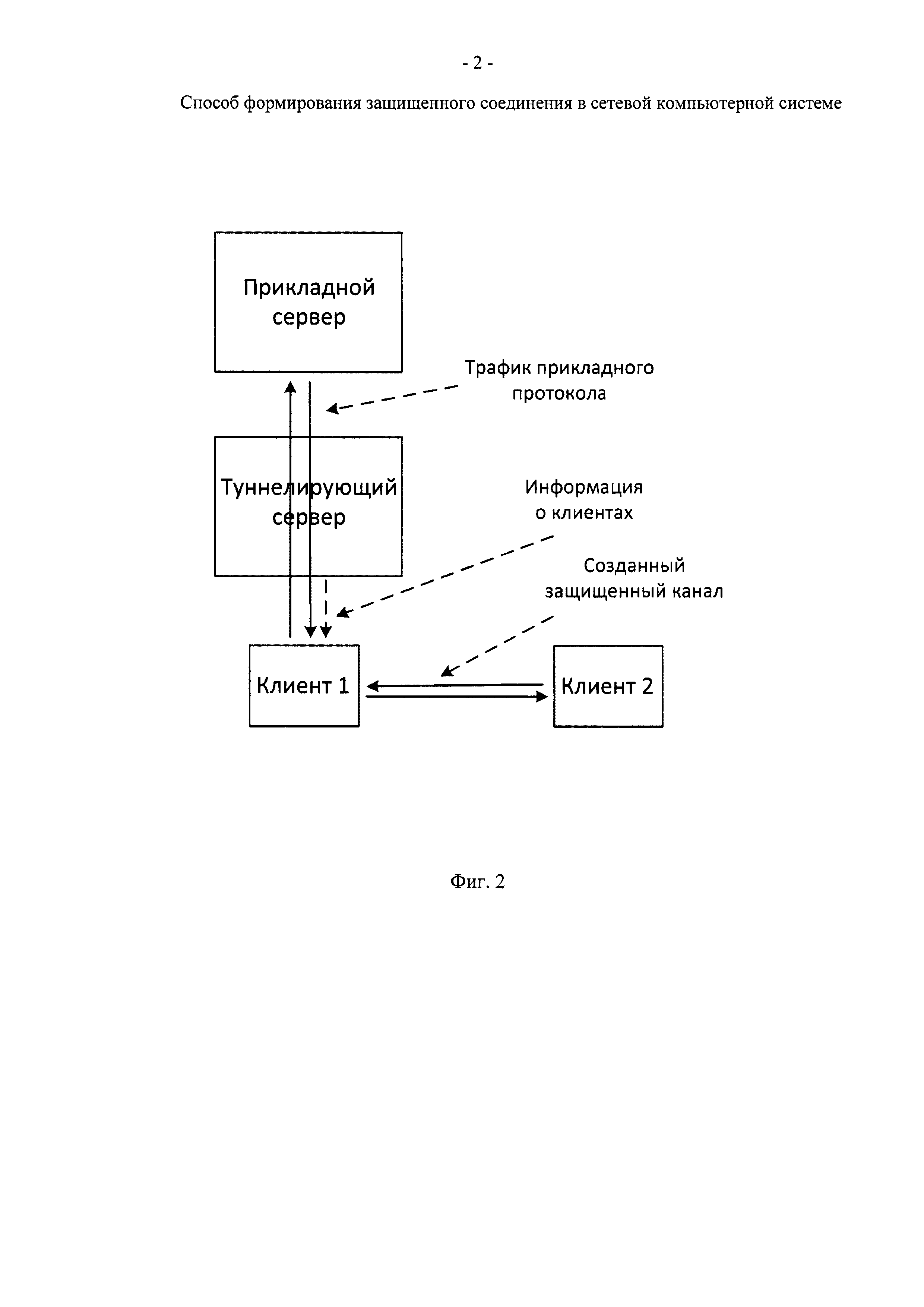
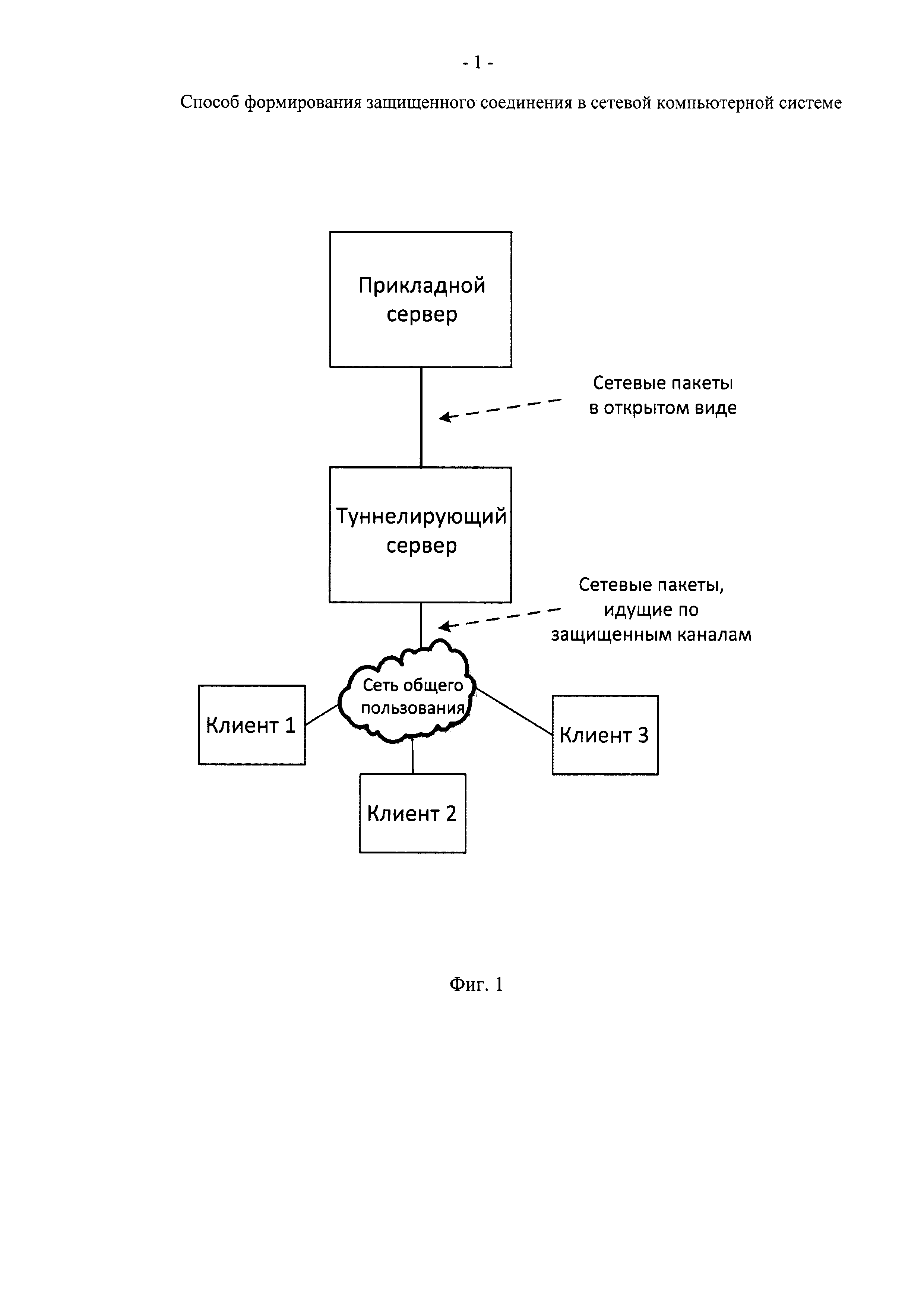
[12]

- в ответ на получение пакета в центральном концентраторе направляют запрос 2-му компьютеру-клиенту, чтобы передать в центральный концентратор информацию о множестве сетей, с которыми связан 2-ой компьютер-клиент;

[13]

- на основе информации, переданной 2-ым компьютером-клиентом о множестве сетей, с которыми связан 2-ой компьютер-клиент, находят путь для пакета, причем этот путь определяет предпочтительный маршрут, который проходит через центральный концентратор от 1-го компьютера-клиента ко 2-му компьютеру-клиенту;

[14]

- отправляют перенаправленное сообщение к 1-му компьютеру-клиенту, причем перенаправленное сообщение отправляет пакет по найденному пути;

[15]

причем нахождение пути включает:

[16]

- нахождение множества маршрутов, проходящих от 1-го компьютера-клиента ко 2-му компьютеру-клиенту;

[17]

- выбор предпочтительного маршрута из множества маршрутов, причем предпочтительный маршрут является оптимальным путем от 1-го компьютера-клиента ко 2-му компьютеру-клиенту и определяется из информации, сохраняемой в центральном концентраторе, а информация связана с 1-ым компьютером-клиентом и 2-ым компьютером-клиентом;

[18]

причем отправка перенаправленного сообщения включает:

[19]

- определение соединения, через которое центральный концентратор получил пакет от 1-го компьютера-клиента;

[20]

- определение адреса источника, связанного с пакетом;

[21]

- передача в адрес источника, через определенное соединение, перенаправленного сообщения,

[22]

- перенаправление пакета по предпочтительному маршруту.

[23]

Способ также может включать создание для найденного пути туннеля, который обеспечивается в составе центрального концентратора.

[24]

В известном способе не требуется, чтобы в концентратор каждой подсети передавались сведения обо всех маршрутах (диапазоны IP-адресов, подлежащие защите), но необходимо, чтобы концентраторы всех подсетей использовали центральный концентратор в качестве маршрута по умолчанию.

[25]

Необходимость использования центрального концентратора в качестве маршрута по умолчанию является недостатком известного способа. Это создает повышенную избыточную нагрузку на центральный концентратор и на сеть в целом, особенно при шифровании канала между концентраторами.

[26]

Описанный способ принимается за прототип.

[27]

Известный способ относится к большим сетям, в общем случае, включающим множество подсетей. Вместе с тем, довольно часто встречается более простая схема работы сетевого узла, оказывающего различные услуги пользователям и использующего прикладные приложения.

[28]

Обычно в такой схеме используется центральный сервер, на котором установлено прикладное приложение (прикладной сервер), а компьютеры-клиенты взаимодействуют с прикладным сервером, посылая запросы и получая ответы, с использованием определенного прикладного протокола, причем типичной потребностью является формирование защищенных соединений непосредственно между компьютерами-клиентами, без использования прикладного сервера.

[29]

В качестве характерного примера можно привести работу прикладного сервера, обеспечивающего телефонную цифровую связь между абонентами, подключенными к сети передачи данных, например, внутри одной компании. Обеспечение соединения здесь возможно между абонентами через центральный сервер, но более предпочтительно устанавливать соединение непосредственно между абонентами.

[30]

Предлагаемый способ предназначен для использования именно в такой, более простой схеме. При этом, в отличие от прототипа, оптимизировать путь между компьютерами-клиентами, в общем случае, нет необходимости.

[31]

Раскрытие изобретения

[32]

Техническим результатом является снижение нагрузки сети в целом, прикладного и туннелирующего серверов.

[33]

Основная идея заключается в том, чтобы при начале сетевого обмена через прикладной протокол формировать защищенный канал связи.

[34]

Для этого предлагается способ формирования защищенного соединения в сетевой компьютерной системе,

[35]

причем система включает

[36]

- прикладной сервер, осуществляющий прием и обработку запросов по прикладному протоколу от компьютеров-клиентов по сети через туннелирующий сервер,

[37]

- туннелирующий сервер, обеспечивающий защищенное соединение для компьютеров-клиентов с прикладным сервером,

[38]

- компьютеры-клиенты, выполненные с возможностью осуществлять взаимодействие между собой и с прикладным сервером по прикладному протоколу,

[39]

способ заключается в том, что

[40]

- посылают запрос из 1-го компьютера-клиента в прикладной сервер для осуществления взаимодействия со 2-м компьютером-клиентом;

[41]

- получают запрос от 1-го компьютера-клиента в прикладном сервере;

[42]

- посылают ответ на запрос из прикладного сервера 1-му компьютеру-клиенту, в котором содержится сетевой адрес 2-го компьютера-клиента;

[43]

- анализируют в туннелирующем сервере ответ из прикладного сервера 1-му компьютеру-клиенту;

[44]

- если в ответе присутствует сетевой адрес 2-го компьютера-клиента, то передают из туннелирующего сервера 1-му компьютеру-клиенту вместе с сообщением прикладного протокола информацию, необходимую для установки защищенного соединения со 2-м компьютером-клиентом;

[45]

- получают в 1-м компьютере-клиенте ответ на запрос из туннелирующего сервера, включающий сообщение прикладного протокола и информацию для установки защищенного соединения со 2-м компьютером-клиентом;

[46]

- формируют защищенное соединение между 1-м компьютером-клиентом и 2-м компьютером-клиентом.

[47]

Способ предполагает наличие прикладного сервера, например это может быть служба имен, сервер IP-телефонии или сервер видеоконференций.

[48]

Доступ к прикладному серверу осуществляется через туннелирующий сервер. Туннелирующий сервер осуществляет пересылку сетевых пакетов между прикладным сервером и компьютерами-клиентами в защищенном виде.

[49]

Компьютер-клиент - это потребитель услуг прикладного сервера. Компьютер-клиент подключается к прикладному серверу через туннелирующий сервер, причем сетевой обмен между компьютером-клиентом и прикладным сервером на участке от клиента до туннелирующего сервера осуществляется в защищенном формате, прозрачно для прикладного протокола (фиг. 1).

[50]

Защищенный канал между клиентом и туннелирующим сервером, например, можно построить с помощью IPsec.

[51]

Способ позволяет инициировать защищенный канал между клиентами в момент, когда инициируется прямое взаимодействие по прикладному протоколу. Примерами могут служить IP-телефония или видеоконференции: в момент совершения звонка они взаимодействуют с сервером прикладного протокола, далее взаимодействие идет напрямую между клиентами.

[52]

При инициировании соединения и посылке запроса из 1-го компьютера-клиента в прикладной сервер, для последующего осуществления взаимодействия со 2-м компьютером-клиентом, в состав запроса 1-й компьютер-клиента включаются сведения о 2-м компьютере-клиенте, сетевой адрес которого предполагается получить. В качестве таких сведений, в зависимости от вида прикладных услуг, может быть использован, например, номер телефона, идентификатор (имя) абонента и др.

[53]

При получении запроса из 1-го компьютера-клиента прикладной сервер на основе сведений запроса и имеющейся у него информации обо всех компьютерах-клиентах определяет сетевой адрес 2-го компьютера-клиента и высылает ответ, содержащий сетевой адрес 2-го компьютера-клиента.

[54]

Далее, в отличие от прототипа, нет необходимости маршрутизировать весь трафик на туннелирующий сервер, достаточно, чтобы трафик до прикладного сервера всегда шел через туннелирующий сервер.

[55]

Краткое описание чертежей

[56]

На фиг. 1 показана общая схема сетевой компьютерной системы для реализации предложенного способа.

[57]

На фиг. 2 показана схема взаимодействия в сетевой компьютерной системе для реализации предложенного способа.

[58]

Осуществление изобретения

[59]

Рассмотрим пример реализации предложенного способа в сетевой компьютерной системе.

[60]

Наиболее общий случай предусматривает, что прикладной и туннелирующий серверы территориально расположены в одном месте, компьютеры-клиенты - в разных местах, а в качестве сети используется сеть Интернет.

[61]

Прикладной сервер, осуществляющий прием и обработку запросов по прикладному протоколу от компьютеров-клиентов по сети через туннелирующий сервер, представляет собой компьютер, на котором установлено общесистемное, серверное и прикладное программное обеспечение (ПО) и который связан через сетевой интерфейс с туннелирующим сервером. Прикладное ПО позволяет принимать и обрабатывать запросы от компьютеров-клиентов и, таким образом, оказывать услуги, например, видеоконференцсвязи.

[62]

Обычными предварительными условиями работы прикладного сервера является формирование внутренней базы данных, в которой после стандартной процедуры регистрации клиентов находится минимально необходимая информация о клиентах (как правило, это имя абонента, пароль доступа к услуге, данные об оплате услуги, актуальный сетевой адрес компьютера-клиента в момент входа в систему, тип протокола, факт соединений в текущий момент и пр.).

[63]

В качестве туннелирующего сервера также используется компьютер, на котором установлено общесистемное, серверное и прикладное ПО и который связан через сетевой интерфейс с прикладным сервером и сетью Интернет. Прикладное ПО туннелирующего сервера позволяет принимать и обрабатывать запросы от прикладного сервера и компьютеров-клиентов и обеспечивать защищенное соединение (туннель) между заданными адресами в сети.

[64]

Каждый компьютер-клиент представляет собой компьютер, на котором установлено общесистемное и прикладное ПО и который связан через сетевой интерфейс с сетью Интернет. Прикладное ПО компьютера-клиента позволяет посылать запросы прикладному серверу и принимать от него ответы, а также обеспечивать реализацию прикладных услуг пользователям и устанавливать защищенные соединения с другими компьютерами-клиентами.

[65]

При реализации предложенного способа, из 1-го компьютера-клиента, заранее зарегистрированного в прикладном сервере, начавшего активную сессию и предполагающего установить защищенное соединение со 2-м компьютером-клиентом, посылают запрос в прикладной сервер для осуществления взаимодействия со 2-м компьютером-клиентом, причем запрос содержит сведения о 2-м компьютере-клиенте (например, имя абонента, использующего 2-й компьютер-клиент в системе).

[66]

В прикладном сервере получают запрос от 1-го компьютера-клиента, выделяют в запросе имя абонента, определяют, что искомое имя зарегистрировано в базе данных прикладного сервера, причем в данный момент компьютер-клиент с таким именем также начал активную сессию и имеет определенный сетевой адрес, и посылают 1-му компьютеру-клиенту ответ на запрос из прикладного сервера, в котором содержится актуальный в данный момент сетевой адрес 2-го компьютера-клиента.

[67]

Ответ на запрос из прикладного сервера проходит через туннелирующий сервер, в котором анализируется ответ из прикладного сервера 1-му компьютеру-клиенту. Анализ состоит в определении факта ответа на запрос 1-му компьютеру-клиенту и наличии сетевого адреса 2-го компьютера-клиента.

[68]

Если в ответе присутствует сетевой адрес 2-го компьютера-клиента, то передают из туннелирующего сервера 1-му компьютеру-клиенту вместе с сообщением прикладного протокола информацию, необходимую для установки защищенного соединения со 2-м компьютером-клиентом.

[69]

Затем получают в 1-м компьютере-клиенте ответ на запрос из туннелирующего сервера, включающий сообщение прикладного протокола и информацию, необходимую для установки защищенного соединения со 2-м компьютером-клиентом.

[70]

После этого формируют защищенное соединение между 1-м компьютером-клиентом и 2-м компьютером-клиентом с помощью прикладного ПО двух компьютеров-клиентов.

[71]

Далее весь трафик защищенного соединения между двумя компьютерами-клиентами идет напрямую между двумя сетевыми адресами, и ресурсы прикладного и туннелирующего сервера не используются, что снижает нагрузку на сеть в целом, на прикладной и туннелирующий серверы.

[72]

Все действия способа выполняются в автоматическом режиме с помощью соответствующего прикладного ПО, которое на основе знания содержания выполняемых действий и особенностей известных прикладных протоколов может быть разработано специалистом по программированию (программистом) и установлено на компьютерах системы.

[73]

Источники информации

[74]

1. RFC 4302 - Идентификационный заголовок IP, 2005, материал по адресу http://rfc2.ru/4302.rfc

[75]

2. RFC 4303 - Инкапсуляция защищенных данных IP (ESP), материал по адресу http://rfc2.ru/4303.rfc

[76]

3. Патент США №8499095, приоритет от 25.05.2006 г.

Как компенсировать расходы
на инновационную разработку
Похожие патенты