патент
№ RU 2374555
МПК F17C9/00

УСТРОЙСТВО ДЛЯ ДОЗИРОВАННОЙ ВЫДАЧИ КРИОГЕННОЙ ЖИДКОСТИ

Авторы:
Будрик Виктор Владиславович
Номер заявки
2007135584/06
Дата подачи заявки
14.04.2005
Опубликовано
27.11.2009
Страна
RU
Как управлять
интеллектуальной собственностью
Чертежи 
2
Реферат

Изобретение относится к криогенной технике, а именно к устройствам для капельного дозирования криогенной жидкости в герметизируемые емкости, перемещаемые транспортером, для создания в них безопасной инертной среды и избыточного давления после герметизации этих емкостей. Предложено устройство для дозированной выдачи криогенной жидкости, содержащее сосуд для криогенной жидкости с клапаном заправки и поддержания уровня и штуцером для отвода пара, дозатор, включающий клапан с управляемым приводом и цилиндр с входными отверстиями, а также седло с выходным соплом, сообщенным с концевым формирователем впрыскиваемой криогенной жидкости. Входные отверстия цилиндра сообщены с полостью сосуда для криогенной жидкости с помощью патрубка подвода криогенной жидкости и канала для подъема парожидкостной смеси, при этом его поверхность, поверхность указанного сосуда и дозатор снабжены теплоизоляцией, а концевой формирователь впрыскиваемой криогенной жидкости снабжен подогревателем. В дозаторе выполнен корпус, концентричный цилиндру, с образованием вокруг последнего кольцевой полости, сообщающейся с входными отверстиями цилиндра. Клапан дозатора плотно прилегает к внутренней поверхности цилиндра, а своей торцевой кромкой образует с седлом запорное соединение в закрытом состоянии, причем клапан подпружинен и снабжен регулируемым ограничителем хода. Изобретение позволяет надежно дозировать равные объемы криогенной жидкости в каждую однотипную емкость с продуктом на транспортере. 3 ил.

Формула изобретения

Устройство для дозированной выдачи криогенной жидкости, содержащее сосуд для криогенной жидкости с клапаном заправки и поддержания уровня и штуцером для отвода пара, дозатор, включающий клапан с управляемым приводом и цилиндр с входными отверстиями, а также седло с выходным соплом, сообщенным с концевым формирователем впрыскиваемой криогенной жидкости, входные отверстия цилиндра сообщены с полостью сосуда для криогенной жидкости с помощью патрубка подвода криогенной жидкости и канала для подъема парожидкостной смеси, при этом его поверхность, поверхность указанного сосуда и дозатор снабжены теплоизоляцией, а концевой формирователь впрыскиваемой криогенной жидкости снабжен подогревателем, отличающееся тем, что в дозаторе выполнен корпус, концентричный цилиндру с образованием вокруг последнего кольцевой полости, сообщающейся с входными отверстиями цилиндра, при этом клапан дозатора плотно прилегает к внутренней поверхности цилиндра, а своей торцевой кромкой образует с седлом запорное соединение в закрытом состоянии, причем клапан подпружинен пружиной и снабжен регулируемым ограничителем хода.

Описание

[1]

Изобретение относится к криогенной технике, а именно к устройствам дозированной выдачи жидкости и в том числе для капельного дозирования криогенной жидкости. Особенно целесообразно применение его для капельной дозированной подачи жидкого азота в герметизируемые емкости, перемещаемые транспортером, например бутылки, банки, пакеты, и т.п. емкости с пищевыми продуктами и напитками, а также биологическими или фармацевтическими веществами для создания в них безопасной инертной среды и избыточного давления после герметизации (закупорки) этих емкостей.

[2]

При дозированной выдаче криогенной жидкости, например жидкого азота, его капля с температурой Т=-196°С попадает в емкость с продуктом и начинает испаряться при так называемом пленочном режиме кипения, "плавая" на генерируемой газовой подушке по поверхности продукта. Это обусловлено тем, что не происходит смачивание жидкостью поверхности стенки емкости или продукта, пока ее температура выше температуры границы устойчивости метастабильного состояния, которая, например, для азота = -160°С.

[3]

Теплопередача от стенки к жидкой капле через генерируемую теплопроводную паровую прослойку относительно мала и для азота равна 150 Вт/(м2·К). Соответственно, период пленочного кипения капли азота объемом около 1 см3 составляет около 25 секунд, а время, необходимое для герметизации емкости не превышает 10 сек. Следовательно, такой объем капли будет максимальным при дозированной выдаче криогенной жидкости. При кипении капли образуется паровой объем азота, который в сотни раз превышает объем кипящей капли, вследствие чего происходит вытеснение и замещение более теплого воздуха из свободного пространства емкости над продуктом, т.е. в емкости образуется инертная сухая среда без запаха. Применение дозированной выдачи криогенной жидкости позволяет продлить срок хранения продукта с сохранением его первоначального качества, а также создать необходимое избыточное давление в емкости после ее закупорки, что тем самым позволяет улучшить эксплуатационно-товарные характеристики мягких емкостей при внешнем механическом и температурном воздействии в процессе нанесения этикеток, транспортировки и хранения в условиях температур от -40°С до +40°С.

[4]

Известно устройство для дозированной выдачи криогенных жидкостей по патенту США №5743096, МПК 7 F17C 007/02, выбранное в качестве прототипа.

[5]

Устройство содержит сосуд для криогенной жидкости с клапаном для заправки и поддержания уровня, штуцер для отвода пара из сосуда и дозатор, включающий клапан с управляемым приводом и цилиндр с входными отверстиями, выходное отверстие в седле, при этом входные отверстия в цилиндре сообщены с полостью сосуда для криогенной жидкости. Прототип содержит также канал для подъема парожидкостной смеси.

[6]

Указанные сосуд для криогенной жидкости, дозатор и патрубок имеют теплоизоляцию. Концевой формирователь впрыскиваемой жидкости снабжен подогревателем для исключения льдообразования.

[7]

Недостатком прототипа является невозможность обеспечения выдачи равных объемов криогенной жидкости в каждую перемещающуюся на конвейере емкость, особенно при впрыске капель с объемом в диапазоне от 0,2 см3 до 1 см3 при производительности линии розлива до 5 емкостей в секунду.

[8]

Это происходит потому, что в прототипе нельзя исключить теплопритоки через теплоизоляцию (в том числе и современную вакуумную) к дозируемой криогенной жидкости из-за наличия положительного градиента температуры от контактирующей с жидкостью поверхности стенки цилиндра дозатора и патрубка для подвода криогенной жидкости. Даже малая величина теплопритока к поверхности указанных стенок, например, равная 1 Вт, испаряет 0,5% жидкого азота при требующемся расходе впрыскиваемого азота, равного 1 г/с, и создает парожидкостный поток с объемным содержанием более 50%.

[9]

Задачей изобретения является обеспечение надежного дозирования равных объемов криогенной жидкости в каждую однотипную емкость с продуктом на транспортере, особенно в диапазоне изменения объема капли от 0,2 см3 до 1 см3 при производительности линии розлива до 5 емкостей в с.

[10]

Эта задача решается тем, что в устройстве для дозированной выдачи криогенной жидкости, содержащем сосуд для криогенной жидкости с клапаном заправки и поддержания уровня и штуцером для отвода пара, дозатор, включающий клапан с управляемым приводом и цилиндр с входными отверстиями, а также седло с выходным соплом, сообщенным с концевым формирователем впрыскиваемой криогенной жидкости, входные отверстия цилиндра сообщены с полостью сосуда для криогенной жидкости с помощью патрубка подвода криогенной жидкости и канала для подъема парожидкостной смеси, при этом его поверхность, поверхность указанного сосуда и дозатор снабжены теплоизоляцией, а концевой формирователь впрыскиваемой криогенной жидкости снабжен подогревателем, причем в дозаторе выполнен корпус, концентричный цилиндру с образованием вокруг последнего кольцевой полости, сообщающейся с входными отверстиями цилиндра, при этом клапан дозатора плотно прилегает к внутренней поверхности цилиндра, а своей торцевой кромкой образует с седлом запорное соединение в закрытом состоянии, причем клапан подпружинен пружиной и снабжен регулируемым ограничителем хода.

[11]

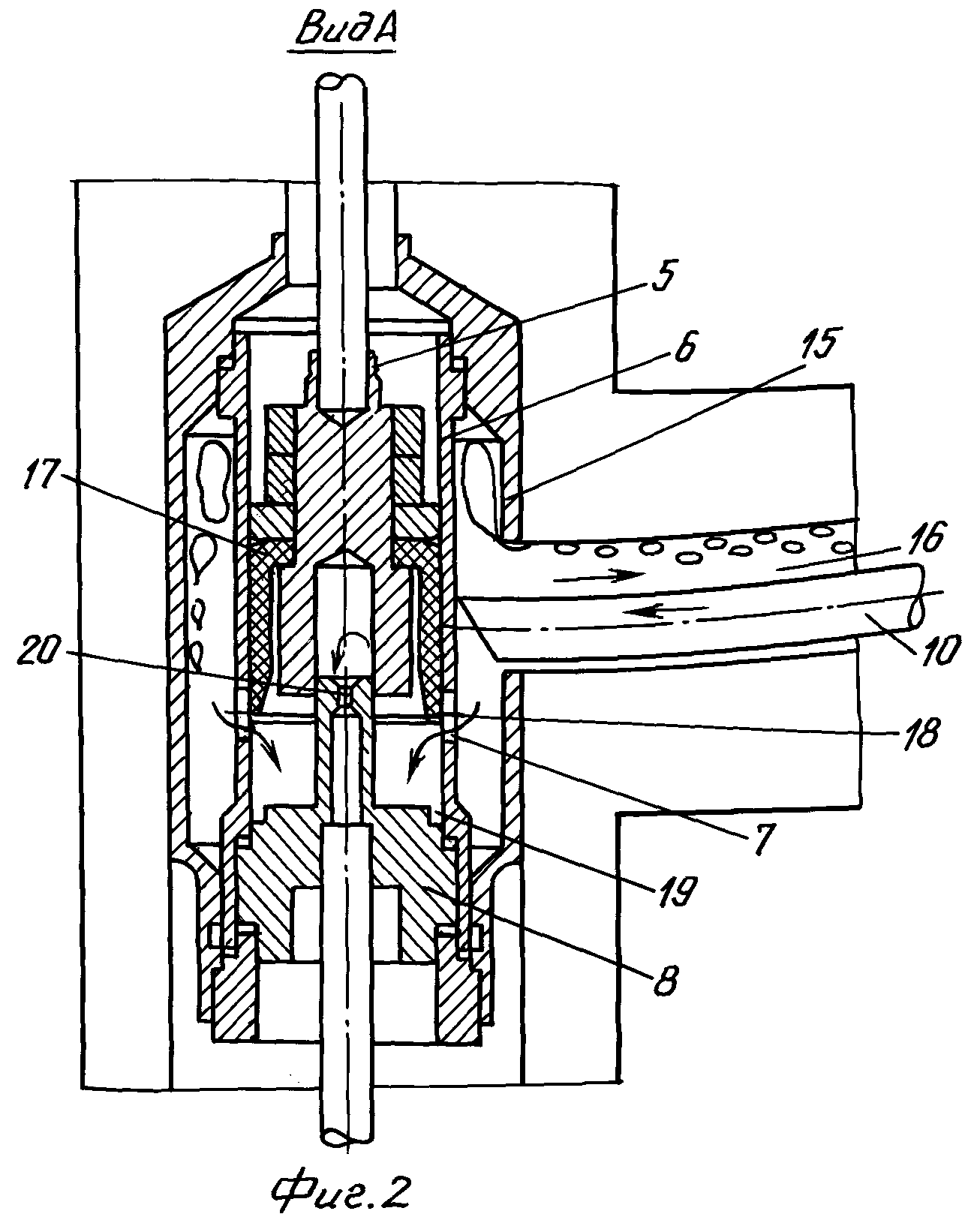
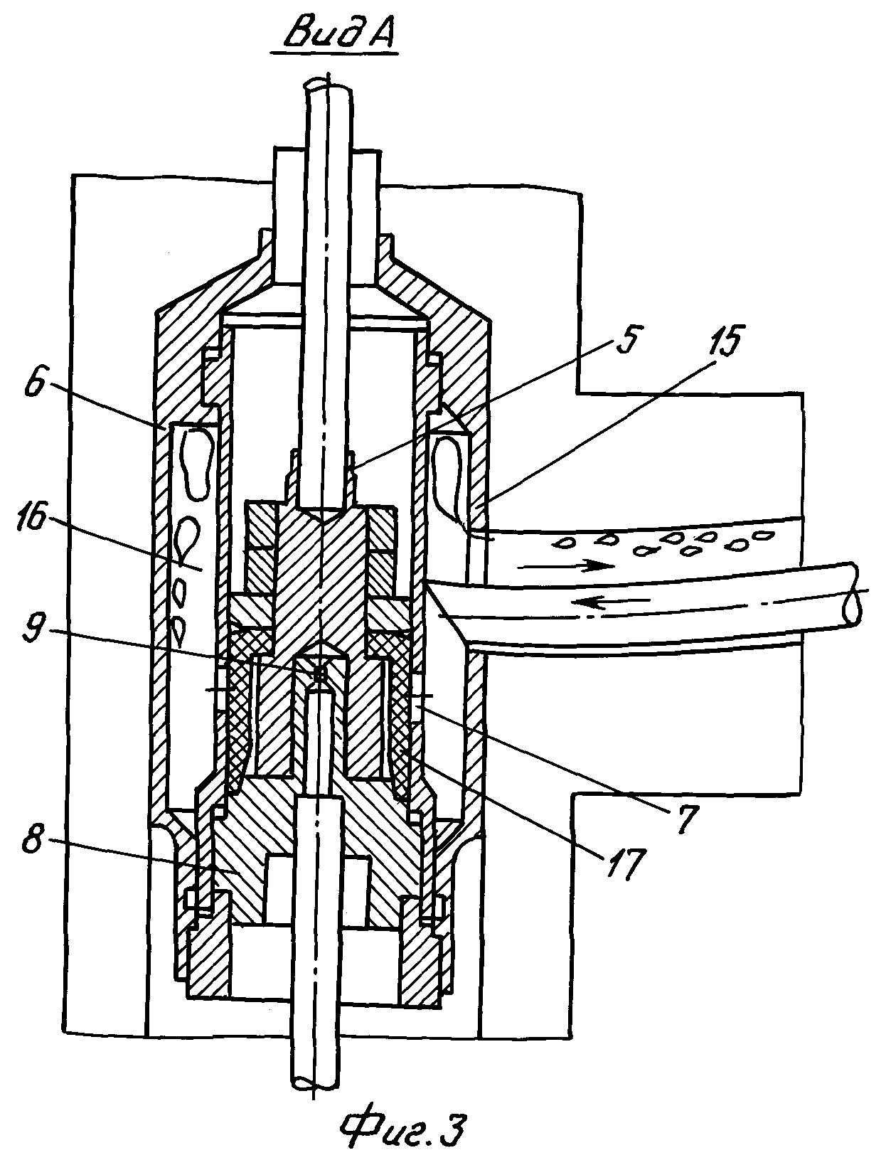
Предложенное устройство изображено на Фиг.1. На Фиг.2 изображен дозатор в исходном состоянии (такое же положение он занимает в конце каждого цикла дозирования). На Фиг.3 изображен дозатор с открытым клапаном до упора с регулируемым ограничителем хода.

[12]

На фигурах:

[13]

1 - сосуд для криогенной жидкости;

[14]

2 - клапан заправки и поддержания уровня;

[15]

3 - штуцер для отвода пара;

[16]

4 - дозатор;

[17]

5 - клапан дозатора;

[18]

6 - цилиндр;

[19]

7 - входные отверстия цилиндра;

[20]

8 - седло;

[21]

9 - выходное сопло седла;

[22]

10 - патрубок подвода криогенной жидкости;

[23]

11 - канал для подъема парожидкостной смеси;

[24]

12 - теплоизоляция;

[25]

13 - концевой формирователь впрыскиваемой криогенной жидкости;

[26]

14 - подогреватель;

[27]

15 - корпус;

[28]

16 - кольцевая полость;

[29]

17 - поршень;

[30]

18 - манжета;

[31]

19 - проточка седла;

[32]

20 - пружина;

[33]

21 - регулируемый ограничитель хода;

[34]

22 - управляемый привод.

[35]

Лучший вариант осуществления изобретения.

[36]

Устройство для дозированной выдачи криогенной жидкости содержит сосуд для криогенной жидкости 1 с клапаном для заправки и поддержания уровня 2 и штуцером для отвода пара 3. Основным элементом устройства является дозатор 4, содержащий клапан дозатора 5, который снабжен управляемым приводом 22 и подпружинен с помощью пружины 20. В устройстве выполнен цилиндр 6 с входными отверстиями 7, которые сообщены с полостью сосуда для криогенной жидкости 1 через патрубок подвода криогенной жидкости 10 и канал для подъема парожидкостной смеси 11. Причем сосуд для криогенной жидкости 1, дозатор 4, патрубок подвода криогенной жидкости 10 и канал для подъема парожидкостной смеси 11 имеют теплоизоляцию 12, а дозатор 4 содержит концевой формирователь впрыскиваемой криогенной жидкости 13 с подогревателем 14 для исключения ледообразования. Согласно изобретению для исключения парообразования в дозе криогенной жидкости введен корпус 15, концентричный цилиндру 6 с образованием кольцевой полости 16 вокруг цилиндра 6 и сообщающейся через входные отверстия цилиндра 7, патрубок подачи криогенной жидкости 10 и канал для подъема парожидкостной смеси 11 с полостью сосуда для криогенной жидкости 1. Клапан дозатора 5 концентричен цилиндру 6 и плотно прилегает к его внутренней поверхности, например, при выполнении на поверхности клапана эластичной манжеты 18, например из фторопласта, а торцевая кромка клапана дозатора 5 контактирует с проточкой седла 19, например, с образованием углового запорного соединения в исходном состоянии. Клапан дозатора 5 снабжен регулируемым ограничителем хода 21 в пределах размера проходного сечения входных отверстий цилиндра 7 для обеспечения необходимых капельных дозировок криогенной жидкости в диапазоне от 0,2 см3 до 1 см.3

[37]

Устройство функционирует следующим образом.

[38]

На линии розлива или расфасовки продукта устанавливают заданную дозировку жидкого азота с помощью регулируемого ограничителя хода 21, исходя из известных размеров свободного пространства в емкостях с продуктом и расстояния от места их закупорки с учетом скорости транспортера и заданного избыточного давления в емкостях после закупорки. При этом управляемый привод клапана 22, обеспечивающий его перемещение, может быть выполнен, например, в виде пневмоцилиндра, который приводится в движение по сигналу оптронного датчика при пересечении его луча каждой емкостью, подходящей к концевому формирователю впрыскиваемой криогенной жидкости 13. Заполнение сосуда для криогенной жидкости 1, например азота, происходит автоматически с помощью клапана заправки и поддержания уровня 2. Образующиеся пары азота отводятся из сосуда для криогенной жидкости 1 с помощью штуцера для отвода пара 3.

[39]

Наличие даже высоковакуумной теплоизоляции 12 значительно снижает теплопритоки от окружающей воздушной среды к жидкому азоту, однако полностью их не исключает.

[40]

В предложенном устройстве исключен теплоприток к дозируемой криогенной жидкости за счет введения корпуса 15 в дозаторе 4, который образует кольцевую полость 16 вокруг цилиндра 6 дозатора 4, сообщающуюся с патрубком для подвода криогенной жидкости 10 и каналом для подъема парожидкостной смеси 11 через входные отверстия цилиндра 7. Таким образом, в цилиндре 6 дозатора 4 формируется заданная доза однофазного жидкого азота, так как паровые пузыри, образующиеся в силу теплопритоков из кольцевой полости 16, увлекая часть жидкости, поднимаются по каналу для подъема парожидкостной смеси в результате действия Архимедовой силы, образуя так называемый парлифтинг. Образуется естественный контур, когда вниз идет однофазная криогенная жидкость, а вверх - парожидкостная смесь, при этом паровая составляющая уже из сосуда для криогенной жидкости 1 сбрасывается через штуцер отвода пара 3.

[41]

Клапан дозатора 5 в исходном состоянии после каждого цикла работы закрывается за счет прижатия пружиной 20 клапана 5 к седлу 8. Каждый цикл работы дозатора начинается с момента пересечения луча оптронного датчика очередной емкостью с продуктом, подаваемой транспортером, пневмоцилиндр поднимает клапан на заданное расстояние, обеспечивая открытие входных отверстий цилиндра 7, при этом величина проходного сечения входных отверстий цилиндра 7 регулируется от нулевого (отверстия 7 полностью перекрыты) до максимального, соответствующего положению клапана до контакта с регулируемым ограничителем хода 21. Объем дозирования криогенной жидкости равен Vдоз.=F×ω×Δτ, где ω - средняя скорость криогенной жидкости при заполнении через проходное сечение отверстий 7, при этом она практически постоянна; Δτ - время подъема клапана дозатора (устанавливаемое равным расчетному); F - регулируемая площадь сечения отверстий 7 (осуществляется управляемым ограничителем хода 21).

[42]

Однофазный азот поступает в цилиндр 6 и затем выдавливается с одинаковым объемом через выходное сопло седла 9 в концевой формирователь впрыскиваемой криогенной жидкости 13, а затем впрыскивается в емкость с продуктом. Клапан дозатора 5 закрывается под действием пружины 20 и операция впрыска кончается.

[43]

Предложенное изобретение может быть использовано для капельного дозирования криогенной жидкости в герметизируемые емкости, перемещаемые траспортером, при этом комплектующие для реализации этого технического решения производятся по известным отработанным промышленным технологиям.

[44]

Изготовлен экспериментальный образец, который прошел успешно испытания.

Как компенсировать расходы
на инновационную разработку
Похожие патенты