патент
№ RU 2702952
МПК F04B23/00
Номер заявки
2019109830
Дата подачи заявки
03.04.2019
Опубликовано
14.10.2019
Страна
RU
Как управлять
интеллектуальной собственностью
Чертежи 
1
Реферат

Изобретение относится к области компрессорных машин и может быть использовано при добыче нефти и газа. Компрессорная установка содержит рабочую камеру, выполненную в виде газожидкостного сепаратора, реверсивный жидкостной насос и эжектор. Сопло эжектора гидравлически связано через обратный клапан с источником рабочей жидкости и реверсивным жидкостным насосом, который оснащен регулируемым электроприводом с частотным регулятором, вход камеры смешения эжектора связан через всасывающий газовый клапан с газопроводом низкого давления. Выход камеры смешения эжектора подключен посредством перепускного трубопровода к верхней части газожидкостного сепаратора, выход которого по газу подсоединен через нагнетательный газовый клапан к газопроводу высокого давления, а выход по жидкости подключен к реверсивному жидкостному насосу, связанному с источником рабочей жидкости. Газожидкостной сепаратор оснащен уровнемерной выносной камерой, гидравлически связывающей верхнюю и нижнюю части газожидкостного сепаратора. В уровнемерной выносной камере размещен поплавок. На ее внешней стенке установлены два датчика уровня на расстоянии друг от друга, соответствующем минимально и максимально допустимым нижнему и верхнему положениям уровня жидкости в газожидкостном сепараторе. Датчики связаны через блок управления с частотным регулятором электропривода. Исключается попадание газа в проточную часть жидкостного насоса и жидкости в газопровод высокого давления за счет синхронизации работы газожидкостного сепаратора и реверсивного жидкостного насоса с колебаниями уровня жидкости в газожидкостном сепараторе. 1 з.п. ф-лы, 1 ил.

Формула изобретения

1. Компрессорная установка, содержащая рабочую камеру, выполненную в виде газожидкостного сепаратора, реверсивный жидкостной насос и эжектор, при этом сопло эжектора гидравлически связано через обратный клапан с источником рабочей жидкости и реверсивным жидкостным насосом, который оснащен регулируемым электроприводом с частотным регулятором, вход камеры смешения эжектора связан через всасывающий газовый клапан с газопроводом низкого давления, а выход камеры смешения эжектора подключен посредством перепускного трубопровода к верхней части газожидкостного сепаратора, выход которого по газу подсоединен через нагнетательный газовый клапан к газопроводу высокого давления, а выход по жидкости подключен к реверсивному жидкостному насосу, связанному с источником рабочей жидкости, отличающаяся тем, что газожидкостной сепаратор оснащен уровнемерной выносной камерой, гидравлически связывающей верхнюю и нижнюю части газожидкостного сепаратора, при этом в уровнемерной выносной камере размещен поплавок, а на ее внешней стенке установлены два датчика уровня на расстоянии друг от друга, соответствующем минимально и максимально допустимым нижнему и верхнему положениям уровня жидкости в газожидкостном сепараторе, при этом датчики связаны через блок управления с частотным регулятором электропривода.

2. Компрессорная установка по п. 1, отличающаяся тем, что к поплавку прикреплен постоянный магнит, уровнемерная выносная камера выполнена из немагнитного материала, а датчики уровня, размещенные на внешней стенке уровнемерной выносной камеры, выполнены в виде герконов.

Описание

[1]

Изобретение относится к области компрессорных машин и может быть использовано при добыче нефти и газа на суше или на море, в том числе для реализации газлифтного метода для удаления воды из газовых скважин.

[2]

Известна компрессорная установка, содержащая рабочую камеру, сообщающуюся с жидкостным насосом, эжектор, перепускное распределительное устройство, всасывающий газовый клапан, который отделяет полость рабочей камеры и газопровода высокого давления от газопровода низкого давления (RU 2154749, 2000 г.).

[3]

Недостатком известного устройства является относительно низкая надежность жидкостного насоса в период перекачки газожидкостной смеси, что влечет за собой и снижение надежности работы компрессорной установки в целом.

[4]

Из известных технических решений наиболее близким к предлагаемому по технической сущности и достигаемому результату является компрессорная установка, содержащая рабочую камеру, выполненную в виде газожидкостного сепаратора, реверсивный жидкостной насос и эжектор, при этом сопло эжектора гидравлически связано через обратный клапан с источником рабочей жидкости и реверсивным жидкостным насосом, который оснащен регулируемым электроприводом с частотным регулятором, вход камеры смешения эжектора связан через всасывающий газовый клапан с газопроводом низкого давления, а выход камеры смешения эжектора подключен посредством перепускного трубопровода к верхней части газожидкостного сепаратора, выход которого по газу подсоединен через нагнетательный газовый клапан к газопроводу высокого давления, а выход по жидкости подключен к реверсивному жидкостному насосу, связанному с источником рабочей жидкости (RU 2680021, 2019 г.).

[5]

Недостатками указанного устройства являются низкие надежность работы компрессорной установки и безопасность выполнения работ, что объясняется возможностью попадания газа в проточную часть жидкостного насоса при заполнении рабочей камеры газом с попаданием жидкости в газопровод высокого давления при вытеснении газа из рабочей камеры.

[6]

Технической проблемой, на решение которой направлено предлагаемое изобретение, является повышение надежности работы установки и уровня безопасности за счет исключения аварийных ситуаций в процессе ее эксплуатации.

[7]

Указанная проблема решается тем, что в компрессорной установке, содержащей рабочую камеру, выполненную в виде газожидкостного сепаратора, реверсивный жидкостной насос и эжектор, при этом сопло эжектора гидравлически связано через обратный клапан с источником рабочей жидкости и реверсивным жидкостным насосом, который оснащен регулируемым электроприводом с частотным регулятором, вход камеры смешения эжектора связан через всасывающий газовый клапан с газопроводом низкого давления, а выход камеры смешения эжектора подключен посредством перепускного трубопровода к верхней части газожидкостного сепаратора, выход которого по газу подсоединен через нагнетательный газовый клапан к газопроводу высокого давления, а выход по жидкости подключен к реверсивному жидкостному насосу, связанному с источником рабочей жидкости, согласно изобретению, газожидкостной сепаратор оснащен уровнемерной выносной камерой, гидравлически связывающей верхнюю и нижнюю части газожидкостного сепаратора, при этом в уровнемерной выносной камере размещен поплавок, а на ее внешней стенке установлены два датчика уровня на расстоянии друг от друга, соответствующем минимально и максимально допустимым нижнему и верхнему положениям уровня жидкости в газожидкостном сепараторе, при этом датчики связаны через блок управления с частотным регулятором электропривода.

[8]

Возможен вариант реализации изобретения, когда к поплавку прикреплен постоянный магнит, уровнемерная выносная камера выполнена из немагнитного материала, а датчики уровня, размещенные на внешней стенке уровнемерной выносной камеры, выполнены в виде герконов.

[9]

Достигаемый технический результат заключается в исключении попадания газа в проточную часть жидкостного насоса и жидкости в газопровод высокого давления за счет синхронизации работы газожидкостного сепаратора и реверсивного жидкостного насоса с колебаниями уровня жидкости в газожидкостном сепараторе.

[10]

Сущность изобретения поясняется чертежом, на котором представлена схема заявляемой компрессорной установки.

[11]

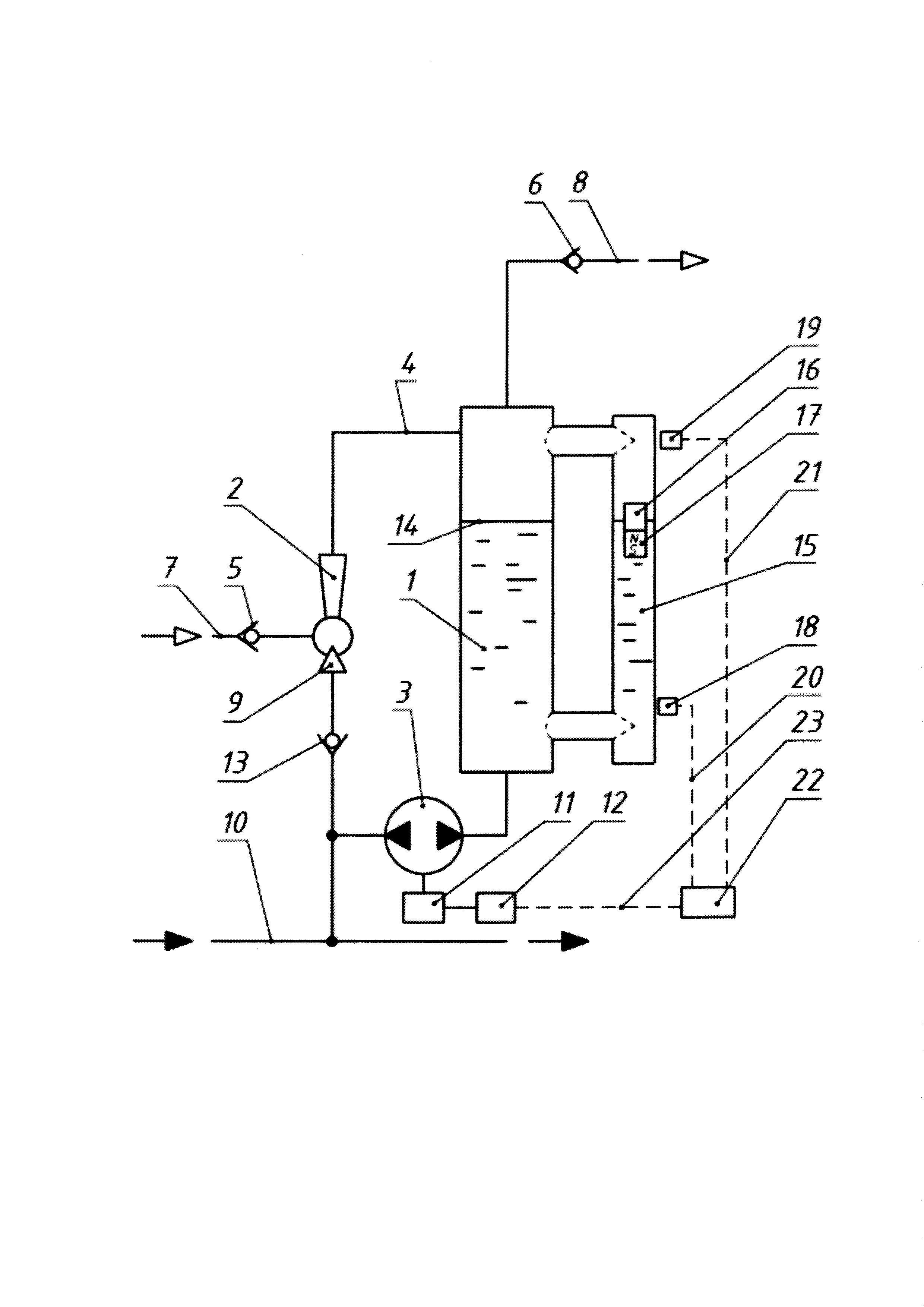
Компрессорная установка содержит рабочую камеру 1 и эжектор с камерой смешения 2, подключенные к жидкостному насосу 3, перепускной трубопровод 4, всасывающий газовый клапан 5 и нагнетательный газовый клапан 6, которые отделяют полость рабочей камеры 1 от газопровода низкого давления 7 и газопровода высокого давления 8, соответственно. Жидкостной насос 3 выполнен в виде реверсивного насоса. Рабочая камера 1 выполнена в виде газожидкостного сепаратора. Камера смешения 2 эжектора сообщается с реверсивным жидкостным насосом 3 через сопло 9 эжектора. Вход в сопло 9 эжектора гидравлически связан с источником рабочей жидкости 10. Вход в камеру смешения 2 эжектора связан через всасывающий газовый клапан 5 с газопроводом низкого давления 7. Перепускной трубопровод 4 связывает выход камеры смешения 2 эжектора с верхней частью газожидкостного сепаратора 1. В верхней части газожидкостного сепаратора 1 размещен нагнетательный газовый клапан 6, отделяющий газожидкостной сепаратор 1 от газопровода высокого давления 8.

[12]

Реверсивный жидкостной насос 3 оснащен регулируемым электроприводом 11 с частотным регулятором 12.

[13]

Между соплом 9 эжектора и реверсивным жидкостным насосом 3 установлен обратный клапан 13, пропускающий поток в направлении от реверсивного жидкостного насоса 3 к соплу 9 эжектора, при этом реверсивный жидкостной насос 3 постоянно сообщается с источником рабочей жидкости 10. В качестве источника рабочей жидкости 10 может быть использован трубопровод, через который постоянно циркулирует рабочая жидкость, как показано на чертеже. Верхняя часть газожидкостного сепаратора 1 заполнена газом, нижняя часть газожидкостного сепаратора 1 заполнена рабочей жидкостью, на чертеже показана граница раздела 14 между газообразной фазой и жидкой фазой.

[14]

Газожидкостной сепаратор 1 оснащен уровнемерной выносной камерой 15, гидравлически связывающей верхнюю и нижнюю части газожидкостного сепаратора 1, в которой размещен поплавок 16, а на внешней стенке установлены два датчика уровня 18 и 19 на расстоянии друг от друга, соответствующем минимально и максимально допустимым нижнему и верхнему положениям уровня жидкости в газожидкостном сепараторе 1. Датчики уровня 18 и 19 связаны посредством информационных линий связи 20 и 21 соответственно с блоком управления 22, который связан с помощью управляемой линии связи 23 с частотным регулятором электропривода 12.

[15]

Возможен вариант исполнения компрессорной установки, когда к поплавку 16 прикреплен постоянный магнит 17, уровнемерная выносная камера 15 выполнена из немагнитного материала, а датчики уровня 18 и 19, размещенные на внешней стенке уровнемерной выносной камеры 15, выполнены в виде герконов.

[16]

Местоположение для каждого датчика уровня выбирают из условия обеспечения синхронной работы газожидкостного сепаратора и реверсивного жидкостного насоса с колебаниями уровня жидкости в газожидкостном сепараторе, что должно исключить проявления гидроударов при верхнем положении уровня жидкости в рабочей камере и прорывов газа в реверсивный жидкостной насос при нижнем положении уровня жидкости в рабочей камере.

[17]

Таким образом, обеспечивается исключение попадания газа в проточную часть жидкостного насоса и жидкости в газопровод высокого давления, повышается надежность работы установки и ее уровень безопасности, исключаются аварийные ситуации в процессе эксплуатации.

[18]

Компрессорная установка работает следующим образом.

[19]

Реверсивный жидкостной насос 3 работает в циклическом режиме с изменением направления потока на каждой половине цикла. Реверсивный жидкостной насос 3 подает рабочую жидкость из рабочей камеры 1 через обратный клапан 13 в сопло 9 эжектора, при этом частично рабочая жидкость поступает в трубопровод 10. За счет энергии струи жидкости на входе камеры смешения 2 эжектора понижается давление и в камеру смешения 2 поступает газ из газопровода низкого давления 7 через открытый всасывающий газовый клапан 5. На выходе камеры смешения 2 эжектора повышается давление в потоке смеси жидкости и газа за счет преобразования кинетической энергии жидкости в потенциальную энергию, что сопровождается повышением давления при понижении скорости течения газожидкостного потока. Через перепускной трубопровод 4 сжатый газ вместе с жидкостью поступает в рабочую камеру 1, где реализуется процесс сепарации с разделением газожидкостной смеси на жидкую и газовую фазу. Жидкость скапливается в нижней части рабочей камеры 1, а газ в верхней части, как в известных гравитационных сепараторах. Сжатый газ накапливается в верхней части рабочей камеры 1, что приводит к смещению границы раздела 14 в направлении сверху вниз. При этом жидкость из рабочей камеры 1 вытесняется реверсивным жидкостным насосом 3 в трубопровод 10.

[20]

Когда граница раздела 14 приблизится к минимально допустимому нижнему положению уровня жидкости в рабочей камере 1, в уровнемерной выносной камере 15 поплавок 16 опустится до соответствующего уровня, где расположен нижний датчик уровня 18. После этого происходит передача сигнала от датчика уровня 18 по информационной линии связи 20 на блок управления 22, а далее через управляющую линию связи 23 поступает сигнал на частотный регулятор 12 для отключения жидкостного насоса 3, либо изменения направления вращения электропривода 11. В последнем случае компрессорная установка продолжит работать, а жидкость из трубопровода 10 при этом начнет перекачиваться реверсивным жидкостным насосом 3 в направлении к рабочей камере 1. Это приведет к увеличению давления в рабочей камере 1, соответственно обратный клапан 13 закроется и закроется также всасывающий газовый клапан 5. Поток в камере смешения 2 эжектора останавливается. Таким образом, осуществляется отключение эжектора на время заполнения рабочей камеры жидкостью. В это время граница раздела 14 начнет смещаться в направлении снизу-вверх. При этом продолжится сжатие газа в рабочей камере 1, что сопровождается соответствующим ростом давления. При смещении границы раздела 14 вверх наступит момент, когда давление в рабочей камере 1 сравняется с давлением в газопроводе высокого давления 8. Такое выравнивание давления приведет к открытию нагнетательного газового клапана 6. При дальнейшем смещении границы раздела 14 вверх сжатый газ из рабочей камеры 1 вытесняется в газопровод высокого давления 8 через открытый нагнетательный газовый клапан 6. Окончание цикла вытеснения газа обуславливается перемещением поплавка 16 до верхнего датчика уровня 19, расположение которого соответствует максимально допустимому верхнему положению уровня жидкости в рабочей камере 1. После этого происходит передача сигнала от датчика уровня 19 по информационной линии связи 21 на блок управления 22 и далее через управляющую линию связи 23 на частотный регулятор 12. Электропривод 11 изменяет направление вращения ротора жидкостного насоса 3 и, соответственно, изменяется направление потока жидкости в газожидкостном сепараторе 1 на противоположное направление. Цикл повторяется.

[21]

Преимуществом заявляемого устройства является повышение надежности и уровня безопасности работы компрессорной установки, поскольку обеспечивается синхронная работа газожидкостного сепаратора и реверсивного жидкостного насоса при колебаниях уровня жидкости в газожидкостном сепараторе, при этом исключается смещение границы раздела 14 ниже минимально допустимого значения при срабатывании датчика уровня 18. Исключается попадание газа в реверсивный жидкостный насос 3. Также исключается попадание жидкости в газопровод высокого давления 8 при смещении границы раздела 14 в направлении снизу-вверх, при срабатывании датчика уровня 19 в максимально допустимом верхнем положении уровня жидкости. Помимо повышения безопасности работ при использовании заявляемого устройства обеспечивается более высокое качество сжимаемого газа по критерию влагосодержания в газе.

Как компенсировать расходы
на инновационную разработку
Похожие патенты