патент
№ RU 2192990
МПК B64D41/00

УСТРОЙСТВО ДЛЯ КРЕПЛЕНИЯ АГРЕГАТОВ

Авторы:
Куделькин В.А.
Номер заявки
99108306/28
Дата подачи заявки
19.04.1999
Опубликовано
20.11.2002
Страна
RU
Как управлять
интеллектуальной собственностью
Чертежи 
5
Реферат

[18]

Изобретение относится к области авиационной техники и может быть использовано при креплении выхлопной трубы вспомогательной силовой установки самолета, а также в других отраслях промышленности при креплении агрегатов с последующей регулировкой и фиксацией. Устройство содержит верхний и боковые узлы крепления, включающие в себя кронштейны. В кронштейнах шарнирно закреплена по крайней мере одна регулируемая по длине тяга, которая соединена со стыкуемым агрегатом. Кроме того, каждый кронштейн боковых узлов имеет внешнюю серьгу с фиксатором вертикального перемещения. Внешняя серьга может поворачиваться в горизонтальной плоскости, а внутри нее смонтирована внутренняя серьга с фиксатором горизонтального перемещения. Внутренняя серьга шарнирно соединена со стыкуемым агрегатом посредством сферического подшипника. Упомянутые фиксаторы могут быть выполнены в виде винтов с контргайками, на концах каждого из которых шарнирно закреплена серьга. Кронштейны боковых узлов могут быть выполнены в виде жесткой облегченной рамки. Изобретение позволяет снизить трудоемкость монтажно-демонтажных работ и обеспечить точность регулировки. 2 з.п. ф-лы, 6 ил.

Формула изобретения

1. Устройство для крепления агрегатов, содержащее верхний и боковые узлы крепления, включающие в себя кронштейны, в которых шарнирно закреплена по крайней мере одна регулируемая по длине тяга, соединенная со стыкуемым агрегатом, отличающееся тем, что каждый кронштейн боковых узлов снабжен внешней серьгой с фиксатором вертикального перемещения, смонтированной с возможностью поворота в горизонтальной плоскости, при этом внутри внешней серьги смонтирована внутренняя серьга с фиксатором горизонтального перемещения, шарнирно соединенная со стыкуемым агрегатом посредством сферического подшипника.

2. Устройство по п. 1, отличающееся тем, что упомянутые фиксаторы выполнены в виде винтов с контргайками, на концах каждого из которых шарнирно закреплена серьга.

3. Устройство по п, 1, отличающееся тем, что кронштейны боковых узлов выполнены в виде жесткой облегченной рамки.

Описание

[1]

Изобретение относится к области авиационной техники и может быть использовано при креплении выхлопной грубы вспомогательной силовой установки (ВСУ) самолета, а также в других отраслях промышленности при креплении агрегатов с последующей регулировкой и их фиксацией.

[2]

Известны устройства для крепления агрегатов, в частности выхлопной трубы вспомогательной силовой установки самолета, содержащие верхний и боковые узлы крепления, включающие в себя кронштейны, закрепленные на противопожарной перегородке отсека (ВСУ), в которых шарнирно закреплена, по крайней мере, одна регулируемая по длине тяга, соединенная со стыкуемым агрегатом, выполненным в виде выхлопной трубы (ВСУ), при этом каждый кронштейн боковых узлов шарнирно соединен с упомянутой трубой (см. Руководство по эксплуатации самолета ТУ-204-200, раздел 049, стр. 3, рис.1, 1993 г., изд. Москва ОАО "АНТК им. А.Н. Туполева").

[3]

Однако при проведении монтажно-демонтажных работ возникает необходимость регулировки кольцевых телескопических зазоров между выхлопной трубой и конструкцией хвостового кока, а также равномерных зазоров по плавающим шайбам между выхлопной трубой и выхлопным патрубком и противопожарной перегородкой, установленным для компенсации вибраций и температурных расширений указанных агрегатов. Одновременная регулировка всех этих зазоров в вертикальной и горизонтальной плоскостях с помощью стержневой системы крепления с укорачиванием одних тяг и удлинением других представляет собой длительный и сложный процесс, приводящий к большой трудоемкости указанных работ.

[4]

Задачей настоящего изобретения является снижение трудоемкости монтажно-демонтажных работ и обеспечение точности регулировки.

[5]

Решение технической задачи обеспечивается тем, что устройство для крепления агрегатов содержит верхний и боковые узлы крепления, включающие в себя кронштейны, в которых шарнирно закреплены регулируемые по длине тяги, соединенные со стыкуемым агрегатом, причем каждый кронштейн боковых узлов снабжен внешней серьгой с фиксатором, смонтированной с возможностью поворота в горизонтальной плоскости и вертикального перемещения, при этом внутри внешней серьги смонтирована внутренняя серьга с возможностью поворота в вертикальной плоскости и горизонтального перемещения, ограниченного фиксатором, шарнирно соединенная со стыкуемым агрегатом, а упомянутые фиксаторы выполнены в виде болтов с контргайками, на концах каждого из которых шарнирно закреплена серьга, при этом кронштейны боковых узлов выполнены в виде жесткой облегченной рамки.

[6]

На фиг. 1 изображено устройство для крепления агрегатов (в качестве агрегатов на чертежах изображено крепление выхлопной трубы к двигателю вспомогательной силовой установки (ВСУ) самолета).

[7]

На фиг.2 - то же, вид А по фиг.1.

[8]

На фиг.3 изображен боковой узел крепления, вид сбоку.

[9]

На фиг.4 - боковой узел крепления, вид сверху.

[10]

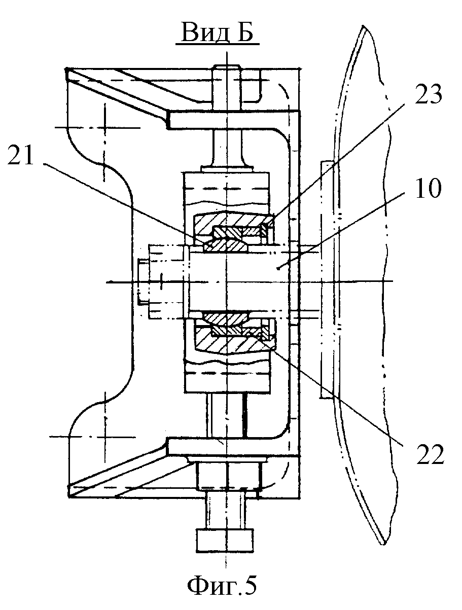
На фиг.5 - боковой узел крепления, вид Б по фиг.3.

[11]

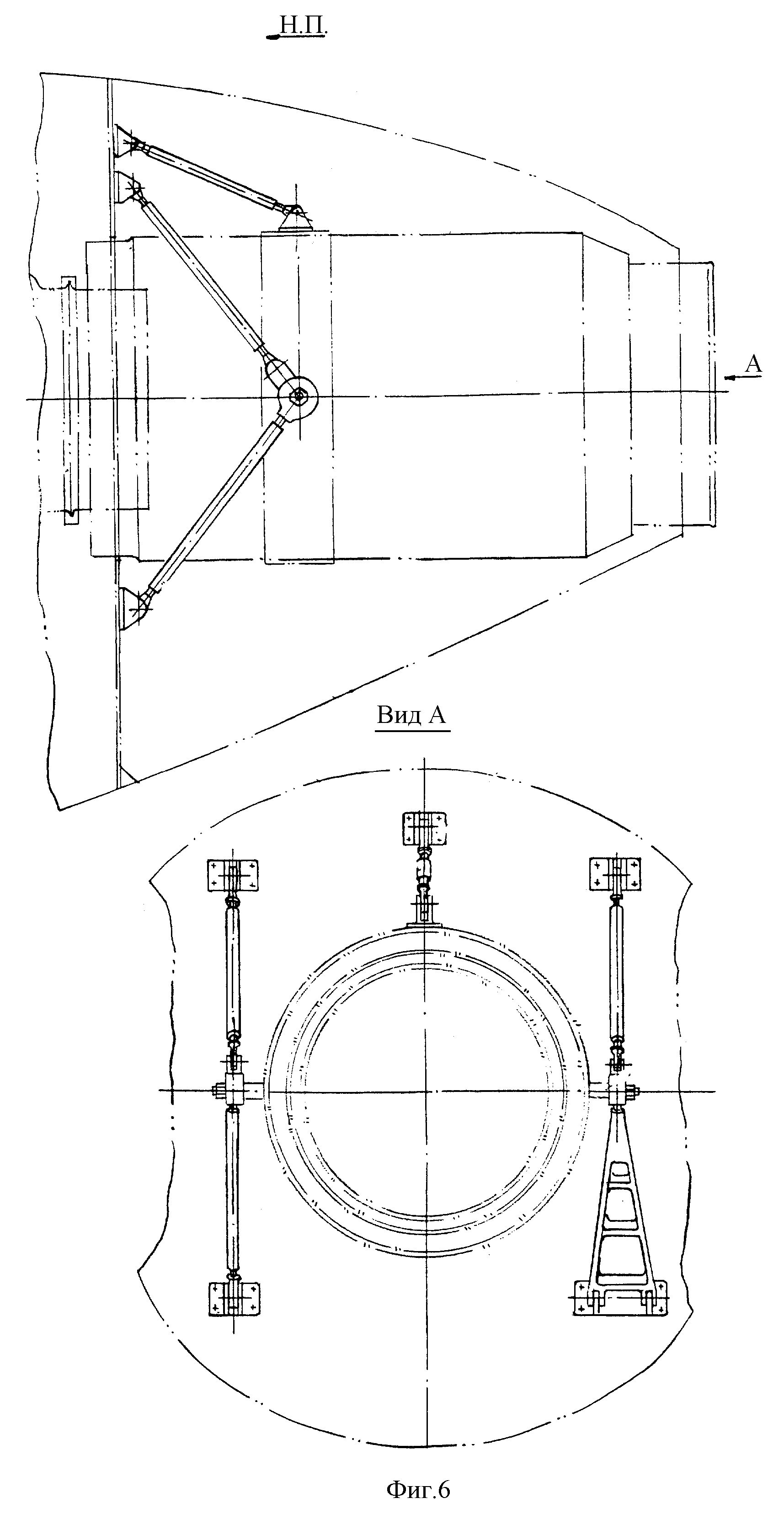
На фиг.6 изображен прототип.

[12]

Устройство для крепления агрегатов, преимущественно для крепления выхлопной трубы к двигателю вспомогательной силовой установки самолета, содержит выхлопную трубу 1, размещенную в хвостовом коке 2 самолета, состыковываемую с двигателем 3 вспомогательной силовой установки самолета с помощью выхлопного патрубка 4 и кольцевого хомута 5. Выхлопная труба 1 имеет верхний узел крепления, выполненный из регулируемой по длине тяги 6 в виде талрепа с длинноходовой гайкой и кронштейна 7, закрепленного на усиленной противопожарной перегородке 8, причем концы тяги 6 шарнирно закреплены в кронштейнах 7 и 9.

[13]

Боковые узлы крепления имеют цапфы 10, размещенные в кронштейнах 11, выполненных в виде жесткой облегченной рамки, в которую вставлена внешняя серьга 12, перемещаемая в вертикальной плоскости при вворачивании или выворачивании винта 13 вдоль вертикальной оси, образованной винтом 13 и валиком 14. Внутренняя серьга 15 установлена во внешней серьге 12 с возможностью перемещения в горизонтальной плоскости при аналогичном вращении винта 16 вдоль оси, образуемой этим винтом и валиком 17. Валики 14 и 17 закреплены во внешней серьге и внутренней серьге 15 стопорными кольцами 18, а винты 13 и 16 после окончания регулировки законтриваются контргайками 19, 20. Внутренняя серьга 15 устанавливается на цапфе 10 выхлопной трубы 1 с помощью сферического подшипника 21, втулки 22 и стопорного кольца 23, а также гайки 24. Такое крепление обеспечивает перемещение выхлопной трубы 1 в вертикальной и горизонтальной плоскостях при соответствующих вращениях винтов 13 и 16.

[14]

Работа устройства для крепления агрегатов (на примере крепления выхлопной трубы к двигателю вспомогательной силовой установки самолета) осуществляется следующим образом.

[15]

При необходимости проведения регулировочных работ выхлопную трубу 1 с помощью верхнего и боковых узлов крепления ориентируют на закрепляемом агрегате, в частности, увеличивают или уменьшают длину тяги 6, заворачивая или выворачивая длинноходовую гайку талрепа, а также с помощью вворачивания или выворачивания винтов 13, 16, установленных в серьгах 12, 15 боковых узлов крепления.

[16]

При окончательной регулировке зазоров в состыковываемых агрегатах затягивают контргайки 19, 20, установленные на винтах 13, 16 боковых узлов.

[17]

Использование изобретения позволит сократить время и облегчить регулировку зазоров с помощью перемещения выхлопной трубы точно по вертикальной и горизонтальной осям, что снижает трудоемкость монтажно-демонтажных работ, а также позволяет снизить вес всей вспомогательной установки самолета.

Как компенсировать расходы
на инновационную разработку
Похожие патенты