патент
№ RU 2632114
МПК A61L31/10

Способ лазерной обработки нанокомпозитного покрытия имплантанта связки коленного сустава

Авторы:
Подгаецкий Виталий Маркович Журбина Наталья Николаевна Зар Вадим Владимирович
Все (4)
Номер заявки
2016130057
Дата подачи заявки
22.07.2016
Опубликовано
02.10.2017
Страна
RU
Как управлять
интеллектуальной собственностью
Чертежи 
2
Реферат

Изобретение относится к медицине и может бы использовано для формирования нанокомпозитного покрытия имплантата связки коленного сустава. Для этого проводят следующие стадии: 1) подготавливают поверхность заготовки имплантата путем обезвоживания поверхности имплантата, с промывкой дистиллированной водой в ультразвуковой ванне; 2) изготавливают вспомогательное вещество, представляющее собой водную дисперсию белков и углеродных нанотрубок, при следующем количественном соотношении компонент (в мас. %): белок 19-50; углеродные нанотрубки 0,001-0,1; вода - остальное; 3) наносят на поверхность заготовки имплантата связки коленного сустава со стадии 1 слой вспомогательного вещества - водно-белковой дисперсии углеродных нанотрубок со стадии 2; при этом используют ультразвуковую ванну с резервуаром, заполненным водой, в которую помещают сосуд с водно-белковой дисперсией углеродных нанотрубок и заготовкой имплантата связки коленного сустава; 4) формируют слои дисперсии углеродных нанотрубок на поверхности заготовки имплантата, для чего используют источник лазерного излучения, луч которого направлен преимущественно по нормали к поверхности слоя дисперсии нанотрубок, нанесенного на заготовку имплантата связки коленного сустава, и имеет пространственный профиль лазерного пучка π-образного вида, причем для лазерного облучения внутренней поверхности трубочной и/или ленточной заготовки имплантата связки коленного сустава с нанесенным на нее слоем водно-белковой дисперсии углеродных нанотрубок используют световод с кольцевой диаграммой диффузно рассеянного излучения, с длиной диффузной части световода, которая может соответствовать длине костного канала. Изобретение обеспечивает надежное закрепление имплантата связки коленного сустава в костном канале и получение остеоиндуктивной связи материала имплантата связки с материалом костного канала. 8 з.п. ф-лы, 4 ил.

Формула изобретения

1. Способ формирования нанокомпозитного покрытия имплантата связки коленного сустава, включающий следующие стадии:

1) подготавливают поверхность заготовки имплантата путем обезвоживания поверхности имплантата, с промывкой дистиллированной водой в ультразвуковой ванне;

2) изготавливают вспомогательное вещество, представляющее собой водную дисперсию белков и углеродных нанотрубок, при следующем количественном соотношении компонент (в мас. %):

Белок19-50
Углеродные нанотрубки0,001-0,1
Водаостальное

3) наносят на поверхность заготовки имплантата связки коленного сустава со стадии 1 слой вспомогательного вещества - водно-белковой дисперсии углеродных нанотрубок со стадии 2; при этом используют ультразвуковую ванну с резервуаром, заполненным водой, в которую помещают сосуд с водно-белковой дисперсией углеродных нанотрубок и заготовкой имплантата связки коленного сустава;

4) формируют слои дисперсии углеродных нанотрубок на поверхности заготовки имплантата, для чего используют источник лазерного излучения, луч которого направлен преимущественно по нормали к поверхности слоя дисперсии нанотрубок, нанесенного на заготовку имплантата связки коленного сустава, и имеет пространственный профиль лазерного пучка π-образного вида, причем для лазерного облучения внутренней поверхности трубочной и/или ленточной заготовки имплантата связки коленного сустава с нанесенным на нее слоем водно-белковой дисперсии углеродных нанотрубок используют световод с кольцевой диаграммой диффузно рассеянного излучения, с длиной диффузной части световода, которая может соответствовать длине костного канала.

2. Способ по п. 1, отличающийся тем, что длина волны лазерного излучения находится в пределах от 0,5 до 1,1 мкм.

3. Способ по п. 1, отличающийся тем, что мощность лазерного излучения находится в пределах от 3 до 20 Вт.

4. Способ по п. 1, отличающийся тем, что концентрация белковой компоненты во вспомогательном веществе - водно-белковой дисперсии углеродных нанотрубок, находится в пределах от 20 до 50 мас. %.

5. Способ по п. 1, отличающийся тем, что в процессе лазерного облучения слоя вспомогательного вещества - водно-белковой дисперсии углеродных нанотрубок, нанесенного на заготовку имплантата связки коленного сустава, осуществляют пошаговое перемещение лазерного пучка вдоль поверхности заготовки имплантата.

6. Способ по п. 1, отличающийся тем, что в процессе лазерного облучения слоя вспомогательного вещества - водно-белковой дисперсии углеродных нанотрубок, нанесенного на заготовку имплантата связки коленного сустава, осуществляют пошаговое перемещение заготовки имплантата преимущественно перпендикулярно направлению лазерного пучка, с поворотом заготовки имплантата.

7. Способ по п. 1, отличающийся тем, что в процессе лазерного облучения слоя вспомогательного вещества - водно-белковой дисперсии углеродных нанотрубок, нанесенного на заготовку имплантата связки коленного сустава, осуществляют пошаговое перемещение заготовки имплантата с поворотом заготовки имплантата.

8. Способ по п. 1, отличающийся тем, что используют коллимированное лазерное излучение с пространственным профилем лазерного пучка π-образного вида.

9. Способ по п. 1, отличающийся тем, что для лазерного облучения внутренней поверхности трубочной заготовки имплантата связки с нанесенным на нее слоем вспомогательного вещества - водно-белковой дисперсии углеродных нанотрубок, используют волоконный световод с кольцевой диаграммой диффузно рассеянного излучения.

Описание

[1]

Изобретение относится к области лазерной медицины и, конкретно, к травматологии. Изобретение предназначено для лазерной обработки хирургических имплантатов, используемых при реконструкции связок и сухожилий.

[2]

Одной из распространенных хирургических операций на конечностях человека является реконструкция (восстановление) связки коленного сустава. Показаниями к такой операции могут служить нестабильность сустава, ведущая к мышечной атрофии, либо травматический разрыв связки, например, вследствие удара в область коленной чашечки или силового воздействия на голень.

[3]

Применяемые хирургические имплантаты связок коленного сустава достаточно разнообразны. Это могут быть искусственные вязанные или тканные бесшовные полимерные изделия трубочного или ленточного вида, аллотрансплантаты, взятые у животных или из банка тканей, а также аутотрансплантаты сухожилий или связок самого пациента со второстепенными функциями, изымаемые во время основной операции. Предварительная обработка покрытия имплантатов осуществляется с целью минимальной травматизации оперируемого коленного сустава, избегания отторжения имплантата и снижения риска инфекции после трансплантации [1, 2]. В процессе реконструкции связки имплантат должен быть максимально надежно зафиксирован в специально сформированных отверстиях бедра и большеберцовой кости (костных каналах), с созданием оптимальных условий для биологической самофиксации имплантата [3].

[4]

Известен способ закрепления имплантата связки коленного сустава в отверстиях берцовых костей человека или животного, с передачей энергии во вспомогательный затвердевающий плавкий материал, проникающий в костную ткань [4].

[5]

Недостатком такого способа закрепления имплантата связки коленного сустава является неполная физиологичность предлагаемого плавкого материала, что может иметь следствием разрушение или отторжение имплантата.

[6]

Известен способ заселения имплантата связки коленного сустава фибробластами, с пропитыванием имплантата вспомогательным веществом - коллагеном, волокна которого ориентируют вдоль продольной оси связки с целью ее заполнения живой соединительной тканью [5].

[7]

Существенным недостатком такого способа заселения имплантата связки коленного сустава является возможность возникновения аллергической реакции на использование коллагена в пропитке имплантата.

[8]

Наиболее близким техническим решением заявляемого способа лазерной обработки являются способ изготовления и применения искусственных связок суставов и сухожилий с использованием вспомогательных веществ - нановолокон, включающих графен, его производные и углеродные нанотрубки [6].

[9]

Недостаток такого способа изготовления и применения имплантатов связок заключается в отсутствии функциональной обработки применяемых углеродосодержащих материалов, которая только может придавать материалу имплантата связки остеиндуктивные свойства, определяющие устойчивую фиксацию имплантата в костном канале.

[10]

Все указанные способы технически просты и обеспечивают первичную фиксацию имплантата связки коленного сустава в костном канале. Для дальнейшего осуществления эффективного контакта имплантата с материалом костного канала, желательно, использовать остеоиндуктивные свойства имплатированного материала. Вместе с тем, возможности и вероятность надежной биологической самофиксации трансплантата связки коленного сустава в результате врастания соединительной ткани или кости в трансплантат со стороны стенок канала в вышеописанных способах остаются спорными.

[11]

Задача предлагаемого изобретения состоит в повышении надежности первичной и вторичной фиксации имплантата связки в костном канале и биологической совместимости материала имплантата с организмом пациента, что позволит обеспечить условия достижения улучшенных результатов при оперативном лечении повреждений связок коленного сустава.

[12]

Предложенная лазерная обработка нанокомпозитного покрытия имплантата связки коленного сустава осуществляется путем нанесения на поверхность заготовки имплантата слоя вспомогательного вещества - водно-белковой дисперсии углеродных нанотрубок, включающей белковую компоненту, в котором формируют нанокомпозитное покрытие имплантата связки коленного сустава путем водоиспаряющего воздействия лазерным излучением, направленным преимущественно по нормали к поверхности заготовки имплантата.

[13]

В слое водно-белковой дисперсии углеродных нанотрубок в процессе испарения водной компоненты происходит самоорганизация ансамбля нанотрубок под действием электрического поля направленного лазерного излучения. Сформированный при этом в слое на поверхности заготовки имплантата прочный нанотрубочный каркас представляет собой аналог естественной биологической матрицы, в которой могут обеспечиваться условия самоорганизации клеточного материала костного канала [7].

[14]

Тем самым создаются условия биологического сочленения создаваемого имплантата связки коленного сустава с поверхностью костного канала, при фиксации имплантата связки в костном канале.

[15]

Предлагаемая лазерная обработка нанокомпозитного покрытия имплантата связки коленного сустава состоит из следующих стадий. Первая стадия обработки заключается в подготовке поверхности заготовки имплантата связки путем обезвоживания заготовки имплантата связки в 70% водном растворе этилового спирта в течение 30-60 мин, с целью удаления жиров и масел с поверхности заготовки имплантата, ее промывки в дистиллированной воде в течение 30-50 мин в ультразвуковой ванне, с целью устранения остаточных загрязнений, и сушки в сушильном шкафу в течение 60-80 мин.

[16]

В качестве заготовок имплантатов связки коленного сустава могут быть использованы бесшовные трубки или плоские ленты (связки лент) для пластики связок, изготовленные из полиэфирной ткани, в частности из полиэтилентерефталата.

[17]

Вторая стадия обработки предусматривает изготовление вспомогательного вещества, представляющего собой водную дисперсию белков и углеродных нанотрубок при следующем количественном соотношении компонент (в мас. %):

[18]

Белок19-50
Углеродные нанотрубки0,001-0,1
ВодаОстальное

[19]

Вспомогательное вещество изготавливают путем перемешивания углеродных нанотрубок в воде с использованием магнитной мешалки и ультразвуковой ванны (гомогенизатора) в течение 60-90 мин для осуществления равномерного объемного распределения углеродных нанотрубок. После этого к полученному составу добавляют белок. В качестве белка используют альбумин, в т.ч. бычий сывороточный альбумин. Полученный состав обрабатывают последовательно с использованием магнитной мешалки в течение 80-120 мин и далее с использованием ультразвуковой ванны (гомогенизатора) в течение 50-80 мин.

[20]

На третьей стадии обработки производят нанесение на поверхность заготовки имплантата связки коленного сустава со стадии 1 слоя вспомогательного вещества - водно-белковой дисперсии углеродных нанотрубок со стадии 2. С этой целью используют ультразвуковую ванну с резервуаром 2, заполненным водой, в которую помещают сосуд с водно-белковой дисперсией углеродных нанотрубок и заготовкой имплантата связки коленного сустава. Концентрация белковой компоненты в водно-белковой дисперсии углеродных нанотрубок может составлять от 20 до 50 мас. %, концентрация углеродных нанотрубок может составлять от 0,001 до 0,1 мас. %, вода - остальное. Мощность генератора ультразвука ультразвуковой ванны может составлять от 10 до 50 Вт. Температуру воды в сосуде, которая может составлять от 40 до 80°C, контролируют с помощью термометра. В процессе нанесения водно-белковой дисперсии углеродных нанотрубок на поверхность заготовки имплантата связки коленного сустава может осуществляться ее перемещение и(или) поворот (по необходимости). Для обеспечения равномерности распределения водно-белковой дисперсии углеродных нанотрубок по поверхности заготовки имплантата используют ультразвуковую ванну с мощностью генератора ультразвука от 10 до 50 Вт.

[21]

Заключительная четвертая стадия лазерной обработки нанокомпозитного покрытия имплантата связки коленного сустава предусматривает формирование нанокомпозитного покрытия в слое вспомогательного вещества - водно-белковой дисперсии углеродных нанотрубок на заготовке имплантата связки коленного сустава, полученного на 3 стадии обработки. Формирование слоя дисперсии углеродных нанотрубок производят с использованием источника лазерного излучения, луч которого направлен преимущественно по нормали к поверхности слоя дисперсии нанотрубок, нанесенного на заготовку имплантата связки коленного сустава. Заготовку имплантата связки с нанесенным на заготовку слоем дисперсии углеродных нанотрубок для этого размещают на стеллаже с регулированной высотой и пошаговым перемещением в направлении, перпендикулярном к лазерному лучу. Источник коллимированного лазерного излучения с пространственным профилем лазерного пучка π-образного вида размещают на штативе. Для лазерного облучения внутренней поверхности трубочной и(или) ленточной заготовки имплантата связки коленного сустава с нанесенным на нее слоем водно-белковой дисперсии углеродных нанотрубок может использоваться световод с кольцевой диаграммой диффузно рассеянного излучения, с длиной диффузной части световода, которая может соответствовать длине костного канала.

[22]

Предложенный способ лазерной обработки нанокомпозитного покрытия имплантата связки коленного сустава предусматривает нанесение на поверхность заготовки имплантата слоя вспомогательного вещества - водно-белковой дисперсии углеродных нанотрубок. В слое дисперсии углеродных нанотрубок путем водоиспаряющего воздействия лазерного излучения, пучок которого направлен по нормали к поверхности заготовки имплантата, формируется нанокомпозитное покрытие имплантата связки коленного сустава. Длина волны источника лазерного излучения может составлять от 0,5 до 1,1 мкм. Мощность источника лазерного излучения может составлять от 3 до 20 Вт. Пространственный профиль пучка коллимированного лазерного излучения может быть π-образного вида (подробно см. [8]). Концентрация белковой компоненты во вспомогательном веществе - водно-белковой дисперсии углеродных нанотрубок, может находиться в пределах от 20 до 50 мас. %. Концентрация углеродных нанотрубок во вспомогательном веществе - водно-белковой дисперсии углеродных нанотрубок, может находиться в пределах от 0,001 до 0,1 мас. %. В качестве белковой компоненты вспомогательного вещества - водно-белковой дисперсии углеродных нанотрубок, может быть использован альбумин, в т.ч. бычий сывороточный альбумин.

[23]

В процессе лазерного облучения слоя вспомогательного вещества - дисперсии углеродных нанотрубок на заготовку имплантата связки - может осуществляться пошаговое перемещение лазерного пучка вдоль поверхности заготовки имплантата. Также может осуществляться пошаговое перемещение заготовки имплантата преимущественно перпендикулярно направлению лазерного пучка, с поворотом заготовки имплантата (по необходимости) либо пошаговое перемещение заготовки имплантата с поворотом заготовки имплантата. Для лазерного облучения внутренней поверхности трубочной и(или) ленточной заготовки имплантата связки с нанесенным на нее слоем вспомогательного вещества - водно-белковой дисперсии углеродных нанотрубок, может использоваться волоконный световод с кольцевой диаграммой диффузно рассеянного излучения.

[24]

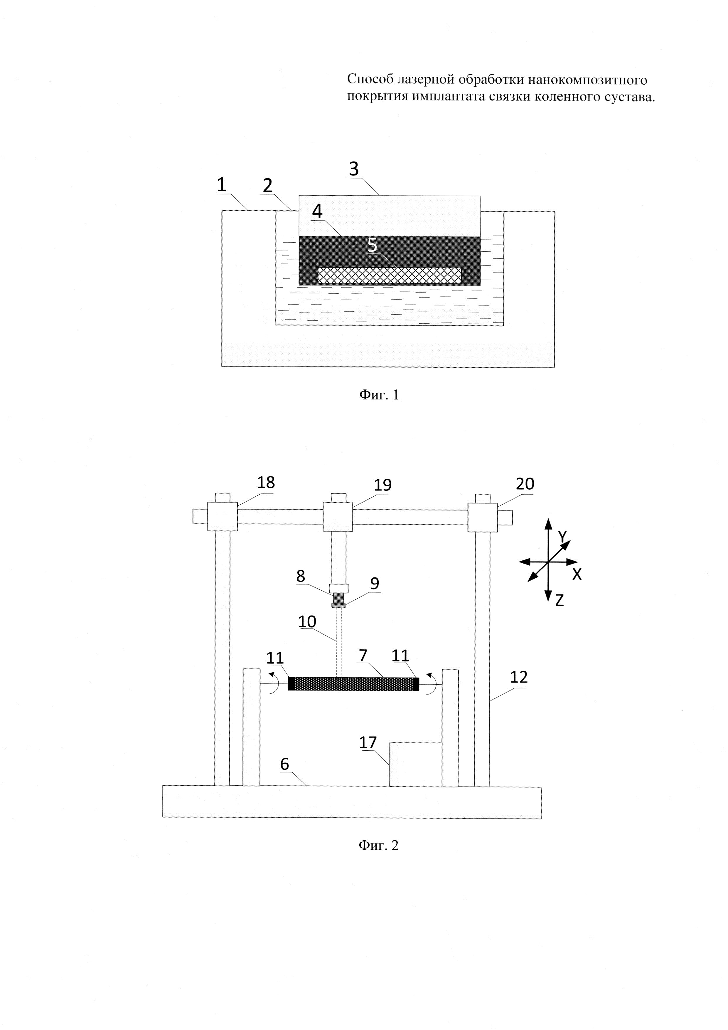
Предлагаемая лазерная обработка нанокомпозитного покрытия имплантата связки коленного сустава иллюстрируется следующим графическим материалом. Фиг. 1 иллюстрирует третью стадию обработки, в которую входит нанесение слоя вспомогательного вещества - водно-белковой дисперсии углеродных нанотрубок 4 на поверхность заготовки имплантата связки коленного сустава 5. Заготовка имплантата связки коленного сустава 5 находится в сосуде 3, заполненном вспомогательным веществом - дисперсией углеродных нанотрубок 4. Сосуд 3 помещен в резервуар 2, заполненный водой, находящийся внутри ультразвуковой ванны 1. При этом жидкости резервуара 2 и сосуда 3 изолированы друг от друга.

[25]

Четвертая стадия лазерной обработки нанокомпозитного покрытия имплантата связки коленного сустава, в которую входит формирование слоя водно-белковой дисперсии углеродных нанотрубок 4, размещенного на заготовке имплантата связки коленного сустава, иллюстрируется фиг. 2. Заготовка имплантата связки коленного сустава, покрытая нанесенным на нее слоем вспомогательного вещества - дисперсии углеродных нанотрубок 7, размещена на стеллаже 6 и закреплена в зажимных держателях 11. Источник лазерного излучения 8 с коллиматорным объективом 9 размещен на штативе 12. Пошаговое перемещение лазерного пучка 10 вдоль поверхности заготовки заготовки имплантата 7 может осуществляться с использованием шаговых двигателей 18, 19, 20 вдоль осей X, Y, Z соответственно. Оси X и Z лежат в плоскости фиг. 2, а ось Y перпендикулярна этой плоскости.

[26]

Пошаговое перемещение заготовки имплантата 7, преимущественно перпендикулярно направлению лазерного пучка 10 (не показано), может происходить с поворотом заготовки имплантата, при использовании поворотного двигателя 17 (по необходимости).

[27]

Фиг. 3 иллюстрирует строение волоконного световода с кольцевой диаграммой диффузно рассеянного излучения 14, который может быть использован для облучения внутренней поверхности трубочной и(или) ленточной заготовки имплантата, покрытой нанесенным на нее слоем вспомогательного вещества - дисперсии углеродных нанотрубок 7. На фиг. 3 показаны также оправка световода 13 и диффузная часть световода 15. Длина диффузной части световода 15 может соответствовать длине костного канала. Она может быть отделенной от остальной части световода 13 и оставаться в костном канале после проведения хирургической операции по реставрации связки коленного сустава.

[28]

Фиг. 4 иллюстрирует вид топограмм образцов имплантатов связки коленного сустава с нанокомпозитным покрытием, полученных с использованием сканирующего зондового микроскопа Solver Р47. Гранулированная структура приведенных топограмм с элементами упорядоченности характеризует наличие объемного нанотрубочного каркаса, сформированного в нанокомпозитном слое углеродных нанотрубок на поверхности имплантата связки коленного сустава под водоиспаряющим воздействием лазерного излучения на стадии 4 лазерной обработки нанокомпозитного покрытия имплантата. Данные фиг. 4,а относятся к результатам, полученным с однослойными нанотрубками, которые были изготовлены в Rice University (US). Данные фиг 4,б относятся к результатам, полученным с однослойными нанотрубками, которые были изготовлены в ИОФАН РФ.

[29]

Выбор вспомогательного вещества - водно-белковой дисперсии углеродных нанотрубок для нанесения на поверхность имплантата связки коленного сустава - определяется возможностью формирования в слое вспомогательного вещества - водно-белковой дисперсии углеродных нанотрубок нанокомпозитного покрытия имплантата связки коленного сустава, что осуществляется путем водоиспаряющего воздействия лазерным излучением, пучок которого направлен преимущественно по нормали к поверхности заготовки имплантата. При этом в нанокомпозитном покрытии имплантата связки коленного сустава реализуются условия возникновения прочного объемного нанотрубочного каркаса, на котором, в свою очередь, может быть достигнута самоорганизация клеточного материала костного канала.

[30]

Выбор длины волны источника лазерного излучения для облучения поверхности заготовки имплантата связки коленного сустава в пределах от 0,5 до 1,1 мкм определяется доступностью и приемлемой стоимостью лазеров с такими свойствами, а также эффективным поглощением излучения вышеуказанного диапазона длин волн в слое водно-белковой дисперсии углеродных нанотрубок.

[31]

Использование коллиматорного объектива, обеспечивающего получение π-образного вида пространственного профиля лазерного пучка, обеспечивает условия формирования однородного слоя нанокомпозитного покрытия на заготовке имплантата связки коленного сустава. Ориентирование лазерного луча источника излучения преимущественно по нормали к поверхности заготовки имплантата оптимально для формирования на заготовке имплантата связки коленного сустава нанокомпозитного покрытия.

[32]

Выбор диапазона мощности лазерного облучения поверхности заготовки имплантата связки коленного сустава в пределах от 3 до 20 Вт определяется скоростью формирования самоорганизованного нанокомпозитного слоя углеродных нанотрубок на поверхности заготовки имплантата связки коленного сустава.

[33]

Выбор концентрации белковой компоненты в водной дисперсии углеродных нанотрубок в пределах от 20 до 50 мас. % позволяет обеспечить высокую прочность возникаемого на поверхности имплантата связки наноуглеродного каркаса - аналога естественной биологической матрицы. Аналогичную роль играет выбор концентрации углеродных нанотрубок в вспомогательном веществе - водной дисперсии углеродных нанотрубок от 0,001 до 0,1 мас. %.

[34]

Выбор диапазона мощности генератора ультразвука ультразвуковой ванны от 10 до 50 Вт позволяет обеспечить равномерное распределение вспомогательного вещества - водно-белковой дисперсии углеродных нанотрубок по поверхности заготовки имплантата связки коленного сустава.

[35]

Выбор альбумина, в т.ч. бычьего сывороточного альбумина, в качестве белковой компоненты вспомогательного вещества - дисперсии углеродных нанотрубок - определяется высокой лазерной прочностью и биологической совместимостью этих транспортных белков с тканями человеческого организма.

[36]

Пошаговое перемещение лазерного пучка по площади заготовки имплантата связки коленного сустава перпендикулярно направлению лазерного пучка, с поворотом заготовки имплантата (по необходимости), а также пошаговое перемещение заготовки имплантата связки коленного сустава преимущественно перпендикулярно к направлению лазерного пучка, с поворотом заготовки имплантата, позволяют обеспечить однородность и качественность формирования нанокомпозитного слоя углеродных нанотрубок при лазерной обработке покрытия имплантата связки коленного сустава.

[37]

Использование световода с кольцевой диаграммой диффузно рассеянного излучения и длиной диффузной части световода, соответствующей длине костного канала, позволяет обеспечить однородное лазерное облучение внутренней поверхности трубочной и(или) ленточной заготовки имплантата связки коленного сустава с нанесенным на нее слоем вспомогательного вещества - водно-белковой дисперсии углеродных нанотрубок.

[38]

Благодаря новому техническому решению по способу лазерной обработки нанокомпозитного покрытия имплантата связки коленного сустава, включающего нанесение на поверхность заготовки имплантата слоя вспомогательного вещества - водно-белковой дисперсии углеродных нанотрубок для формирования нанокомпозитного покрытия имплантата связки коленного сустава путем водоиспаряющего воздействия лазерным излучением, пучок которого направлен преимущественно по нормали к поверхности заготовки имплантата, обеспечивается возможность повышения надежности размещения имплантата связки коленного сустава в костном канале, при осуществлении эффективного контакта имплантата с материалом костного канала.

[39]

Использование в хирургической практике предлагаемых имплантатов связки коленного сустава с нанокомпозитным покрытием создаст условия решения задач восполнения утерянной функции связки коленного сустава и будет способствовать улучшению результатов оперативного лечения повреждений связок крупных суставов.

[40]

Источники информации

[41]

1. А.И. Неворотин. Введение в лазерную хирургию // С.-П.: Спецлит, 2002, 175 с.

[42]

2. Н.А. Шестерня, О.В. Оганесян, С.В. Иванников. Лазерная артроскопическая хирургия: Дегенеративно-дистрофические поражения коленного сустава // М.: Медицина, 2002, 160 с.

[43]

3. MIS of the hip and the knee, ed. G.R. Scuderi, A.J. Jr. Tria. // N.Y., Springer-Verlag, 2004, p. 203.

[44]

4. Патент РФ 2567603.

[45]

5. Патент Франции 2.651.99.

[46]

6. Патент США 8142501 - прототип.

[47]

7. А.Ю. Герасименко, Л.П. Ичкитидзе и др. Лазерный метод создания биосовместимых наноматериалов с углеродными нанотрубками. - В «Нанотехнологии в электронике», вып. 2, под ред. Ю.А. Чаплыгина // М.: Техносфера, 2013, 688 с., с. 407-448.

[48]

8. Патент EP 0955752.

Как компенсировать расходы
на инновационную разработку
Похожие патенты