патент
№ RU 2657700
МПК F16F6/00

МАГНИТОЖИДКОСТНЫЙ ВИБРОГАСИТЕЛЬ

Авторы:
Митькин Александр Сергеевич Ефанов Владимир Владимирович Лемешевский Сергей Антонович
Все (9)
Номер заявки
2017123051
Дата подачи заявки
29.06.2017
Опубликовано
14.06.2018
Страна
RU
Как управлять
интеллектуальной собственностью
Чертежи 
1
Реферат

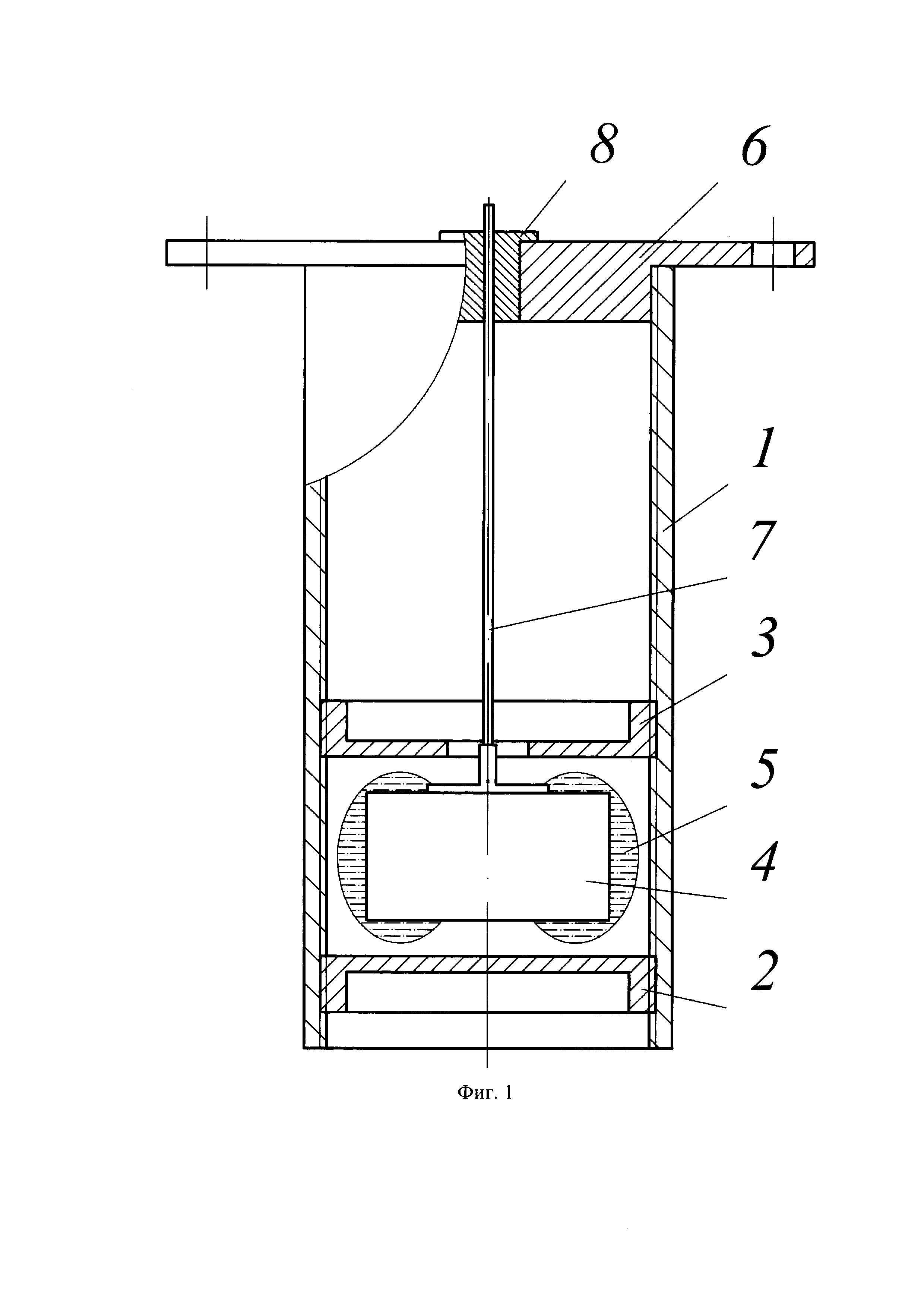
Изобретение относится к средствам гашения колебаний упругих элементов конструкции космических аппаратов. Виброгаситель содержит полый цилиндрический корпус 1 из немагнитного материала. Вдоль всей внутренней поверхности корпуса выполнена резьба. С одного торца корпуса 1 ввинчена глухая крышка 2. В полости корпуса 1 ввинчена крышка 3 с центральным отверстием. Крышки 2 и 3 образуют в корпусе 1 полость, в которой размещены постоянный магнит 4, имеющий форму цилиндра и обволакивающая его магнитная рабочая среда 5. С другого торца корпуса 1 смонтирован фланец 6 с выполненными по периферии крепежными отверстиями и центральным отверстием, сквозь которое пропущен упругий стержень 7. Стержень 7, проходя через отверстие в крышке 3, жестко прикреплен к магниту 4. Свободный конец стержня 7 зафиксирован с внешней стороны фланца 6 с возможностью регулирования длины стержня 7 зажимным устройством 8, например цангой. Таким образом, достигается возможность настройки рациональных частот работы динамического гасителя и характеристик гасителя после его изготовления. 1 ил.

Формула изобретения

Магнитожидкостный виброгаситель, содержащий корпус из немагнитного материала и размещенные в полости корпуса магнитную рабочую среду и погруженный в нее постоянный магнит, отличающийся тем, что корпус выполнен в виде полого цилиндра, вдоль всей внутренней поверхности которого выполнена резьба, при этом с одного торца корпуса ввинчена глухая крышка, а с другого торца смонтирован фланец с центральным отверстием и выполненными по периферии крепежными отверстиями, кроме того, в полости корпуса ввинчена вторая крышка с центральным отверстием, сквозь которое пропущен упругий стержень, один конец которого жестко соединен с постоянным магнитом, размещенным вместе с магнитной рабочей средой в полости, образованной между двумя указанными крышками, а второй конец пропущен через центральное отверстие фланца и зафиксирован на его внешней стороне с возможностью регулирования длины стержня.

Описание

[1]

Изобретение относится к средствам гашения колебаний упругих элементов конструкции космических аппаратов (КА) (штанг, антенн и т.д.) для обеспечения функционирования прецизионной аппаратуры и снижения уровней вибронагрузок на ней и КА в целом.

[2]

Магнитожидкостный виброгаситель представляет собой комбинацию динамического гасителя и вязкого демпфера. Он присоединяется к конструкции в точке, в которой проявляются наибольшие уровни колебаний, т.е. на конце штанги, либо встраивается как переходной элемент.

[3]

Известно устройство для защиты аппаратуры от ударов и вибрации - амортизатор (патент на изобретение RU №2002139, МПК: F16F 6/00, опубл. 30.10.1993 г.), содержащий цилиндрический корпус и поршень, с закрепленными на нем постоянными магнитами, образующий рабочий зазор с корпусом и магнитную рабочую среду (ферромагнитную жидкость), заполняющую полость корпуса. Амортизатор снабжен дополнительными постоянными магнитами, размещенными на внутренней поверхности корпуса; постоянные магниты на корпусе и поршне выполнены в виде секций, установленных с зазором, заполненным немагнитным материалом.

[4]

Недостатками данной конструкции являются сравнительно высокая масса и гашение вибраций только в одном направлении (вдоль продольной оси амортизатора).

[5]

Наиболее близким по технической сущности к предложенному является устройство для гашения низкочастотных вибраций, содержащее корпус из немагнитного материала и размещенные в полости корпуса магнитную рабочую среду и погруженный в нее постоянный магнит (патент на полезную модель RU №144547, МПК: F16F 9/53, F16F 6/00, от 10.04.2014 г.).

[6]

Недостатками данной конструкции является невозможность выполнения подстройки упругих и диссипативных характеристик виброгасителя к конкретной конструкции после его изготовления, а также работа только в низкочастотных диапазонах (до 10 Гц).

[7]

Изобретение направлено на достижение технического результата, заключающегося в возможности настройки рациональных частот работы динамического гасителя и характеристик гасителя после его изготовления (в процессе проведения испытаний космической техники и эксплуатации на наземных объектах техники).

[8]

Предлагаемый магнитожидкостный виброгаситель, как и известное, взятое за прототип устройство, содержит корпус из немагнитного материала и размещенные в полости корпуса магнитную рабочую среду и погруженный в нее постоянный магнит.

[9]

Для достижения указанного технического результата в предлагаемом магнитожидкостном виброгасителе, в отличие от наиболее близкого к нему известного устройства, корпус выполнен в виде полого цилиндра, вдоль всей внутренней поверхности которого выполнена резьба, при этом с одного торца корпуса ввинчена глухая крышка, а с другого торца смонтирован фланец с центральным отверстием и выполненными по периферии крепежными отверстиями, кроме того, в полости корпуса ввинчена вторая крышка с центральным отверстием, сквозь которое пропущен упругий стержень, один конец которого жестко соединен с постоянным магнитом, размещенным вместе с магнитной рабочей средой в полости, образованной между двумя указанными крышками, а второй конец стержня пропущен через центральное отверстие фланца и закреплен на его внешней стороне, с возможностью регулирования длины стержня.

[10]

Регулируемая длина упругого стержня, на котором закреплен магнит, позволяет обеспечить настройку предложенного динамического гасителя на заданную частоту изгибных колебаний (чем меньше длина упругого стержня, тем выше частота гасимых колебаний) упругого элемента конструкции КА (штанги, антенны), а выполнение корпуса с внутренней резьбой и ввинченными в него крышками, позволяющими получить регулируемую по объему полость, в которой размещен магнит, обволоченный магнитной рабочей средой, дают возможность обеспечить настройку оптимального демпфирования. Кроме того, данная конструкция обеспечивает универсальность его использования, например, на различных космических аппаратах, настраивая параметры предлагаемого виброгасителя в процессе проведения испытаний, а также в процессе эксплуатации на наземных объектах техники, т.е. изготавливать его партиями, а не единичными экземплярами, что снижает его себестоимость.

[11]

Сущность технического решения поясняется чертежом, где на фиг. 1 представлен общий вид устройства.

[12]

Предлагаемый магнитожидкостный виброгаситель содержит полый цилиндрический корпус 1 из немагнитного материала, вдоль всей внутренней поверхности которого выполнена резьба, при этом с одного торца корпуса 1 ввинчена глухая крышка 2, в полости корпуса 1 ввинчена крышка 3 с центральным отверстием. Крышки 2 и 3 образуют в корпусе 1 полость, в которой размещены постоянный магнит 4, имеющий форму цилиндра, и обволакивающая его магнитная рабочая среда 5. С другого торца корпуса 1 смонтирован фланец 6 с выполненными по периферии крепежными отверстиями для крепления виброгасителя к конструкции штанги (не показана) и центральным отверстием, сквозь которое пропущен упругий стержень 7. Проходя через отверстие в крышке 3, стержень 7 жестко прикреплен к магниту 4, а свободный конец указанного стержня 6 зафиксирован с внешней стороны фланца 6 с возможностью регулирования длины стержня 7 зажимным устройством 8, например цангой.

[13]

Устройство работает следующим образом.

[14]

Динамический гаситель представляет собой подвижную массу на упругом элементе. Его параметры подбираются в соответствии с динамическими характеристиками и требованиями к конструкции.

[15]

В процессе проведения испытаний производится настройка виброгасителя на необходимую частоту одного из тонов собственных колебаний конструкции штанги (не показана) изменением длины упругого стержня 7 в полости корпуса 1, для чего проводится ослабление зажимного устройства 8 (например, цанги) и вытягивание стержня 7 или погружение его в полость корпуса 1. Настройка оптимального демпфирования производится регулировкой объема полости виброгасителя и магнитной рабочей средой 5, определяемой относительным положением крышек 2 и 3.

[16]

При достижении на этапе выведения КА внешней возбуждающей силой первой собственной частоты колебаний штанги, подвижная часть виброгасителя (магнит 4 с магнитной рабочей средой 5, закрепленный на упругом стержне 7) приходит в резонансные колебания и начинает поглощать значительную часть механической энергии, тем самым гася колебания штанги с антенной. Демпфирование колебаний происходит посредством сил взаимодействия магнитных полей постоянного магнита 4 и магнитной рабочей среды 5 и сил вязкого трения при движении магнита 4, обволоченного магнитной рабочей средой 5.

[17]

Основными преимуществами данного виброгасителя является возможность обеспечения настройки на собственную частоту конструкции, например штанги с антенной, путем изменения длины упругого стержня 7 (чем меньше длина упругого стержня 7, тем выше частота гасимых колебаний) и обеспечение настройки магнитожидкостного демпфирующего элемента изменением объемов магнитной рабочей среды 5 и полости, образованной между крышками 2 и 3, снижая вибрационные воздействия на приборы, которые установлены на выносных конструкциях (штангах, антеннах).

[18]

Конструкция предложенного магнитожидкостного виброгасителя обеспечивает универсальность его использования, например, на различных космических аппаратах, настраивая параметры предлагаемого виброгасителя в процессе проведения испытаний, а также в процессе эксплуатации на наземных объектах техники, т.е. изготавливать его партиями, а не единичными экземплярами, что снижает его себестоимость.

Как компенсировать расходы
на инновационную разработку
Похожие патенты