патент
№ RU 2618544
МПК E21B43/267

Способ гидравлического разрыва продуктивного пласта с глинистым прослоем и газоносным горизонтом

Авторы:
Салимов Олег Вячеславович
Номер заявки
2016107927
Дата подачи заявки
03.03.2016
Опубликовано
04.05.2017
Страна
RU
Как управлять
интеллектуальной собственностью
Чертежи 
4
Реферат

Изобретение относится к области нефтегазодобывающей промышленности и может быть применено для гидравлического разрыва пласта (ГРП), содержащего прослой глины с газоносным горизонтом. Способ включает выполнение перфорации в интервале продуктивного пласта скважины, ориентированной в направлении главного максимального напряжения, спуск колонны насосно-компрессорных труб (НКТ) с пакером в скважину, посадку пакера, проведение ГРП закачиванием гидроразрывной жидкости по колонне НКТ с пакером через интервал перфорации в продуктивный пласт с образованием и последующим креплением трещины проппантом, стравливание давления из скважины, распакеровку пакера и его извлечение с колонной НКТ из скважины. Ориентированную перфорацию производят с помощью гидромеханического перфоратора с ориентирующим переводником, процесс ГРП начинают с закачки гидроразрывной жидкости, в качестве которой используют сшитый гель для создания трещины в продуктивном пласте, после чего созданную трещину развивают закачкой линейного геля плотностью 1150 кг/мсо сверхлегким проппантом плотностью 1050 кг/мфракции 40/80 меш массой 3 т с концентрацией 200 кг/м, затем производят крепление трещины закачкой сшитого геля с проппантом фракции 20/40 меш или 12/18 меш в зависимости от проницаемости продуктивного пласта порциями со ступенчатым увеличением концентрации проппанта на 100 кг/м, начиная от 200 кг/мдо 900 кг/м. При этом в продуктивном пласте с проницаемостью от 0,01 до 100 мД при креплении трещины закачивают сшитый гель с проппантом фракции 20/40 меш, а в продуктивном пласте с проницаемостью от 100 до 500 мД при креплении трещины закачивают сшитый гель с проппантом фракции 12/18 меш. Технический результат заключается в: повышении надежности создания и развития трещины при наличии выше продуктивного пласта глинистого прослоя и газоносного горизонта; повышении эффективности способа; снижении гидравлических сопротивлений в интервале перфорации; сокращении продолжительности и трудоемкости технологического процесса реализации способа. 4 ил.

Формула изобретения

Способ гидравлического разрыва продуктивного пласта с глинистым прослоем и газоносным горизонтом, включающий выполнение перфорации в интервале продуктивного пласта скважины, ориентированной в направлении главного максимального напряжения, спуск колонны насосно-компрессорных труб (НКТ) с пакером в скважину, посадку пакера, проведение гидравлического разрыва пласта (ГРП) закачиванием гидроразрывной жидкости по колонне НКТ с пакером через интервал перфорации в продуктивный пласт с образованием и последующим креплением трещины проппантом, стравливание давления из скважины, распакеровку пакера и его извлечение с колонной НКТ из скважины, отличающийся тем, что ориентированную перфорацию производят с помощью гидромеханического перфоратора с ориентирующим переводником, процесс ГРП начинают с закачки гидроразрывной жидкости, в качестве которой используют сшитый гель для создания трещины в продуктивном пласте, после чего созданную трещину развивают закачкой линейного геля плотностью 1150 кг/м3 со сверхлегким проппантом плотностью 1050 кг/м3 фракции 40/80 меш массой 3 т с концентрацией 200 кг/м3, затем производят крепление трещины закачкой сшитого геля с проппантом фракции 20/40 меш или 12/18 меш в зависимости от проницаемости продуктивного пласта порциями со ступенчатым увеличением концентрации проппанта на 100 кг/м3, начиная от 200 кг/м3 до 900 кг/м3, при этом в продуктивном пласте с проницаемостью от 0,01 до 100 мД при креплении трещины закачивают сшитый гель с проппантом фракции 20/40 меш, а в продуктивном пласте с проницаемостью от 100 до 500 мД при креплении трещины закачивают сшитый гель с проппантом фракции 12/18 меш.

Описание

[1]

Изобретение относится к области нефтегазодобывающей промышленности, в частности может быть использовано для гидравлического разрыва пласта (ГРП), содержащего прослой глины с газоносным горизонтом.

[2]

Известен способ ГРП с глинистыми прослоями и подошвенной водой (патент RU №2544343, МПК Е21В 43/267, опубл. 20.03.2015 г., бюл. №8), включающий спуск колонны насосно-компрессорных труб (НКТ) с пакером в скважину, посадку пакера, проведение гидроразрыва закачиванием через скважину по колонне НКТ с пакером в продуктивный пласт гидроразрывной жидкости с последующей закачкой проппанта через интервал перфорации низкопроницаемого пласта, стравливание давления из скважины. Дополнительно производят временную изоляцию интервала перфорации низкопроницаемого пласта, перфорируют интервал глинистого прослоя с использованием чередующихся зарядов большого диаметра и глубокого проникновения, затем спускают колонну НКТ с пакером в скважину так, чтобы нижний конец колонны НКТ находился на уровне кровли глинистого прослоя, осуществляют посадку пакера в скважине, производят ГРП с образованием трещин закачкой гидроразрывной жидкости по колонне НКТ через интервалы перфорации глинистого прослоя. В трещины закачивают оторочку сшитого геля на углеводородной основе в объеме 3-5 м3 с расходом 10 м3/мин, причем в качестве проппанта используют проппантную смесь, после чего производят крепление трещин порционной закачкой гидроразрывной жидкости и проппантной смеси, начиная с концентрации проппантной смеси 400 кг/м3 со ступенчатым увеличением ее концентрации на 200 кг/м3 в гидроразрывной жидкости в каждой порции и расходом 5 м3/мин, причем проппантную смесь готовят на устье скважины в следующем соотношении, мас. %: проппант 12/40 меш - 30%; проппант 18/20 меш - 30%; кварцевая мука - 40%. По окончании ГРП удаляют временную изоляцию интервала перфорации низкопроницаемого пласта и проводят перфорацию низкопроницаемого пласта с образованием гидравлической связи между стволом скважины и трещиной гидроразрыва.

[3]

Недостатками данного способа являются:

[4]

- во-первых, низкая надежность создания и развития трещины при наличии выше продуктивного пласта глинистого прослоя и газоносного или водоносного горизонта. Это обусловлено тем, что в процессе проведения ГРП трещина развивается вверх в ширину, а не в длину, что приводит к прорыву трещины при ее развитии в газоносный или водоносный горизонт. В итоге вода или газ из верхнего соответственно газоносного или водоносного горизонта прорывается в скважину уже в процессе ГРП;

[5]

- во-вторых, низкая эффективность крепления трещины, обусловленная низкой проводимостью трещины и, как следствие, слабым притоком нефти из продуктивного пласта в скважину. Пропускная способность трещины зависит от размера фракции проппанта, крепящего трещину, а точнее от расстояния между зернами проппанта, обеспечивающего пропускную способность трещины, когда пропускная способность трещины не соответствует объему притока нефти из продуктивного пласта в зависимости от его проницаемости, проводимость трещины снижается;

[6]

- в-третьих, высокие гидравлические сопротивления в интервале перфорации пласта увеличивают риск скачка давления в процессе продавки проппанта в трещину, возникновения аварийной ситуации и недостижения заданных параметров трещины (ширины, длины);

[7]

- в-четвертых, дополнительные затраты, так как по окончании ГРП удаляют временную изоляцию интервала перфорации низкопроницаемого пласта и проводят перфорацию низкопроницаемого пласта с образованием гидравлической связи между стволом скважины и трещиной гидроразрыва.

[8]

Наиболее близким по технической сущности является способ ГРП с глинистым прослоем и подошвенной водой (патент RU №2566542, МПК Е21В 43/26, опубл. 27.10.2015 г., бюл. №30), включающий спуск колонны НКТ с пакером в скважину, посадку пакера, проведение ГРП закачиванием гидроразрывной жидкости по колонне НКТ с пакером через интервал перфорации в продуктивный пласт с образованием и последующим креплением трещины проппантом, стравливание давления из скважины, распакеровку пакера и его извлечение с колонной НКТ из скважины. До спуска в скважину колонны НКТ с пакером геофизическими методами определяют ориентацию главного максимального напряжения в продуктивном пласте, затем в верхней половине продуктивного пласта осуществляют перфорацию, ориентированную в направлении главного максимального напряжения, затем отсекают нижнюю половину продуктивного пласта скважины, спускают колонну НКТ с пакером в скважину так, чтобы нижний конец колонны НКТ находился на уровне кровли продуктивного пласта, производят посадку пакера, осуществляют ГРП закачкой по колонне НКТ гидроразрывной жидкости, в качестве которой используют линейный гель с расходом 0,3 м3/мин с созданием трещины в продуктивном пласте, затем производят крепление трещины в продуктивном пласте в четыре цикла чередующейся закачкой по колонне НКТ через интервал ориентированной перфорации продуктивного пласта равными порциями линейного геля с облегченным проппантом 20/40 меш и равными порциями сшитого геля с добавлением соли NaCl с концентрацией 400 кг/м3, причем равные порции сшитого геля по объему в два раза меньше равных порций линейного геля, а количество равных порций сшитого геля на одну порцию меньше равных порций линейного геля, причем концентрацию облегченного проппанта 20/40 меш в линейном геле ступенчато увеличивают на 100 кг/м3 с первой по третью порции в каждом цикле, начиная с концентрации 100 кг/м3, в последнем четвертом цикле производят закачку одной порции линейного геля, содержащего облегченный проппант 16/20 меш с концентрацией 400 кг/м3, а затем производят закачку и продавку 15%-ного водного раствора соляной кислоты в трещину продуктивного пласта в объеме, равном половине суммы объемов линейного и сшитого гелей, закачанных в трещину в процессе крепления трещины.

[9]

Недостатками данного способа являются:

[10]

- во-первых, низкая надежность создания и развития трещины, при наличии выше продуктивного пласта глинистого прослоя и газоносного или водоносного горизонта. Это обусловлено тем, что в процессе проведения ГРП трещина развивается вверх в ширину, а не в длину, что приводит к прорыву трещины при ее развитии в газоносный или водоносный горизонт. В итоге вода или газ из верхнего соответственно газоносного или водоносного горизонта прорывается в скважину уже в процессе ГРП;

[11]

- во-вторых, низкая эффективность крепления трещины, обусловленная низкой проводимостью трещины и, как следствие, слабым притоком нефти из продуктивного пласта в скважину. Пропускная способность трещины зависит от размера фракции проппанта, крепящего трещину, а точнее от расстояния между зернами проппанта, обеспечивающего пропускную способность трещины, когда пропускная способность трещины не соответствует объему притока нефти из продуктивного пласта в зависимости от его проницаемости, проводимость трещины снижается;

[12]

- в-третьих, высокие гидравлические сопротивления в интервале перфорации пласта увеличивают риск скачка давления в процессе продавки проппанта в трещину, возникновения аварийной ситуации и недостижения заданных параметров трещины (ширины, длины);

[13]

- в-четвертых, длительный и трудоемкий технологический процесс реализации способа, связанный с многократными циклами закачки порций линейного геля с проппантом, чередующихся с порциями сшитого геля с добавлением соли NaCl и про давкой 15%-ного водного раствора соляной кислоты.

[14]

Техническими задачами изобретения являются повышение надежности создания и развития трещины, эффективности крепления трещины, а также снижение гидравлических сопротивлений в интервале перфорации при продавке проппанта в трещину, сокращение длительности и трудоемкости технологического процесса реализации способа.

[15]

Поставленные технические задачи решаются способом гидравлического разрыва продуктивного пласта с глинистым прослоем и газоносным горизонтом, включающим выполнение перфорации в интервале продуктивного пласта скважины, ориентированной в направлении главного максимального напряжения, спуск колонны насосно-компрессорных труб – НКТ - с пакером в скважину, посадку пакера, проведение гидравлического разрыва пласта – ГРП - закачиванием гидроразрывной жидкости по колонне НКТ с пакером через интервал перфорации в продуктивный пласт с образованием и последующим креплением трещины проппантом, стравливание давления из скважины, распакеровку пакера и его извлечение с колонной НКТ из скважины.

[16]

Новым является то, что ориентированную перфорацию производят с помощью гидромеханического перфоратора с ориентирующим переводником, процесс ГРП начинают с закачки гидроразрывной жидкости, в качестве которой используют сшитый гель для создания трещины в продуктивном пласте, после чего созданную трещину развивают закачкой линейного геля плотностью 1150 кг/м3 со сверхлегким проппантом плотностью 1050 кг/м3 фракции 40/80 меш массой 3 т с концентрацией 200 кг/м3, затем производят крепление трещины закачкой сшитого геля с проппантом фракции 20/40 меш или 12/18 меш в зависимости от проницаемости продуктивного пласта порциями со ступенчатым увеличением концентрации проппанта на 100 кг/м3, начиная от 200 кг/м3 до 900 кг/м3, при этом в продуктивном пласте с проницаемостью от 0,01 до 100 мД при креплении трещины закачивают сшитый гель с проппантом фракции 20/40 меш, а в продуктивном пласте с проницаемостью от 100 до 500 мД при креплении трещины закачивают сшитый гель с проппантом фракции 12/18 меш.

[17]

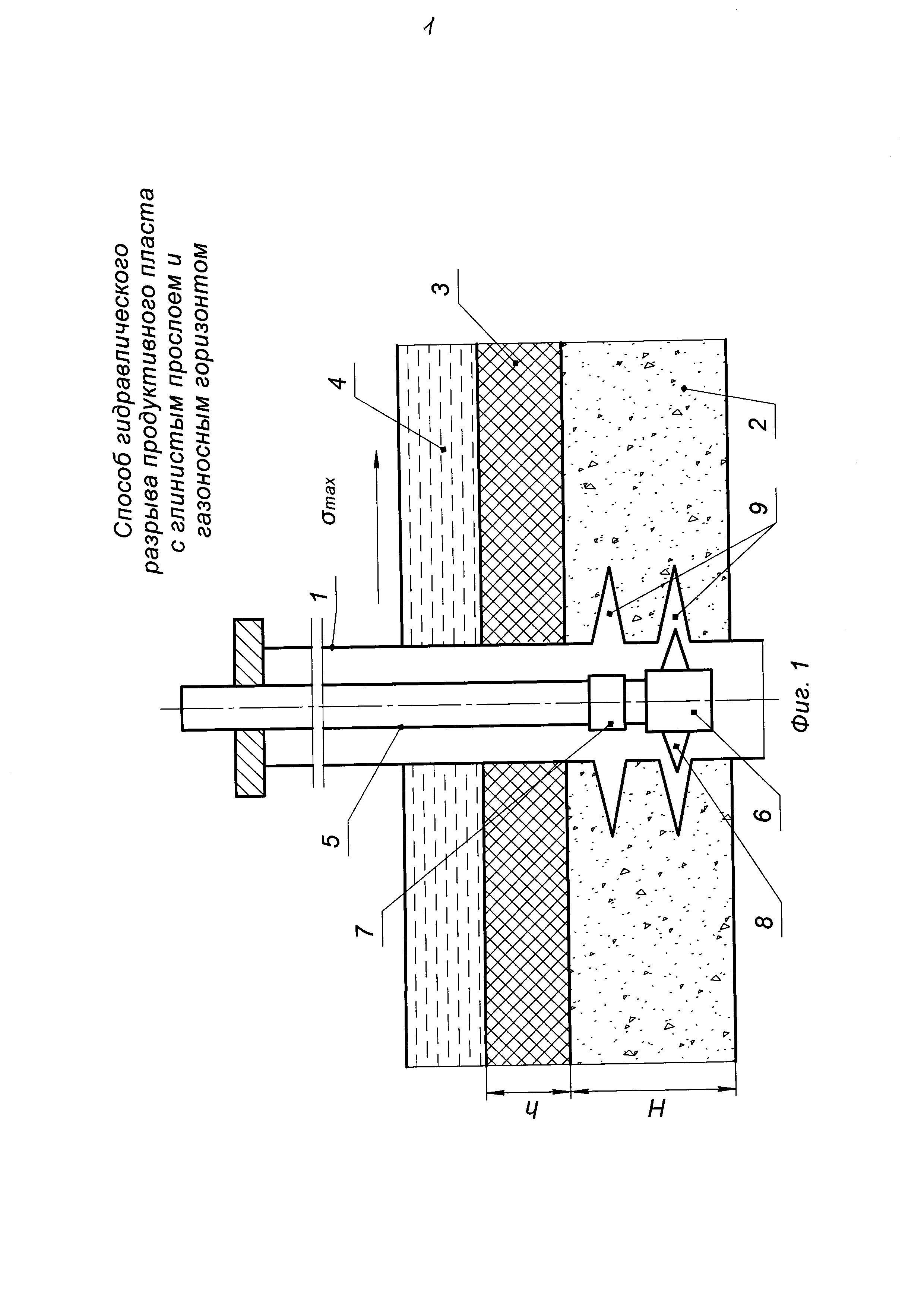
На фиг. 1-4 схематично и последовательно изображен предлагаемый способ ГРП с глинистым прослоем и газоносным горизонтом, где 1 - добывающая скважина; 2 - продуктивный пласт высотой Н; 3 - глинистый прослой (непроницаемый пропласток); 4 - верхний газоносный горизонт; 5 - колонна НКТ; 6 - гидромеханический перфоратор; 7 - ориентирующий переводник; 8 - резцы гидромеханического перфоратора 6; 9 - ориентированная перфорация, выполненная в интервале продуктивного пласта 2; 10 - пакер; 11 - трещина ГРП; 12 - сверхлегкий проппант фракции 40/80 меш; 13 - проппант фракции 20/40 меш или 12/18 меш в зависимости от проницаемости продуктивного пласта 2.

[18]

Добывающая скважина 1 (см. фиг. 1) вскрыла продуктивный пласт 2 высотой Н, например Н=3 м, с глинистым прослоем 3 (непроницаемым пропластком) сверху высотой h=1,5 м, выше которого расположен газоносный горизонт 4.

[19]

Продуктивный пласт 2 добывающей скважины 1 через существующую перфорацию (на фиг. 1-4 не показана) эксплуатируется, например, штанговым глубинным насосом (на фиг. 1-4 не показан). В процессе эксплуатации дебит в добывающей скважине 1 (см. фиг. 1) быстро снижается, в связи с чем необходимо проведение работ по интенсификации добычи нефти из продуктивного пласта 2 добывающей скважины 1. С этой целью производят ГРП продуктивного пласта 2.

[20]

Для этого извлекают из скважины эксплуатационное оборудование (на фиг. 1, 2, 3 и 4 не показано) и реализуют предлагаемый способ следующим образом.

[21]

Геофизическими методами, например, методом кроссдипольной акустики, определяют ориентацию главного максимального напряжения σmax (см. фиг. 1) в продуктивном пласте 2.

[22]

Затем в интервале продуктивного пласта 2 осуществляют гидромеханическую перфорацию, ориентированную в направлении главного максимального напряжения σmax.

[23]

Для этого на колонне НКТ 5 спускают гидромеханический перфоратор 6 с ориентирующим переводником 7 сверху, установив предварительно направляющую шлицевой втулки (на фиг. 1-4 не показана) ориентирующего переводника 7 и резцы 8 гидромеханического перфоратора 6 в одном направлении с направлением главного максимального напряжения пласта σmax, при этом на устьевом фланце (на фиг. 1-4 не показан) скважины 1 (см. фиг. 1) также выполняют метку в направлении главного максимального напряжения σmax (см. фиг. 1).

[24]

Достигнув интервала перфорации вращением колонны НКТ 5, совмещают направляющую шлицевой втулки ориентирующего переводника 7 (см. фиг. 1) и резцы 8 гидромеханического перфоратора 6 с направлением главного максимального напряжения пласта σmax, отмеченного меткой на устьевом фланце скважины 1.

[25]

После ориентации резцов 8 гидромеханического перфоратора 6 перфорируют интервал продуктивного пласта 2 с образованием перфорационных отверстий (ориентированной перфорации) 9, например, в виде двух рядов, по два отверстия в каждом ряду и с углом между отверстиями 180°, при этом отверстия выполнены друг под другом в направлении главного максимального напряжения σmax.

[26]

Работы с ориентирующим переводником 7 и гидромеханическим перфоратором 6 проводят согласно их инструкции по эксплуатации.

[27]

Извлекают из скважины 1 колонну НКТ с гидромеханическим перфоратором 6 и ориентирующим переводником 7.

[28]

Для проведения ГРП в скважину 1 спускают колонну НКТ 5 с пакером 10. В качестве пакера применяют любой известный пакер. Производят посадку пакера 10 в скважине 1 и осуществляют герметизацию заколонного пространства колонны НКТ 5.

[29]

Нижний конец колонны НКТ 5 размещают выше ориентированной перфорации 9, например на расстоянии 2 м.

[30]

Далее определяют объем гидроразрывной жидкости для создания трещины по следующей формуле:

[31]

Vг=k⋅H,

[32]

где Vг - объем гидроразрывной жидкости для создания трещины, м3;

[33]

k=2-3 - коэффициент перевода, м3/м;

[34]

Н - высота продуктивного пласта, м.

[35]

В данной формуле коэффициент перевода k получен опытным путем и зависит от физико-химических свойств пласта 2 (см. фиг. 1), в котором производят ГРП.

[36]

Высота продуктивного пласта 2 равна 3,0 м (см. выше).

[37]

Подставляя в формулу Vг=k⋅Н, получаем объем гидроразрывной жидкости:

[38]

Vг=(2-3)(м3/м)⋅3,0(м)=(6,0-9,0)м3.

[39]

Примем Vг=8,0 м3. В качестве гидроразрывной жидкости применяют любой известный сшитый гель.

[40]

Процесс ГРП начинают с закачки сшитого геля до создания трещины (см. фиг. 2) в продуктивном пласте 2. Для этого с помощью насосных агрегатов по нагнетательной линии (на фиг. 1-4 не показана) в скважину 1 (см. фиг. 2) по колонне НКТ 5 через отверстия ориентированной перфорации 9 продуктивного пласта 2 закачивают сшитый гель в объеме Vг=8,0 м3 и создают трещину 11'.

[41]

После чего созданную трещину 11' развивают до 11ʺ (см. фиг. 1 и 2) закачкой линейного геля плотностью 1150 кг/м3 со сверхлегким проппантом 12 фракции 40/80 меш массой 3 т=3000 кг с концентрацией 200 кг/м3. Поэтому, не прерывая закачки, т.е. процесс создания и развития трещины, производят закачку линейного геля в объеме: Vл=3000 кг/200 кг/м3=15 м3 плотностью 1150 кг/м3 со сверхлегким проппантом 12 фракции 40/80 меш с концентрацией 200 кг/м3.

[42]

При реализации предлагаемого способа обеспечивают плотность линейного геля 1150 кг/м3, для этого используют, например, сточную воду плотностью 1180 кг/м3 с добавлением любого известного загеливающего агента и доводят плотность линейного геля до 1150 кг/м3, при этом в процессе закачки с помощью ареометра контролируют плотность 1150 кг/м3 линейного геля.

[43]

Вследствие разницы плотностей линейного геля (ρлг=1150 кг/м3) и сверхлегкого проппанта (ρп=1050 кг/м3) 1150 кг/м3>1050 кг/м3, попав в трещину 11ʺ (см. фиг. 3), сверхлегкий проппант 12 фракции 40/80 меш всплывает в линейном геле и устремляется в верхнюю часть трещины 11ʺ и интервал непроницаемого пропластка (глинистого прослоя), а линейный гель фильтруется внизу, расширяя трещину 11ʺ. В верхней части трещины 11ʺ образуется плотная набивка из сверхлегкого проппанта 12 с минимальной проводимостью, так как выбран сверхлегкий проппант 12 одной из наименьших фракций 40/80 меш, обеспечивающий минимальную пропускную способность между зернами, что предотвращает развитие трещины 11'ʺ (см. фиг. 4) вверх через глинистый прослой 3 в газоносный горизонт 4.

[44]

Закачка сверхлегкого проппанта 12 (см. фиг. 3) в процессе развития трещины 11ʺ предотвращает ее расширение вверх. Это происходит из-за того, что сверхлегкий проппант 12 имеет меньшую плотность по сравнению с плотностью линейного геля, поэтому, попав в трещину 11ʺ, облегченный проппант 12 всплывает в линейном геле и устремляется в верхнюю часть трещины 11ʺ в призабойной зоне пласта (ПЗП), предотвращая ее развитие вверх, при этом линейный гель, освобожденный от сверхлегкого проппанта, выполняет роль жидкости разрыва и развивает трещину в длину (см. фиг. 4).

[45]

Создание трещины 11' и развитие трещины до 11ʺ, 11'ʺ согласно предложенному способу позволяют исключить прорыв трещины в газоносный горизонт 4, находящийся выше продуктивного пласта 2, через глинистый прослой 3 высотой h=1,5 м, а значит, повысить надежность создания и развития трещины.

[46]

Производят крепление трещины закачкой сшитого геля с проппантом 13 фракции 20/40 меш или 12/18 меш в зависимости от проницаемости продуктивного пласта порциями со ступенчатым увеличением концентрации проппанта на 100 кг/м3, начиная от 200 кг/м3 до 900 кг/м3.

[47]

В продуктивном пласте с проницаемостью от 0,01 до 100 мД при креплении трещины закачивают сшитый гель с проппантом фракции 20/40 меш, а в продуктивном пласте с проницаемостью от 100 до 500 мД при креплении трещины закачивают сшитый гель с проппантом фракции 12/18 меш.

[48]

Подбор фракции проппанта 13 при креплении трещины в продуктивном пласте в зависимости от проницаемости продуктивного пласта позволяет подобрать оптимальную проводимость трещины и обеспечить максимальный приток нефти через зерна проппанта, крепящего трещину 11'ʺ, что позволяет повысить проводимость трещины, а значит, увеличить эффективность крепления трещины.

[49]

Пример 1. Проницаемость пласта составляет 40 мД, используют проппант 13 фракции 20/40 меш, не прерывая процесс закачки насосными агрегатами по нагнетательной линии по колонне НКТ 5 через ориентированную перфорацию 9 производят крепление трещины 11'ʺ (см. фиг. 4) закачкой сшитого геля с проппантом фракции 20/40 меш порциями: 200 кг/м3, 300 кг/м3, 400 кг/м3, 500 кг/м3, 600 кг/м3, 700 кг/м3, 800 кг/м3, 900 кг/м3.

[50]

Пример 2. Проницаемость пласта составляет 200 мД, используют проппант 13 фракции 12/18 меш, не прерывая процесс закачки насосными агрегатами по нагнетательной линии по колонне НКТ 5 через ориентированную перфорацию 9 производят крепление трещины 11'ʺ (см. фиг. 4) закачкой сшитого геля с проппантом фракции 12/18 меш порциями: 200 кг/м3, 300 кг/м3, 400 кг/м3, 500 кг/м3, 600 кг/м3, 700 кг/м3, 800 кг/м3, 900 кг/м3.

[51]

Применяют любой известный состав сшитого геля. Сшитый гель имеет низкие потери давления на трение в трубах и высокую вязкость в пласте, что обеспечивает равномерное заполнение трещины 11'ʺ расклинивающим материалом (проппантом 13). При деструкции не образует осадка, не повреждает пласт и набивку, что также способствует сохранению высокопроводящей трещины 11'ʺ.

[52]

В 2-3 раза снижается гидравлическое сопротивление в интервале перфорации при реализации предлагаемого способа с использованием гидромеханического перфоратора, выполняющего прямоугольные отверстия с минимальным размером сторон 10 на 20 мм, что полностью исключает скачок давления в колонне НКТ, аварийную остановку процесса ГРП и недостижение проектных параметров трещины и обеспечивает меньшее давление про давки по сравнению с прототипом при сопоставимых объемах закачки.

[53]

Таким образом, производят крепление трещины 11'ʺ проппантом 13. По окончании крепления трещины стравливают давление из скважины, распакеровывают пакер 10 и извлекают его с колонной НКТ из скважины. Процесс ГРП закончен.

[54]

Сокращаются длительность и трудоемкость технологического процесса реализации способа, так как крепление трещины производится проппантом одной фракции 20/40 меш или 12/18 меш в зависимости от проницаемости продуктивного пласта 2.

[55]

Предлагаемый способ ГРП позволяет:

[56]

- повысить надежность создания и развития трещины при наличии выше продуктивного пласта глинистого прослоя и газоносного горизонта;

[57]

- повысить эффективность способа за счет подбора фракции проппанта в зависимости от проницаемости продуктивного пласта;

[58]

- снизить гидравлические сопротивления в интервале перфорации путем выполнения перфорационных отверстий гидромеханическим перфоратором и, как следствие, снизить давление продавки проппанта;

[59]

- сократить продолжительность и трудоемкость технологического процесса реализации способа.

Как компенсировать расходы
на инновационную разработку
Похожие патенты