патент
№ RU 2645057
МПК F23G5/027

Способ утилизации медицинских и биологических отходов

Авторы:
Хасхачих Владимир Владимирович Фадеев Сергей Александрович Зройчиков Николай Алексеевич
Все (5)
Номер заявки
2016145538
Дата подачи заявки
22.11.2016
Опубликовано
15.02.2018
Страна
RU
Как управлять
интеллектуальной собственностью
Чертежи 
1
Реферат

Изобретение относится к области термической утилизации органосодержащих отходов. Решаемая техническая задача - термическая, экологически безопасная утилизация медицинских и биологических отходов, увеличение сменной производительности установки. Технический результат достигается тем, что загрузку отходов в камеру сжигания производят механизированным загрузочным устройством через шлюзовой поворотный лоток, что исключает возможность выхода дымовых газов в окружающую среду. Процессы сушки, термического разложения и сжигания совмещают: отходы подсушивают и частично пиролизуют на поворотном лотке в верхней части камеры утилизации, одновременно сжигая твердый остаток в нижней части камеры утилизации. Тепловой баланс такой организации процесса положительный, поэтому необходимости в использовании внешнего топлива нет, а время процесса сокращается вдвое. Безопасность окружающей среды достигается за счет огневого обезвреживания газообразных продуктов в камере дожигания, их очистке от твердых включений в циклоне, промывке в мокром скруббере и проведении процесса под постоянным разрежением. 3 ил.

Формула изобретения

Способ утилизации медицинских и биологических отходов, включающий загрузку отходов в камеру сжигания, их нагрев и сжигание, дополнительный нагрев продуктов сгорания в камере дожигания и вывод дымовых газов в атмосферу через дымовую трубу, отличающийся тем, что загрузку отходов в камеру утилизации производят механизированным загрузочным устройством через шлюзовой поворотный лоток, процессы сушки, термического разложения и сжигания совмещают: отходы подсушивают и частично пиролизуют на поворотном лотке в верхней части камеры утилизации, одновременно сжигая твердый остаток в нижней части камеры утилизации; образовавшиеся водяные пары, газообразные продукты пиролиза и дымовые газы подвергают огневому обезвреживанию в камере дожигания, охлаждают в теплообменнике, очищают от твердых включений в циклоне, ликвидируют запахи в адсорбере, промывают в мокром скруббере и через дымовую трубу выводят в атмосферу, а весь процесс проводят под постоянным разрежением, создаваемым дымососом.

Описание

[1]

Изобретение относится к области термической утилизации медицинских и биологических отходов.

[2]

Известен способ и установка для его реализации (крематор КД-50), при котором отходы сжигают в камере сжигания крематора, снабженного горелочным устройством, загрузочным люком и дымовой трубой [1].

[3]

Недостатком способа является зависимость производительности от габаритов крематора, так как он работает циклично - единовременная загрузка установки уничтожаемым материалом, разогрев, сжигание, остывание установки, выгрузка зольного остатка.

[4]

Недостатком способа является то, что при нагреве каждой вновь загружаемой порции «холодного» биологического материала в атмосферу попадают «грязные» выделения (сначала пары воды, затем - начальные продукты термического разложения и т.д.), поскольку их обезвреживание при начальных низких температурах невозможно, а дополнительная очистка дымовых газов не производится.

[5]

Еще одним недостатком способа является отсутствие системы использования теплового потенциала органической составляющей отходов и сжигаемого в горелке топлива и, как следствие, недопустимо высокая температура дымовых газов на выходе из дымовой трубы.

[6]

Еще одним недостатком способа является то, что процесс сжигания производят при избыточном давлении в камере сжигания, вследствие чего возможно попадание в окружающую среду продуктов сгорания и опасных патогенных компонентов.

[7]

Известен способ кремации и устройство для его осуществления [2], включающий предварительное нагревание камеры кремации, размещение в ней утилизируемых материалов и их сжигание путем воздействия пламени горелки, тепловой радиации стенок и потока воздуха с последующим дожиганием отходящих газов.

[8]

Недостатком способа является сложный алгоритм управления процессом, предусматривающий последовательную сушку объекта и его сжигание путем изменения температурного режима в камере кремации, режима работы горелки и перенаправления потока воздуха в течение 10-20 мин последовательно: в верхнюю часть камеры сжигания, затем в верхнюю и нижнюю части и, наконец, в нижнюю часть камеры.

[9]

Еще одним недостатком способа является цикличность организации процесса утилизации, вследствие чего увеличение производительности возможно только за счет увеличения объема камеры сжигания и количества горелочных устройств, следствием чего, в свою очередь, является увеличение габаритов и массы установки и повышение расхода топлива.

[10]

Еще одним недостатком способа является ручная загрузка отходов в камеру сжигания через открытый загрузочный люк, требующая от персонала значительных физических нагрузок и длительного пребывания в условиях, когда из люка в атмосферу попадают остаточные газы вместе с вредными компонентами.

[11]

Наиболее близким к изобретению является способ утилизации, осуществляемый в установке для термического уничтожения твердых биологических отходов [3], содержащей камеру сжигания, снабженную загрузочным люком и горелочным устройством, камеру дожигания, снабженную горелочным устройством, теплообменник, систему газоочистки, дымосос и дымовую трубу.

[12]

Недостатком способа является отсутствие системы шлюзования при загрузке отходов, вследствие чего при открывании люка в атмосферу из внутреннего объема установки свободно выходят дымовые газы, захватывая при этом опасные патогенные организмы, которые могут находиться на загружаемых в этот момент отходах.

[13]

Недостатком способа является также отсутствие механизированной загрузки отходов, следствием чего является сложность соблюдения требований техники безопасности при ручной загрузке отходов, сопровождающейся активным выделением дымовых газов из открытого загрузочного люка.

[14]

Таким образом, общими недостатками известных устройств являются: отсутствие систем шлюзования при загрузке новых порций утилизируемого материала, следствием чего является свободный выход газообразных продуктов из камеры утилизации в окружающее пространство, и отсутствие механизированной загрузки отходов, следствием чего является сложность соблюдения требований техники безопасности при ручной загрузке отходов, сопровождающейся активным выделением дымовых газов из открытого загрузочного люка и недоиспользование теплового потенциала отходов, следствием чего является повышенный расход топлива.

[15]

Техническим результатом, на получение которого направлен предложенный способ утилизации отходов, является увеличение сменной производительности оборудования, снижение удельного расхода топлива за счет использования теплового потенциала отходов и обеспечение экологической безопасности окружающей среды и обслуживающего персонала.

[16]

Технический результат достигается тем, что загрузку отходов в камеру утилизации производят механизированным загрузочным устройством через шлюзовой поворотный лоток, процессы сушки, термического разложения и сжигания совмещают: отходы подсушивают и частично пиролизуют на поворотном лотке в верхней части камеры утилизации, одновременно сжигая твердый остаток в нижней части камеры утилизации; образовавшиеся водяные пары, газообразные продукты пиролиза и дымовые газы подвергают огневому обезвреживанию в камере дожигания, охлаждают в теплообменнике, очищают от твердых включений в циклоне, ликвидируют запахи в адсорбере, промывают в мокром скруббере и через дымовую трубу выводят в атмосферу, а весь процесс проводят под постоянным разрежением, создаваемым дымососом.

[17]

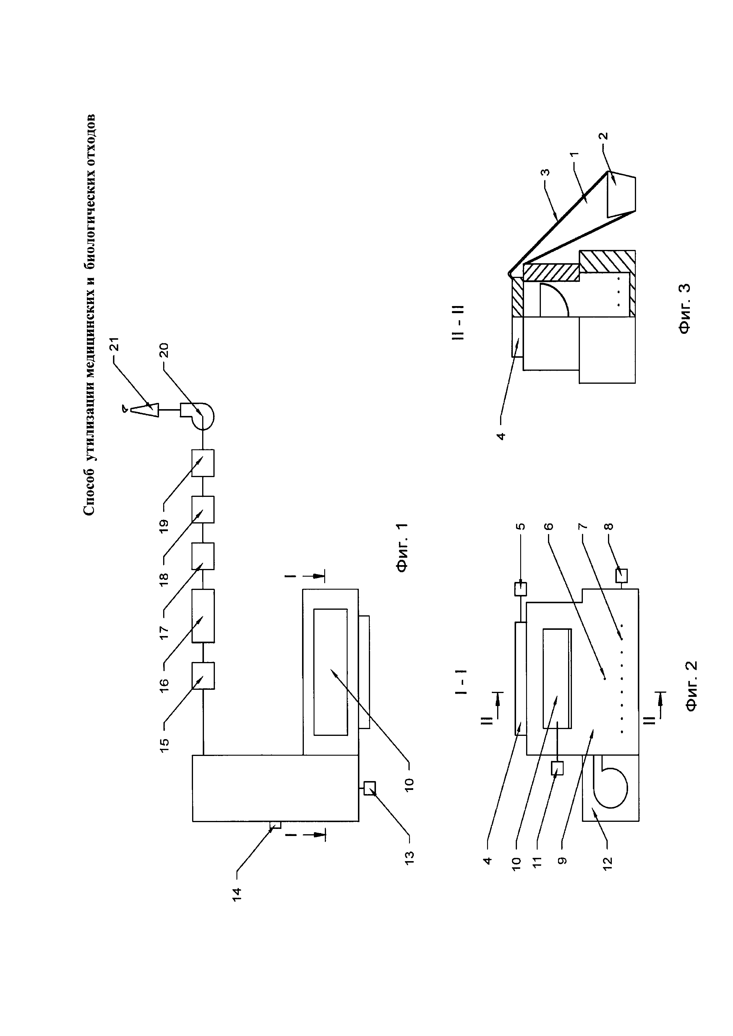
Сущность предлагаемого технического решения поясняется чертежами, где на фиг. 1 представлена принципиальная схема установки, на фиг. 2 - продольный разрез камеры утилизации, на фиг. 3 - поперечный разрез камеры утилизации.

[18]

Установка содержит загрузочное устройство 1, включающее приемный короб 2, соединенный жесткой тягой 3 с загрузочным люком 4, снабженным приводом 5; камеру утилизации 6, нижняя часть которой является зоной сжигания 7, снабженной горелочным устройством 8, а верхняя часть - зоной сушки и окислительного пиролиза 9 с поворотным лотком 10, снабженным приводом 11; камеру дожигания 12 с горелочным устройством 13 и системой ввода вторичного воздуха 14; картридж каталитического дожигателя 15; теплообменник 16; циклон 17; адсорбер 18; мокрый скруббер 19; дымосос 20 и дымовую трубу 21.

[19]

Установка работает следующим образом.

[20]

Поворотный лоток 10 устанавливают в положение «днищем вниз» и закрывают загрузочный люк 4. Включают горелки 8 и 13 и разогревают установку до рабочей температуры в зоне сжигания 700-900°С. Порцию отходов помещают в приемный короб 2. Включают привод 5 загрузочного люка 4 (включение привода 5 возможно только при положении поворотного лотка 10 «днищем вниз») и перемещают отходы в поворотный лоток 10, после чего люк 4 закрывают. Включают привод 11 поворотного лотка 10 и переводят лоток 10 сначала в положение «днищем вверх», а затем возвращают в исходное положение «днищем вниз». После начала горения отходов в зоне сжигания 7 в поворотный лоток 10 загружают новую порцию отходов и переводят лоток в промежуточное положение - «днище вертикально». За счет радиационного излучения очага горения и конвекции газов находящиеся в лотке 10 отходы сначала теряют влагу, а затем начинается процесс их термического разложения (окислительный пиролиз). Образующиеся газообразные продукты за счет тяги дымососа 20, мигрируя к выходу из зоны сжигания 7 через высокотемпературный очаг горения в ее нижней части, подвергаются первичному огневому обезвреживанию и поступают в камеру дожигания 12, где в режиме вращающегося газового потока вследствие высокой турбулентности, больших относительных скоростей и времени пребывания обеспечивается качественное догорание горючих компонентов пиролизного газа и твердых частиц (пылеуноса). Образовавшиеся дымовые газы последовательно просасываются через картридж каталитического дожигателя 15, где происходит низкотемпературное доокисление остатков органических соединений, теплообменник 16, где осуществляется снижение температуры газов до уровня 150-120°С, и поступают в систему газоочистки. В системе газоочистки производится сначала очистка дымовых газов от пыли в «сухом» циклоне 17, ликвидация запахов в адсорбере 18, а затем промывка жидкостью в «мокром» скруббере 19. Очищенные дымовые газы поступают в дымосос 20 и выбрасываются в атмосферу через дымовую трубу 21.

[21]

После завершения основного процесса горения порции отходов в зоне сжигания 7 поворотный лоток 10 доворачивают в положение «днищем вверх», сбрасывают отходы на очаг горения в нижней части зоны сжигания 7, возвращают поворотный лоток 10 в положение «днищем вниз» и загружают в него новую порцию отходов. В дальнейшем циклы повторяются.

[22]

Выгрузка пыли из циклона 17 производится по мере накопления. Сбор и выгрузка отработанного адсорбента из адсорбера 18 и шлама из скруббера 19 производится после окончания смены в текстильные или пластиковые мешки, вместе с которыми они впоследствии уничтожаются в зоне сжигания 7. Зола, остающаяся после сгорания органической составляющей отходов, выгружается из под колосников один раз в смену. Работа всей технологической цепочки под разрежением, создаваемым дымососом 20, расположенным на выходе из установки, исключает возможность выхода вредных компонентов в атмосферу.

[23]

Пример. В течение 1 ч утилизируется 100 кг отходов с исходной влажностью 65%. Установка предварительно разогрета до рабочей температуры.

[24]

При известном способе кремации на сжигание 100 кг отходов с влажностью 65% расходуют 16 л дизельного топлива, т.е. ~ 130000 ккал. Процесс осуществляется в следующей последовательности: 1-й этап (30 мин) - нагрев и сушка отходов. Процесс эндотермичный, затраты внешнего топлива ~ 46000 ккал. 2-й этап (30 мин) - сжигание твердого остатка. Процесс экзотермичный, выделение теплового потенциала органической массы ~ 122500 ккал, но это тепло, выделяющееся при горении в течение 2-го этапа, выводится из камеры утилизации 6 с дымовыми газами и для процесса утилизации не используется. В то же время внешнее топливо используется постоянно - в течение 1-го этапа для осуществления процессов сушки и нагрева и, частично, в течение 2-го этапа для сохранения температурного уровня. Таким образом (без учета тепловых потерь) в процесс вводится 282500 (160000+122500) ккал, а полезно используется 46000 ккал (16,1%).

[25]

В заявляемом способе при том же количестве отходов большая часть тепла, выделяющегося при сжигании сухого остатка (122500 ккал), используется на сушку новой порции отходов, находящейся в поворотном лотке в верхней, наиболее горячей зоне. Степень «осушаемости» отходов зависит от времени пребывания отходов в зоне сушки, которое, в свою очередь, зависит от скорости сгорания твердого остатка и условий теплообмена между зонами сжигания и сушки, но в любом случае имеет место положительный тепловой баланс (122500 намного больше 46000). Внешнее топливо в этом случае расходуется только на разогрев установки и поддержание заданного температурного режима при непредвиденных остановках. Время процесса сокращается вдвое.

[26]

Выделяющиеся в процессе сушки и последующего термического разложения (пиролиза) газообразные продукты последовательно проходят через две высокотемпературные зоны - зону сжигания в камере утилизации и камеру дожигания, что повышает уровень их огневого обезвреживания.

[27]

Таким образом:

[28]

Задача увеличения сменной производительности оборудования и снижения удельного расхода топлива достигается за счет совмещения в одном цикле нескольких технологических этапов: нагрев и сушка каждой новой порции отходов происходит за счет теплового потенциала сжигаемого в это же время твердого остатка от предыдущей порции. Тепловой баланс такой организации процесса положительный, поэтому необходимости в использовании внешнего топлива нет, а время процесса сокращается вдвое.

[29]

Задача обеспечения экологической безопасности окружающей среды в предлагаемом способе достигается за счет того, что, во-первых, предлагаемый способ предусматривает загрузку отходов в установку через шлюзовой поворотный лоток, что исключает возможность выхода дымовых газов в окружающую среду. Во-вторых, безопасность окружающей среды при заявляемом способе достигается за счет того, что выделяющиеся при окислительном пиролизе и сжигании газообразные продукты сначала подвергают частичному огневому обезвреживанию в зоне сжигания, затем полному огневому обезвреживанию в камере дожигания, а после их охлаждения в теплообменнике - комплексной очистке в системе газоочистки.

[30]

Загрузка отходов загрузочным устройством облегчает работу обслуживающего персонала.

[31]

Проведение процесса под разрежением, создаваемым дымососом, делает невозможным выход вредных компонентов в окружающую среду.

[32]

Таким образом:

[33]

Совокупность указанных существенных признаков обеспечивает возможность экологически безопасной термической утилизации медицинских и биологических отходов, позволяет механизировать процесс загрузки, что значительно уменьшает физические нагрузки на обслуживающий персонал и улучшает условия труда, обеспечивает возможность непрерывной работы установки и увеличение ее сменной производительности, обеспечивает более полное использование теплового потенциала отходов и экономию топлива и обеспечивает экологическую безопасность выбросов в окружающую среду.

[34]

Испытания образца установки в реальных условиях показали высокую степень обезвреживания токсичных компонентов отходящих газов, отсутствие в рабочем помещении дымов и запаха. Достигнута также значительная экономия топлива.

[35]

Источники информации

[36]

1. Установка для термической утилизации биологических отходов (крематор КД-50) // http://www.agro-kem.ru/.

[37]

2. Способ кремации и устройство для его осуществления //Патент РФ №2110016.

[38]

3. Установка для термического уничтожения твердых биологических отходов // Патент РФ №118027.

Как компенсировать расходы
на инновационную разработку
Похожие патенты