патент
№ RU 2681225
МПК G01F1/32

Чувствительный элемент вихревого расходомера

Авторы:
Чернышев Валерий Александрович
Номер заявки
2018109317
Дата подачи заявки
15.03.2018
Опубликовано
05.03.2019
Страна
RU
Как управлять
интеллектуальной собственностью
Чертежи 
1
Реферат

Изобретение относится к вихревым расходомерам, предназначенным для измерения расхода жидкостей и газов. Чувствительный элемент вихревого расходомера включает герметичный вакуумированный корпус, круглую упругую мембрану с утолщенной периферической частью, прикрепленные к противоположным сторонам мембраны плоскую лопатку и рычаг-противовес, выполненный в виде биметаллической пластины, плоскость которой развернута на 90° по отношению к плоскости лопатки, прикрепленный к концу рычага отражательный элемент в виде куба с тремя зеркальными взаимно перпендикулярными гранями а, б, и в, три сдвоенных волоконно-оптических жгута, срезы которых расположены вблизи зеркальных граней куба и обтекатель. Чувствительный элемент обеспечивает одновременное измерение скорости потока, абсолютного давления и температуры с использованием волоконно-оптических преобразователей перемещений, образуемых жгутами и отражательными гранями куба. Для измерения скорости потока используются колебания лопатки под воздействием вихрей, вызывающие знакопеременные перемещения грани а. Для измерения абсолютного давления используется смещение под воздействием давления центральной части мембраны, сопровождающееся перемещением грани б. Для измерения температуры используется изгиб биметаллического рычага-противовеса, сопровождающийся перемещением грани в. Расположенный перед лопаткой обтекатель защищает лопатку от прямого воздействия набегающего потока, вносящего дополнительную погрешность в измерение температуры. Применение однотипных волоконно-оптических датчиков перемещений для измерения скорости, давления и температуры среды позволяет упростить конструкцию и техническое обслуживание вихревого расходомера, обеспечить невосприимчивость чувствительного элемента к электромагнитным полям и помехам, устойчивость к воздействию сложных климатических условий, высокое разрешение. 1 ил.

Формула изобретения

Чувствительный элемент расходомера, содержащий прочный корпус, прикрепленную к корпусу утолщенной периферической частью круглую упругую мембрану, плоскую жесткую лопатку, прикрепленную по всей ширине к наружной стороне мембраны соосно с ней и перпендикулярно ее плоскости, рычаг-противовес, прикрепленный к внутренней стороне мембраны соосно с лопаткой и мембраной, составляющий с ними одно целое и имеющий одинаковый с лопаткой геометрический момент инерции, отличающийся тем, что в него введены отражательный элемент в виде куба с тремя взаимно перпендикулярными зеркальными гранями, три двойных волоконно-оптических жгута и обтекатель, причем отражательный элемент прикреплен к концу рычага-противовеса таким образом, что одна из граней расположена параллельно плоскости мембраны, а смежная с ней грань расположена параллельно плоскости лопатки, срезы волоконно-оптических жгутов расположены на небольшом расстоянии от трех взаимно перпендикулярных граней куба параллельно к ним, обтекатель прикреплен к корпусу и расположен перед передней гранью лопатки на небольшом расстоянии от нее, рычаг-противовес выполнен в виде жесткой биметаллической пластины, плоскость которой развернута на 90° по отношению к плоскости лопатки, причем оси волоконно-оптических жгутов пересекаются в центре симметрии куба, внутренняя полость корпуса выполнена герметичной и вакуумированной, при этом ширина лопатки составляет 0,6 диаметра мембраны, диаметры волоконно-оптических жгутов равны или меньше длины стороны куба, а обтекатель имеет ширину, превышающую толщину лопатки.

Описание

[1]

Заявляемое техническое решение относится к средствам измерения расхода и количества текучих сред, а именно - к вихревым расходомерам с плохообтекаемым телом, содержащим чувствительный элемент в виде выступающей в поток лопатки (крыла) с развитой поверхностью, перемещающейся под воздействием вихрей, срывающихся с плохообтекаемого тела.

[2]

Известен чувствительный элемент вихревого расходомера (Патент США №6003384, МПК G01f 1/32, НКИ 73/861.22, опубл. 21 12.1999) [1], содержащий лопатку, расположенную вдоль потока и закрепленную в центре круглой упругой мембраны перпендикулярно ее плоскости, рычаг-противовес в виде гильзы, прикрепленный к другой стороне мембраны соосно с лопаткой, составляющий с ней одно целое и имеющий одинаковый с лопаткой геометрический момент инерции, и емкостной детектор перемещений рычага. Под воздействием переменного скоростного напора, создаваемого образующимися за телом обтекания вихрями, лопатка и связанный с ней рычаг совершают колебательное движение. Перемещение рычага преобразовывается с помощью детектора в переменный (близкий к синусоидальному) электрический сигнал, частота которого пропорциональна скорости потока (объемному расходу). Поскольку моменты инерции лопатки и рычага одинаковы, вибрации не влияют на работу чувствительного элемента.

[3]

Недостаток вышеописанного чувствительного элемента состоит в том, что с его помощью возможно измерение расхода только жидких сред, плотность и вязкость которых слабо зависит от давления и температуры. При измерении расхода жидкости, вязкость которых сильно зависит от температуры, в состав расходомера вводят датчик температуры, позволяющий учитывать изменения вязкости, а при измерении расхода газообразных сред (вязкость и плотность которых сильно зависят от температуры и давления) в состав расходомера дополнительно включают датчик давления. Чувствительный элемент, датчики давления и температуры подключают к измерительно-вычислительному блоку, с помощью которого вводится поправка на изменения вязкости и вычисляется объемный расход, приведенный к нормальным условиям, или массовый расход. Указанное решение требует усложнения конструкции расходомера, а также увеличенных расходов на его техническое обслуживание из-за наличия отдельных датчиков температуры и расхода.

[4]

Частично от указанного недостатка свободен наиболее близкий к заявляемому техническому решению чувствительный элемент вихревого расходомера, содержащий прочный корпус, прикрепленную к корпусу утолщенной периферической частью круглую упругую мембрану, закрепленную в центре мембраны перпендикулярно ее плоскости и расположенную вдоль потока жесткую лопатку с глухим отверстием, в котором установлен малогабаритный термодатчик, жесткий рычаг-противовес в виде гильзы, прикрепленный к другой стороне мембраны соосно с лопаткой, составляющий с ней одно целое и имеющий одинаковый с лопаткой геометрический момент инерции, и емкостной чувствительный элемент, образуемый рычагом-противовесом и охватывающим его изолированным цилиндрическим электродом (Патент США №6988418, МПК G01F 1/32, НКИ 73/861.22, опубл. 24.01.2006) [2]. Под воздействием переменного скоростного напора, создаваемого образующимися за телом обтекания вихрями, лопатка и связанный с ней рычаг-противовес совершают колебательное движение. Перемещение рычага-противовеса преобразовывается с помощью емкостного чувствительного элемента в переменный (близкий к синусоидальному) электрический сигнал, частота которого пропорциональна скорости потока (объемному расходу). При измерении расхода жидкостей с помощью показаний встроенного в лопатку термодатчика вводится поправка на вязкость. При измерении расхода газообразных сред в состав расходомера вводится датчик абсолютного для измерения абсолютного давления среды.

[5]

Недостатком описанного чувствительного элемента является необходимость применения отдельного датчика давления при измерении расхода газовых сред, а также то, что все датчики являются разнотипными. Это предопределяет сложность конструкции расходомера, а также увеличенные расходы на его техническое обслуживание.

[6]

Техническая проблема, решаемая изобретением - расширение функциональных возможностей чувствительного элемента за счет совмещения в одном узле однотипных чувствительных элементов расхода, температуры и давления контролируемой среды и как следствие упрощение конструкции и технического обслуживания расходомера.

[7]

Указанный эффект достигается тем, что в чувствительный элемент расходомера, содержащий прочный корпус, прикрепленную к корпусу утолщенной периферической частью круглую упругую мембрану, плоскую жесткую лопатку, прикрепленную по всей ширине к наружной стороне мембраны соосно с ней и перпендикулярно ее плоскости, рычаг-противовес, прикрепленный к внутренней стороне мембраны соосно с лопаткой и мембраной, составляющий с ними одно целое и имеющий одинаковый с лопаткой геометрический момент инерции, введены отражательный элемент в виде куба с тремя взаимно-перпендикулярными зеркальными гранями, три двойных волоконно-оптических жгута и обтекатель, причем куб прикреплен к концу рычага-противовеса таким образом, что одна из граней расположена параллельно плоскости мембраны, а смежная с ней грань расположена параллельно плоскости лопатки, срезы волоконно-оптических жгутов расположены на небольшом расстоянии от отражающих граней куба параллельно к ним, обтекатель прикреплен к корпусу и расположен перед передней гранью лопатки на небольшом расстоянии от нее, рычаг-противовес выполнен в виде жесткой биметаллической пластины, плоскость которой развернута на 90° по отношению к плоскости лопатки, причем оси волоконно-оптических жгутов пересекаются в центре симметрии куба, внутренняя полость корпуса выполнена герметичной и вакуумированной, при этом ширина лопатки составляет 0,6 диаметра мембраны, диаметры волоконно-оптических жгутов равны или меньше длины стороны куба, а обтекатель имеет ширину, превышающую толщину лопатки.

[8]

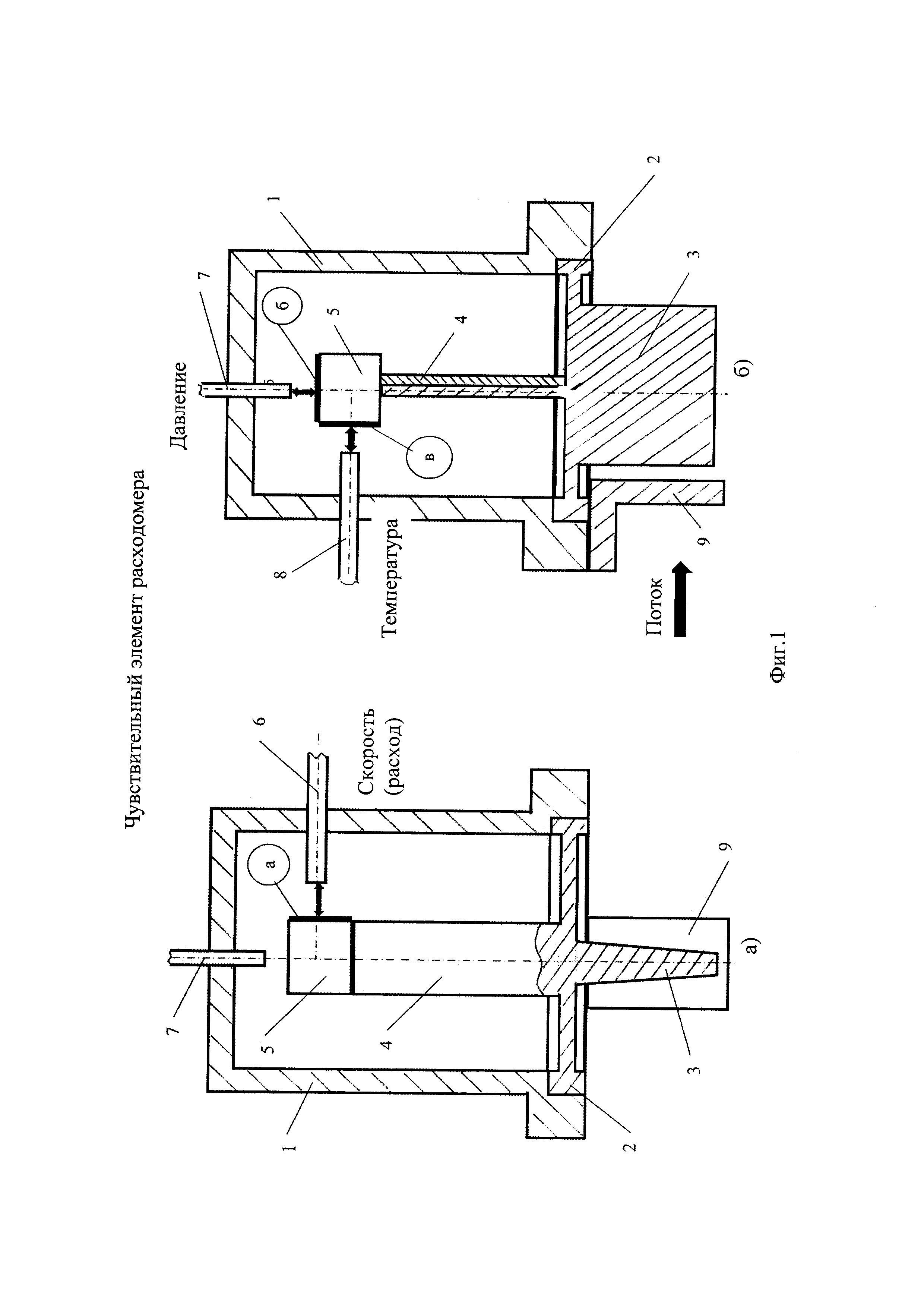
Сущность изобретения поясняется рисунком (фиг. 1) на котором приведен общий вид чувствительного элемента в двух проекциях.

[9]

Чувствительный элемент расходомера (фиг. 1) включает герметичный вакуумированный корпус 1, круглую упругую мембрану 2 с утолщенной периферической частью, плоскую лопатку 3, рычаг-противовес 4, отражательный элемент 5 в виде куба с тремя взаимно-перпендикулярными зеркальными гранями, три сдвоенных волоконно-оптических жгута 6-8 и обтекатель 9. Мембрана 2 прикреплена к корпусу 1 утолщенной периферической частью (наличие утолщенной периферической части предотвращает деформацию мембраны при ее креплении к корпусу). Лопатка 3 прикреплена по всей ширине к внешней (обращенной к потоку) стороне мембраны 2 перпендикулярно ее плоскости и имеет ширину, составляющую 0,6 диаметра мембраны 2. Рычаг-противовес 4 выполнен в виде жесткой биметаллической пластины, прикрепленной к внутренней стороне мембраны 2 соосно с лопаткой 3 и составляющей с ней и мембраной 2 одно целое и имеющий одинаковый с лопаткой геометрический момент инерции. Плоскость рычага-противовеса 4 развернута на 90° по отношению к плоскости лопатки 3. Отражательный элемент 5 прикреплен к концу рычага-противовеса 4 таким образом, что одна из граней (а) расположена параллельно плоскости лопатки 3, другая грань (б) расположена параллельно плоскости мембраны 2, а третья грань (в) расположена параллельно плоскости рычага-противовеса 4. Срезы волоконно-оптических жгутов 6-8 расположены на небольшом расстоянии от граней куба 5 а-в параллельно к ним, причем оси волоконно-оптических жгутов 6-8 пересекаются в центре симметрии куба 5. Диаметры волоконно-оптических жгутов 6-8 равны или меньше длины стороны куба. Каждый двойной волоконно-оптический жгут включает центральный жгут, по которому поступает световой поток от источника света и периферический жгут, по которому отводится световой поток, отраженный от зеркальной грани куба 5. Волоконно-оптические жгуты 6-8 соединены с тремя электронными схемами оптических преобразователей перемещений, принцип действия которых описан в [3]. Обтекатель 9 прикреплен к корпусу 1, расположен перед передней гранью лопатки 3 на небольшом расстоянии от нее и имеет ширину, превышающую толщину лопатки 3. В корпусе первичного преобразователя расходомера чувствительный элемент располагается таким образом, что наружная поверхность мембраны 2 располагается на внутренней стенке проточной части, а лопатка 3 - непосредственно за телом обтекания в вихревом следе.

[10]

Измерение скорости потока расхода осуществляется следующим образом. При появлении расхода за телом обтекания образуется вихревая дорожка (дорожка Кармана), которая характеризуется периодическими колебаниями скоростного напора в месте расположения лопатки 3. Под действием переменного скоростного напора лопатка 3 совершает колебания в плоскости, перпендикулярной оси потока. Поскольку лопатка 3 составляет одно целое с мембраной 2 и рычагом 4, такие же периодические колебания совершает рычаг 4 и, соответственно, и прикрепленный к ней отражательный элемент 5. При этом изменяется расстояние между гранью а куба 5 и срезом волоконно-оптического жгута 6. Подключенный к жгуту 6 оптический преобразователь перемещений преобразует колебания расстояния между гранью а куба 5 и срезом жгута 6 в переменный электрический сигнал, частота которого равна частоте вихреобразования и пропорциональна расходу.

[11]

Измерение давления осуществляется следующим образом. При отсутствии давления (в вакууме) мембрана 2 находится в исходном состоянии. Под действием давления мембрана 2 выгибается и перемещает рычаг-противовес 4 и прикрепленный к нему куб 5 вдоль оси мембраны 2 на расстояние, пропорциональное величине давления (возможность осевого перемещения мембраны обусловлена тем, что ширина лопатки составляет 0,6 диаметра мембраны). При этом изменяется расстояние между гранью б куба 5 и срезом световода 7. Подключенный к жгуту 7 оптический преобразователь перемещений преобразует изменение расстояния в электрический сигнал, величина которого пропорциональна давлению. Поскольку внутренняя полость корпуса 1 детектора вихрей вакуумирована, этот сигнал пропорционален абсолютному давлению среды, которое используется при расчете массового расхода газа или расхода газа, приведенного к нормальным условиям [4].

[12]

Измерение температуры осуществляется следующим образом. При изменении температуры контролируемой среды изменяется температура лопатки 3 и составляющего с ней одно целое биметаллического рычага-противовеса 4. За счет разности коэффициентов линейного расширения металлов рычаг-противовес 4 отклоняется на некоторый угол, пропорциональный температуре. При этом изменяется расстояние между гранью в куба 5 и срезом световода 8. Подключенный к жгуту 8 оптический преобразователь перемещений преобразует изменение расстояния в электрический сигнал, величина которого пропорциональна температуре. Для того чтобы лопатка 3 не отклонялась при воздействии на нее силы набегающего потока и не вносила дополнительную погрешность в измерение температуры, в конструкции чувствительного элемента предусмотрены:

[13]

- обтекатель 9, расположенный перед лопаткой 3, защищающий ее от прямого воздействия набегающего потока;

[14]

- крепление лопатки 3 к мембране по всей ширине и выполнение лопатки 3 заодно с мембраной 2, что придает дополнительную жесткость мембране 2 в направлении оси потока, не препятствуя колебаниям лопатки под воздействием вихрей вокруг оси, совпадающей с плоскостью пересечения лопатки 3 и мембраны 2.

[15]

В сравнении с устройством-прототипом предлагаемое устройство обеспечивает повышение уровня унификации и упрощение конструкции преобразователя расхода, т.к. одновременное измерение скорости, давления и температуры контролируемой среды осуществляется с помощью малогабаритного чувствительного элемента с однотипными оптическими преобразователями перемещений, что позволяет отказаться от отдельных чувствительных элементов (датчиков) для измерения давления и температуры. Применение волоконно-оптических датчиков перемещений обеспечивает высокое разрешение, невосприимчивость детектора вихрей к электромагнитным полям и помехам, устойчивость к воздействию радиации и сложных климатических условий, отсутствие необходимости электрического питания, заземления и гальванической развязки, пожаробезопасность и взрывобезопасность, возможность удаления датчика на большое расстояние, компактность, большие срок службы и межповерочный интервал.

[16]

Источники информации:

[17]

1 Патент США №6003384, МПК G01f 1/32, НКИ 73/861.22, опубл. 21 12.1999, фиг. 1-4.

[18]

2 Патент США №6988418, МПК G01F 1/32, НКИ 73/861.22, опубл. 24.01.2006, фиг. 4.

[19]

3 Окоси, Т. Волоконно-оптические датчики / Т. Окоси, К. Окамото, М. Оцу; под ред. Т. Окоси. - Л.: Энергоатомиздат, 1990. - 256 с.

[20]

4 ГОСТ Р8.740-2011 Государственная система обеспечения единства измерений (ГСИ). Расход и количество газа. Методика измерений с помощью турбинных, ротационных и вихревых расходомеров и счетчиков, с. 16-18.

Как компенсировать расходы
на инновационную разработку
Похожие патенты