Изобретение относится к области нефтегазодобывающей промышленности и может быть применено для гидравлического разрыва продуктивного пласта, содержащего прослой глины с газоносным горизонтом. Способ включает выполнение перфорации в интервале продуктивного пласта скважины, ориентированной в направлении главного максимального напряжения, спуск колонны насосно-компрессорных труб (НКТ) с пакером в скважину, посадку пакера, проведение гидравлического разрыва пласта (ГРП) закачиванием гидроразрывной жидкости по колонне НКТ с пакером через интервал перфорации в продуктивный пласт с образованием и последующим креплением трещины проппантом, стравливание давления из скважины, распакеровку пакера и его извлечение с колонной НКТ из скважины. Ориентированную перфорацию производят с помощью гидромеханического перфоратора с ориентирующим переводником, процесс ГРП начинают с закачки гидроразрывной жидкости, в качестве которой используют сшитый гель для создания трещины в продуктивном пласте. После чего созданную трещину развивают закачкой линейного геля плотностью 1150 кг/мсначала со сверхлегким проппантом фракции 40/80 меш с концентрацией 200 кг/м, а затем с кварцевым мелкозернистым песком с размером зерен 0,1-0,25 мм концентрацией 600 кг/м. После чего производят крепление трещины закачкой сшитого геля с проппантом фракцией 20/40 меш или 12/18 меш в зависимости от проницаемости продуктивного пласта порциями со ступенчатым увеличением концентрации проппанта на 100 кг/м, начиная от 200 кг/мдо 800 кг/м, последней порцией закачивают RCP-проппант с концентрацией 900 кг/м. При этом в продуктивном пласте с проницаемостью от 0,01 до 100 мД при креплении трещины закачивают сшитый
Способ гидравлического разрыва продуктивного пласта с глинистым прослоем и газоносным горизонтом, включающий выполнение перфорации в интервале продуктивного пласта скважины, ориентированной в направлении главного максимального напряжения, спуск колонны насосно-компрессорных труб (НКТ) с пакером в скважину, посадку пакера, проведение гидравлического разрыва пласта (ГРП) закачиванием гидроразрывной жидкости по колонне НКТ с пакером через интервал перфорации в продуктивный пласт с образованием и последующим креплением трещины проппантом, стравливание давления из скважины, распакеровку пакера и его извлечение с колонной НКТ из скважины, отличающийся тем, что ориентированную перфорацию производят с помощью гидромеханического перфоратора с ориентирующим переводником, процесс ГРП начинают с закачки гидроразрывной жидкости, в качестве которой используют сшитый гель для создания трещины в продуктивном пласте, после чего созданную трещину развивают закачкой линейного геля плотностью 1150 кг/м3 сначала со сверхлегким проппантом фракции 40/80 меш с концентрацией 200 кг/м3, а затем с кварцевым мелкозернистым песком с размером зерен 0,1-0,25 мм концентрацией 600 кг/м3, после чего производят крепление трещины закачкой сшитого геля с проппантом фракцией 20/40 меш или 12/18 меш в зависимости от проницаемости продуктивного пласта порциями со ступенчатым увеличением концентрации проппанта на 100 кг/м3, начиная от 200 кг/м3 до 800 кг/м3, последней порцией закачивают RCP-проппант с концентрацией 900 кг/м3, при этом в продуктивном пласте с проницаемостью от 0,01 до 100 мД при креплении трещины закачивают сшитый гель с проппантом фракции 20/40 меш, а в продуктивном пласте с проницаемостью от 100 до 500 мД при креплении трещины закачивают сшитый гель с проппантом 12/18 меш.
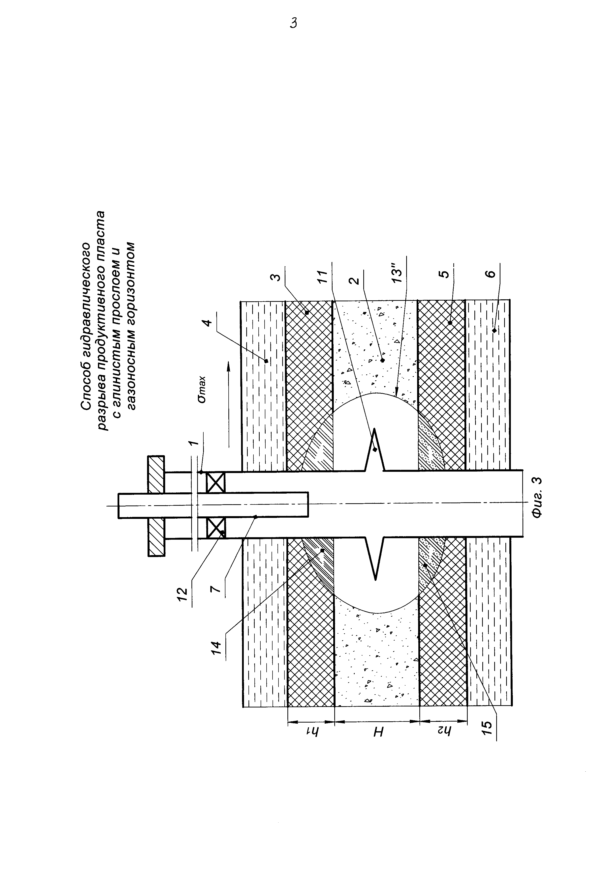
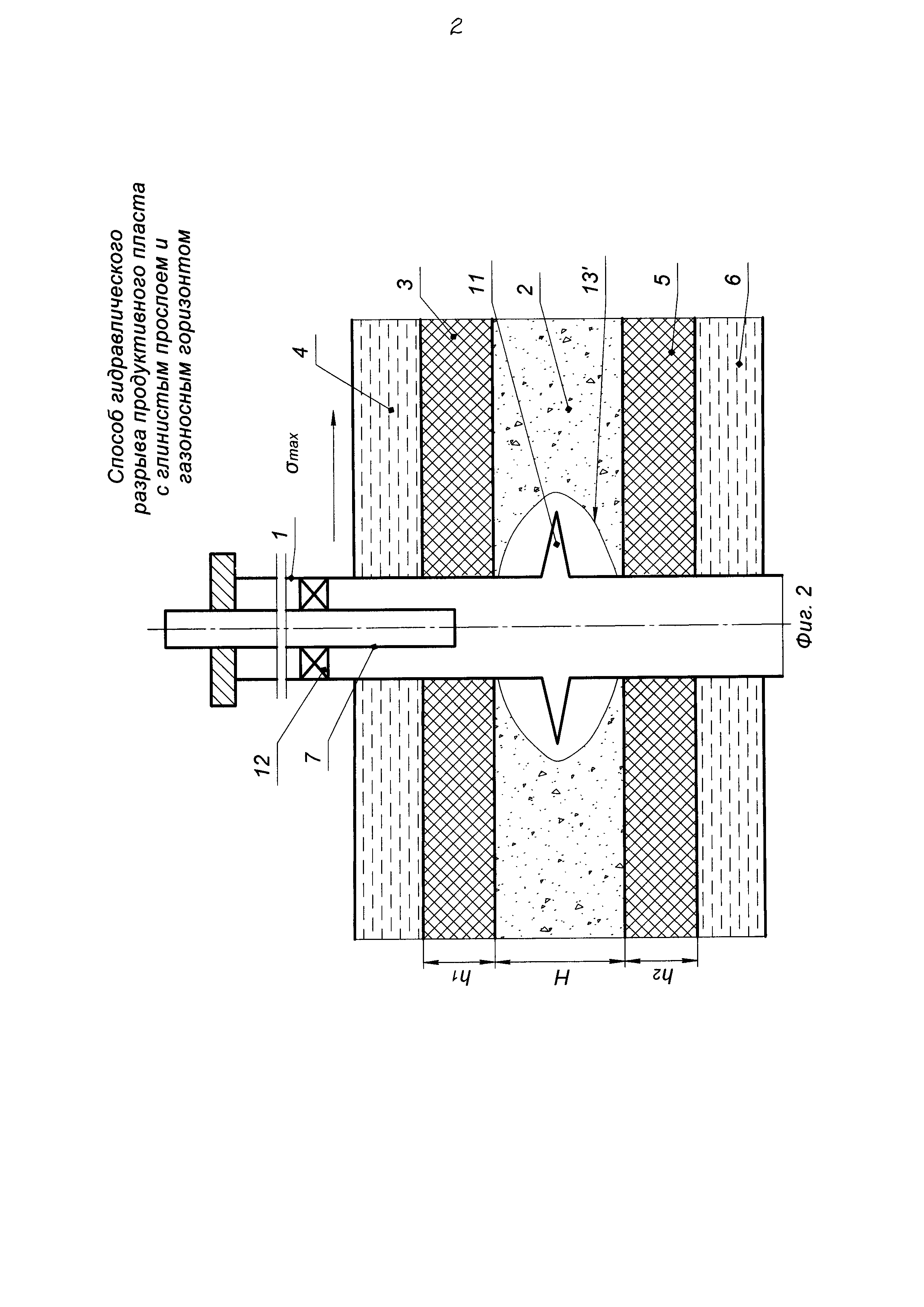
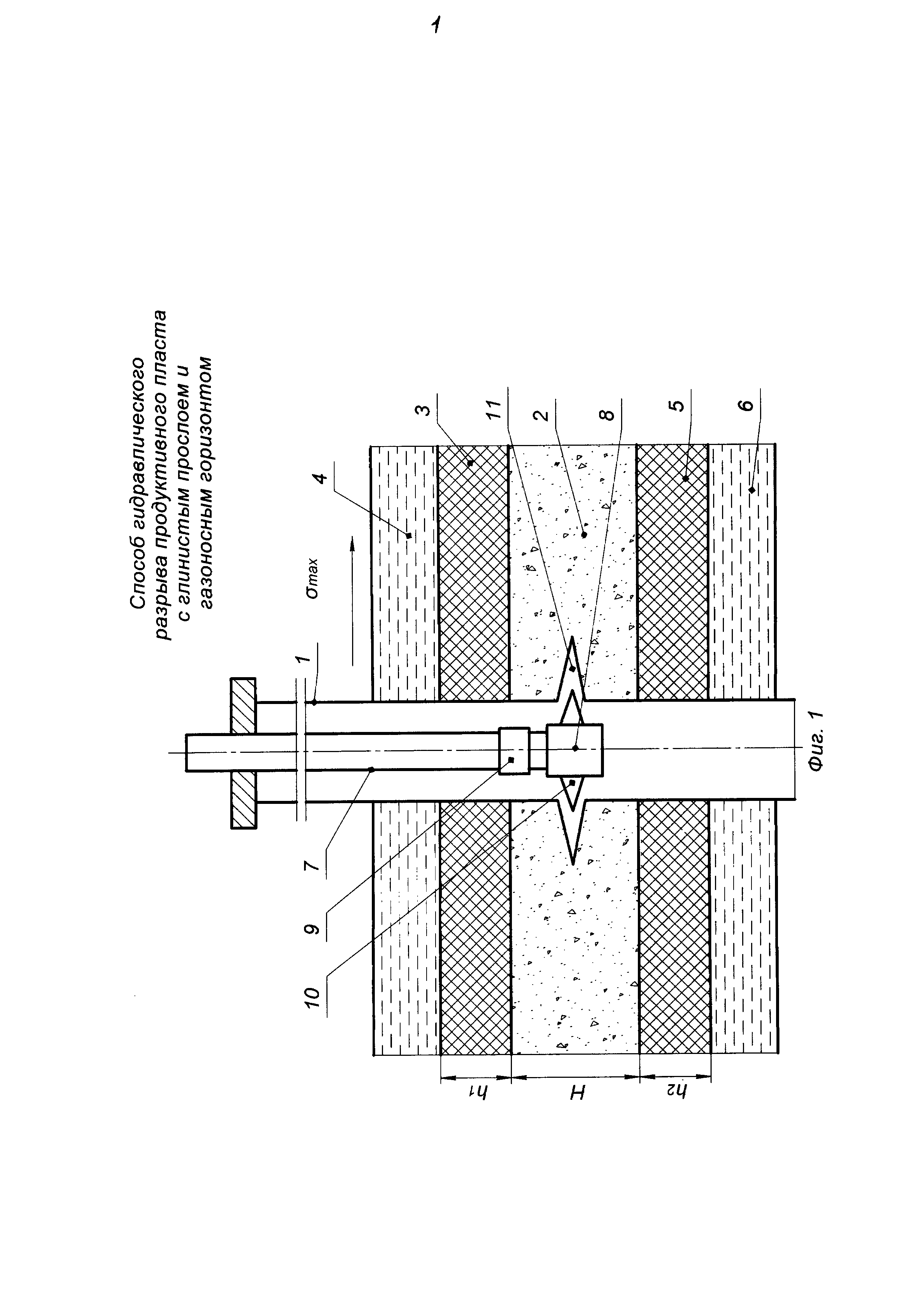
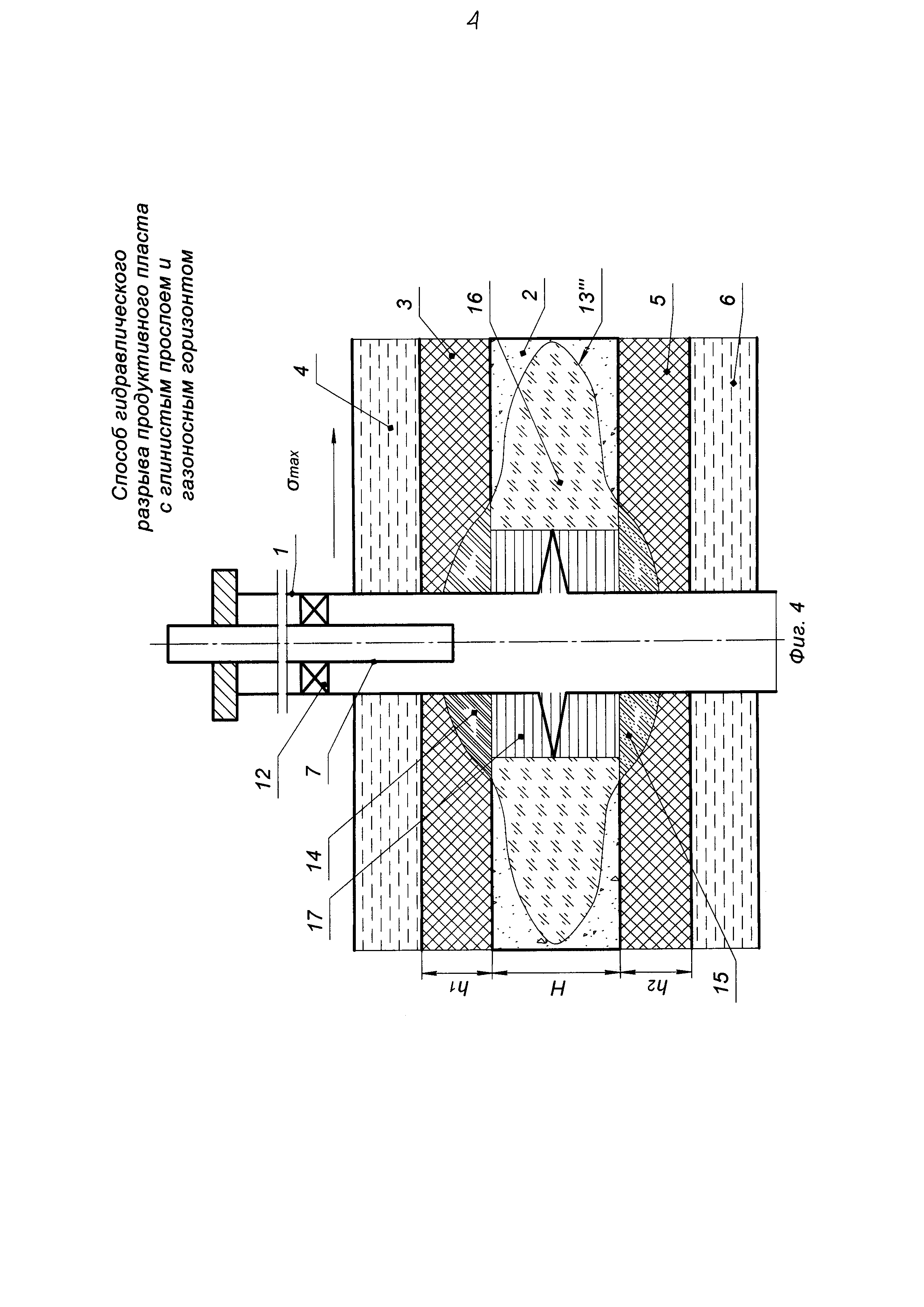
Изобретение относится к области нефтегазодобывающей промышленности, в частности, может быть использовано для гидравлического разрыва продуктивного пласта, содержащего прослой глины с газоносным горизонтом. Известен способ гидроразрыва низкопроницаемого пласта с глинистыми прослоями и подошвенной водой (патент RU №2544343, МПК E21B 43/267, опубл. 20.03.2015 г., бюл. №8), включающий спуск колонны насосно-компрессорных труб (НКТ) с пакером в скважину, посадку пакера, проведение гидроразрыва пласта (ГРП) закачиванием через скважину по колонне НКТ с пакером в продуктивный пласт гидроразрывной жидкости с последующей закачкой проппанта через интервал перфорации низкопроницаемого пласта, стравливание давления из скважины. Дополнительно производят временную изоляцию интервала перфорации низкопроницаемого пласта, перфорируют интервал глинистого прослоя с использованием чередующихся зарядов большого диаметра и глубокого проникновения, затем спускают колонну НКТ с пакером в скважину так, чтобы нижний конец колонны НКТ находился на уровне кровли глинистого прослоя, осуществляют посадку пакера в скважине, производят гидроразрыв низкопроницаемого пласта с образованием трещин закачкой гидроразрывной жидкости по колонне НКТ через интервалы перфорации глинистого прослоя. Далее в трещины закачивают оторочку сшитого геля на углеводородной основе в объеме 3-5 м3 с расходом 10 м3/мин, причем в качестве проппанта используют проппантную смесь. После чего производят крепление трещин порционной закачкой гидроразрывной жидкости и проппантной смеси, начиная с концентрации проппантной смеси 400 кг/м3 со ступенчатым увеличением ее концентрации на 200 кг/м3 в гидроразрывной жидкости в каждой порции и расходом 5 м3/мин, причем проппантную смесь готовят на устье скважины в следующем соотношении, мас. %: проппант 12/40 меш - 30%; проппант 18/20 меш - 30%; кварцевая мука - 40%, по окончании гидроразрыва низкопроницаемого пласта удаляют временную изоляцию интервала перфорации низкопроницаемого пласта и проводят перфорацию низкопроницаемого пласта с образованием гидравлической связи между стволом скважины и трещиной гидроразрыва. Недостатками данного способа являются: - во-первых, низкая надежность создания и развития трещины при наличии выше продуктивного пласта глинистого прослоя и газоносного или водоносного горизонта. Это обусловлено тем, что в процессе проведения ГРП трещина развивается вверх в ширину, а не в длину, что приводит к прорыву трещины при ее развитии в газоносный или водоносный горизонт. В итоге вода или газ из верхнего соответственно газоносного или водоносного горизонта прорывается в скважину уже в процессе ГРП; - во-вторых, низкая эффективность крепления трещины, обусловленная низкой проводимостью трещины и, как следствие, слабым притоком нефти из продуктивного пласта в скважину. Пропускная способность трещины зависит от размера фракции проппанта, крепящего трещину, поэтому в зависимости от фракции проппанта изменяется расстояние между зернами проппанта в трещине, обеспечивающего пропускную способность трещины, когда пропускная способность трещины не соответствует объему притока нефти из продуктивного пласта в зависимости от его проницаемости, то проводимость трещины снижается; - в-третьих, увеличение риска скачка давления в процессе продавки проппанта в трещину вследствие высоких гидравлических сопротивлений в интервале перфорации, возникновение аварийной ситуации и недостижение заданных параметров трещины (ширины, длины); - в-четвертых, дополнительные затраты, так как по окончании гидроразрыва низкопроницаемого пласта удаляют временную изоляцию интервала перфорации низкопроницаемого пласта и проводят перфорацию низкопроницаемого пласта с образованием гидравлической связи между стволом скважины и трещиной гидроразрыва. Наиболее близким по технической сущности является способ гидравлического разрыва продуктивного пласта с глинистым прослоем и подошвенной водой (патент RU №2566542, МПК E21B 43/26, опубл. 27.10.2015 г., бюл. №30), включающий спуск колонны НКТ с пакером в скважину, посадку пакера, проведение ГРП закачиванием гидроразрывной жидкости по колонне НКТ с пакером через интервал перфорации в продуктивный пласт с образованием и последующим креплением трещины проппантом, стравливание давления из скважины, распакеровку пакера и его извлечение с колонной НКТ из скважины. При этом до спуска в скважину колонны НКТ с пакером геофизическими методами определяют ориентацию главного максимального напряжения в продуктивном пласте, затем в верхней половине продуктивного пласта осуществляют перфорацию, ориентированную в направлении главного максимального напряжения, затем отсекают нижнюю половину продуктивного пласта скважины. Спускают колонну НКТ с пакером в скважину так, чтобы нижний конец колонны НКТ находился на уровне кровли продуктивного пласта, производят посадку пакера, осуществляют ГРП закачкой по колонне НКТ гидроразрывной жидкости, в качестве которой используют линейный гель с расходом 0,3 м3/мин с созданием трещины в продуктивном пласте. Затем производят крепление трещины в продуктивном пласте в четыре цикла чередующейся закачкой по колонне НКТ через интервал ориентированной перфорации продуктивного пласта равными порциями линейного геля с облегченным проппантом 20/40 меш и равными порциями сшитого геля с добавлением соли NaCl с концентрацией 400 кг/м3, причем равные порции сшитого геля по объему в два раза меньше равных порций линейного геля, а количество равных порций сшитого геля на одну порцию меньше равных порций линейного геля, причем концентрацию облегченного проппанта 20/40 меш в линейном геле ступенчато увеличивают на 100 кг/м3 с первой по третью порции в каждом цикле, начиная с концентрации 100 кг/м3, в последнем четвертом цикле производят закачку одной порции линейного геля, содержащего облегченный проппант 16/20 меш с концентрацией 400 кг/м3, а затем производят закачку и про давку 15% водного раствора соляной кислоты в трещину продуктивного пласта в объеме, равном половине суммы объемов линейного и сшитого гелей, закачанных в трещину в процессе крепления трещины. Недостатками данного способа являются: - во-первых, низкая надежность создания и развития трещины при наличии выше продуктивного пласта глинистого прослоя и газоносного или водоносного горизонта. Это обусловлено тем, что в процессе проведения ГРП трещина развивается вверх в ширину, а не в длину, что приводит к прорыву трещины при ее развитии в газоносный или водоносный горизонт. В итоге вода или газ из верхнего соответственно газоносного или водоносного горизонта прорывается в скважину уже в процессе ГРП; - во-вторых, низкая эффективность крепления трещины, обусловленная низкой проводимостью трещины и, как следствие, слабым притоком нефти из продуктивного пласта в скважину. Пропускная способность трещины зависит от размера фракции проппанта, крепящего трещину, поэтому в зависимости от фракции проппанта изменяется расстояние между зернами проппанта в трещине, обеспечивающего пропускную способность трещины, когда пропускная способность трещины не соответствует объему притока нефти из продуктивного пласта в зависимости от его проницаемости, то проводимость трещины снижается; - в-третьих, увеличение риска скачка давления в процессе продавки проппанта в трещину вследствие высоких гидравлических сопротивлений в интервале перфорации, возникновение аварийной ситуации и недостижение заданных параметров трещины (ширины, длины); - в-четвертых, низкое качество крепления трещины в призабойной зоне пласта, приводящее к выносу проппанта в скважину при последующем освоении. Техническими задачами изобретения являются повышение надежности создания и развития трещины, эффективности крепления трещины, а также снижение гидравлических сопротивлений в интервале перфорации при продавке проппанта в трещину, повышение качества крепления трещины в призабойной зоне пласта. Поставленные технические задачи решаются способом гидравлического разрыва продуктивного пласта с глинистым прослоем и газоносным горизонтом, включающим выполнение перфорации в интервале продуктивного пласта скважины, ориентированной в направлении главного максимального напряжения, спуск колонны насосно-компрессорных труб - НКТ с пакером в скважину, посадку пакера, проведение гидравлического разрыва пласта - ГРП закачиванием гидроразрывной жидкости по колонне НКТ с пакером через интервал перфорации в продуктивный пласт с образованием и последующим креплением трещины проппантом, стравливание давления из скважины, распакеровку пакера и его извлечение с колонной НКТ из скважины. Новым является то, что ориентированную перфорацию производят с помощью гидромеханического перфоратора с ориентирующим переводником, процесс ГРП начинают с закачки гидроразрывной жидкости, в качестве которой используют сшитый гель для создания трещины в продуктивном пласте, после чего созданную трещину развивают закачкой линейного геля плотностью 1150 кг/м3 сначала со сверхлегким проппантом фракции 40/80 меш с концентрацией 200 кг/м3, а затем с кварцевым мелкозернистым песком с размером зерен 0,1-0,25 мм концентрацией 600 кг/м3, после чего производят крепление трещины закачкой сшитого геля с проппантом фракцией 20/40 меш или 12/18 меш в зависимости от проницаемости продуктивного пласта порциями со ступенчатым увеличением концентрации проппанта на 100 кг/м3, начиная от 200 кг/м3 до 800 кг/м3, последней порцией закачивают RCP-проппант с концентрацией 900 кг/м3, при этом в продуктивном пласте с проницаемостью от 0,01 до 100 мД при креплении трещины закачивают сшитый гель с проппантом фракции 20/40 меш, а в продуктивном пласте с проницаемостью от 100 до 500 мД при креплении трещины закачивают сшитый гель с проппантом 12/18 меш. На фиг. 1-4 схематично и последовательно изображен предлагаемый способ ГРП с глинистым прослоем и газоносным горизонтом, где 1 - добывающая скважина; 2 - продуктивный пласт высотой Н; 3 - верхний глинистый прослой (непроницаемый пропласток) высотой h1; 4 - верхний газоносный горизонт; 5 - нижний глинистый прослой (непроницаемый пропласток) высотой h2; 6 - нижний водоносный горизонт; 7 - колонна НКТ; 8 - гидромеханический перфоратор; 9 - ориентирующий переводник; 10 - резцы гидромеханического перфоратора 8; 11 - ориентированная перфорация, выполненная в интервале продуктивного пласта 2; 12 - пакер; 13', 13'', 13''' - трещина в процессе образования и развития; 14 - сверхлегкий проппант фракции 40/80 меш; 15 -мелкозернистый песок с размером зерен 0,1-0,25 мм; 16 - проппант фракции 20/40 меш или 12/18 меш в зависимости от проницаемости продуктивного пласта; 17 - RCP-проппант. Добывающая скважина 1 (см. фиг.1) вскрыла продуктивный пласт 2 высотой Н, например, Н=4 м, с глинистым прослоем (непроницаемым пропластком) 3 сверху высотой h1=1,5 м, выше которого расположен газоносный горизонт 4. Под продуктивным пластом 2 расположен нижний глинистый прослой (непроницаемый пропласток) 5 высотой h2=2 м, под которым расположен нижний газоносный горизонт 6. Продуктивный пласт 2 добывающей скважины 1 через существующую перфорацию (на фиг.1-4 не показана) эксплуатируется, например, штанговым глубинным насосом (на фиг. 1-4 не показан). В процессе эксплуатации дебит в добывающей скважине 1 (см. фиг. 1) быстро снижается, в связи с чем необходимо проведение работ по интенсификации добычи нефти из продуктивного пласта 2 добывающей скважины 1. С этой целью производят гидроразрыв продуктивного пласта 2. Для этого извлекают из скважины эксплуатационное оборудование (на фиг. 1-4 не показано) и реализуют предлагаемый способ следующим образом. Геофизическими методами, например, методом кроссдипольной акустики определяют ориентацию главного максимального напряжения σmax (см. фиг. 1) в продуктивном пласте 2. Затем в интервале продуктивного пласта 2 осуществляют гидромеханическую перфорацию, ориентированную в направлении главного максимального напряжения σmax. Для этого на колонне НКТ 7 спускают гидромеханический перфоратор 8 с ориентирующим переводником сверху, установив предварительно направляющую шлицевой втулки (на фиг. 1-4 не показана) ориентирующего переводника 9 (см. фиг. 1) и резцы 10 гидромеханического перфоратора 8 в одном направлении с направлением главного максимального напряжения σmax, при этом на устьевом фланце (на фиг. 1-4 не показан) скважины 1 (см. фиг. 1) также выполняют метку в направлении главного максимального напряжения пласта σmax (см. фиг. 1). Достигнув интервала перфорации вращением колонны НКТ 7, совмещают направляющую шлицевой втулки ориентирующего переводника 9 (см. фиг. 1) и резцы 10 гидромеханического перфоратора 8 с направлением главного максимального напряжения пласта σmax, отмеченного меткой на устьевом фланце скважины 1. После ориентации резцов 10 гидромеханического перфоратора 8 перфорируют интервал продуктивного пласта 2 с образованием перфорационных отверстий (ориентированной перфорации) 11, выполненных, например, в интервале продуктивного пласта 2 высотой Н=4 м в виде пяти рядов (на фиг. 1-4 показаны условно) отверстий друг под другом с размером 10-20 мм каждого отверстия и расположенных относительно друг друга в одном ряду под углом 180°, при этом азимутальное направление отверстий совпадает с направлением главного максимального напряжения пласта σmax. Работы с ориентирующим переводником 9 и гидромеханическим перфоратором 8 проводят согласно их инструкции по эксплуатации. Извлекают из скважины 1 колонну НКТ 7 с гидромеханическим перфоратором 8 и ориентирующим переводником 9. Для проведения ГРП в скважину 1 спускают колонну НКТ 7 с пакером 12. В качестве пакера применяют любой известный пакер. Производят посадку пакера 12 в скважине 1 и осуществляют герметизацию заколонного пространства колонны НКТ 7. Нижний конец колонны НКТ 7 размещают выше ориентированной перфорации 11, например, на расстоянии 1,5 м. Далее определяют объем гидроразрывной жидкости для создания трещины по следующей формуле: Vг=k⋅H, где Vг - объем гидроразрывной жидкости для создания трещины, м3; k=2-3 - коэффициент перевода, м3/м, Н - высота продуктивного пласта, м. В данной формуле коэффициент перевода k получен опытным путем и зависит от физико-химических свойств пласта 2 (см. фиг. 1), в котором производят ГРП. Высота продуктивного пласта 2 равна 4 м (см. выше). Подставляя в формулу Vг=k⋅Н, получаем объем гидроразрывной жидкости: Vг=(2-3)(м3/м)⋅4 (м)=(8,0-12,0) м3. Примем Vг=10,0 м3. В качестве гидроразрывной жидкости применяют любой известный состав сшитого геля. Определяют массу проппанта для предотвращения развития трещины 13'' в глинистые прослои 3 и 5 по формуле: где Mi - масса проппанта для предотвращения развития трещины, кг; с=2000-2500 - коэффициент перевода, кг/м, примем с=2200 кг/м; hi - высота глинистого прослоя, м, h1=1,5 м, h2=2,0 м. В данной формуле коэффициент перевода с получен опытным путем и зависит от физико-химических свойств глинистого пропластка. Подставляя в формулу (1) числовые значения, получим: Масса проппанта для предотвращения развития трещины 13'' вверх: M1=с⋅h1=2200 кг/м⋅1,5=3300 кг=3,3 т. Масса проппанта для предотвращения развития трещины 13'' вниз: М2=с⋅h2=2200 кг/м⋅2=4400 кг=4,4 т. Процесс ГРП начинают с закачки сшитого геля для создания трещины (см. фиг. 2) в продуктивном пласте 2. Для этого с помощью насосных агрегатов по нагнетательной линии (на фиг. 1-4 не показаны) в скважину 1 (см. фиг. 2) по колонне НКТ 7 через отверстия ориентированной перфорации 11 продуктивного пласта 2 закачивают сшитый гель в объеме Vг=10,0 м3 и создают трещину 13'. В качестве сшитого геля применяют любой известный состав. Далее, не прерывая закачку, т.е. процесс создания трещины 13' и развития трещины 13'', производят закачку линейного геля в объеме: Vл=3300 кг/200 кг/м3=16,5 м3 плотностью 1150 кг/м3 со сверхлегким проппантом 14 фракции 40/80 меш с концентрацией 200 кг/м3. В качестве линейного геля применяют любой известный состав линейного геля. Вследствие разницы плотностей линейного геля (ρлг=1150 кг/м3) и сверхлегкого проппанта (ρп=1050 кг/м3) 1150 кг/м3>1050 кг/м3 сверхлегкий проппант 14 фракции 40/80 меш (см. фиг. 3), попав в трещину 13'', всплывает в линейном геле и устремляется в верхнюю часть трещины 13'' в интервал верхнего глинистого прослоя 3. В верхней части трещины 13'' образуется плотная набивка из сверхлегкого проппанта 14 с минимальной проводимостью, так как выбран сверхлегкий проппант 14 одной из наименьших фракций 40/80 меш, обеспечивающий минимальную пропускную способность между зернами. Далее, не прерывая закачку, т.е. процесс развития трещины 13'', производят закачку линейного геля в объеме Vл=4400 кг/600 кг/м3=7,3 м3 плотностью 1150 кг/м3 с кварцевым мелкозернистым песком 15 с размером зерен 0,1-0,25 мм с концентрацией 600 кг/м3. Вследствие разницы плотностей линейного геля (ρлг=1150 кг/м3) и кварцевого мелкозернистого песка (ρпес=1300 кг/м3) 1150 кг/м3<1300 кг/м3 кварцевый мелкозернистый песок 15 с размером зерен 0,1-0,25 мм (см. фиг. 3), попав в трещину 13'', оседает из линейного геля и устремляется в нижнюю часть трещины 13'' в интервал нижнего глинистого прослоя 5. В нижней части трещины 13'' в интервале нижнего глинистого прослоя 5 образуется плотная набивка из кварцевого мелкозернистого песка 15 с минимальной проводимостью, так как выбран кварцевый песок с минимальным размером зерен 0,1-0,25 мм, обеспечивающий минимальную пропускную способность между зернами. При реализации предлагаемого способа в процессе развития трещины 13'' обеспечивают плотность линейного геля 1150 кг/м3, для этого используют, например, сточную воду плотностью 1180 кг/м3 с добавлением любого известного загеливающего агента и доводят плотность линейного геля до 1150 кг/м3, при этом в процессе закачки с помощью ареометра контролируют плотность линейного геля (1150 кг/м3). Таким образом, предотвращают развитие трещины 13''' (см. фиг. 4) вверх через глинистый прослой 3 в верхний газоносный горизонт 4 и вниз через глинистый прослой 5 в нижний газоносный горизонт 6. Поочередная закачка сначала сверхлегкого проппанта 14 (см. фиг. 3 и 4), а затем кварцевого мелкозернистого песка 15 в линейном геле в процессе развития трещины 13'' предотвращает ее расширение как вверх, так и вниз. Это происходит из-за того, что сверхлегкий проппант 14 имеет меньшую плотность в сравнении с плотностью линейного геля, а кварцевый мелкозернистый песок наоборот имеет большую плотность, при этом линейный гель, освобожденный от сверхлегкого проппанта, выполняет роль жидкости разрыва и развивает трещину в длину. Создание трещины 13' и развитие трещин 13'', 13''', согласно предложенному способу позволяют исключить прорыв трещины как в верхний газоносный горизонт 4, находящийся выше продуктивного пласта 2 через глинистый прослой 3 высотой h1=1,5 м, так и в нижний газоносный горизонт 6, находящийся ниже продуктивного пласта 2 через глинистый прослой 5 высотой h2=2,0 м. Это позволяет повысить надежность создания и развития трещины. Далее производят крепление трещины закачкой сшитого геля с проппантом фракцией 20/40 меш или 12/18 меш в зависимости от проницаемости продуктивного пласта порциями со ступенчатым увеличением концентрации проппанта на 100 кг/м3, начиная от 200 кг/м3 до 800 кг/м3. Последней порцией закачивают RCP-проппант с концентрацией 900 кг/м3. В продуктивном пласте 2 с проницаемостью от 0,01 до 100 мД при креплении трещины закачивают сшитый гель с проппантом фракции 20/40 меш, а в продуктивном пласте с проницаемостью от 100 до 500 мД при креплении трещины закачивают сшитый гель с проппантом фракции 12/18 меш. Подбор фракции проппанта 16 при креплении трещины в продуктивном пласте в зависимости от проницаемости продуктивного пласта позволяет подобрать оптимальную проводимость трещины и обеспечить максимальный приток нефти через зерна проппанта, крепящего трещину 13''', что позволяет повысить проводимость трещины, а значит, увеличить эффективность крепления трещины. Пример 1. Проницаемость пласта составляет 45 мД, используют проппант 16 фракции 20/40 меш, не прерывая процесс закачки насосными агрегатами по нагнетательной линии по колонне НКТ 7 через ориентированную перфорацию 11, производят крепление трещины 13''' (см. фиг. 4) закачкой сшитого геля с проппантом фракцией 20/40 меш порциями: 200 кг/м3, 300 кг/м3, 400 кг/м3, 500 кг/м3, 600 кг/м3, 700 кг/м3, 800 кг/м3. Последней порцией закачивают сшитый гель с RCP-проппантом 17 с концентрацией 900 кг/м3 фракцией 20/40 меш. Пример 2. Проницаемость пласта составляет 150 мД, используют проппант 16 фракции 12/18 меш, не прерывая процесс закачки насосными агрегатами по нагнетательной линии по колонне НКТ 7 через ориентированную перфорацию 11, производят крепление трещины 13''' (см. фиг. 4) закачкой сшитого геля с проппантом фракцией 12/18 меш порциями: 200 кг/м3, 300 кг/м3, 400 кг/м3, 500 кг/м3, 600 кг/м3, 700 кг/м3, 800 кг/м3. Последней порцией закачивают сшитый гель с RCP-проппантом 17 с концентрацией 900 кг/м фракцией 12/18 меш. RCP-проппант 17 позволяет укрепить трещину в призабойной зоне продуктивного пласта тем самым повысить качество крепления трещины в призабойной зоне пласта и исключить вынос проппанта в скважину при последующем освоении через отверстия ориентированной перфорации 11. Таким образом, производят крепление трещины 13''' проппантом 16 и RCP-проппантом 17. По окончании крепления трещины стравливают давление из скважины, распакеровывают пакер 12 и извлекают его с колонной НКТ из скважины. Процесс ГРП закончен. В качестве сшитого геля применяют любой известный состав сшитого геля. Сшитый гель имеет низкие потери давления на трение в трубах и высокую вязкость в пласте, что обеспечивает равномерное заполнение трещины 13''' расклинивающим материалом (проппантом 16 и 17). В 3-4 раза снижается гидравлическое сопротивление в интервале перфорации при реализации предлагаемого способа с использованием гидромеханического перфоратора, выполняющего прямоугольные отверстия с минимальным размером 10 на 20 мм, что полностью исключает скачок давления в колонне НКТ, аварийную остановку процесса ГРП и недостижение проектных параметров трещины и обеспечивает меньшее давление продавки по сравнению с прототипом при сопоставимых объемах закачки. Предлагаемый способ ГРП с глинистым прослоем и газоносным горизонтом позволяет: - повысить надежность создания и развития трещины при наличии выше и ниже продуктивного пласта глинистых прослоев и газоносных горизонтов; - повысить эффективность способа за счет подбора фракции проппанта в зависимости от проницаемости продуктивного пласта; - снизить гидравлические сопротивления в интервале перфорации путем создания перфорационных отверстий с применением гидромеханического перфоратора и, как следствие, снизить давление продавки проппанта; - повысить качество крепления трещины в призабойной зоне пласта и исключить вынос проппанта в скважину при последующем освоении.