патент
№ RU 2576470
МПК G08C17/02

СПОСОБ ФОНОНОЭМИССИОННОЙ ДИАГНОСТИКИ

Авторы:
Албаков Адам Габисович
Номер заявки
2014102903/08
Дата подачи заявки
29.01.2014
Опубликовано
10.03.2016
Страна
RU
Как управлять
интеллектуальной собственностью
Чертежи 
1
Реферат

Изобретение относится к области сбора и обработки информации. Техническим результатом является обеспечение синхронизации моментов получения сигналов от датчиков независимо от их удаленности и места положения при использовании общего компьютеризированного средства сбора информации. В способе фононоэмиссионной диагностики для обеспечения связи в режиме удаленного доступа датчики в виде низкочастотных преобразователей фононной эмиссии оснащают встроенным защищенным от индустриальных помех радиоканальным блоком передачи информации в виде сигналов на радиоканальный блок приема-передачи информации общего компьютера, при этом при включении указанных датчиков для работы в режиме регистрации фононной эмиссии сначала осуществляют опрос всех датчиков на их работоспособность и калибровку на основании эталонной модели объекта, а затем переводят указанные датчики в режим непрерывной регистрации фононной эмиссии и осуществляют непрерывный сбор сигналов от этих датчиков по отдельному каналу для каждого датчика для записи показаний каждого датчика на жесткий диск общего для всех датчиков компьютеризированного средства сбора информации и отображают текущее состояние объекта по сигналам датчиков, отобранным в один и тот же для всех датчиков момент времени. 1 ил.

Формула изобретения

Способ фононоэмиссионной диагностики, заключающийся в размещении на диагностируемом объекте разнесенных на расстоянии друг от друга датчиков в виде низкочастотных преобразователей фононной эмиссии, подключении указанных датчиков к компьютеризированному средству сбора информации, предназначенному для регистрации информации, поступающей от указанных датчиков, переводят указанные датчики в режим регистрации фононной эмиссии и осуществляют сбор сигналов от датчиков и их обработку для получения текущих состояний диагностируемого объекта и сравнительного анализа этих состояний в разные временные интервалы для регистрации изменений указанного объекта в сторону дефектного состояния, отличающийся тем, что для обеспечения связи в режиме удаленного доступа датчики в виде низкочастотных преобразователей фононной эмиссии оснащают встроенным защищенным от индустриальных помех радиоканальным блоком передачи информации в виде сигналов на радиоканальный блок приема-передачи информации общего компьютера, при этом при включении указанных датчиков для работы в режиме регистрации фононной эмиссии сначала осуществляют опрос всех датчиков на их работоспособность и калибровку на основании эталонной модели объекта, а затем переводят указанные датчики в режим непрерывной регистрации фононной эмиссии и осуществляют непрерывный сбор сигналов от этих датчиков по отдельному каналу для каждого датчика для записи показаний каждого датчика на жесткий диск общего для всех датчиков компьютеризированного средства сбора информации и осуществляют в последнем построение графического или цифрового отображения в режиме реального времени текущего состояния объекта по сигналам датчиков, отобранным в один и тот же для всех датчиков момент времени.

Описание

[1]

Изобретение относится к области сбора и обработки информации и может быть использовано при диагностике дефектного состояния объекта, геометрическое размеры которого не влияют на результат диагностики.

[2]

В кристаллических материалах атомы и молекулы активно взаимодействуют между собой, и рассматривать в них такие термодинамические явления, как колебания отдельных атомов, затруднительно - получаются огромные системы из триллионов связанных между собой линейных дифференциальных уравнений, аналитическое решение которых невозможно. Гораздо удобнее рассматривать согласованные колебания атомов кристалла как распространение в нем системы звуковых волн, квантами которых и являются фононы. Термин введен по аналогии с квантом электромагнитного поля - фотоном. Спин фонона равен нулю. Фонон принадлежит к числу бозонов и описывается статистикой Бозе-Эйнштейна (Большая Советская энциклопедия, 3-е изд., М.: Советская энциклопедия, 1969-1978, http://bse.sci-lib.com/article116912.html, Физический энциклопедический словарь, М.: Большая Российская энциклопедия, 1995).

[3]

Понятие фонона позволяет описать тепловые и другие свойства кристаллов, используя методы кинетической теории газов. Фононы в большинстве случаев представляют собой главный тепловой резервуар твердого тела. Теплоемкость кристаллического твердого тела практически совпадает с теплоемкостью газа фононов. Теплопроводность кристалла можно описать как теплопроводность газа фононов, теплосопротивление которого обеспечивается процессами переброса. Рассеяние электронов проводимости при взаимодействии с фононами - основной механизм электросопротивления металлов. Способность электронов проводимости излучать и поглощать фононы приводит к притяжению электронов друг к другу, что при низких температурах является причиной перехода ряда металлов в сверхпроводящее состояние. Излучение фононов возбужденными атомами и молекулами тел обеспечивает возможность безызлучательных электронных переходов. В релаксационных процессах в твердых телах фононы обычно служат стоком для энергии, запасенной другими степенями свободы кристалла, например, электронными.

[4]

Фононная диагностика основана на диагностике физических процессов в материалах и конструкциях в ходе их протекания в реальном времени. Это позволяет осуществлять диагностику технического состояния объектов в реально сложившихся условиях, в ненагруженном, частично нагруженном и полностью нагруженном состоянии, без вмешательства, изменения режимов, остановки и прерывания процессов и производств, на любой стадии изготовления, испытания, эксплуатации и ремонта.

[5]

Объекты техносферы - трубопроводы, оборудование, здания, сооружения и т.д. - изготовлены из тех или иных материалов - стали, бетона, дерева, стеклопластика и др. В процессе эксплуатации объекты техносферы, вернее материалы, из которых они изготовлены, испытывают воздействия - механические, тепловые, магнитные, т.е. к ним подводится внешняя энергия. Сами материалы имеют свою внутреннюю энергию, энергию межатомных связей материалов - фононную энергию. В процессе эксплуатации происходит взаимодействие материала и энергии. Т.е. внешне подводимая энергия взаимодействует с материалом, точнее, с внутренней энергией - фононной энергией материала. Это означает, что в объектах техносферы существует и действует реакция взаимодействия фононной энергии материала и внешне подводимой энергии. В результате этого энергетического взаимодействия происходят процессы перераспределения, концентрации и выделения (излучения) энергии материалом т.е. фононное излучение и формирование в материале и вокруг него полей излучения фононной энергии, так называемых фононных энергоинформационных полей.

[6]

Одним из результатов фононной реакции, взаимодействия энергии и материала является зарождение и протекание в материале различных физических процессов - концентрации напряжений, возникновение деформаций, коррозии, коррозионных повреждений, утонений, усталостных повреждений, дефектов, разрушений. Поля фононного излучения наиболее интенсивны и концентрированы в тех местах, где происходят процессы коррозии, повреждения, дефектообразования и разрушения. Распределение, уровень, интенсивность, концентрация и другие параметры фононных полей непосредственно характеризуют процессы, происходящие в конструкции, определяют состояние материала, характеризуют техническое состояние конструкций.

[7]

Таким образом, диагностика фононных энергоинформационных полей конструкции позволяет проводить в реальном времени диагностику физических процессов, протекающих в конструкции. В свою очередь это позволяет осуществлять диагностику технического состояния конструкции по фононным энергоинформационным полям, т.е. проводить фононную диагностику технического состояния техносферы.

[8]

Известен способ сбора информации (RU 2230368, G08C 17/02, G08C 19/00, опубл. 10.06.2004) от датчиков, установленных на диагностируемом объекте с использованием системы радиосинхронизации получаемой информации. Принят в качестве прототипа для заявленных способа и устройства.

[9]

Этот способ фононной диагностики включает в себя размещение на диагностируемом объекте, по меньшей мере, двух датчиков в виде низкочастотных преобразователей фононной эмиссии, соединенных с пунктом сбора информации, (промышленные компьютеры), каждый из которых предназначен для регистрации информации, поступающей от указанных низкочастотных преобразователей, и укомплектован платой, снабженной формирователем-приемником синхронизирующих импульсов, осуществляют выработку формирователем-передатчиком импульсов синхронизирующего сигнала для указанных низкочастотных преобразователей, причем формирователь-передатчик импульсов синхронизирующих сигналов, содержащий задающий генератор, обеспечивающий независимо от положения фронтов управляющих сигналов формирование неискаженных по длительности синхронизирующих импульсов на выходе, вырабатывает синхронизирующий сигнал, который по радиоканалу с использованием передающей радиостанции поступает на приемные радиостанции формирователей-приемников синхронизирующих импульсов, на каждом промышленном компьютере с точностью до 0,05 мс регистрируют время поступления синхронизирующего сигнала, при этом в записанную промышленными компьютерами информацию о состоянии диагностируемого объекта поступает синхронизирующий сигнал, обеспечивающий возможность синхронизации поступающей от всех низкочастотных преобразователей информации о состоянии диагностируемого объекта.

[10]

Недостатком известного способа следует признать наличие системы радиосинхронизации, кабельных трасс, а также использование морально устаревших и промышленно не изготовляемых в настоящее время электронных компонентов системы сбора информации на основе компьютерной шины ISA, таких как плата AEDSP-32/16. Кроме того программное обеспечение для работы с этими платами не поддерживается какой-либо из существующих в настоящее время современных операционных систем.

[11]

Техническая задача, на решении которой направлено предлагаемое изобретение, состоит в разработке системы с современными актуальными компонентами для сбора и обработки информации при фононной диагностике дефектного состояния объекта с использованием радиоканала для связи датчиков фононной эмиссии и компьютера без использования системы радиосинхронизации.

[12]

Технический результат, получаемый в реализации предложенного изобретения состоит в повышении быстродействия и качества обработки информации; сокращению временных затрат на подготовку и проведение диагностики; снижению трудоемкости процесса диагностики и обработки результатов.

[13]

Для достижения предложенного технического результата предложено использовать способ фононоэмиссионной диагностики, включающий размещение на диагностируемом объекте, по меньшей мере, двух датчиков, соединенных с компьютером. При этом все используемые датчики подключают к единому компьютеру посредством радиоканала, каждый датчик имеет свой источник питания, встроенный предусилитель 40 dB и встроенную защищенную от индустриальных помех радиоканальную систему приема-передачи информации в режиме связи с компьютером, а компьютер, регистрирующий информацию, поступающую от указанных датчиков, и укомплектованный платой, снабженной приемником сигналов, также имеет защищенную от индустриальных помех радиоканальную систему приема-передачи информации с датчиками, при этом для сбора и обработки информации от датчиков используется плата PCI-2 на основе 32-разрядной компьютерной шины и все платы объединены в едином компьютере посредством 59-жильного компьютерного коннектора-шлейфа, а каждая PCI-2 плата содержит 2 канала для подключения датчиков, каждый датчик подключается к одному каналу платы, 18-разрядный аналого-цифровой преобразователь платы имеет возможность непрерывной записи на жесткий диск до 10 миллионов выборок в секунду, при этом разработанное программное обеспечение на основе гибридного ядра синхронизирует все PCI-2 платы и управляет ими так, что имеется возможность осуществлять сбор и обработку информации о дефектном состоянии объекта в реальном времени, таким образом, нет необходимости в использовании какой либо внешней системы радиосинхронизации и кабельных трасс с неизбежными потерями полезного сигнала и промежуточными итерациями в сборе и последующей обработке информации - процесс сбора и обработки информации объединен, проходит в реальном времени и непрерывен.

[14]

Указанные признаки являются существенными и взаимосвязаны с образованием устойчивой совокупности существенных признаков, достаточной для получения требуемого технического результата.

[15]

Настоящее изобретение поясняется конкретным примером исполнения, который, однако, не является единственно возможным, но наглядно демонстрирует возможность достижения требуемого технического результата.

[16]

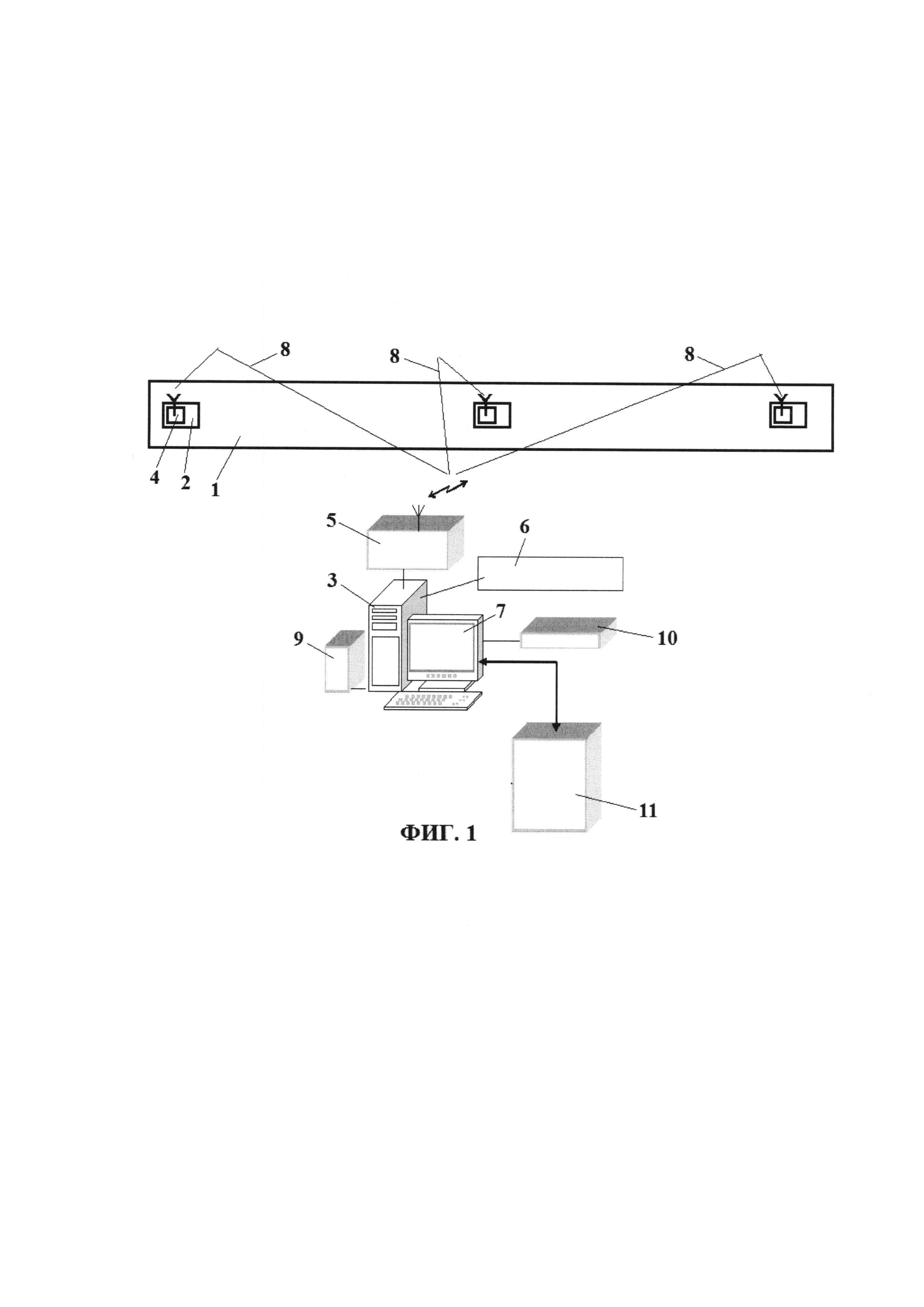
На фиг.1 - блок-схема устройства, реализующего заявленный способ.

[17]

Согласно настоящему изобретению рассматривается новый способ фононоэмиссионной диагностики и контроля состояния объекта, геометрическое размеры которого не влияют на результат диагностики. Данный способ позволяет диагностировать объекты, протяженные или имеющие большую площадь, что порой невозможно осуществить с использованием известных способов диагностики и контроля.

[18]

В рамках описания настоящего изобретения будут использованы следующие понятия:

[19]

- фононоэмиссионная диагностика - диагностика дефектного состояния объекта, основанная на регистрации и анализе эмиссии фононной энергии. Фононная энергия это энергия на уровне межатомных связей любых твердых тел. Причиной эмиссия фононной энергии является любая деформация и изменение структуры твердого тела;

[20]

- датчик фононной эмиссии - преобразователь фононной энергии, преобразующий выделяющуюся фононную эмиссию в электрический сигнал;

[21]

- компьютер - переносной компьютер промышленного исполнения в едином корпусе, имеющий одну и более компьютерную шину стандарта PCI-2, предназначенный для возможности работы в полевых условиях;

[22]

Для достижения предложенного технического результата предложено использовать способ фононоэмиссионной диагностики, заключающийся в размещении на диагностируемом объекте 1 разнесенных на расстоянии друг от друга датчиков 2 в виде низкочастотных преобразователей фононной эмиссии, подключении указанных датчиков 2 к компьютеризированному средству 3 сбора информации, предназначенному для регистрации информации, поступающей от указанных датчиков, переводят указанные датчики 2 в режим регистрации фононной эмиссии и осуществляют сбор сигналов от датчиков и их обработку для получения текущих состояний диагностируемого объекта и сравнительного анализа этих состояний в разные временные интервалы для регистрации изменений указанного объекта в сторону дефектного состояния.

[23]

Для обеспечения связи в режиме удаленного доступа датчики 2 в виде низкочастотных преобразователей фононной эмиссии оснащают встроенным защищенным от индустриальных помех радиоканальным блоком 4 передачи информации в виде сигналов на радиоканальный блок 5 приема-передачи информации общего компьютера (выполняющего функцию компьютеризированного средства 3 сбора информации). При включении указанных датчиков 2 для работы в режиме регистрации фононной эмиссии сначала осуществляют опрос всех датчиков на их работоспособность и калибровку на основании эталонной модели объекта 6 (для каждого объекта, подлежащего исследованию создается отдельная эталонная модель, имитирующая объект без дефектов), а затем переводят указанные датчики в режим непрерывной регистрации фононной эмиссии и осуществляют непрерывный сбор сигналов от этих датчиков по отдельному каналу для каждого датчика для записи показаний каждого датчика на жесткий диск общего для всех датчиков компьютеризированного средства 3 сбора информации, и осуществляют в последнем построение графического или цифрового отображения 7 в режиме реального времени текущего состояния объекта по сигналам датчиков, отобранным в один и тот же для всех датчиков момент времени.

[24]

Способ реализуется следующим образом. Датчики 2 фононной эмиссии устанавливают на диагностируемом объекте 1. Подключают компьютер к источнику питания. Запускают разработанное программное обеспечение. Проводят в программной среде настройку радиоканала 8 между датчиками и компьютером, оценивают защищенность радиоканала от промышленных помех. Осуществляют соединение датчиков и компьютера в программной среде. Проводят опрос всех датчиков и проверяют их работоспособность. Проводят калибровку диагностируемого объекта в программной среде, используя готовые модели и уникальные данные для каждого объекта. Проводят пробный мониторинг в течение 30 минут, определяя точность калибровки для диагностируемого объекта и работоспособность датчиков фононной эмиссии в режиме сбора информации и качество получаемых сигналов в режиме обработки информации. Далее запускают рабочий мониторинг в течение 2 часов с непрерывным сбором и обработкой информации.

[25]

Возможности применения системы будут раскрыты с использованием следующих примеров.

[26]

При проведении фононоэмиссионной диагностики двухкилометрового магистрального газопровода использовалась восьмиканальная система с восьмью датчиками. Четыре датчика устанавливались на одном конце участка газопровода, остальные четыре на другом. Система фононоэмиссионной диагностики устанавливалась рядом с одним концом газопровода. Развертывание системы в полевых условиях, установка датчиков, настройка радиоканала, установка соединения датчиков с компьютером заняло 1,5 часа. Проведение калибровки всех датчиков проводилось в течение 1 часа. Длительность сбора, обработки и получения данных о реальном состоянии объекта составило 2 часа. Время проведения фононоэмисисонной диагностики с использованием кабельных трасс, системы радиосинхронизации и системы обработки информации на основе PCI-2 карты и соответствующего программного обеспечения с получением данных о реальном дефектном состоянии диагностируемого объекта составляет не менее 3 дней. Точность локализации дефектов при проведении фононоэмиссионной диагностики, оцененная стандартными методами неразрушающего контроля составляла менее 1% от расстояния между датчиками, при этом доверительная вероятность выборки дефектов - не менее 0,9.

[27]

Настоящий способ реализуется системой фононоэмиссионной диагностики, содержащей размещаемые на диагностируемом объекте датчики 2, представляющие собой низкочастотные преобразователи фононной эмиссии, соединенные с компьютером в режиме удаленного доступа, при этом компьютер оснащен средством 9 для сбора сигналов, поступающих от указанных датчиков, средством 10 для записи указанных сигналов и их хранения и средством 11 для сравнительной обработки информации, построенной на указанных сигналах, для определения непрерывного текущего состояния объекта в реальном времени и его изменения в сторону дефектного состояния.

[28]

Для всех указанных датчиков использован общий компьютер, с которым эти датчики связаны посредством радиоканала/ов, каждый датчик выполнен с собственным источником питания, встроенным предусилителем 40 dB и встроенным защищенным от индустриальных помех радиоканальным блоком передачи информации в виде сигналов на радиоканальный блок приема-передачи информации общего компьютер.

[29]

Общий компьютер укомплектован платами PCI-2 на основе 32-разрядной компьютерной шины, все эти платы объединены посредством 59-жильного компьютерного коннектора-шлейфа, а каждая плата PCI-2 содержит два канала для подключения к каждому одного датчика, и 18-разрядный аналого-цифровой преобразователь для обеспечения возможности непрерывной записи сигналов от каждого подключенного датчика на жесткий диск. 18-разрядный аналого-цифровой преобразователь платы имеет возможность непрерывной записи на жесткий диск до 10 миллионов выборок в секунду. Разработанное программное обеспечение на основе гибридного ядра синхронизирует все PCI-2 платы и управляет ими так, что имеется возможность осуществлять сбор и обработку информации о дефектном состоянии объекта в реальном времени.

[30]

Таким образом, нет необходимости в использовании какой-либо внешней системы радиосинхронизации и кабельных трасс с неизбежными потерями полезного сигнала и промежуточными итерациями в сборе и последующей обработке информации - процесс сбора и обработки информации объединен, проходит в реальном времени и непрерывен.

[31]

Компьютер для сбора и обработки информации содержит разработанное программное обеспечение для операционной системы семейства Windows NT, включающее модуль сбора в полуавтоматическом режиме и модуль обработки информации в реальном времени с расширенными функциями. Разработанное программное обеспечение имеет множество готовых моделей самых распространенных диагностируемых объектов (трубопровод, сосуд, резервуар) с минимальным набором изменяемых входных данных для калибровки фононоэмиссионной системы.

Как компенсировать расходы
на инновационную разработку
Похожие патенты