патент
№ RU 2476843
МПК G01M1/12

УСТРОЙСТВО ДЛЯ ОПРЕДЕЛЕНИЯ МАССЫ И ПОЛОЖЕНИЯ ЦЕНТРА МАСС ИЗДЕЛИЯ

Авторы:
Матвеев Евгений Владимирович
Номер заявки
2011143069/28
Дата подачи заявки
26.10.2011
Опубликовано
27.02.2013
Страна
RU
Как управлять
интеллектуальной собственностью
Чертежи 
1
Реферат

Изобретение относится к машиностроению, а именно к устройствам для определения массы и координат центра масс преимущественно крупногабаритных изделий. Устройство для определения массы и положения центра масс изделия содержит стол с грузовыми площадками, имеющий центральную призматическую опору, дополнительную призматическую опору, размещенную в плоскости принудительного наклона стола, и боковую опору, кинематически связанную со столом и снабженную домкратом для принудительного наклона стола. Центральная и дополнительная опоры выполнены в виде единого элемента с двумя параллельными призматическими опорными гранями, перпендикулярными плоскости наклона стола. Технический результат заключается в упрощении конструкции, повышении точности измерений и сокращении времени на проведение измерений. 2 ил.

Формула изобретения

Устройство для определения массы и положения центра масс изделия, содержащее стол с грузовыми площадками, имеющий центральную призматическую опору, дополнительную призматическую опору, размещенную в плоскости принудительного наклона стола, и боковую опору, кинематически связанную со столом и снабженную домкратом для принудительного наклона стола, отличающееся тем, что центральная и дополнительная опоры выполнены в виде единого элемента с двумя параллельными призматическими опорными гранями, перпендикулярными плоскости наклона стола.

Описание

[1]

Изобретение относится к машиностроению, а именно к устройствам для определения массы и координат центра масс преимущественно крупногабаритных изделий.

[2]

Известно устройство для определения массы и положения центра масс изделия, содержащее стол с грузовыми площадками, имеющий призматическую центральную опору и боковую опору, ограничивающую наклон стола, снабженную домкратом для принудительного наклона стола (см. а.с. СССР №789692, кл. G01M 1/12, 1980 г.).

[3]

В результате анализа известного устройства необходимо отметить, что для него характерна сравнительная сложность его применения, обусловленная тем, что для определения массы изделия требуется операция смещения крупногабаритного изделия относительно центральной опоры.

[4]

Известно устройство для определения массы и трех координат центра масс изделия, содержащее основание с закрепленным на нем центральным домкратом и двумя боковыми опорами, расположенными в двух взаимно перпендикулярных направлениях. Внутри центрального домкрата помещен дополнительный домкрат, обеспечивающий поочередные подъем и опускание ответных частей центральной опоры и одной из дополнительных опор, которые закреплены на столе. Дополнительный домкрат выполнен в виде двух центральных стержней, установленных в цилиндрических направляющих и опирающихся на горизонтально расположенный диск, верхняя поверхность которого имеет уклон, а к нижней присоединен вал, приводящий диск во вращение. К столу подвешены четыре грузовые площадки. На столе закреплены уровни, установленные во взаимно перпендикулярных плоскостях.

[5]

(см. а.с. СССР №1128127, кл. G01M 1/12, 1984 г.) - наиболее близкий аналог.

[6]

При использовании данного устройства для определения массы изделия не требуется операции смещения крупногабаритного изделия относительно центральной опоры, а необходимое изменение расположения изделия и балансировочной опоры достигается применением в устройстве дополнительной опоры, смещенной от центральной опоры на необходимое расстояние.

[7]

Однако конструкция данного устройства является весьма сложной. Сложность обусловлена применением дополнительного домкрата, поочередно взаимодействующего с центральной и дополнительной опорами, что, кроме того, снижает точность измерений и увеличивает время их проведения.

[8]

Техническим результатом заявленного изобретения является упрощение конструкции, сокращение времени на проведение измерений и повышение точности измерений.

[9]

Указанный технический результат обеспечивается за счет того, что в устройстве для определения массы и положения центра масс изделия, содержащем стол с грузовыми площадками, имеющий центральную призматическую опору, дополнительную призматическую опору, размещенную в плоскости принудительного наклона стола, и боковую опору, кинематически связанную со столом и снабженную домкратом для принудительного наклона стола, новым является то, что центральная и дополнительная опоры выполнены в виде единого элемента с двумя параллельными призматическими опорными гранями, перпендикулярными плоскости наклона стола.

[10]

Отличием предлагаемого устройства от наиболее близкого аналога являются выполнение центральной и дополнительной опор как единого элемента с двумя параллельными призматическими опорными гранями, перпендикулярными плоскости наклона стола.

[11]

Благодаря такому выполнению опор предлагаемое устройство обладает сравнительно более простой конструкцией: не требуется применения дополнительного домкрата при сохранении технологических возможностей прототипа, включающих определение массы и координат центра масс различных крупногабаритных изделий, что, кроме того, снижает время на проведение измерений и повышает их точность.

[12]

Сущность заявленного изобретения поясняется графическими материалами, на которых:

[13]

на фиг.1 - устройство, стол в горизонтальном положении;

[14]

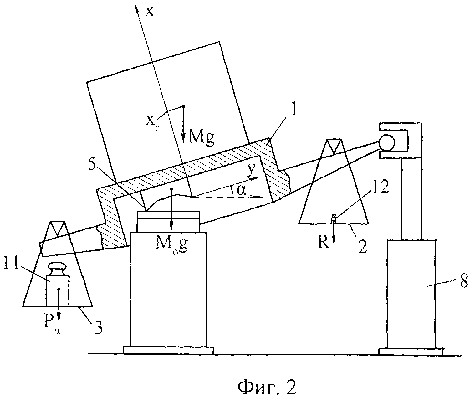
на фиг.2 - устройство, стол в наклонном положении (при определении вертикальной координаты центра масс изделия).

[15]

Устройство для определения массы и положения центра масс изделия содержит стол 1 с грузовыми площадками 2 и 3, имеющий призматические центральную 4 и дополнительную 5 опоры, посредством которых стол 1 опирается на основание 6. Дополнительная опора 5 размещена в плоскости xOy принудительного наклона стола. Боковая опора 7, ограничивающая наклон стола 1, снабжена домкратом 8 для принудительного наклона стола. Центральная 4 и дополнительная 5 призматические опоры выполнены как единый элемент 9 с двумя параллельными призматическими опорными гранями (грани призм 4 и 5), перпендикулярными плоскости xOy наклона стола.

[16]

Устройство работает следующим образом.

[17]

Изделие 10 с неизвестной массой М устанавливают на стол 1 устройства, масса стола Mo. При этом суммарная масса стола с изделием равна Mo+М=МΣ. Стол 1 уравновешивается в горизонтальном положении на опоре 4 гирями 11 массой Р1, устанавливаемыми на грузовые площадки 2 или 3 (например, на площадку 3). Контроль уравновешенного состояния осуществляется контрольным грузом 12, величина R которого рассчитывается из условия равенства момента трения в центральной опоре 4 моменту, создаваемому контрольным грузом 12 на плече L по формуле R=fMΣg/L, где f - коэффициент трения качения для призматической опоры, g-ускорение свободного падения. В состоянии уравновешенности при установленном контрольном грузе 12 стол 1 остается в горизонтальном положении, а при снятии контрольного груза стол начинает движение по часовой стрелке вокруг опоры 3 (пока шаровая опора 13 не упрется в нижнюю часть скобы 7 боковой опоры). При этом дополнительная опора 5 приподнимается над основанием 6.

[18]

Далее стол 1 с изделием уравновешивается на дополнительной опоре 5 гирями 11 весом P2, устанавливаемыми на грузовую площадку 3. Расстояние между гранями центральной 4 и дополнительной 5 опор равно S. Контроль уравновешенного состояния осуществляется контрольным грузом 12, устанавливаемым на грузовую площадку 2. В состоянии уравновешенности при установленном контрольном грузе 12 стол 1 остается в горизонтальном положении, а при снятии контрольного груза стол начинает движение против часовой стрелки вокруг опоры 3 (пока шаровая опора 13 не упрется в верхнюю часть скобы 7 боковой опоры). При этом центральная опора 4 приподнимается над основанием 6.

[19]

После этого с помощью домкрата 8 стол 1 наклоняют на угол α и в этом положении уравновешивают на опоре 5 гирями 11 весом Рα, устанавливаемыми на грузовую площадку 3 (фиг.2). Контроль уравновешенного состояния осуществляется контрольным грузом 12, устанавливаемым на грузовую площадку 2. В состоянии уравновешенности при установленном контрольном грузе стол остается в положении, при котором шаровая опора 13 находится в контакте с нижней частью скобы 7 боковой опоры, а при снятии контрольного груза стол начинает движение против часовой стрелки вокруг опоры 3 (пока шаровая опора 13 не упрется в верхнюю часть скобы 7 боковой опоры).

[20]

Для учета массовых характеристик стола производится тарировка стола, заключающаяся в уравновешивании стола без изделия гирями массой P1o, P2o, Рαo в тех же положениях, в каких уравновешивается стол с изделием.

[21]

Масса и положение центра масс рассчитываются из следующих уравнений равновесия стола с изделием и стола без изделия:

[22]

P1L+RL+Mogyo-Mgyc=0

[23]

P2(L-S)+R(L-S)+Mog(yo+S)-Mg(yc+S)=0

[24]

Pα(L-S)cosα-R(L+S)cosα-Mog(S-yo+xotgα)cosα-Mg(yc+S-xctgα)cosα=0

[25]

PloL+RL+Mogyo=0

[26]

P2o(L-S)+R(L-S)+Mog(yo+S)=0

[27]

Pαo(L-S)cosα-R(L+S)cosα-Mog(S-yo+xotgα)cosα=0

[28]

где: yo - координата центра масс оснастки, yc - координата центра масс изделия.

[29]

Из приведенных уравнений масса М изделия определяется по формуле:

[30]

М=[(P2-P2o)(L-S)-(P1-P1o)L]/gS

[31]

После определения массы М изделия координата центра масс yc определяется по формуле:

[32]

yc=(P1-P1o)L/Mg

[33]

После определения координаты центра масс yc координата хс определяется по формуле:

[34]

xc=[(Pα-Pαo)(L-S)-Mg(yc+S)]/Mg·tgα

[35]

При необходимости определения координаты zc изделия, она определяется так же, как и в наиболее близком аналоге.

[36]

Таким образом, благодаря выполнению центральной и дополнительной опор как единого элемента с двумя параллельными призматическими опорными гранями, перпендикулярными плоскости наклона стола, устройство обладает сравнительно более простой конструкцией, так как в нем не требуется применения дополнительного домкрата при сохранении технологических возможностей прототипа, включающих определение массы и положения центра масс различных крупногабаритных изделий, что также сокращает время измерений и повышает их точность.

Как компенсировать расходы
на инновационную разработку
Похожие патенты