патент
№ RU 2317473
МПК F16L55/04

СТАБИЛИЗАТОР ДАВЛЕНИЯ

Авторы:
Заматаев Валерий Анатольевич Применко Владимир Николаевич Низамова Гузяль Хавасовна
Все (4)
Номер заявки
2006120729/06
Дата подачи заявки
14.06.2006
Опубликовано
20.02.2008
Страна
RU
Как управлять
интеллектуальной собственностью
Чертежи 
1
Реферат

[18]

Стабилизатор предназначен для гашения колебаний давления и расхода рабочей среды в гидросистемах и для устранения гидроударов, возникающих при закрытии клапанов и задвижек, аварийном отключении насосов, изменении режимов работы насосных агрегатов и ошибок обслуживающего персонала. Стабилизатор давления содержит предкамеру цилиндрической или конической формы, соединенную с демпфирующей камерой с помощью фланцев. Демпфирующая камера отделена от предкамеры эластичной разделительной оболочкой и имеет две полости - гидравлическую и полость, заполненную предварительно поджатым пористым упругодемпфирующим материалом, отделенным от гидравлической полости эластичной разделительной оболочкой, а внутри гидравлической полости установлена перфорированная перегородка с зазором к эластичным разделительным оболочкам. Это позволяет повысить надежность и эффективность работы стабилизатора давления в средах, содержащих различные включения, например в системах водоотведения, пульпопроводах, массопроводах бумагоделательных машин и т.п. 2 з.п. ф-лы, 2 ил.

Формула изобретения

1. Стабилизатор давления, содержащий предкамеру, соединенную с демпфирующей камерой, отличающийся тем, что демпфирующая камера отделена от предкамеры эластичной разделительной перегородкой и имеет две полости - гидравлическую полость и полость, заполненную предварительно поджатым пористым упругодемпфирующим материалом, отделенным от гидравлической полости эластичной разделительной перегородкой, а внутри гидравлической полости установлена перфорированная перегородка с зазором по отношению к эластичным разделительным перегородкам.

2. Стабилизатор по п.1, отличающийся тем, что пространство между эластичной разделительной перегородкой и предварительно поджатым пористым упругодемпфирующим материалом заполнено эластомером с высокой пористостью.

3. Стабилизатор по п.1, отличающийся тем, что, по меньшей мере, входная часть предкамеры имеет форму усеченного конуса, расширяющегося по направлению к демпфирующей камере.

Описание

[1]

Изобретение относится к средствам гашения колебаний давления и расхода рабочей среды в гидросистемах и может быть использовано в нефтяной, угольной, химической и целлюлозно-бумажной промышленности, а также в системах коммунального водоотведения при перекачивании рабочей среды, содержащей твердые включения, насосами, для устранения гидроударов, возникающих при закрытии клапанов и задвижек, аварийном отключении насосов, изменении режимов работы насосных агрегатов и ошибок обслуживающего персонала.

[2]

Известны стабилизаторы давления рабочей среды, конструктивная схема которых представляет собой участок трубопровода с распределенной перфорацией, через которую перекачиваемая среда может перетекать в демпфирующую надстройку над перфорированной его частью (Авторские свидетельства СССР №1010392, №1216542, №1672093).

[3]

Недостатком известных устройств является то, что твердые частицы, содержащиеся в перекачиваемой среде будут постепенно перекрывать отверстия перфорации, делая эти устройства неработоспособными, а также инерционность гидравлического тракта сообщающего центральный трубопровод с демпфирующей надстройкой.

[4]

Наиболее близким по технической сущности к предлагаемому устройству является выбранный в качестве прототипа стабилизатор давления (Патент РФ на изобретение №2044208, F16L 55/04, опубл. 20.09.95), содержащий участок трубопровода с присоединительными фланцами. Соосно трубопроводу размещена предкамера, в которой расположена труба с перфорацией по периметру и длине, установленная с зазором к стенкам трубопровода, которые по всей длине предкамеры выполнены из упруго-эластичного материала, например из резины.

[5]

Недостатком указанного устройства является то, что центральный трубопровод, выполненный из упруго-эластичного материала, будет постоянно подвергаться эрозионному воздействию твердых частиц, движущихся по нему, что в значительной мере снижает надежность устройства, а также инерционность гидравлического тракта сообщающего центральный трубопровод с демпфирующей надстройкой.

[6]

Техническим результатом предлагаемого устройства является повышение надежности, ресурса и эффективности работы путем исключения возможности эрозионного воздействия твердых частиц на упруго-эластичные элементы стабилизатора, снижения инерционности гидравлического тракта, сообщающего центральный трубопровод с демпфирующей надстройкой, гидравлического и волнового сопротивления гидравлических трактов, увеличение податливости демпфирующей полости в гидродинамическом режиме работы трубопроводной системы за счет предварительного поджатия полостного наполнителя демпфирующей камеры усилием, близким к рабочему давлению в период заполнения.

[7]

Технический результат достигается тем, что стабилизатор давления содержит предкамеру, соединенную с демпфирующей камерой, причем демпфирующая камера отделена от предкамеры эластичной разделительной оболочкой и имеет две полости - гидравлическую полость и полость, заполненную предварительно поджатым пористым упругодемпфирующим материалом, отделенным от гидравлической полости эластичной разделительной оболочкой, а внутри гидравлической полости установлена перфорированная перегородка с зазором по отношению к эластичным разделительным перегородкам.

[8]

Кроме того, пространство между эластичной разделительной оболочкой и предварительно поджатым пористым упругодемпфирующим материалом заполнено эластомером с высокой пористостью.

[9]

При этом по меньшей мере входная часть предкамеры имеет форму усеченного конуса, расширяющегося по направлению к демпфирующей камере.

[10]

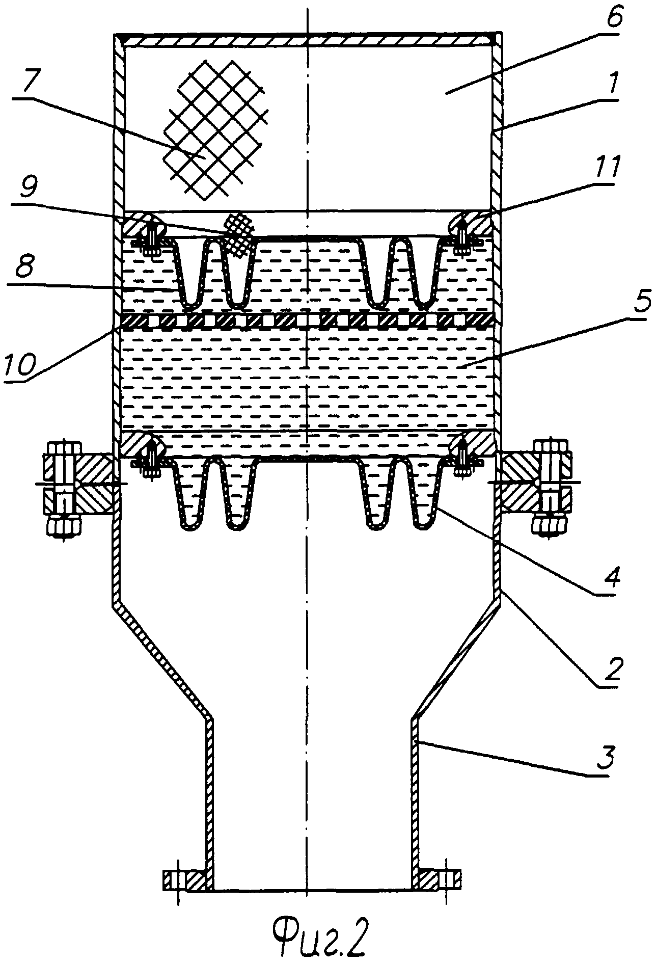
На фиг.1 изображен общий вид стабилизатора с цилиндрической предкамерой в разрезе.

[11]

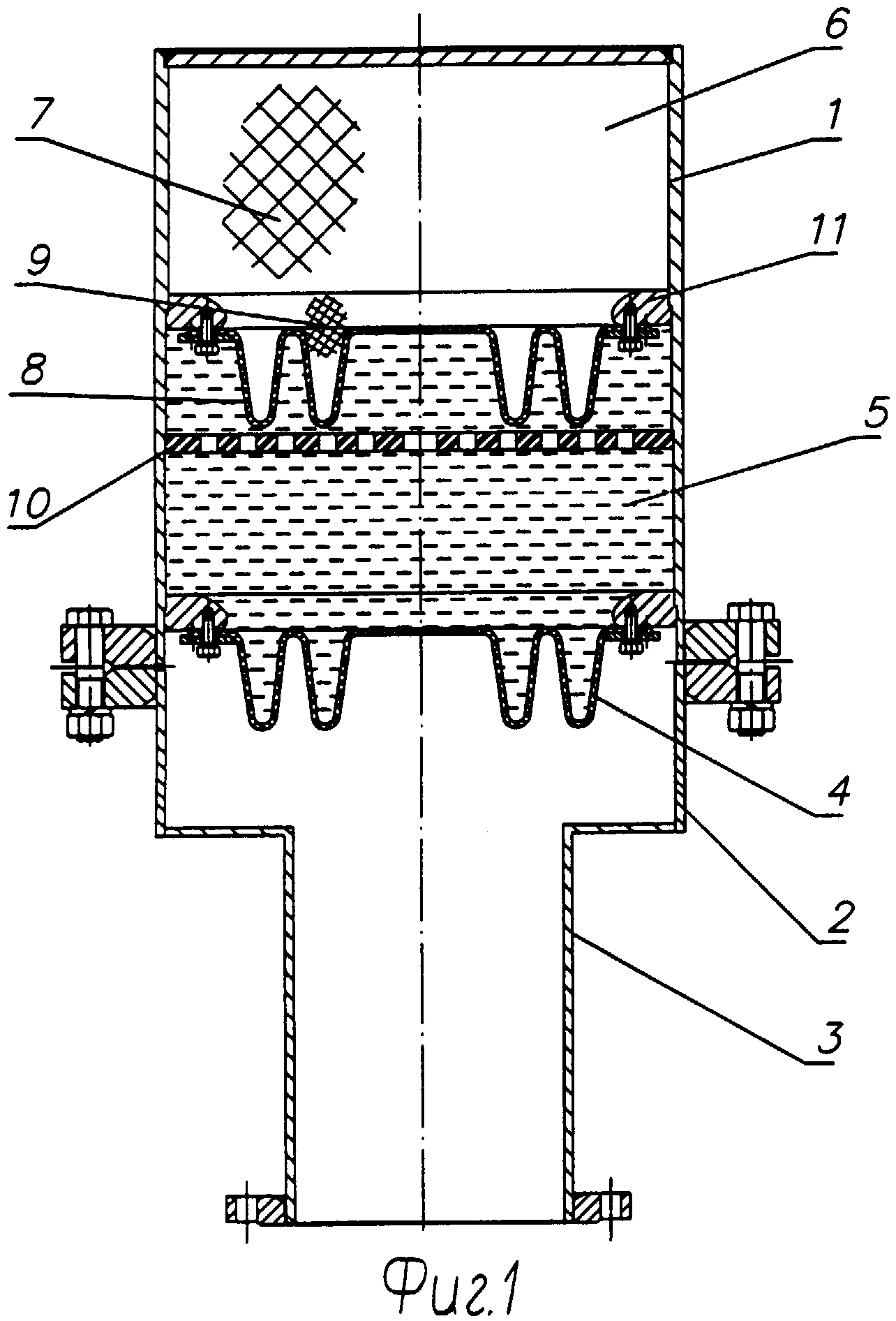
На фиг.2 изображен общий вид стабилизатора с конической предкамерой в разрезе.

[12]

Стабилизатор давления состоит из демпфирующей камеры 1 и предкамеры 2, соединяемых с помощью фланцев. Предкамера 2 имеет цилиндрическую или коническую форму (частично или целиком) и посредством патрубка 3 соединяется с трубопроводом, по которому транспортируется среда.

[13]

Демпфирующая камера 1 отделена от предкамеры эластичной разделительной оболочкой 4 с кольцевыми гофрами и состоит из двух полостей: гидравлической полости 5, заполненной жидкостью, и полости 6, заполненной пористым упругодемпфирующим материалом 7 и отделенной от гидравлической полости 5 эластичной разделительной оболочкой 8. Пространство между эластичной разделительной оболочкой 8 с кольцевыми гофрами и упругодемпфирующим материалом 7 заполнено эластомером 9 с высокой пористостью.

[14]

Гидравлическая полость 5 разделена перфорированной перегородкой 10. В зависимости от рабочего давления производится предварительное поджатие упругодемпфирующего пористого наполнителя 7 давлением, меньшим либо равным рабочему давлению в основном трубопроводе. Наполнитель в поджатом состоянии фиксируется кольцом 11. Устройство работает следующим образом.

[15]

В исходном состоянии при поступлении через патрубок 3 в предкамеру 2 рабочей среды из основного трубопровода происходит последовательное перемещение эластичной разделительной оболочки 4 в гидравлическую полость 5 демпфирующей камеры 1 и поджатие и перемещение пористого эластомера 9 и упругодемпфирующего заполнителя 7.

[16]

При возникновении в основном трубопроводе волновых процессов (гидроудары, вынужденные колебания давления и т.д.) происходит перетекание жидкости из основного трубопровода в предкамеру 2 или наоборот, в результате чего изменяется давление в одной из частей гидравлической полости 5 демпфирующей камеры 1, перетекание жидкости, заполняющую гидравлическую полость 5, через отверстия перфорированной перегородки 10, что вызывает упругую деформацию эластичной разделительной оболочки 8, пористого эластомера 9 и упругодемпфирующего заполнителя 7, в результате чего изменяется его объем.

[17]

Такое последовательное взаимодействие жидкости из основного трубопровода с жидкостью и упругими элементами демпфирующей камеры 1 позволяет значительно уменьшить эрозионное воздействие твердых частиц на эластичную разделительную оболочку 4, обеспечить высокую эффективность работы устройства за счет увеличения податливости демпфирующей камеры 1 в динамическом режиме, диссипации энергии колебаний на демпфирующих элементах и при перетекании жидкости через отверстия перфорированной перегородки, уменьшения инерционности.

Как компенсировать расходы
на инновационную разработку
Похожие патенты