патент
№ RU 2668309
МПК F02K1/04

ВЫХЛОПНОЕ СОПЛО ТУРБОРЕАКТИВНОГО ДВИГАТЕЛЯ ЛЕТАТЕЛЬНОГО АППАРАТА

Авторы:
Ланевский Тимур Маматкулович
Номер заявки
2017125989
Дата подачи заявки
20.07.2017
Опубликовано
28.09.2018
Страна
RU
Как управлять
интеллектуальной собственностью
Чертежи 
2
Реферат

Изобретение относится к реактивным соплам бесфорсажных газотурбинных двигателей авиационного применения. Выхлопное сопло турбореактивного двигателя летательного аппарата имеет канал изогнутой формы, открытый с входной и выходной стороны и имеющий нижнюю, верхнюю и боковые стенки, включает часть канала, сужающуюся до критического сечения прямоугольной формы в сторону выхода, снабженную подвижной створкой, и расположенную после него расширяющуюся часть. Входная сторона канала присоединена к наружному контуру, на наружной поверхности подвижной створки сужающейся части канала расположены направляющие, выполненные с возможностью скольжения в пазах, размещенных в боковых стенках канала. Подвижная створка выполнена с возможностью регулирования площади критического сечения сопла. Подвижная створка сужающейся части канала снабжена приводом управления и вместе с приводом шарнирно присоединена к верхней стенке канала. В расширяющейся части канала расположены верхняя и нижняя подвижные створки, снабженные приводами управления и по наружной поверхности продолжающие контур летательного аппарата. Верхняя подвижная створка и привод управления ею в области критического сечения шарнирно присоединены к подвижной створке сужающейся части канала, а нижняя подвижная створка и привод управления ею в области критического сечения шарнирно присоединены к нижней стенке канала. На внутреннюю поверхность верхней, нижней и боковых стенок канала нанесено радиопоглощающее покрытие, а к видимой из задней полусферы части внутренних поверхностей верхней, нижней и боковых стенок канала снаружи присоединен охлаждающий экран с воздухом, подаваемым из компрессора двигателя. Изобретение позволяет снизить потерю тяги и понизить удельный расход топлива при работе турбореактивного двигателя, повысить маневренные качества и снизить уровень заметности летательного аппарата в задней полусфере. 9 з.п. ф-лы, 2 ил.

Формула изобретения

1. Выхлопное сопло турбореактивного двигателя летательного аппарата, имеющее канал изогнутой формы, включающий часть канала, сужающуюся до критического сечения прямоугольной формы в сторону выхода, снабженную подвижной створкой, и расположенную после него расширяющуюся часть, при этом канал изогнутой формы выполнен открытым с входной и выходной стороны и имеет нижнюю, верхнюю и боковые стенки, отличающееся тем, что для бесфорсажного турбореактивного двигателя входная сторона канала присоединена к наружному контуру двигателя, на наружной поверхности подвижной створки сужающейся части канала расположены направляющие, выполненные с возможностью скольжения в пазах, размещенных в боковых стенках канала, при этом подвижная створка сужающейся части канала выполнена с возможностью регулирования площади критического сечения сопла, подвижная створка сужающейся части канала снабжена приводом управления и вместе с приводом шарнирно присоединена к верхней стенке канала, в расширяющейся части канала расположены верхняя и нижняя подвижные створки, снабженные приводами управления и по наружной поверхности продолжающие контур летательного аппарата, причем верхняя подвижная створка и привод управления ею в области критического сечения шарнирно присоединены к подвижной створке сужающейся части канала, а нижняя подвижная створка и привод управления ею в области критического сечения шарнирно присоединены к нижней стенке канала, на внутреннюю поверхность верхней, нижней и боковых стенок канала нанесено радиопоглощающее покрытие, а к видимой из задней полусферы части внутренних поверхностей верхней, нижней и боковых стенок канала снаружи присоединен охлаждающий экран с воздухом, подаваемым из компрессора двигателя.

2. Выхлопное сопло по п. 1, отличающееся тем, что соотношение ширины критического сечения к высоте критического сечения находится в диапазоне 4-10.

3. Выхлопное сопло по п. 1, отличающееся тем, что соотношение высоты критического сечения к диаметру сечения входной стороны находится в диапазоне 0,15-0,4.

4. Выхлопное сопло по п. 1, отличающееся тем, что верхняя и нижняя стенки выполнены разъемными по вертикальной плоскости симметрии.

5. Выхлопное сопло по п. 1, отличающееся тем, что верхняя, нижняя и боковые стенки выполнены разъемными в плоскости, расположенной перпендикулярно течению газового потока.

6. Выхлопное сопло по п. 5, отличающееся тем, что сечение в плоскости разъема выполнено преимущественно овальной формы.

7. Выхлопное сопло по п. 1, отличающееся тем, что верхняя, нижняя и боковые стенки неразъемно соединены с продольными и поперечными ребрами жесткости с соотношением толщины ребра к толщине стенки 1-2.

8. Выхлопное сопло по п. 1, отличающееся тем, что верхняя и нижняя подвижные створки расширяющейся части канала синхронно отклоняются в вертикальной плоскости на угол не менее 12°.

9. Выхлопное сопло по п. 1, отличающееся тем, что подвижная створка сужающейся части канала, верхняя и нижняя подвижные створки расширяющейся части канала выполнены из углерод-углеродного композиционного материала.

10. Выхлопное сопло по п. 1, отличающееся тем, что на внутренние поверхности подвижной створки сужающейся части канала, верхнюю и нижнюю подвижные створки расширяющейся части канала нанесено радиопоглощающее покрытие.

Описание

[1]

Изобретение относится к реактивным соплам газотурбинных двигателей авиационного применения, предназначенным для длительной работы на дозвуковом режиме.

[2]

Известно выхлопное сопло турбореактивного двигателя, установленного на самолете, имеющее канал изогнутой формы, сходящийся по длине в сторону выхода, открытый с входной и выходной стороны, включающий подвижную створку, шарнирно установленную на самолете, нижнюю и боковые стенки, присоединенный к удлинительному патрубку форсажного турбореактивного двигателя. Отклонение подвижной створки позволяет регулировать площадь критического сечения выхлопного сопла, при этом в минимальном положении с учетом геометрии нижней стенки образует эффект Коанда (патент № US 6000635 от 14.12.1999 - прототип).

[3]

Недостатком известного выхлопного сопла турбореактивного двигателя является невозможность регулирования площади выходного сечения независимо от площади критического сечения, что приводит к снижению тяги и повышению удельного расхода топлива при работе двигателя на высотных режимах, характеризуемых низким атмосферным давлением и высокой потребной степенью расширения газа в выхлопном сопле; невозможность отклонения подвижной створки таким образом, чтобы отклонить вектор тяги, что ограничивает маневренные возможности самолета; отсутствие радиопоглощающих покрытий на внутренней поверхности канала выхлопного сопла приводит к увеличению уровня заметности самолета в задней полусфере.

[4]

Задачей настоящего изобретения является создание конструкции выхлопного сопла бесфорсажного турбореактивного двигателя с регулируемой площадью критического сечения выхлопного сопла и независимым от нее регулированием площади выходного сечения, с отклоняемыми в вертикальной плоскости вектором тяги бесфорсажного турбореактивного двигателя, со сниженным в задней полусфере уровнем заметности бесфорсажного турбореактивного двигателя, с минимальной массой конструкции, минимальными гидравлическими потерями газа при течении по каналу выхлопного сопла изогнутой формы и воздуха при обтекании хвостовой части летательного аппарата.

[5]

Техническим результатом, достигаемым при использовании заявленного изобретения, является снижение потери тяги и понижение удельного расхода топлива при работе бесфорсажного турбореактивного двигателя, в том числе, на высотных режимах; повышение маневренных качеств и снижение уровня заметности летательного аппарата в задней полусфере.

[6]

Указанный технический результат достигается тем, что в известном выхлопном сопле турбореактивного двигателя летательного аппарата, имеющем канал изогнутой формы, включающий часть канала, сужающуюся до критического сечения прямоугольной формы в сторону выхода, снабженную подвижной створкой, и расположенную после него расширяющуюся часть, при этом канал изогнутой формы выполнен открытым с входной и выходной стороны и имеет нижнюю, верхнюю и боковые стенки, согласно предложению для бесфорсажного турбореактивного двигателя входная сторона канала присоединена к наружному контуру двигателя, на наружной поверхности подвижной створки сужающейся части канала расположены направляющие, выполненные с возможностью скольжения в пазах, размещенных в боковых стенках канала.

[7]

Подвижная створка сужающейся части канала выполнена с возможностью регулирования площади критического сечения сопла, подвижная створка сужающейся части канала снабжена приводом управления и вместе с приводом шарнирно присоединена к верхней стенке канала. В расширяющейся части канала расположены верхняя и нижняя подвижные створки, снабженные приводами управления и по наружной поверхности продолжающие контур летательного аппарата, причем верхняя подвижная створка и привод управления ею в области критического сечения шарнирно присоединены к подвижной створке сужающейся части канала, а нижняя подвижная створка и привод управления ею в области критического сечения шарнирно присоединены к нижней стенке канала. На внутреннюю поверхность верхней, нижней и боковых стенок канала нанесено радиопоглощающее покрытие, а к видимой из задней полусферы части внутренних поверхностей верхней, нижней и боковых стенок канала снаружи присоединен охлаждающий экран с воздухом, подаваемым из компрессора двигателя.

[8]

Соотношение ширины критического сечения к высоте критического сечения преимущественно находится в диапазоне 4-10. Соотношение высоты критического сечения к диаметру входного сечения преимущественно находится в диапазоне 0,15-0,4. Верхняя и нижняя стенки преимущественно сделаны разъемными по вертикальной плоскости симметрии. Выхлопное сопло с верхней, нижней и боковыми стенками преимущественно сделаны разъемными в плоскости, расположенной перпендикулярно течению газового потока. Сечение в плоскости разъема выполнено преимущественно овальной формы. Верхняя, нижняя и боковые стенки неразъемно соединены с продольными и поперечными ребрами жесткости с соотношением толщины ребра к толщине стенки 1-2. Верхняя и нижняя подвижные створки расширяющейся части канала синхронно отклоняются в вертикальной плоскости на угол не менее 12°. Подвижная створка сужающейся части канала, верхняя и нижняя подвижные створки расширяющейся части канала преимущественно выполнены из углерод-углеродного композиционного материала. Радиопоглощающее покрытие нанесено на внутреннюю поверхность подвижной створки сужающейся части канала, верхнюю и нижнюю подвижные створки расширяющейся части.

[9]

Канал изогнутой формы, например, U-образной формы, включающий сужающуюся до критического сечения в сторону выхода часть канала, препятствует прямой видимости горячей части бесфорсажного турбореактивного двигателя при возможно меньшем уровне потери полного давления на преодоление гидравлического сопротивления течения газа по каналу сложной, искривленной формы.

[10]

Снабжение подвижной створкой выходной части канала позволяет регулировать линию рабочего режима вентилятора, для ожидаемого снижения удельного расхода топлива при усложнении программы регулирования турбореактивного двигателя, и кроме того способствует плавному течению газа и уменьшению гидравлических потерь при, например, синхронном отклонении подвижных створок расширяющейся части канала в крайнее положение для создания вектора тяги турбореактивного двигателя и повышения маневренных качеств летательного аппарата.

[11]

Расположение после критического сечения сужающейся части канала, расширяющейся части позволяет эффективно сработать имеющийся перепад полного давления газового потока, особенно, на высотных режимах полета с низким уровнем атмосферного давления, характеризуемых высокой потребной степенью расширения газа в выхлопном сопле.

[12]

Конструктивное деление канала выхлопного сопла на нижнюю, верхнюю и боковые стенки способствует простоте технологического изготовления деталей.

[13]

Расположение на наружной поверхности подвижной створки сужающейся части канала направляющих, выполненных с возможностью скольжения в пазах, размещенных в боковых стенках канала, позволяет поддерживать боковые стенки и подвижную створку сужающейся части канала от прогиба, увеличивая их жесткость и снижая массу.

[14]

Снабжение подвижной створки сужающейся части канала приводом управления и шарнирное их крепление к верхней стенке канала позволяет обеспечить кинематику механизма с минимальной длиной привода, потребную для регулирования площади критического сечения выхлопного сопла.

[15]

Расположение в расширяющейся части канала верхней и нижней подвижных створок, снабженных приводами управления и по наружной поверхности продолжающие контур летательного аппарата, причем верхняя подвижная створка и привод управления ею в области критического сечения шарнирно присоединены к подвижной створке сужающейся части канала, а нижняя подвижная створка и привод управления ею в области критического сечения шарнирно присоединены к нижней стенке канала позволяет обеспечить кинематику механизма с минимальной длиной привода, потребную для увеличения площади выходного сечения и отклонения вектора тяги, позволяет рационально скомпоновать турбореактивный двигатель с выхлопным соплом внутри летательного аппарата, плавно сопрягая подвижные элементы выхлопного сопла с неподвижными элементами хвостовой части летательного аппарата, снизить гидравлические потери воздуха при обтекании хвостовой части летательного аппарата.

[16]

Наличие радиопоглощающего покрытия на внутренней поверхности канала и створок, а также охлаждающего экрана с воздухом, подаваемым от компрессора двигателя, присоединенного снаружи, например, сваркой титанового сплава или клепкой алюминиевого сплава, к видимой из задней полусферы части внутренней поверхности верхней, нижней и боковых стенок канала, позволяет снизить уровень заметности летательного аппарата в задней полусфере.

[17]

Канал изогнутой формы с геометрическими соотношениями составляющими, например: ширины к высоте критического сечения в диапазоне 4-10, высоты критического сечения к диаметру входного сечения в диапазоне 0,15-0,4, позволяет снизить уровень заметности летательного аппарата в задней полусфере, препятствуя прямой видимости горячей части турбореактивного двигателя и рационально скомпоновать турбореактивный двигатель с выхлопным соплом внутри летательного аппарата.

[18]

Верхняя и нижняя стенки, выполненные разъемными, например, при помощи болтового соединения по вертикальной плоскости симметрии и разъемными, например, при помощи болтового соединения в плоскости, расположенной перпендикулярно течению газового потока позволяют упростить процесс изготовления и сборки стенок канала выхлопного сопла, связанный с технологической сложностью получения размерных заготовок с заданной точностью, а также нанесения радиопоглощающего покрытия на внутреннюю поверхностью канала.

[19]

Плавный переход от круглого сечения с входной стороны, сквозь преимущественно овальное промежуточное к прямоугольному критическому уменьшает гидравлические потери газа при течении по каналу.

[20]

Прямоугольное критическое и выходное сечение в отличие от прочих форм сечений упрощают: конструкцию элементов крепления вращающихся подвижных створок относительно неподвижных стенок и подвижной створки сужающейся части канала, месторасположение приводов подвижных створок и их крепление на неподвижных стенках и подвижной створке сужающейся части канала, конструкцию уплотнительных элементов подвижных створок.

[21]

Стенки канала выхлопного сопла выполненные неразъемно, например, сваркой с продольными и поперечными ребрами жесткости с соотношением толщины ребра к толщине стенки 1-2 позволяют, используя традиционные свариваемые материалы, например, титановые листовые сплавы, изготовить оребренный канал выхлопного сопла требуемой прочности с минимальной массой конструкции.

[22]

Подвижная створка сужающейся части канала, верхняя и нижняя подвижные створки расширяющейся части канала выполненные, например, из углерод-углеродного композиционного материала позволяют снизить массу створок, а также рассмотреть возможность отказа от нанесения на них радиопоглощающего покрытия и охлаждения их воздухом, отбираемым от компрессора.

[23]

Изобретение проиллюстрировано фигурами.

[24]

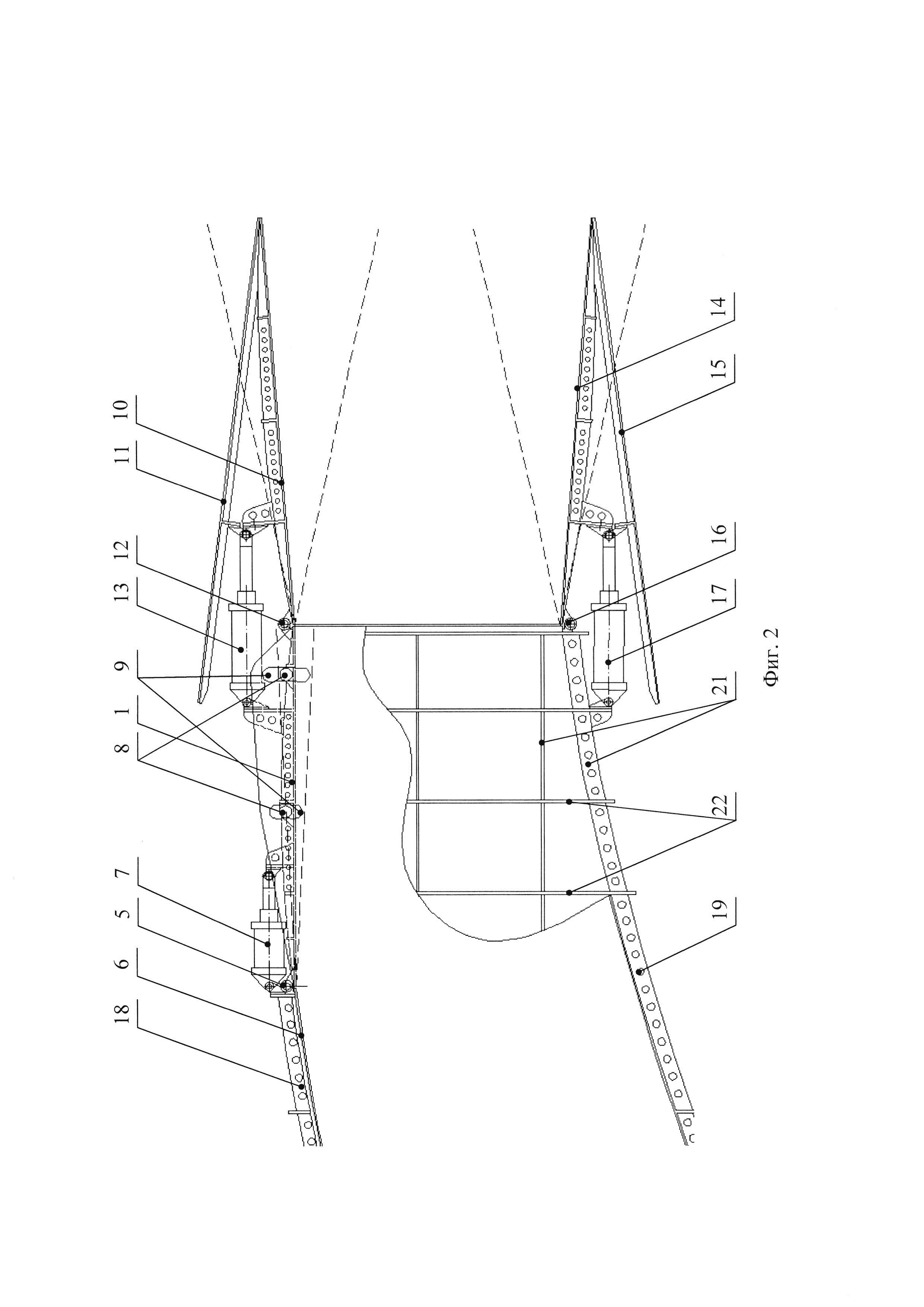
На фиг. 1 показан продольный разрез выхлопного сопла бесфорсажного турбореактивного двигателя.

[25]

На фиг. 2 показан увеличенный продольный разрез выхлопного сопла бесфорсажного турбореактивного двигателя в области выходной стороны.

[26]

1 - подвижная створка сужающейся части канала;

[27]

2 - нижняя стенка канала;

[28]

3 - боковые стенки канала;

[29]

4 - фланец входной стороны;

[30]

5 - элемент крепления подвижной створки сужающейся части канала к верхней стенке;

[31]

6 - верхняя стенка канала;

[32]

7 - привод подвижной створки сужающейся части канала;

[33]

8 - ось наружной поверхности подвижной створки сужающейся части канала;

[34]

9 - пазы в боковой стенке;

[35]

10 - верхняя подвижная створка расширяющейся части канала;

[36]

11 - контур наружной поверхности верхней подвижной створки расширяющейся части канала;

[37]

12 - элемент крепления верхней подвижной створки расширяющейся части канала к подвижной створке сужающейся части канала;

[38]

13 - привод верхней подвижной створки расширяющейся части канала;

[39]

14 - нижняя подвижная створка расширяющейся части канала;

[40]

15 - контур наружной поверхности нижней подвижной створки расширяющейся части канала;

[41]

16 - элемент крепления нижней подвижной створки расширяющейся части канала к нижней стенке;

[42]

17 - привод нижней подвижной створки расширяющейся части канала;

[43]

18 - гофрированный экран подвода охлаждающего воздуха;

[44]

19 - болтовое соединение в вертикальной плоскости симметрии;

[45]

20 - болтовое соединение в плоскости, расположенной перпендикулярно газовому потоку;

[46]

21 - продольные ребра жесткости;

[47]

22 - поперечные ребра жесткости.

[48]

Выхлопное сопло турбореактивного двигателя состоит из подвижной створки 1 сужающейся части канала, нижней 2 и боковых 3 стенок, фланцем 4 входная сторона канала присоединена к наружному контуру бесфорсажного турбореактивного двигателя круглого сечения (на чертеже не показан). Подвижная створка 1 сужающейся части канала шарнирно присоединена 5 к верхней стенке 6, снабженной приводом 7 управления ею, а осями 8, расположенными на наружной поверхности подвижной створки сужающейся части канала, скользит в пазах 9 боковых стенок 3, образуя критическое сечение прямоугольной формы; верхняя подвижная створка 10 расширяющейся части канала, образующая по наружной поверхности 11 контур летательного аппарата, шарнирно присоединена 12 к подвижной створке сужающейся части канала, снабженной приводом 13 управления ею; нижняя подвижная створка 14 расширяющейся части канала, образующая по наружной поверхности 15 контур летательного аппарата, шарнирно присоединена 16 к нижней стенке, снабженной приводом 17 управления ею; на внутреннюю поверхность верхней, нижней и боковых стенок нанесено радиопоглощающее покрытие; к видимой из задней полусферы наружной поверхности верхней, нижней и боковых стенок присоединен гофрированный экран 18 подвода охлаждающего воздуха, отбираемого от компрессора.

[49]

Верхняя 6 и нижняя 2 стенки выполнены разъемными, например, при помощи болтового соединения 19 по вертикальной плоскости симметрии и разъемными, например, при помощи болтового соединения 20 в плоскости, расположенной перпендикулярно течению газового потока. Стенки 2, 3, 6 канала выхлопного сопла выполнены неразъемными, например, сварными с продольными 21 и поперечными 22 ребрами жесткости.

[50]

Принцип действия устройства заключается в регулировании площади критического и выходного сечения выхлопного сопла, в соответствии с программой управления бесфорсажного турбореактивного двигателя, а также синхронного отклонения подвижных створок расширяющейся части выхлопного сопла для отклонения вектора тяги.

[51]

Для регулирования площади критического сечения поворачивают подвижную створку 1 сужающейся части канала (на чертеже крайние положения показаны штриховыми линиями) вокруг оси вращения 5 места крепления к верхней створке 6 при помощи управляющего привода 7, например, гидроцилиндра.

[52]

Для регулирования площади выходного сечения и отклонения вектора тяги синхронно поворачивают верхнюю 10 и нижнюю 14 подвижные створки расширяющейся части канала (на чертеже крайние положения показаны штриховыми линиями). Верхнюю створку 10 расширяющейся части канала поворачивают вокруг оси вращения 12 элемента крепления к подвижной створке сужающейся части канала управляющим приводом 13, например, гидроцилиндром. Нижнюю створку 14 расширяющейся части канала поворачивают вокруг оси вращения 16 элемента крепления к нижней стенке 2 управляющим приводом 17, например, гидроцилиндром.

[53]

Снижение уровня заметности летательного аппарата в задней полусфере осуществляется поглощением и перераспределением энергии падающей электромагнитной волны в радиопоглощающем покрытии, нанесенном на внутреннюю поверхность канала выхлопного сопла.

[54]

Снижение уровня теплового излучения от видимых из задней полусферы горячих частей турбореактивного двигателя осуществляется скрытием прямой видимости горячих частей бесфорсажного турбореактивного двигателя охлаждаемыми элементами выхлопного сопла.

Как компенсировать расходы
на инновационную разработку
Похожие патенты