Изобретение относится к области создания источников когерентного гамма-излучения и может быть использовано в различных физических приложениях. Способ создания инверсной заселенности ядерных уровней в материале активной среды и инициирования однопроходного когерентного гамма-излучения включает в себя перевод некоторой доли ядер в возбужденное метастабильное состояние и заключается в том, что в качестве материала активной среды используется радионуклид, причем переход ядер из возбужденного метастабильного состояния осуществляется через гамма-излучение, в качестве материала активной среды используют радионуклид, в котором осуществляется бета-распад ядер вида X(A,Z)→Y(A,Z-1) с сохранением четности начального и промежуточного возбужденного состояний, радионуклид помещают в сильное продольное однородное магнитное поле такое, что уровни энергии материнских и дочерних ядер радионуклида приобретают в этом магнитном поле сверхтонкую энергетическую структуру с квантовыми характеристиками подуровней, обусловливающими избирательное ускорение процесса бета-распада для части материнских ядер и поддержание устойчивости промежуточных возбужденных состояний дочерних ядер, на время, не превышающее время жизни метастабильного состояния рабочего промежуточного уровня энергии дочерних ядер, но достаточное для создания необходимой инверсии заселенности этого уровня, инжектируют радиоимпульсы поперечного магнитного возбуждения в материал активной среды в следующей последовательности: подают π/2-радиоимпульс малой амплитуды, после окончания действия π/2-радиоимпульса следует четвертьпериод фазовой релаксации, по
Способ создания инверсной заселенности ядерных уровней в материале активной среды и инициирования однопроходного когерентного гамма-излучения, включающий в себя перевод некоторой доли ядер в возбужденное метастабильное состояние и заключающийся в том, что в качестве материала активной среды используется радионуклид, причем переход ядер из возбужденного метастабильного состояния осуществляется через гамма-излучение, отличающийся тем, что в качестве материала активной среды используют радионуклид, в котором осуществляется бета-распад ядер вида X(A,Z)→Y(A,Z-1) с сохранением четности начального и промежуточного возбужденного состояний, радионуклид помещают в сильное продольное однородное магнитное поле такое, что уровни энергии материнских и дочерних ядер радионуклида приобретают в этом магнитном поле сверхтонкую энергетическую структуру с квантовыми характеристиками подуровней, обусловливающими избирательное ускорение процесса бета-распада для части материнских ядер и поддержание устойчивости промежуточных возбужденных состояний дочерних ядер, на время, не превышающее время жизни метастабильного состояния рабочего промежуточного уровня энергии дочерних ядер, но достаточное для создания необходимой инверсии заселенности этого уровня, инжектируют радиоимпульсы поперечного магнитного возбуждения в материал активной среды в следующей последовательности: подают π/2-радиоимпульс малой амплитуды, после окончания действия π/2-радиоимпульса следует четвертьпериод фазовой релаксации, по истечении четвертьпериода фазовой релаксации подают π-радиоимпульс малой амплитуды, после окончания действия π-радиоимпульса следует полупериод фазовой релаксации, по истечении полупериода фазовой релаксации подают короткий радиоимпульс большой амплитуды.
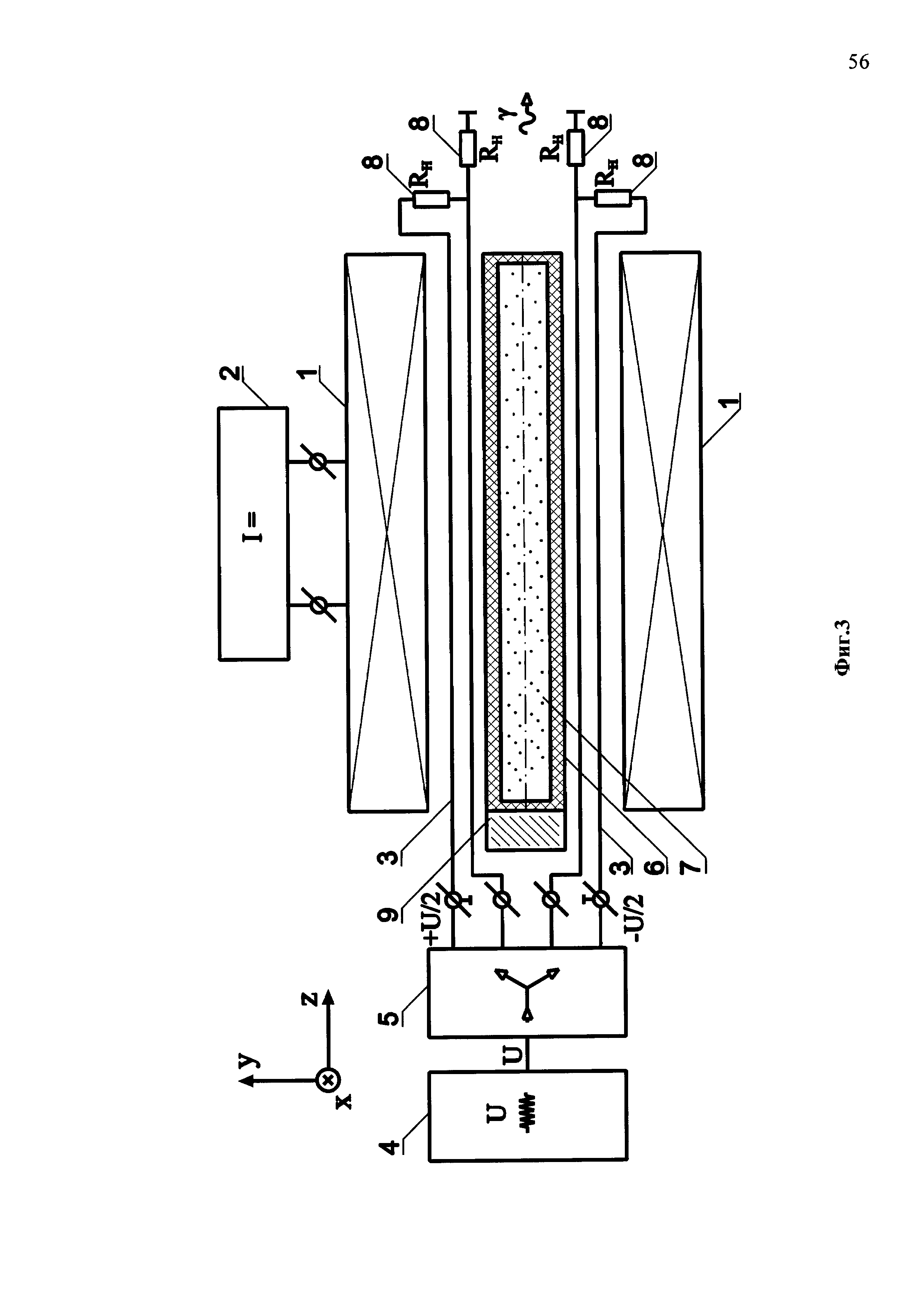
Изобретение относится к области создания источников когерентного гамма-излучения и может быть использовано в различных физических приложениях. Как известно [1], гамма-лазеры, работающие на ядерных переходах в твердых телах, по сравнению с другими источниками когерентного излучения могли бы обладать большей выходной мощностью, достигающей 1021 Вт. В большинстве случаев с целью создания гамма-лазера используется вынужденное излучение на переходе из метастабильного состояния ядра-изомера. Однако, несмотря на продолжающиеся на протяжении многих последних лет теоретические и экспериментальные усилия, современное состояние дел в области создания гамма-лазеров все еще находится на этапе разработки идей и формирования концепций. При этом главным предметом исследований является поиск оптимального вещества активной среды и механизма накачки, т.е. способа создания инверсной заселенности ядерных уровней в материале активной среды. Известны способ и система реализации гамма-лазера [2], в которых в качестве материала активной среды используются мессбауэровские изотопы, например57Со,57Fe,119Sn и т.д., с резонансным (без отдачи) возбуждением и поглощением гамма-квантов ядрами-изомерами. В данном способе при отсутствии инверсии заселенности в материале активной среды исходного гамма-источника генерация стимулированного гамма-излучения достигается благодаря "подсветке" его активной среды вспомогательным гамма-источником, идентичным исходному. При этом полезный эффект использования второго источника проявляется после резкого ("ступенчатого") фазового сдвига вспомогательного гамма-излучения на величину π по отношению к гамма-излучению исходного источника. Это вызывает в активной среде исходного гамма-источника эффект "гамма-эха", следствием которого является подавление резонансного поглощения соответствующих данному ядерному переходу моноэнергетичных гамма-квантов, т.е. происходит скачкообразное повышение прозрачности активной среды и тем самым создание условий для стимулированного выхода когерентного гамма-излучения даже в отсутствие инверсии резонансно-возбужденных ядер-изомеров. Недостатком этого способа создания гамма-лазера является технологическая сложность его реализации и небольшая эффективность использования материала активной среды. Наиболее близким по своей физической сущности к предлагаемому (прототипом) является способ создания инверсии заселенности ядерных уровней в материале активной среды гамма-лазера [3], заключающийся в использовании в качестве материала активной среды изотопа осмия-187, переводе некоторой доли ядер осмия-187 в возбужденное метастабильное состояние, переход которых в конечное устойчивое состояние осуществляется через промежуточный уровень энергии, причем уровень с большей энергией возбуждения распадается через гамма-излучение на более короткоживущий уровень, который обладает временем жизни, достаточным для создания в материале активной среды гамма-резонансных условий, применительно к используемому гамма-излучательному переходу. Для создания гамма-резонансных условий в материале активной среды в прототипе используется монокристаллический изотоп осмия-187, кроме того, предлагается производить накачку изомерного уровня187Os с энергией около 257 кэВ и временем жизни около 230 мкс, а в качестве гамма-резонансного перехода использовать переход ядра-изомера187Os на уровень с энергией около 101 кэВ и временем жизни около 110 нс. При этом автоматически (за счет разности времени жизни) обеспечивается инверсная заселенность указанных изомерных уровней энергии, а интенсивность накачки материала активной среды должна обеспечить только превышение вероятности испускания вынужденного гамма-излучения над вероятностью взаимодействия этого гамма-излучения с электронной оболочкой атомов187Os. Эффективность использования материала активной среды в прототипе оценим через долю процессов взаимодействия, происходящих в монокристаллическом осмии187Os без отдачи. Для этого определим величину фактора Дебая-Уоллера fD, который описывается выражением [4], справедливым для одноатомных кристаллов где k - постоянная Больцмана; θD - дебаевская температура, характеризующая упругие свойства кристалла и соответствующая предельной частоте упругих колебаний кристаллической решетки; Т - температура окружающей кристалл среды. Из [5] известно, что справедливо равенство где Еγ, Мяд - энергия γ-перехода и масса ядра; с - скорость света в свободном пространстве, откуда для γ-перехода ядра Дебаевская температура кристалла где NA - число Авогадро; VOs - молярный объем Os; ρOs - удельный вес Os. С учетом справочных данных по модулю упругости После чего дебаевская температура осмия оценивается как Вычисление фактора Дебая-Уоллера для кристаллического осмия по формуле (1) при нормальной температуре окружающей среды (T=300 K) и указанных значениях оцененных выше констант дает величину fD≈0,06. Еще одним фактором, приводящим к уменьшению генерации γ-излучения, является возможность снятия возбуждения ядра за счет конверсии энергии ядерного перехода в энергию атомных электронов. В соответствии с данными [9], где представлена схема β-распада материнского ядра иридия что примерно на порядок меньше вероятности конверсии энергии уровня 257 кэВ через электронную компоненту. После чего вероятность реализации резонансного перехода в материале активной среды из кристаллического осмия в нормальных условиях не превысит т.е. на каждые дочерние Таким образом, недостатком прототипа является низкая эффективность использования материала активной среды для генерации однопроходного когерентного гамма-излучения. Техническим результатом способа является повышение эффективности использования материала активной среды для генерации однопроходного когерентного гамма-излучения. Технический результат достигается тем, что в способе создания инверсной заселенности ядерных уровней в материале активной среды и инициирования однопроходного когерентного гамма-излучения, включающем в себя перевод некоторой доли ядер в возбужденное метастабильное состояние и заключающемся в том, что в качестве материала активной среды используется радионуклид, причем переход ядер из возбужденного метастабильного состояния осуществляется через гамма-излучение, в качестве материала активной среды используют радионуклид, в котором осуществляется бета-распад ядер вида X(A,Z)→Y(A,Z-1) с сохранением четности начального и промежуточного возбужденного состояний, радионуклид помещают в сильное продольное однородное магнитное поле такое, что уровни энергии материнских и дочерних ядер радионуклида приобретают в этом магнитном поле сверхтонкую энергетическую структуру с квантовыми характеристиками подуровней, обусловливающими избирательное ускорение процесса бета-распада для части материнских ядер и поддержание устойчивости промежуточных возбужденных состояний дочерних ядер, на время, не превышающее время жизни метастабильного состояния рабочего промежуточного уровня энергии дочерних ядер, но достаточное для создания необходимой инверсии заселенности этого уровня, инжектируют радиоимпульсы поперечного магнитного возбуждения в материал активной среды в следующей последовательности: подают π/2-радиоимпульс малой амплитуды, после окончания действия π/2-радиоимпульса следует четвертьпериод фазовой релаксации, по истечении четвертьпериода фазовой релаксации подают π-радиоимпульс малой амплитуды, после окончания действия π-радиоимпульса следует полупериод фазовой релаксации, по истечении полупериода фазовой релаксации подают короткий радиоимпульс большой амплитуды. Сущность изобретения поясняется на фиг. 1. На фиг. 1 изображено схематически семейство энергетических подуровней, образованных расщеплением основного энергетического уровня Е0 материнского ядра, например, радионуклида полония На фиг. 1, 2 введены следующие обозначения: ε1…ε6 - разрешенные энергетические подуровни, производные от основного энергетического уровня Е0, ядра I1…I6 - разрешенные проекции квантово-механического момента "0.0" - индекс основного состояния материнского и дочернего ядра; γ1…γ3 - гамма-излучательные энергетические переходы; β+, ЕС - позитронный или электрон-захватный бета-распад соответственно. На фиг. 3 дано схематическое изображение устройства гамма-лазера, использующего в качестве материала активной среды радионуклид, в котором осуществляется бета-распад ядер вида X(A,Z)→Y(A,Z-1). На фиг. 3 приняты следующие обозначения: 1 - соленоид для создания сильного однородного продольного магнитного поля Н0; 2 - источник электропитания соленоида; 3 - открытые полосковые полеобразующие системы для создания поперечного магнитного поля H1; 4 - источник радиочастотных сигналов; 5 - симметрирующее устройство; 6 - полый диэлектрический цилиндр; 7 - материал активной среды; 8 - согласующие нагрузки открытых полосковых полеобразующих систем; 9 - заглушка. На фиг. 4 изображена временная диаграмма последовательности импульсов поперечного возбуждения в материале активной среды и появления импульса выходного гамма-излучения при использовании указанной технологии в предлагаемом устройстве. Все амплитуды импульсов на фиг. 4 приведены в относительных единицах, а все интервалы времени соотнесены друг с другом и характерными временами физических процессов, протекающих в материале активной среды в каждой фазе формирования импульса гамма-излучения. Предлагаемый способ создания инверсной заселенности ядерных уровней в материале активной среды и инициирования однопроходного когерентного гамма-излучения осуществляется следующим образом: 1) с помощью справочных данных о физических параметрах веществ и схем распадов радионуклидов подбирают радионуклид, имеющий кристаллическую структуру с высокой плотностью атомарной упаковки, т.е. с высокой плотностью материнских ядер в кристаллической ячейке, и большим гиромагнитным отношением дочерних ядер, причем схема распада радионуклида должна соответствовать изобарному ряду с понижением заряда ядра, т.е. бета-распаду материнских ядер X в дочерние ядра Y вида X(A,Z)→Y(A,Z-1); 2) из материала выбранного радионуклида формируют образец требуемой, например цилиндрической, формы; 3) этот образец помещают в сильное однородное продольное магнитное поле Н0, действующее вдоль оси образца, такое, что энергетические уровни материнских и дочерних ядер радионуклида приобретают в нем сверхтонкую структуру, избирательно ускоряющую процесс бета-распада части материнских ядер, имеющих сверхразрешенный квантово-механический статус бета-распада, и поддерживающую устойчивость промежуточных возбужденных состояний дочерних ядер за счет системного спинового взаимодействия ядер в сильном однородном продольном магнитном поле; 4) выдерживают образец в сильном однородном продольном магнитном поле в течение времени, не превышающего время жизни метастабильного состояния рабочего промежуточного уровня энергии дочерних ядер, но достаточного для создания необходимой инверсии заселенности этого уровня, в результате чего в образце формируются один или несколько промежуточных метастабильных уровней энергии с инверсией заселенности по отношению к гамма-излучательным переходам дочерних ядер в конечное устойчивое состояние; 5) инжектируют радиоимпульсы поперечного магнитного возбуждения в материал активной среды 7 в следующей последовательности: а) подают π/2-радиоимпульс поперечного магнитного поля H1 малой амплитуды, удовлетворяющий условиям где tи - длительность импульса; где при этом магнитные моменты дочерних ядер верхних и нижних подуровней рабочего уровня энергии к концу действия этого импульса окажутся в плоскостях, компланарных поперечной плоскости xy, прецессируя вокруг продольной оси z; причем в то время, когда магнитные моменты ядер находятся в плоскости xy, ядра имеют минимальную энергетическую связь с продольным силовым магнитным полем Н0, направленным по оси z, и их магнитное квантовое число m равно нулю; б) после окончания действия π/2-радиоимпульса поперечного магнитного возбуждения следует четвертьпериод фазовой релаксации Δt2=π/4Δω, во время которого система секторно локализованных (условно в поперечной плоскости xy) магнитных моментов, соответствующих верхним и нижним исходным подуровням энергии и вращающихся теперь в плоскостях, компланарных плоскости xy, из-за разницы в частотах прецессий (ω0-Δω)←ω0→(ω0+Δω) начнет разбегаться, стремясь равномерно заполнить всю плоскость вращения xy, причем веерообразное разбегание моментов из первой условной полуплоскости, ограниченной осью х, во вторую и наоборот будет происходить как по часовой, так и против часовой стрелки; в) по истечении интервала времени Δt1 с момента начала фазовой релаксации подают π-радиоимпульс поперечного магнитного поля Н1х малой амплитуды, зеркально обращающий магнитные моменты, находящиеся в противоположных полуплоскостях, ограниченных осью х, плоскости xy относительно плоскости xz; г) после окончания действия π-радиоимпульса поперечного магнитного возбуждения следует интервал времени Δt2=π/2Δω, равный полупериоду фазовой релаксации, во время которого магнитные моменты ядер, продолжая свое круговое движение вокруг оси z, теперь, однако, после обращения вокруг оси x поменяют направление своего вращения на противоположное и, разделившись за время Δt1 на две условные секторные половины, будут двигаться в своих условных полуплоскостях, ограниченных осью x, навстречу друг другу, постепенно собираясь вокруг тех магнитных моментов, которые направлены в одной из этих полуплоскостей по оси y, а в другой по оси -y и обладающих круговой частотой вращения д) по истечении интервала времени Δt2 в момент достижения максимума результирующими магнитными моментами подсистем My и -My подают короткий радиоимпульс поперечного магнитного поля Н1х большой амплитуды, который, быстро поворачивая результирующие векторы магнитных моментов ядер My и -My вокруг оси x, создает в области малых значений возникающего при этом повороте магнитного момента Mz значительную величину производной dMz/dt, стимулируя (благодаря своей величине) гамма-излучение рабочего перехода в условиях минимальной отдачи ядер, т.е. в режиме излучения из резонансной плоскости xy когерентных гамма-квантов в очень узкой спектральной полосе, на выходе устройства в процессе действия мощного короткого стимулирующего радиоимпульса поперечного магнитного x-возбуждения формируется ультракороткий гамма-импульс с узкой диаграммой излучения, обусловленной аксиальной геометрией системы и соосностью образца материала активной среды 7 и соленоида 1. Рассмотрим реализацию предлагаемого способа создания инверсной заселенности ядерных уровней в материале активной среды и инициирование однопроходного когерентного гамма-излучения. В целях обеспечения параметрической устойчивости работы гамма-лазера для создания его активной среды может быть использован тот исходный радиоактивный материал, который в процессе формирования инверсии заселенности в этой среде не испускает энергетичных частиц с ненулевой массой покоя, таких как электроны и альфа-частицы, поскольку, как известно [10], столкновительная ионизация и возбуждение атома, вызываемые этими частицами, не селективны и плохо поддаются контролю. Более стабильными являются бета-радиоактивные материалы с выходом из материнского ядра позитрона с последующей его аннигиляцией на электронной оболочке атома или захватом ядром электрона с нижней орбиты атома, т.е. материалы, в которых осуществляется изобарный бета-распад ядер вида X(A,Z)→Y(A,Z-1), где А - суммарное число протонов и нейтронов в ядре, Z - число протонов. В соответствии с Периодической системой элементов и схемами распада радионуклидов выберем один из элементов с края области β+-радиоактивности, например, полоний Наложим на вещество радионуклида где Принимая оценочно В результате действия сильного однородного магнитного поля Поскольку энергия U взаимодействия ядер то совпадавшие прежде (в отсутствие силового воздействия на систему микрочастиц) значения энергии ядер Из [13] следует, что ядро I, I-1, I-2, -(I-2), -(I-1), -I. При этом исходный уровень энергии ядра В условиях термодинамического равновесия при отсутствии обменного взаимодействия между микрочастицами, находящимися на разных квантовых подуровнях, распределение системы микрочастиц по подуровням подчиняется статистике Больцмана, справедливой для невырожденных система микрочастиц, отвечающих критерию где d - расстояние между микрочастицами; λБ - длина волны де Бройля для однородных микрочастиц в системе. В случае кристаллической структуры вещества (это относится и к полонию) расстояние между соседними микрочастицами примерно соответствует двум атомарным радиусам, т.е. d≈2·rат≈10-10 м, а длина волны де Бройля для связанных в кристалле микрочастиц при где m - масса микрочастиц; k - постоянная Больцмана; Т - абсолютная температура. В результате при нормальной температуре для ядер Как следует из [14], вероятность ω1 по Больцману одной микрочастицы находиться в i-м квантовом состоянии равна где µхим - химический потенциал, определяющий среднее количество микрочастиц в подсистеме, входящей в большой статистический ансамбль Гиббса; εi - i-e квантовое энергетическое состояние. Всего в нашем случае различных квантовых состояний - шесть, и индекс i принимает значения i=1, 2…6. Энергетический интервал Δε между соседними состояниями одинаков и равен Магнитный момент µI ядер Для конкретизации дальнейших оценок значение внешнего однородного магнитного поля После чего интервал расщепления основного уровня ядер Химический потенциал µхим может быть найден из условия нормировки откуда соответствующее значение химического потенциала с учетом энергетического ряда ε1=0 эВ, ε2=3,4·10-9 эВ, … ε6=1,7·10-8 эВ равно µхим≈-4,2·10-2 эВ. В результате все шесть квантовых состояний оказываются практически равновероятны и среднее относительное количество ядер Следовательно, во всей системе микрочастиц, занимающей объем V и включающей в себя N∑ ядер и квантово таким, как изображено на фиг. 1а. В силу того, что процесс β-распада зависит от квантовых характеристик начального и последующего состояний ядра, пространственное квантование ядер после наложения на систему поля Н0 приводит к тому, что для ее ядер, имеющих разные проекции спинов, характер течения процесса β-распада будет различаться. Параметрически вероятность λβ-перехода в единицу времени характеризуется соотношением [16] где В - безразмерная величина, изменяющаяся в зависимости от влияния структуры ядра на β-распад; f(Eβ,Z) - интегральная функция энергетического спектра β-распада и кулоновского взаимодействия ядра. Из (5) вытекает, что произведение τβ·f(Eβ,Z)=1/В - константа, которая является обобщенным параметром для каждого из видов β-распадных ядер, обусловленным особенностями протекания процесса β-распада. В [16] приводится также общая классификация всех известных β-переходов в зависимости от величины lg(f·τβ). В соответствии с этой классификацией и обобщенными данными, представленными в [17], минимальная величина lg(f·τβ)≈3 сопоставляется сверхразрешенным β-переходам. Для ядер поэтому логарифм их произведения составляет Отсюда следует, что по классификации, принятой в [16], β-переходы ядер Основным β-процессом в распаде материнских ядер Исходя из концепции обеспечения инверсии заселенности ядерных уровней непосредственно в процессе β-распада, в энергетической картине возбуждения дочерних ядер В соответствии с [11] искомыми промежуточными состояниями β-перехода материнских ядер Наиболее вероятные β-переходы ядер Вследствие независимости слабого (определяющего β-радиоактивность) и сильного (определяющего структуру ядра) взаимодействий от магнитного поля уровня 104 Гс принципиальная схема возбужденных промежуточных состояний и энергетических переходов дочерних ядер Естественно, к таким ядрам В итоге видно, что в первом приближении в качестве рабочего промежуточного энергетического уровня ядер Медленный характер β-переходов ядер В результате такие квантовые характеристики, как квантово-механический момент количества движения, его проекция на направление магнитного поля Н0, а также четность, в процессе β-переходов с подуровней материнских ядер С учетом того, что рассматриваемый канал β-распада допускает и гамов-теллеровские [18] нормально разрешенные β-переходы с ΔI=(0, ±1), для β-переходов на уровень Е5 ядер 1) 2) После чего предельно возможную заселенность где Из (6), к примеру, следует, что к моменту времени Для изолированного ядра оценка времени жизни γ-уровня Е5-τγ(Е5) в пренебрежении вкладом в разгрузку этого уровня конверсионных электронов где l - порядок мультипольного момента, равный моменту количества движения ΔI, уносимого γ-квантами при излучении, в единицах m - порядок проекции мультипольного момента (в единицах Q или М) на ось симметрии системы z, т.е. на направление приложенного к системе поля Н0; (2l+1)!!=1·3·5…(2l+1). Набор возможных значений 1 и m определяется правилами отбора [20, 21] по моменту количества движения и четности где lЕ и lM - порядок электрического и магнитного мультиполей соответственно. Как следует из [11], возможные γ-переходы (γ21, γ36) с уровня возбуждения Е5 ядра происходят без изменения четности и уносят в случае γ21→|ΔI|=1, а в случае γ36→|ΔI|=2. В соответствии с [21, табл. 18] переход γ21, подчиняясь правилам отбора (8), может осуществляться как излучение магнитного квазидиполя (M1) либо электрического квазиквадруполя (Е2). Определенность в этом вопросе вносят данные [15] по магнитным и электрическим моментам207Ро и207Bi в основных состояниях где Принимая во внимание величины магнитных и электрических моментов207Ро и207Bi и соотношения (7), можно записать что указывает на магнитный характер перестройки ядра и следовательно Значение где ZBi=83 - заряд ядра е - единичный заряд; Величину где а и b - полуоси эллипса в сечении распределения заряда по ядру С учетом (10) и того, что для ядра Заменяя в (9) где k - безразмерный коэффициент. Подстановка численных значений физических величин, входящих в коэффициент k, дает его значение, равное k=2·10-12. Поскольку, как уже было отмечено, где ΩBi - круговая частота вращения ядра В итоге с учетом пренебрежимой малости k выражение (7) упрощается и для магнитного характера излучения принимает вид и при подстановке в него значений физических величин для γ-перехода γ21 с энергией Еγ21=0,40 МэВ имеем индивидуальную вероятность спонтанного излучения изолированного ядра и соответственно время жизни уровня Е5 В то же время для γ-перехода γ36 с энергией Еγ36=1,14 МэВ, отвечающего электрическому квадрупольному излучению, эта вероятность выражается из (7) как и численно равна что соответствует Однако во внешнем магнитном поле Н0 при устойчивом характере прецессии вокруг направления Н0 системы микрочастиц, обладающих спином, возникает групповое взаимодействие этих микрочастиц, которое заметно изменяет первичную оценку времени жизни Динамический отклик, характеризующий адаптивную способность двухуровневой системы (например, Если предположить, что возмущающее магнитное поле H1 мало в сравнении с полем Н0, то энергия прецессирующей спиновой системы определяется в основном ориентацией ядерных магнитных моментов относительно поля Н0. Поэтому чистое спин-спиновое взаимодействие не может изменить эту энергию, т.е. оно не влияет на результирующую намагниченность Mz в направлении оси z, соответствующей направлению магнитного поля Н0. Чтобы изменить намагниченность Mz, необходим обмен энергией с решеткой; только при взаимодействии ядерных моментов с другими (трансляционными, колебательными и вращательными, кроме спиновых) степенями свободы может установиться равновесие, соответствующее температуре вещества. Процесс установления равновесия зависит от релаксационных механизмов и характеризуется временем продольной (вдоль оси z) релаксации Т1 и временем поперечной релаксации Т2 [27]. Время продольной релаксации Т1 в основном определяется спин-решеточным взаимодействием, тогда как время Величину, обратную времени релаксации T1, можно рассматривать как меру вероятности изменения величины Mz [28] и считать для продольной релаксации аналогично для поперечной релаксации где p и q* - весовые коэффициенты. В случае идеально однородного поля Н0 где вероятность W2 отвечает за результирующее спин-решеточное и спин-спиновое взаимодействия без учета факторов неоднородности поля Н0. Имея в виду, что спин-решеточное взаимодействие характеризуется вероятностью W1, можно записать где вероятность Тогда время спин-спиновой релаксации и в итоге для времени поперечной релаксации Т2 получить соотношение При необходимости неоднородность поля Н0 можно учесть в (13) через вероятность ядра оказаться в магнитном поле, отличном от Н0 на величину δН0 которая в случае поперечной (поперек оси z) неоднородности складывается с вероятностью W2 линейно, так что а в случае продольной (вдоль оси z) неоднородности - квадратично [28] Например, при доминирующем вкладе поперечного градиента поля Н0 над продольным выражение (13) переходит в соотношение с расширенной полосой ядерного резонанса прецессирующих спинов. В принципе произвести динамическое изменение продольной намагниченности Mz, т.е. дестабилизировать энергетическое состояние прецессирующих микрочастиц, находящихся в равновесии, можно и не прибегая к интенсивному воздействию на систему, а используя механизм нутации. Нутация (изменение угла прецессии) легко возбуждается приложением к системе дополнительного переменного поперечного магнитного поля Н⊥=Н1. В отсутствие преднамеренной генерации возмущающего поля H1 его величина определяется возможными случайными проявлениями поперечных магнитных полей. В естественных условиях источником таких флуктуаций могут быть, например, непериодические вариации магнитного поля земли ΔHзем, поэтому при выполнении оценок адаптивности системы микрочастиц для величины поля, дестабилизирующего состояние системы, допустимо принять H1≈ΔHзем. При таком флуктуационном воздействии на рассматриваемую систему выполняется Hz>>H1 и соответственно Mz>>М1 и максимальная величина возмущенного относительного изменения продольной намагниченности δMz, вызванного возмущением, равна где В рамках релаксационной теории выражение для оценки отношения М1/М в случае нестационарного возбуждения слабым полем H1 спиновой системы, охваченной сильным продольным полем Н0, вытекает из рассмотрения [29] где τ=γH1Δt, α=1/(γH1T1), β=1/(γH1T2) - безразмерные величины; Δt - длительность воздействия на систему поперечного поля H1; Отметим, что выражение (14) получено в предположении относительно короткого возмущающего воздействия, такого что где Принимая во внимание, что при идеальной однородности поля H0 из соотношения (13) при равновероятном вкладе в поперечную релаксацию спин-решеточного и спин-спинового взаимодействий (p≈r) следует неравенство T1>Т2, которое на практике [30, фиг. 2.12] всегда является сильным T1>>Т2. Далее, если в соответствии с установленным соотношением между T1 и Т2, например, положить конкретно Т1≈4Т2 и, воспользовавшись выражением для величины возбуждающего поля H1 [31] соответствующим максимальному поглощению Оптимальная длительность возмущающего воздействия Δtопт, одновременно удовлетворяющая условию (15) и соответствующая верхней оценке (16), может быть выбрана приближенно в соответствии с соотношением Т2≈4Δt. С учетом этого (16) переходит к виду Подставляя в (17) численные значения ϒBi=2π·684,3≈4,3·103 Гц/Гс [32]; ΔHзем≈0,1Hзем≈0,05 Э в средних широтах [33]; для системы прецессирующих микрочастиц, состоящей из ядер Как видно из (7), с учетом квадратичной зависимости вероятности спонтанного излучения отдельно взятого мультиполя YM(l,m) от магнитного момента Ml,m можно полагать, что в условиях группового взаимодействия спиновых микрочастиц в сильном однородном магнитном поле эта вероятность уменьшается в соответствии с равенством Ml,m=µl,mδMz в Однако более точным и корректным подходом к оценке вероятности γ-перехода ядер, находящихся в сильном однородном магнитном поле, является оценка, производимая при квантово-механическом описании явления ядерной индукции. Пусть, по-прежнему, возбуждающее магнитное поле H1 поляризовано линейно и поперечно внешнему однородному магнитному полю Н0. Из-за спинового взаимодействия ближайших друг к другу ядер резонансная область прецессирующих ядер размывается, так что вводят некоторое весовое спектральное распределение резонансных частот для отдельных спиновых групп в образце вещества g(ν), причем для вычисления вероятности перехода функция g(ν) должна удовлетворять условию нормировки Тогда для средней вероятности энергетического перехода (Е0→En) спинового ансамбля, отнесенной к единице времени, можно записать где Для квантовых переходов ядер, имеющих спин I, с магнитными квантовыми числами m, соответствующими ряду m=-I (предельный верхний уровень), m=-(I+Δm), … m=I (предельный нижний уровень), с квантовым приращением Δm=-1, средняя вероятность перехода поглощения, отвечающего возбуждению системы, с уровня m на уровень m-1, отнесенная к единице времени, как следует из [35], равна где С учетом соотношения [36] для матричного элемента выражение (18) для средней вероятности перехода ансамбля спиновых микрочастиц с подуровня m на уровень m-1 преобразуется к виду В системе ядерных спинов, охваченной сильным однородным магнитным полем, энергетический переход происходит в результате двух последовательных независимых событий: первое из них - переход ансамбля с одного подуровня на другой в соответствии с вероятностью (19), второе - излучение γ-кванта в соответствии с вероятностью (7). В этом случае общая средняя вероятность γ-перехода равна Поскольку Поэтому, подставляя в (19) m=1/2, I=5/2, для вероятности γ-перехода с уровня Е5 ядер Функция g(ν) определяет форму и ширину линии поглощения и излучения сверхтонкой структуры квантования энергии спиновой системы. Полагая, что поперечные эффекты спинового взаимодействия в твердом веществе приводят к g(ν), отвечающей распределению Гаусса, то, как следует из [37], можно записать где ν0 - резонансная частота прецессирующих микрочастиц. Считая, что образец материнского вещества полония где Kреш - численный коэффициент, зависящий от типа кристаллической решетки; gI - ядерный коэффициент Ланде; dреш - постоянная решетки, или иначе с учетом того, что гиромагнитное отношение получаем Из (22) при подстановке значений Kреш и соответствующих физических величин После чего из (21) следует среднее значение функции распределения рассчитанное при постоянной времени поперечной релаксации Далее из (20) находим среднее значение вероятности γ-перехода с уровня Е5 ядер при величине возмущающего поля H1=0,05 Э. В итоге, квантово-механический подход дает оценку наведенного ядерной индукцией времени жизни метастабильного уровня Е5 ядер которое в целом согласуется с оценкой, вытекающей из теории релаксации. Сравнение постоянных β-распада ядер откуда очевиден вывод о невозможности накопления ядер на уровне Е5 и соответственно о невозможности создания γ-активной среды на основе β-распадной пары Однако анализ соотношений (20), (21) и (22) дает основание утверждать, что время жизни метастабильного уровня ядра, принадлежащего ансамблю подобных ему спиновых микрочастиц, находящихся в сильном однородном магнитном поле, увеличивается, если растет средняя величина второго момента Принимая во внимание вышесказанное, в качестве следующей итерации предлагаемого способа создания активной среды гамма-лазера останавливаем свой выбор, например, на β+-распадной паре Для этой новой пары элементов с учетом гранецентрированной решетки свинца и высокого гиромагнитного отношения у ядер таллия второй момент при постоянной решетки свинца После чего функция а средняя вероятность γ-перехода с уровня E1 ядер Таким образом, пребывание спиновой системы, состоящей из ядер которое много превышает постоянную β-распада ядер В общем случае заселенность уровня 1) β-распада ядер свинца 2) излучения γ-квантов (γ6) с уровня E1 ядер таллия Поэтому оценить искомую заселенность где Учитывая, что где В итоге из (24) следует, например, что к моменту времени Прежде чем перейти к оценке фактора Дебая-Уоллера для предлагаемого материала γ-активной ядерной среды, образованной в результате β-распадного процесса ядер В твердом кристаллическом веществе, погруженном в сильное однородное магнитное поле Н0 (продольное возбуждение среды), энергия в кристалле может передаваться не только с помощью фононного механизма по модели Дебая [43], когда выше некоторой характеристической температуры θд у большей части фононов длина волны имеет порядок всего лишь нескольких межатомных расстояний а, в то время как при температурах значительно ниже дебаевской наиболее вероятная длина волны фононов растет и имеет порядок аθд/Т, но и с помощью фотонного механизма, имеющего место благодаря появлению сверхтонкой структуры энергетических подуровней пространственно квантованных ядер. Поэтому в такой резонансной среде, обусловленной прецессией ядер вокруг направления поля Н0, средняя энергия отдачи ядра Продольная скорость движения vpz импульса поперечного возбуждения H1(t) продольной компоненты магнитного момента ядра µz в рассматриваемой резонансной среде может быть оценена по формуле [44] где z - продольная координата, вдоль которой распространяется, например, неискажающийся 2π-импульс возбуждения, для площади под огибающей которого выполняется αN - ядерная постоянная относительного изменения площади 2π-импульса на единицу длины по мере распространения его в среде; τи - длительность 2π-импульса; µx - поперечная компонента магнитного момента ядра при поперечном x-возбуждении; с - скорость света в свободном пространстве. Для оценки vpz предположим, что Δω→0, тогда f(Δω)→1 и с учетом нормировки параметр S, связанный с дисперсией поперечного возбуждения, примерно равен S≈1. Ядерная постоянная αN, обусловленная магнитной восприимчивостью возбуждаемой среды, может быть найдена из соотношения с электронной постоянной αе≈10-2 см-1, оцененной в [44], где µN и µе - магнитные моменты ядра и электрона соответственно. Длительность 2π-импульса τи при амплитуде поперечного возбуждения, например, H1=0,1 Э и Подставляя найденные значения параметров в (26), получаем приближенную оценку скорости продвижения фотонного возбуждения в среде ядер что примерно на два порядка превышает скорость передачи фононного возбуждения. По данным, представленным в [45], первый γ-уровень иридия За время излучения γ-кванта волна фотонного возбуждения, вызванная отдачей ядра Согласно [46] концентрация атомов материнского свинца в 1 см3 составляет nPb=3,3·1022 см-3, тогда число ядер Средняя энергия отдачи ядра дочернего таллия где MTl=195 - атомная масса таллия в а.е.м. Вводя значение энергии отдачи ядра дочернего таллия Кроме доли ядер в то время как вероятность γ-перехода γ6 составляет При этом коэффициент электронной конверсии Kсе уровня В результате с учетом (25), а также фактора Дебая-Уоллера и коэффициента электронной конверсии к моменту Инверсия "резонансной" заселенности где Если пренебречь "размытием" энергий испускаемых γ-квантов, связанным со сверхтонкой структурой рассматриваемых уровней, поскольку это "размытие" относительно мало и в данном случае составляет величину то можно принять Если также принять во внимание опережающий β-распад материнских ядер где F1=(1-N0/N1) - коэффициент инверсии. Таким образом, в сравнении с прототипом в предлагаемом способе создания инверсной заселенности ядерных уровней, например, на каждые 105 материнских ядер Для обеспечения режима когерентного излучения, т.е. режима синфазного типично классического группового излучения, в таком ядерно-спиновом квантовом генераторе необходимо выполнить следующие условия. Известно [47], что интенсивность излучения J квантовой системы, состоящей из N спинов с I=1/2, когда система находится в квантовом состоянии /r,m>, равна где r - спиновое квантовое число для полного спина системы; m - магнитное квантовое число системы; J0 - интенсивность спонтанного излучения отдельного спина. Из (27) видно, что при r=m=rmax=(1/2)N имеем интенсивность J=NJ0, т.е., несмотря на наличие полной инверсии системы, спины в этом случае излучают некогерентно (или спонтанно). Если же система подготовлена таким образом, что к моменту излучения она переходит в состояние /r=rmax=(1/2)N,m>, где |m|<<r, то интенсивность излучения становится равной J≈(1/4)N2J0, указывая на когерентный характер излучения. Замечая, что интенсивность излучения есть не что иное как поток энергии через единичную площадку где Eзап=NEγ - энергия, запасенная в спиновой системе и излучаемая через переход Eγ; Δt - длительность излучаемого импульса; Sn - проекция площадки, через которую выводится излучение, на направление излучения, то для одиночного γ-кванта естественно положить J0=Еγ/(τγ·Sn) и для когерентного режима излучения соотношение (28) переписать в виде Последняя запись означает, что в силу сохранения энергетического баланса запасенная в системе энергия NEγ не может быть превышена в процессе формирования излучения на самоограниченном переходе, и, следовательно, при реализации в этой системе режима когерентного излучения волновой синхронизм приводит к сжатию волнового пакета и уменьшению как 1/N длительности импульса излучения. Основываясь на предлагаемом способе создания инверсной заселенности ядерных уровней в материале активной среды и инициирования однопроходного когерентного гамма-излучения, может быть построен гамма-лазер, обладающий приемлемыми характеристиками. Предлагаемое устройство гамма-лазера (фиг. 3) содержит соленоид 1 для создания сильного однородного продольного магнитного поля Н0, подключенный к источнику 2 электропитания, открытые полосковые полеобразующие системы 3 для создания поперечного магнитного поля Н1, подключенные по своим входам через симметрирующее устройство 5, создающее противофазные сигналы, к источнику 4 радиочастотных сигналов, а по выходам - к согласующим нагрузкам 8, полый диэлектрический цилиндр 6, заполненный материалом активной среды 7 в виде радионуклида бета-распадного типа и образующий с одного из своих торцевых концов выходное окно для генерируемого излучения, а с другого конца закрытый заглушкой 9. Концептуально, устройство представляет собой однопроходный гамма-лазер, работающий на самоограничивающем гамма-переходе ядер радионуклида. При резонансном наборе мощности излучения в канале усиления, чтобы гарантировать в выходном сечении устройства импульс излучения с энергией, близкой к энергии всех потенциально резонансных переходов где J и JL - выходная и удельная на единицу длины канала усиления интенсивности излучения соответственно; NL - удельное число микрочастиц на единицу длины канала усиления, потенциально принимающих участие в усилении интенсивности исходного излучения; L - длина канала усиления в относительных единицах. Из теории усиления спонтанного излучения известно [48], что аналитическое выражение отношения интенсивностей J/JL, справедливое для любой формы линий излучения с узким профилем, включая доплеровский, имеет вид где G - пиковый удельный коэффициент усиления, соответствующий центру спектральной линии; L - длина канала усиления, равная той части длины цилиндрического образца 6, которая заполнена материалом активной среды 7. Из [49] следует, что пиковый удельный коэффициент усиления примерно равен где σstim - сечение вынужденного перехода. Сечение вынужденного перехода или иначе сечение вынужденного излучения определяется через вероятность спонтанного излучения Y(γ) по формуле [49] где λγ -длина волны, на которой излучает переход; Δλγ - спектральное уширение ("размытие") несущей длины волны, вызванное взаимодействием микрочастиц. Переходя к конкретной количественной оценке усиления и вычисляя значения физических величин для γ-перехода γ6 дочерних ядер где Или, точнее, с учетом упоминавшегося выше значения и, подставляя эти значения в (32), получаем После чего с учетом соотношения (31) пиковый удельный коэффициент усиления в канале с поперечным сечением 1 см2 в первом приближении составит где Полагая теперь L=10 см, из (30) находим из чего следует, что для использованных исходных данных неравенство (29) выполняется, но не строго. В этой ситуации, вместе с тем, необходимо понимать следующее. Хотя в резонансной среде классический механизм ослабления потока резонансных γ-квантов не работает, и ослабление потока интересующих нас γ-квантов с энергией Повысить коэффициент усиления можно, увеличив сечение вынужденного излучения посредством уменьшения доплеровского уширения D, которое, в конечном счете, может быть снижено благодаря уменьшению энергии отдачи ядра Средняя энергия отдачи ядра которое, в свою очередь, приводит к зависимости от частоты коэффициента усиления G в виде где ωхар=(SαNc/πg(0))1/2 - характерная частота поперечного магнитного возбуждения системы ядерных спинов, выражаемая через известные физические величины. Если воспользоваться значениями S, αN и g(0), фигурировавшими при оценке скорости Поскольку верхняя граничная частота ωв в спектре радиоимпульса возбуждения всегда лежит вблизи частоты продольной прецессии Тогда, стремясь получить необходимое высокое усиление с ослаблением его зависимости от частоты, потребуем заведомого выполнения условия (29), назначив и, учитывая, что eGL>>1, запишем для второго приближения G2 безразмерное равенство, следующее из (30) при безразмерных G2 и L Откуда при L=10 требуемое значение Оценим максимальную выходную интенсивность Jmax γ-излучения канала усиления в рамках принятых значений физических параметров канала и материала активной среды на основе радионуклида подставляя численные значения, получаем с суммарной энергией за импульс длительностью Инициирование однопроходного когерентного гамма-излучения в описываемом устройстве (фиг. 4) строится на принципах генерации спинового или фотонного эха в магнитно напряженной среде, представленных в общих чертах в [52, 53]. Предлагаемый способ с помощью описываемого устройства (фиг. 3) реализуется следующим образом. Полый диэлектрический цилиндр 6 заполняют материалом активной среды 7, представляющим собой бета-распадный радионуклид. Снаряженную таким образом кассету, состоящую из цилиндра 6 и активного материала 7, устанавливают внутрь соленоида 1 вдоль его оси. Включают источник 2 электропитания и создают внутри соленоида 1 сильное однородное магнитное поле Н0. Оставляют материал активной среды 7 в магнитном поле Н0 в покое в течение времени, необходимого для создания в результате бета-распада материнских ядер достаточной инверсии заселенности рабочего промежуточного уровня энергии дочерних ядер. Затем включают источник 4 радиочастотных сигналов. Подавая с источника 4 в открытые полосковые полеобразующие системы 3 через симметрирующее устройство 5 противофазные радиоимпульсы, инжектируют радиоимпульсы поперечного магнитного поля Н1х в материал активной среды 7 в следующей последовательности: - подают π/2-радиоимпульс поперечного магнитного поля Н1х малой амплитуды, удовлетворяющий условиям где tи - длительность импульса; где при этом магнитные моменты дочерних ядер верхних и нижних подуровней рабочего уровня энергии к концу действия этого импульса окажутся в плоскостях, компланарных поперечной плоскости xy, прецессируя вокруг продольной оси z; причем в то время, когда магнитные моменты ядер находятся в плоскости xy, ядра имеют минимальную энергетическую связь с продольным силовым магнитным полем Н0, направленным по оси z, и их магнитное квантовое число m равно нулю; - после окончания действия π/2-радиоимпульса поперечного магнитного х-возбуждения следует четвертьпериод фазовой релаксации Δt1=π/4Δω, во время которого система секторно локализованных (условно в плоскости xy) магнитных моментов, соответствующих верхним и нижним исходным подуровням энергии и вращающихся теперь в плоскостях, компланарных плоскости xy, из-за разницы в частотах прецессий (ω0-Δω)←ω0→(ω0+Δω) начнет разбегаться, стремясь равномерно заполнить всю плоскость вращения xy, причем веерообразное разбегание моментов из первой условной полуплоскости, ограниченной осью х, во вторую и наоборот будет происходить как по часовой, так и против часовой стрелки; - по истечении интервала времени Δt1 с момента начала фазовой релаксации подают π-радиоимпульс поперечного магнитного поля Н1х малой амплитуды, зеркально обращающий магнитные моменты, находящиеся в противоположных полуплоскостях, ограниченных осью х, плоскости xy относительно плоскости xz; - после окончания действия π-радиоимпульса поперечного магнитного х-возбуждения следует интервал времени Δt2=π/2Δω, равный полупериоду фазовой релаксации, во время которого магнитные моменты ядер, продолжая свое круговое движение вокруг оси z, теперь, однако, после обращения вокруг оси x поменяют направление своего вращения на противоположенное и, разделившись за время Δt1 на две условные секторные половины, будут двигаться в своих условных полуплоскостях, ограниченных осью x навстречу друг другу, постепенно собираясь вокруг тех магнитных моментов, которые направлены в одной из этих полуплоскостей по оси у, а в другой по оси -y и обладающих круговой частотой вращения - по истечении интервала времени Δt2 в момент достижения максимума результирующими магнитными моментами подсистем My и -My подают короткий радиоимпульс поперечного магнитного поля Н1х большой амплитуды, который, быстро поворачивая результирующие векторы магнитных моментов ядер My и -My вокруг оси x, создает в области малых значений возникающего при этом повороте магнитного момента Mzзначительную величину производной dMz/dt, стимулируя (благодаря своей величине) гамма-излучение рабочего перехода в условиях минимальной отдачи ядер, т.е. в режиме излучения из резонансной плоскости xy когерентных гамма-квантов в очень узкой спектральной полосе; - на выходе устройства в процессе действия мощного короткого стимулирующего радиоимпульса поперечного магнитного х-возбуждения формируется ультракороткий гамма-импульс с узкой диаграммой излучения, обусловленной аксиальной геометрией системы и соосностью образца материала активной среды 7 и соленоида 1. Согласующие нагрузки 8 поглощают оставшуюся после прохождения вдоль зоны расположения материала активной среды 7 энергию радиоимпульсов поперечного возбуждения. Заглушка 9 перехватывает не отвечающее заданной диаграмме гамма-излучение, направленное в противоположенную выходу устройства сторону. При необходимости улучшения выходных параметров предлагаемого устройства посредством уменьшения, например, доплеровского уширения спектральной линии гамма-излучения и стабилизации сверхтонкой структуры системы квантовых подуровней ядер материал активной среды может быть охлажден до температуры жидкого азота или гелия или еще ниже. Для обеспечения соответствующего уровня поперечного возбуждения в проводящих материалах активной среды необходимо учитывать поверхностный электромагнитный эффект. С учетом скин-эффекта глубина проникновения электромагнитного поля в проводник на характерных частотах прецессии ядер Таким образом, предлагаемый способ создания инверсной заселенности ядерных уровней в материале активной среды и инициирования однопроходного когерентного гамма-излучения обеспечивает повышение эффективности использования материала активной среды для генерации однопроходного когерентного гамма-излучения. Литература 1. Элтон Р. Рентгеновские лазеры. М.: "Мир", 1994, стр. 265. 2. Ноу G.R. Gamma-ray laser, induced gamma emission and method. Патент США №7425706 от 16.09.2008. 3. Петрик В.И. Способ создания инверсной заселенности ядерных уровней в материале активной среды гамма-лазера. Патент РФ №2074469 от 27.02.1997. 4. Мухин К.Н. Экспериментальная ядерная физика. Том 1. М.: "Энергоатомиздат", 1983, стр. 256. 5. Мухин К.Н. Экспериментальная ядерная физика. Том 1. М.: "Энергоатомиздат", 1983, стр. 252. 6. Блейкмор Дж. Физика твердого тела. М.: "Мир", 1988, стр. 158-167. 7. Киттель Ч. Введение в физику твердого тела. М.: "Наука", 1978, стр. 158. 8. Физические величины. Справочник. М.: "Энергоатомиздат", 1991, стр. 99. 9. Схемы распада радионуклидов. Энергия и интенсивность излучения. Часть 2, кн. 1. М.: "Энергоатомиздат", 1987, стр. 396-401. 10. Элтон Р. Рентгеновские лазеры. М.: "Мир", 1994, стр. 225. 11. Схемы распада радионуклидов. Энергия и интенсивность излучения. Часть 2, кн. 2. М.: "Энергоатомиздат", 1987, стр. 178-181. 12. Мухин К.Н. Экспериментальная ядерная физика. Том. 1. М.: "Энергоатомиздат", 1983, стр. 70. 13. Схемы распада радионуклидов. Энергия и интенсивность излучения. Часть 2, кн. 2. М.: "Энергоатомиздат", 1987, стр. 190. 14. Ландау Л.Д., Лифшиц Е.М. Статическая физика. Часть 1. М.: "Наука", 1976, стр. 130-132. 15. Физические величины. Справочник. М.: "Энергоатомиздат", 1991, стр. 1051. 16. Широков Ю.М., Юдин Н.П. Ядерная физика. М.: "Наука", 1972, стр. 228-230. 17. Мухин К.Н. Экспериментальная физика. Том 1. М.: "Энергоатомиздат", 1983, стр. 198. 18. Мухин К.Н. Экспериментальная физика. Том 1. М.: "Энергоатомиздат", 1983, стр. 214. 19. Блатт Дж., Вайскоиф В. Теоретическая ядерная физика. М.: ИЛ, 1954, стр. 465. 20. Блатт Дж., Вайскоиф В. Теоретическая ядерная физика. М.: ИЛ, 1954, стр. 455. 21. Мухин К.Н. Экспериментальная физика. Том 1. М.: "Энергоатомиздат", 1983, стр. 236-238. 22. Яворский Б.М., Детлаф А.А. Справочник по физике. М.: "Наука", 1985, стр. 225-226. 23. Яворский Б.М., Детлаф А.А. Справочник по физике. М.: "Наука", 1985, стр. 435. 24. Яворский Б.М., Детлаф А.А. Справочник по физике. М.: "Наука", 1985, стр. 51. 25. Шен И.Р. Принципы нелинейной оптики. М.: "Наука", 1989, стр. 362-363. 26. Лёше А. Ядерная индукция. М.: ИЛ, 1963, стр. 52. 27. Лёше А. Ядерная индукция. М.: ИЛ, 1963, стр. 53. 28. Лёше А. Ядерная индукция. М.: ИЛ, 1963, стр. 76-78. 29. Лёше А. Ядерная индукция. М.: ИЛ, 1963, стр. 55, 90-95. 30. Лёше А. Ядерная индукция. М.: ИЛ, 1963, стр. 61. 31. Лёше А. Ядерная индукция. М.: ИЛ, 1963, стр. 63. 32. Лёше А. Ядерная индукция. М.: ИЛ, 1963, стр. 483. 33. Физические величины. Справочник. М.: "Энергоатомиздат", 1991, стр. 1184. 34. Лёше А. Ядерная индукция. М.: ИЛ, 1963, стр. 503. 35. Лёше А. Ядерная индукция. М.: ИЛ, 1963, стр. 238. 36. Лёше А. Ядерная индукция. М.: ИЛ, 1963, стр. 239. 37. Лёше А. Ядерная индукция. М.: ИЛ, 1963, стр. 245. 38. Лёше А. Ядерная индукция. М.: ИЛ, 1963, стр. 457. 39. Лёше А. Ядерная индукция. М.: ИЛ, 1963, стр. 459. 40. Лёше А. Ядерная индукция. М.: ИЛ, 1963, стр. 463. 41. Схемы распада радионуклидов. Энергия и интенсивность излучения. Часть 2, кн. 2. М.: "Энергоатомиздат", 1987, стр. 107-110. 42. Мухин К.Н. Экспериментальная физика. Том 1. М.: "Энергоатомиздат", 1983, стр. 164. 43. Блейкмор Дж. Физика твердого тела. М.: "Мир", 1988, стр. 166. 44. Шен И.Р. Принципы нелинейной оптики. М.: "Наука", 1989, стр. 386. 45. Мухин К.Н. Экспериментальная физика. Том 1. М.: "Энергоатомиздат", 1983, стр. 246. 46. Киттель Ч. Введение в физику твердого тела. М.: "Наука", 1978, стр. 55. 47. Шен И.Р. Принципы нелинейной оптики. М.: "Наука", 1989, стр. 387. 48. Элтон Р. Рентгеновские лазеры. М.: "Мир", 1994, стр. 35. 49. Элтон Р. Рентгеновские лазеры. М.: "Мир", 1994, стр. 36-37. 50. Мухин К.Н. Экспериментальная физика. Том 1. М.: "Энергоатомиздат", 1983, стр. 248. 51. Кимель Л.Р., Машкович В.П. Защита от ионизирующих излучений. М.: "Атомиздат", 1966, стр. 77. 52. Лёше А. Ядерная индукция. М.: ИЛ, 1963, стр. 117-118. 53. Шен И.Р. Принципы нелинейной оптики. М.: "Наука", 1989, стр. 369-370. 54. Киттель Ч. Введение в физику твердого тела. М.: "Наука", 1978, стр. 272. - среднее значение энергии отдачи для связанного ядра;
, - кинетическая энергия свободного ядра;
имеем
.
, зависящая от его констант упругости, может быть определена в соответствии с общепринятой формулой [6]
, - приведенная постоянная Планка;
- средняя скорость упругих волн в кристалле Os;
- модуль упругости Os;
и удельному весу
средняя скорость упругих волн в гексагональном кристалле осмия равна
..
в дочернее ядро осмия
, вероятность перехода γ16 (с уровня 257 кэВ на уровень 101 кэВ) ядра
через K и L1 - электронные уровни составляет в сумме у(се - K1L1)=3,9·10-3 с-1 на один распад иридия
. В то же время вероятность выхода γ-излучения с энергией квантов Е(γ16)=156 кэВ с учетом замечания, сделанного в [9], относительно того, что все явно в численном виде не представленные там γ-переходы ядра (в том числе и γ16) по своему вкладу в суммарное γ-излучение не превышают 0,1%, можно считать
,
, ядер
только
смогут принять участие в процессе формирования стимулированного излучения γ-квантов с энергией 156 кэВ.
во внешнем сильном однородном магнитном поле напряженностью Н0, а на фиг. 2 - условная схема бета-распада ядра вида X(A,Z)→Y(A,Z-1) через промежуточные возбужденные уровни энергии, например Е1 и Е2.
,
- векторы квантово-механического момента ядра и внешнего магнитного поля соответственно;
- ядерное гиромагнитное отношение;
в сильном однородном магнитном поле
; ядра
на направление вектора магнитного поля
;
,
, - величина неоднородного уширения спектра прецессирующих дочерних ядер;
- средняя круговая частота процессии дочерних ядер в сильном не идеально однородном магнитном поле Н0, с частотой заполнения ω0, равной средней частоте прецессии
дочерних ядер;
; при этом два результирующих момента Мy и -Мy будут расти, стремясь к своим максимальным значениям; в максимуме результирующих моментов индивидуально сфазированные две подсистемы спинов получают возможность излучать в противоположенные стороны - каждая как самостоятельное целое, т.к. в этот момент для каждой из подсистем обеспечивается выполнение условия когерентного излучения (r=IN>>m);
. На основании данных [11] полоний
испытывает распад вследствие захвата электрона (в основном с K и L электронных уровней) или испускания позитрона.
сильное однородное поле
такое, что энергия его взаимодействия с электронными оболочками атомов
много больше энергии взаимодействия электронных оболочек с магнитными моментами их ядер [12]
,
- полный магнитный момент электронов и магнитный момент ядра
соответственно; - магнитное поле, создаваемое электронами атома Ро.
и He≈106 Э (µN, МB - ядерный и электронный магнетоны соответственно), из (2) для величины внешнего однородного магнитного поля получаем
связь магнитного момента ядра с магнитным полем электронов
нарушается, и магнитные моменты электронной оболочки
и ядра
ориентируются относительно внешнего магнитного поля
независимо друг от друга в соответствии с собственным квантово-механическими моментами и
.
с внешним магнитным полем
определяется скалярным произведением
,
с произвольными направлениями после наложения на нее магнитного поля
, удовлетворяющего по величине условию (3), начинают различаться в зависимости от взаимной ориентации и
, образуя сверхтонкую структуру энергетических подуровней. Как известно из квантовой механики, количество проекций вектора квантово-механического момента ядра
на внешнее магнитное поле
ограничено, дискретно и равно (2I+1), где I - положительное целое или полуцелое число, которым выражается квантово-механический момент ядра (спин) через приведенную постоянную Планка
, причем модуль вектора равен
.
в основном (невозбужденном) состоянии имеет спин I=5/2 и четность Р=-1. Это означает, что все ядра
, находящиеся под действием поля
, распределятся в пространстве по 6-ти разрешенным ориентациям вектора
, имеющим проекции из следующего ряда
расщепляется на 6 подуровней, снимая кратность его вырождения.
, где
, c - средняя скорость микрочастиц, колеблющихся вокруг своего положения равновесия в кристалле, и скорость света в свободном пространстве соответственно, определяется формулой
,
имеем λБ≈2·10-12 м, что с учетом оценки d отвечает выполнению критерия (4) и следовательно правомерности использования статистики Больцмана при количественной оценке распределения ядер
по энергетическим подуровням.
,
.
в основном состоянии по данным [15] имеет величину
.
, исходя из условия (3), принимаем равным Н0=104 Э.
выражается в общепринятых единицах
.
,
в каждом состоянии в подсистеме равно
.
, распределение ядер по энергетическим состояниям-подуровням будет равномерным - постоянная β-распада;
по справочным данным [11] период полураспада и соответственно его постоянная равны мин и τβ=350/ln2≈500 мин, а численное значение интегральной функции f(Eβ,Z), оцениваемое суммой вероятностей выхода всего спектра γ-излучения и конверсионных электронов на один β-распад ядер
, имеет величину
,
.
относятся к переходам нормально разрешенным.
является электронный захват, а вероятность позитронного канала распада в сравнении с электронным захватом мала (yβ+≈5·10-3 с-1). Это позволяет упростить поиск предполагаемого рабочего уровня, пригодного для формирования активной среды, среди общей картины возбуждения промежуточных энергетических уровней дочерних ядер
.
выделим промежуточный уровень, в общем вероятностном потоке β-превращений заполняемый с наибольшей вероятностью.
из своего начального состояния со спином I=5/2 и четностью Р=-1 являются возбужденные разновероятные состояния дочерних ядер
в диапазоне энергий от Е1=0,66 МэВ до Е15=2,4 МэВ. Спины этих промежуточных состояний имеют значения от 3/2 до 7/2. При этом заведомо менее вероятные состояния, отвечающие β-переходам с изменением четности, с уровнями энергий возбуждения ядер
Е13=2,0 МэВ и Е15=2,4 МэВ, обусловленные электронными захватами ЕС2 и ЕС1 соответственно, составляют примерно пятую часть всех переходов исходных ядер 
.
совершаются на промежуточные уровни Е2=0,74 МэВ и Е4=0,99 МэВ после электронных захватов ЕС4 и ЕС3 соответственно и доминируют над остальными, составляя четыре пятых всех переходов исходных ядер 
.
после наложения на исходную систему материнских ядер
однородного магнитного поля напряженностью Н0 остается неизменной. Однако в силу появления у ядер в магнитном поле Н0 дополнительной квантовой характеристики - проекции спина
для части материнских ядер
β-переходы будут осуществляться с большими вероятностями.
относятся те, которые в результате β-перехода выходят на промежуточные уровни
со спином 5/2 и четностью - 1. Среди возбужденных состояний дочерних ядер
имеются три промежуточных энергетических уровня с требуемыми квантовыми характеристиками: Е5=1,1 МэВ, Е8=1,3 МэВ и Е11=1,7 МэВ. Из них уровни Е8 и Е11 можно не принимать в расчет, поскольку вероятности их реализации много меньше, чем уровня Е5
.
, приемлемого для формирования активной среды гамма-лазера, больше других подходит уровень Е5.
позволяет считать, что за среднее время β-перехода (τβ≈500 мин), а также в предположении метастабильности уровня Е5, рабочий энергетический уровень дочернего ядра по аналогии с начальным уровнем материнского успевает в процессе пространственного квантования дочерних ядер в магнитном поле Н0 расщепиться на подуровни.
на соответствующие подуровни уровня Е5 дочерних ядер
остаются неизменными. Это дает возможность отнести данные β-переходы к фермиевским [18], совершающимся с максимальной вероятностью. Как уже отмечалось в [16, 17], максимальная вероятность по факту соответствует β-переходам, для которых значение lg(f·τβ)≈3. При неизменности энергетического спектра β-распада - в случае электронного захвата в качестве опорного может рассматриваться спектр сопровождающих захват электронных нейтрино, вылетающих из материнского ядра - функция f в произведении f·τβ также постоянна. Следовательно, в условиях, реализуемых для β-переходов на уровень Е5 ядер
, изменение величины lg(f·τβ) связано с изменением постоянной времени рассматриваемого канала β-распада. Отмечаемое здесь уменьшение величины lg(f·τβ) со значения ≈4,6 характерного для β-распада ядер
в невозмущенном состоянии, до значения ≈3, соответствующего β-распаду ядер
на уровень Е5 ядер
в магнитном поле Н0, означает уменьшение постоянной распада τβ(Е5) и ускорении распада соответствующих материнских ядер
примерно в 40 раз.
в магнитном поле Н0 имеем ветви с различными постоянными распада ядер 
для обычных нормально разрешенных β-переходов;
для ускоренных сверхразрешенных β-переходов.
уровня
дочерних ядер
, устанавливающуюся к моменту времени t в процессе β-распада материнских ядер
, можно предварительно - в предположении, что время жизни уровня
велико
- оценивать из выражения
- исходное количество ядер
;
- суммарная (подсчитанная по всем возможным гамма- и конверсионным переходам) вероятность реализации уровня
ядер
при β-распаде ядер
.
заселенность уровня Е5 составляет
, а к моменту
.
может быть проведена, если обратиться к формулам Вайскопфа [19] для вероятностей излучения электрического и магнитного мультиполей YE и YM, полученным на основе одночастичной модели ядра
и
- электрический и магнитный мультипольные моменты соответственно;
и
- электрический и магнитный моменты, обусловленные намагничиванием системы;
;
- волновое число;
осуществляются на уровни Е2 и Е0
,
,
,
,
,
,
- ядерный магнетон;
- собственный (внутренний) электрический квадрупольный момент ядра, отнесенный к единичному заряду 4,8·10-10 СГСЭ.
,
при его β-переходе в ядро
. Этот вывод подтверждает также смена знака электрического квадруполя с положительного на отрицательный, что говорит о приобретаемой в распределении заряда дочернего ядра поперечной направлению спина эллипсности. Тогда в соответствии с магнитным характером диполя (Е5-γ21) и его набором квантовых чисел l=lM=1 вычислим значение YM(γ21) из (7), предположив, что магнитные моменты различных состояний ядра
соотносятся друг с другом так же, как их квантово-механические моменты, после чего допустимо считать
.
, наведенное внешним магнитным полем Н0, аналогично прецессирующим электронам, определим через прецессию момента
вокруг направления
, руководствуясь изложенным в [22]. Согласно [22] вектор
направлен встречно вектору
и по величине в единицах СГС равен
в единичных зарядах;
- Ларморова круговая частота прецессии ядер
вокруг
;
- гиромагнитное отношение магнитного и механического моментов ядер
;
- проекция эффективной площади спинового тока ядра
на плоскость, перпендикулярную направлению
.
можно выразить через электрический момент
, используя соотношение [23]
.
а>b, выражение для оценки
приобретает вид
его выражением (11), получаем
, то с учетом (12) справедливо также
вокруг собственной оси (спиновая частота). Т.е. выполняется
, что, как известно из динамики вращательного движения [24], свидетельствует об устойчивом псевдорегулярном характере прецессии ядер
, охваченных магнитным полем H0.
, равную
,
.
,
.
.
ядер
), как псевдодиполя, на приложенное извне возмущающее поле описывается уравнением Лиувилля [25], которое идентично уравнению Блоха для магнитного резонанса ядерного магнитного диполя, т.е. двухуровневую систему можно рассматривать как псевдоспиновую. Излучение спиновой системы, отождествляемой с магнитным псевдодиполем, в случае приложенного извне стационарного магнитного поля Н0 может происходить только при изменении во времени составляющей магнитного момента прецессирующих элементов спиновой системы, направленной вдоль поля Н0, т.е. в процессе изменения угла прецессии спинов. Изменения угла прецессии отдельных ядерных спинов возможны как за счет взаимодействия между соседними ядерными моментами, так и за счет взаимодействия ядерных спинов с "решеткой", как следствие теплового движения [26]. При этом под "решеткой" понимают все другие степени свободы микрочастиц вещества, кроме спина.
зависит также от спин-спинового взаимодействия и от неоднородности поля Н0.
,
,
,
характеризует спин-спиновое взаимодействие.
можно связать с вероятностью
через свой весовой коэффициент
,
,
.
,
- полная намагниченность.
- компонента поперечной намагниченности, отвечающая за поглощение энергии возбуждения;
- коэффициент, характеризующий начальное (до появления поля H1) значение продольной намагниченности
.
- период нутации.
,
при стационарном возбуждении, для времени поперечной релаксации получаем ориентировочно T2≈TN/4π. Подставляя это ориентировочное соотношение между Т2 и TN, соответствующее некоторому приближению к максимально эффективному взаимодействию между возбуждающим полем H1 и системой прецессирующих спинов, в (14), для максимального значения относительного изменения δMZ получаем предельно простую оценку

- среднее значение для протонов в чистых жидкостях [34, табл. Г. 6],
, находим
.
раз. Система спиновых микрочастиц как бы "замораживается" в приложенном сильном однородном магнитном поле. Из этого следует, что при групповом взаимодействии ядер
в сильном однородном магнитном поле Н0=104 Э время жизни их возбужденного уровня Е5 заметно возрастает. Например, для перехода γ21 вместо
для изолированных ядер актуальное время жизни с учетом группового взаимодействия в рамках релаксационной теории составляет
.
.
,
- общая вероятность перехода.
- матричный элемент магнитного возмущения;
- оператор поперечной составляющей магнитного момента спиновой микрочастицы.
. (19)
.
в силу того, что Eγ>>EΔm, то для общей вероятности этого события справедливо
.
, инициированного сменой знака проекции магнитного момента при поперечном возбуждении H1 подуровня m=1/2 уровня Е5 и последующем переходе ядер
на подуровень m=-1/2 уровня Е5, имеем

представлен в виде порошка из кристаллитов, оценим величину функции g(ν), заменив в (21) квадрат отклонения от резонансной частоты (ν-ν0)2 на его среднее значение (второй момент) в жесткой решетке
. Второй момент можно вычислить из соотношения [38]
,
выражается через
,
- для простой кубической решетки материнского полония [39],
выходим на оценку второго момента для системы микрочастиц, состоящей из дочерних ядер 
.
,
, взятой для протонов в соответствии с [30].


,
на промежуточный возбужденный уровень Е5 ядер
с временем жизни уровня
показывает, что
,
из-за слишком быстрой спонтанной γ-разгрузки уровня Е5 ядер
.
. Из всех сомножителей, входящих в выражение (22) для
, заметно увеличить можно только Kреш и
. Коэффициент Kрешвозрастает до значения Kреш=69 для гранецентрированной решетки [40] с более плотной, чем у простой кубической решетки, упаковкой атомов, а гиромагнитное отношение
повышается в β+-распадном ряде радионуклидов у таллия до значения
[32].
с периодом полураспада метастабильного материнского свинца
Т1/2=15,8 мин [41].
, необходимый для вычисления вероятности γ-перехода ядер
с промежуточного возбужденного уровня Е1(3/2+)=0,38 МэВ на основной уровень Е0(1/2+), в соответствии с (22) численно равен
.
при той же, что и прежде, оценке времени поперечной релаксации
в соответствии с (21) принимает значение
,
в соответствии с (20) становится равной
.
, в сильном однородном магнитном поле стабилизирует ее электромагнитное состояние, увеличивая среднее время жизни промежуточного возбужденного метастабильного уровня E1 ядер
до перспективного значения
,
.
формируется в результате двух противоположных процессов:
, обусловливающего подпитку данного уровня;
, обусловливающего разгрузку данного уровня.
можно, воспользовавшись соотношением [42], при нулевых начальных условиях 

- результирующая постоянная β-распада пространственно квантованных ядер
на уровень E1 ядер
;
- постоянная β-распада ядер
на уровень E1 ядер
со всех других своих подуровней, кроме (±3/2+);
- постоянная сверхразрешенного β-распада ядер
на уровень Е1 ядер
с подуровней (±3/2+).
, а также что запитка уровня E1 дочерних ядер
осуществляется в основном только с двух подуровней материнских ядер
(±3/2+), выражение (23) преобразуется к виду
- общее количество подуровней, на которое расщепляется основной уровень ядер
(13/2+) в сильном однородном магнитном поле Н0.
заселенность уровня E1 составит
и находящейся в сильном однородном магнитном поле Н0, необходимо рассмотреть следующее.
при излучении (или поглощении) γ-кванта с уровня En может быть уменьшена ее перераспределением между соседними ядрами, охваченными фотонным механизмом взаимодействия.
,
- период поперечной релаксации,
,
,
- нормированная поперечная компонента магнитного момента ядра;
;
,
принимается равной
.
, охваченных сильным однородным магнитным полем Н0, т.е. в продольно напряженной ядерной среде 
,
с энергией
имеет период полураспада
. Поскольку и в этом случае и при распаде уровня
γ-квант уносит один и тот же момент количества движения ΔI=1, то в соответствии с (7) можно считать, что длительность непосредственно акта излучения
(γ6, 383 кэВ) с уровня
будет примерно равна
.
, успеет пробежать расстояние
.
, провзаимодействовавших с направленной волной фотонного возбуждения за время излучения γ-кванта, будет приблизительно равно
.
в этом случае составит
и дебаевской температуры материнского свинца [43]
в выражение (1) для фактора Дебая-Уоллера, находим fD≈0,4.
, излучающих с уровня
резонансно - без отдачи, выделяемых из общего количества ядер, находящихся на уровне E1, с помощью фактора Дебая-Уоллера, необходимо также определить количество ядер
, которые теряют энергию возбуждения промежуточного уровня
, передавая ее атомным электронам. В соответствии с данными [41] суммарная вероятность внутренней конверсии энергии уровня
через собственные электронные переходы атома равна
,
.
определяется исходя из соотношения
.
, равному постоянной времени ускоренного β-распада ядер
в магнитном поле Н0, "резонансная" заселенность
уровня
составит
.
верхнего уровня энергии
по отношению к нижнему уровню энергии
γ-перехода γ6 обусловливается разностью между заселенностями этих уровней с учетом их вырождения
,
и
- коэффициенты вырождения соответствующих уровней энергии.
,
.
с проекцией спина I=3/2+ на уровень E1 дочерних ядер
, обладающий теми же спином и четностью, то до момента начала процесса излучения γ-квантов с этого уровня можно положить
и считать
,
3·103 дочерних ядер
смогут принять участие в формировании резонансного стимулированного излучения гамма-квантов с энергией 383 кэВ, т.е. в предлагаемом способе на три порядка эффективнее используется материал активной среды.

.
, необходимо стимулировать переходы вообще всех микрочастиц в системе. Этого можно достичь, обеспечив режим условного избыточного усиления, приводящего к насыщению потока излучения на каждом элементе канала усиления общей длиной L, удовлетворив неравенству


- удельная "резонансная" инверсная заселенность соответствующего уровня энергии;

;
,
- доплеровское уширение при нормальной температуре в соответствии с [50], принимаемое в качестве максимально возможного уширения, вызванного взаимодействием ядер
;


.
,
[46] - концентрация атомов материнского свинца
.
,
с известным в пассивной среде свинца линейным коэффициентом, равным 2,5 см-1 [51], в материале активной среды не происходит, все же существует некоторая вероятность выбывания резонансных γ-квантов из потока не резонансным способом. Поэтому поднять условный потолок коэффициента усиления до более высокого уровня было бы желательно.
и (или) температуры окружающей среды Т. Понижение температуры окружающей среды является известной общетехнической возможностью обеспечить приемлемую работоспособность устройств мессбауэрского типа, поэтому в рассматриваемом случае необходимо приоритетно использовать первую возможность, относящуюся к специфике предлагаемого устройства.
через выражение (26) для продольной скорости распространения поперечного радиоимпульса возбуждения материала активной среды связана дисперсионным соотношением с частотой ω в спектре этого радиоимпульса длительностью τи
,
,
, то для ωхар имеем
.
и несоизмеримо превышает
t, зависимость G от частоты в этой части спектра отсутствует. Вместе с тем, эта зависимость на частотах нижней части спектра вблизи
практически линейна.
,
.
равно 0,8. При этом амплитуда радиоимпульса поперечного магнитного поля возбуждения материала активной среды H1max, обеспечивающая этот коэффициент усиления, равна
.
. Для этого будем считать, что первый (инициирующий) единичный элемент канала усиления длиной 1 см осуществляет эмиссию γ-излучения спонтанно и квазиизотропно. Тогда в контексте изложенного выше получим
,

.
,
,
- величина неоднородного уширения спектра прецессирующих дочерних ядер;
- средняя круговая частота процессии дочерних ядер в сильном не идеально однородном магнитном поле Н0, с частотой заполнения ω0, равной средней частоте прецессии
дочерних ядер;
; при этом два результирующих момента My и -My будут расти, стремясь к своим максимальным значениям; в максимуме результирующих моментов индивидуально сфазированные две подсистемы спинов получают возможность излучать в противоположенные стороны - каждая как самостоятельное целое, т.к. в этот момент для каждой из подсистем обеспечивается выполнение условия когерентного излучения (r=IN>>m);
при удельной проводимости, соответствующей, например, свинцу, равной σPb=0,48·107 См/м [54], и магнитной проницаемости µ=µ0 составляет δs≈0,5·10-4 м, что предъявляет к материалу активной среды агрегатные требования: он должен представлять собой порошок из кристаллитов с размером частиц не более δs либо быть изготовлен в виде пакета пластин соответствующей толщины.