патент
№ RU 2582879
МПК H03B7/14

ГЕНЕРАТОР СВЧ

Авторы:
Савельева Людмила Геннадьевна Балыко Александр Карпович Мякиньков Виталий Юрьевич
Все (4)
Номер заявки
2015119049/08
Дата подачи заявки
20.05.2015
Опубликовано
27.04.2016
Страна
RU
Как управлять
интеллектуальной собственностью
Чертежи 
2
Реферат

Изобретение относится к электронной технике, к генераторам СВЧ на транзисторе с электронной перестройкой частоты напряжением и может быть использовано в системах связи и радиолокационных станциях. Достигаемый технический результат - расширение диапазона перестройки частоты при сохранении линейного закона перестройки частоты от управляющего напряжения и уровня выходной мощности. Генератор СВЧ содержит линию передачи, четыре полевых транзистора с барьером Шотки, семь индуктивностей, разделительную емкость, источник постоянного напряжения, при этом первый полевой транзистор с барьером Шотки управляется напряжением. Генератор СВЧ может быть выполнен в монолитном интегральном исполнении. 3 ил.

Формула изобретения

Генератор СВЧ, содержащий линию передачи на выходе, по меньшей мере, два полевых транзистора с барьером Шотки, один из которых управляемый напряжением, по меньшей мере, две индуктивности и разделительную емкость, при этом один конец первой индуктивности соединен со стоком первого полевого транзистора с барьером Шотки, на затвор которого подают постоянное управляющее напряжение, а другой - с затвором второго полевого транзистора с барьером Шотки, на сток которого подают постоянное напряжение положительной полярности через вторую индуктивность, линия передачи на выходе соединена с одним концом разделительной емкости, отличающийся тем, что в генератор дополнительно введены два полевых транзистора с барьером Шотки - третий и четвертый, пять индуктивностей - третья, четвертая, пятая, шестая, седьмая соответственно, при этом сток второго полевого транзистора с барьером Шотки соединен через третью индуктивность со стоком третьего полевого транзистора с барьером Шотки, сток третьего полевого транзистора с барьером Шотки соединен через четвертую индуктивность со стоком четвертого полевого транзистора с барьером Шотки, сток четвертого полевого транзистора с барьером Шотки соединен с другим концом разделительной емкости, исток второго полевого транзистора с барьером Шотки соединен с затвором третьего полевого транзистора с барьером Шотки, исток третьего полевого транзистора с барьером Шотки соединен с затвором четвертого полевого транзистора с барьером Шотки, истоки всех четырех полевых транзисторов с барьером Шотки заземлены, при этом исток первого полевого транзистора с барьером Шотки - через пятую индуктивность, общая точка соединения истока второго и затвора третьего полевых транзисторов с барьером Шотки - через шестую индуктивность, общая точка соединения истока третьего и затвора четвертого полевых транзисторов с барьером Шотки - через седьмую индуктивность.

Описание

[1]

Изобретение относится к электронной технике, а именно к генераторам СВЧ на транзисторе с электрической перестройкой частоты напряжением, и может быть использовано в системах связи и радиолокационных станциях.

[2]

Известен генератор СВЧ, управляемый напряжением, содержащий полевой транзистор с затвором в виде барьера Шотки, выполненный из полупроводникового материала арсенида галлия, соединенные с ним колебательную систему и полупроводниковый прибор, управляемый напряжением, при этом полевой транзистор соединен по схеме с общим истоком, один конец колебательной системы соединен с затвором полевого транзистора, а другой - с полупроводниковым прибором, управляемым напряжением, в качестве которого используют варакторный диод [1, стр. 193].

[3]

Использование в этом генераторе СВЧ в качестве активного прибора полевого транзистора с затвором в виде барьера Шотки, выполненного из полупроводникового материала арсенида галлия, который обладает высокой подвижностью электронов позволило существенно увеличить нижний предел диапазона перестройки частоты.

[4]

Однако данный генератор СВЧ, поскольку варакторный диод обладает ограниченным интервалом изменения управляющего напряжения, не обеспечивает широкий диапазон перестройки частоты.

[5]

Кроме того, поскольку полевой транзистор с затвором в виде барьера Шотки и варакторный диод выполняются из различных полупроводниковых материалов раздельно, исключается возможность выполнения генератора СВЧ в монолитном интегральном исполнении.

[6]

Известен генератор СВЧ, управляемый напряжением, содержащий полевой транзистор с барьером Шотки, соединенные с ним колебательную систему и полупроводниковый прибор, управляемый напряжением, при этом полевой транзистор с барьером Шотки соединен по схеме активного прибора с общим истоком, один конец колебательной системы соединен с затвором полевого транзистора с барьером Шотки, а другой - с полупроводниковым прибором, управляемым напряжением, в котором с целью достижения линейного закона перестройки частоты от управляющего напряжения и увеличения верхнего предела диапазона перестройки частоты генератора СВЧ и возможности реализации генератора СВЧ как в гибридном интегральном, так и монолитном интегральном исполнении, в качестве полупроводникового прибора, управляемого напряжением, используют второй полевой транзистор с барьером Шотки, соединенный по схеме с общим истоком, при этом другой конец колебательной системы соединен со стоком второго полевого транзистора с барьером Шотки, на который подают постоянное напряжение положительной полярности, а на затвор второго полевого транзистора с барьером Шотки подают управляющее напряжение и постоянное напряжение отрицательной полярности.

[7]

Данный генератор СВЧ обеспечивает сохранение высокой величины нижнего предела диапазона перестройки частоты и возможность выполнения генератора в монолитном интегральном исполнении.

[8]

Однако данный генератор СВЧ, как и предыдущий, не обеспечивает существенного расширения диапазона перестройки частоты, поскольку последнее ограничивают внутренние емкости полевых транзисторов с барьером Шотки.

[9]

Техническим результатом изобретения является расширение диапазона перестройки частоты при сохранении линейного закона перестройки частоты от управляющего напряжения, уровня выходной мощности и возможности создания генератора в монолитном интегральном исполнении.

[10]

Указанный технический результат достигается заявленным генератором СВЧ, содержащим линию передачи на выходе, по меньшей мере, два полевых транзистора с барьером Шотки, один из которых управляемый напряжением, по меньшей мере, две индуктивности и разделительную емкость, при этом один конец первой индуктивности соединен со стоком первого полевого транзистора с барьером Шотки, на затвор которого подают постоянное управляющее напряжение, а другой - с затвором второго полевого транзистора с барьером Шотки, на сток которого подают постоянное напряжение положительной полярности через вторую индуктивность, линия передачи на выходе соединена с одним концом разделительной емкости.

[11]

В генератор дополнительно введены два полевых транзистора с барьером Шотки - третий и четвертый, пять индуктивностей - третья, четвертая, пятая, шестая, седьмая соответственно, при этом

[12]

- сток второго полевого транзистора с барьером Шотки соединен через третью индуктивность со стоком третьего полевого транзистора с барьером Шотки,

[13]

- сток третьего полевого транзистора с барьером Шотки соединен через четвертую индуктивность со стоком четвертого полевого транзистора с барьером Шотки,

[14]

- сток четвертого полевого транзистора с барьером Шотки соединен с другим концом разделительной емкости,

[15]

- исток второго полевого транзистора с барьером Шотки соединен с затвором третьего полевого транзистора с барьером Шотки,

[16]

- исток третьего полевого транзистора с барьером Шотки соединен с затвором четвертого полевого транзистора с барьером Шотки,

[17]

- истоки всех четырех полевых транзисторов с барьером Шотки заземлены, при этом исток первого полевого транзистора с барьером Шотки - через пятую индуктивность, общая точка соединения истока второго и затвора третьего полевых транзисторов с барьером Шотки - через шестую индуктивность, общая точка соединения истока третьего и затвора четвертого полевых транзисторов с барьером Шотки - через седьмую индуктивность.

[18]

Раскрытие сущности изобретения.

[19]

Совокупность существенных признаков заявленного генератора СВЧ, а именно:

[20]

- введение в генератор СВЧ дополнительно двух полевых транзисторов с барьером Шотки - третьего и четвертого, пяти индуктивностей - третьей, четвертой, пятой, шестой, седьмой соответственно и

[21]

- предложенное соединение элементов генератора СВЧ позволит:

[22]

Во-первых, исходя из того, что ширина диапазона перестройки частоты генератора СВЧ обратно пропорциональна величине емкости активного полупроводникового прибора, уменьшение, по меньшей мере, вдвое общей внутренней емкости всех четырех полевых транзисторов с барьером Шотки, и тем самым обеспечивает увеличение верхней границы рабочего диапазона частот и, как следствие - значительное расширение рабочего диапазона перестройки частоты генератора СВЧ.

[23]

Во-вторых, благодаря тому, что второй, третий и четвертый полевые транзисторы с барьером Шотки образуют единый активный элемент генератора СВЧ и в совокупности с предложенным соединением стоков этих полевых транзисторов с барьером Шотки через указанные индуктивности и в зависимости от оптимальной величины последних обеспечивают частичную либо полную компенсацию общей внутренней емкости этих трех полевых транзисторов с барьером Шотки, и тем самым дополнительно обеспечивают значительное уменьшение общей внутренней емкости полевых транзисторов с барьером Шотки, и тем самым - дополнительное увеличение верхней границы рабочего диапазона частот и достижение слабой зависимости от частоты внутреннего сопротивления и, как следствие - значительное расширение рабочего диапазона частот при сохранении линейного закона перестройки частоты от управляющего напряжения и уровня выходной мощности генератора СВЧ.

[24]

В-третьих, предложенное соединение

[25]

- стока второго полевого транзистора с барьером Шотки через третью индуктивность со стоком третьего полевого транзистора с барьером Шотки,

[26]

- стока третьего полевого транзистора с барьером Шотки через четвертую индуктивность со стоком четвертого полевого транзистора с барьером Шотки,

[27]

- стока четвертого полевого транзистора с барьером Шотки с другим концом разделительной емкости,

[28]

- истока второго полевого транзистора с барьером Шотки с затвором третьего полевого транзистора с барьером Шотки,

[29]

- истока третьего полевого транзистора с барьером Шотки с затвором четвертого полевого транзистора с барьером Шотки,

[30]

- и когда истоки всех четырех полевых транзисторов с барьером Шотки заземлены, при этом исток первого полевого транзистора с барьером Шотки - через пятую индуктивность, общая точка соединения истока второго и затвора третьего полевых транзисторов с барьером Шотки - через шестую индуктивность, общая точка соединения истока третьего и затвора четвертого полевых транзисторов с барьером Шотки - через седьмую индуктивность обеспечивает совместно с общей внутренней емкостью этих трех полевых транзисторов с барьером Шотки формирование в схеме генератора делителя напряжения из трех полевых транзисторов с барьером Шотки и, как результат этого - значительное увеличение верхней границы рабочего диапазона частот и достижение слабой зависимости от частоты внутреннего сопротивления и, как следствие - значительное расширение рабочего диапазона частот при сохранении линейного закона перестройки частоты от управляющего напряжения, уровня выходной мощности генератора СВЧ.

[31]

В-четвертых, наличие пятой индуктивности и заземление через нее истока первого полевого транзистора с барьером Шотки, управляемого напряжением, обеспечивает компенсацию внутренней емкости этого транзистора с барьером Шотки, и тем самым достижение слабой зависимости от частоты сопротивления и, как следствие - значительное расширение рабочего диапазона частот при сохранении линейного закона перестройки частоты от управляющего напряжения и уровня выходной мощности генератора СВЧ.

[32]

Более того, предложенная совокупность существенных признаков практически не влияет

[33]

во-первых, на величину общей внутренней емкости всех полевых транзисторов с барьером Шотки, которые определяют нижнюю границу рабочего диапазона частот и тем самым сохраняют ее неизменной;

[34]

во-вторых, на крутизну вольтамперных характеристик полевых транзисторов с барьером Шотки, и в силу этого обеспечивает сохранение уровня выходной мощности генератора СВЧ.

[35]

Итак, заявленная совокупность существенных признаков реализует указанный технический результат, а именно расширение диапазона перестройки частоты при сохранении линейного закона перестройки частоты от управляющего напряжения и уровня выходной мощности.

[36]

Изобретение поясняется чертежами.

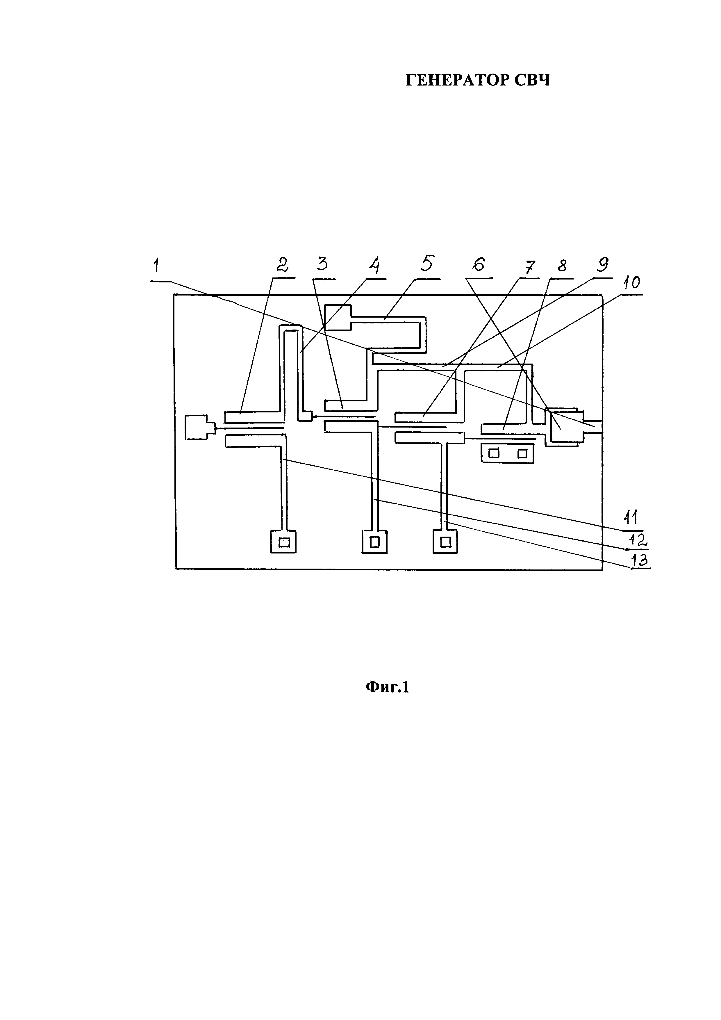
[37]

На фиг 1 дана топология заявленного генератора СВЧ, где:

[38]

- линия передачи на выходе - 1,

[39]

- первый и второй полевые транзисторы с барьером Шотки - 2 и 3 соответственно,

[40]

- первая и вторая индуктивности - 4 и 5,

[41]

- разделительная емкость - 6,

[42]

- третий и четвертый полевые транзисторы с барьером Шотки - 7 и 8 соответственно,

[43]

- третья, четвертая, пятая, шестая и седьмая индуктивности - 9, 10, 11, 12, 13 соответственно.

[44]

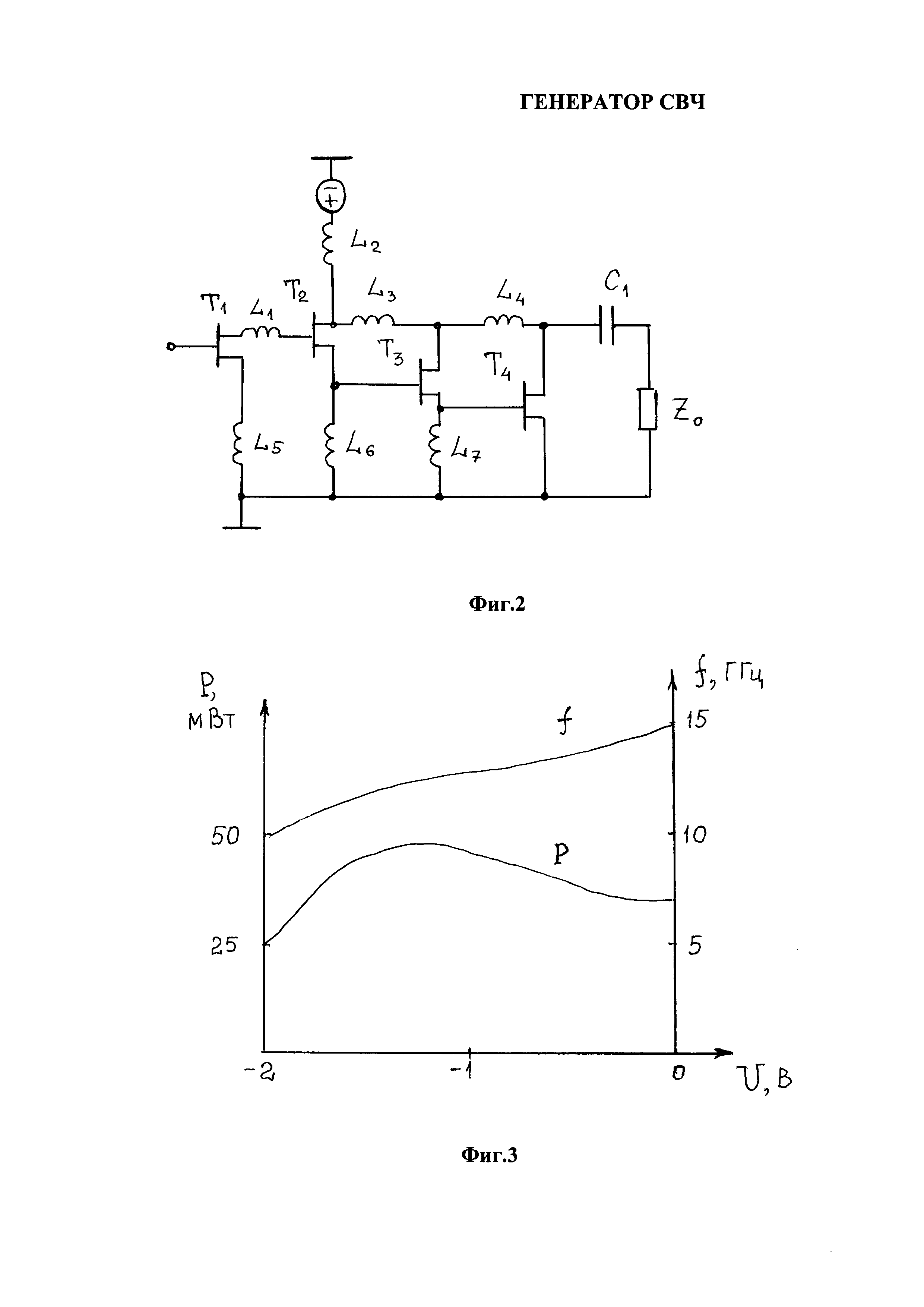
На фиг. 2 дана электрическая схема заявленного генератора СВЧ.

[45]

На фиг. 3 дана зависимость частоты и выходной мощности от управляющего напряжения.

[46]

Пример конкретного выполнения заявленного генератора СВЧ.

[47]

Генератор СВЧ выполнен в монолитном интегральном исполнении на полупроводниковой подложке из арсенида галлия толщиной 0,1 мм с использованием классической тонкопленочной технологии.

[48]

Линия передачи на выходе 1 выполнена с волновым сопротивлением 50 Ом, что соответствует ширине проводника 0,08 мм.

[49]

Полевые транзисторы с барьером Шотки 2, 3, 7, 8 выполнены каждый с длиной затвора 0,4 мкм, шириной затвора 300 мкм, одинаковыми длинами стока и истока 20 мкм, имеют напряжение отсечки Uотс -2,0 В.

[50]

Разделительная емкость 6 выполнена на основе окиси кремния толщиной 5 мкм.

[51]

Индуктивности 4, 5, 9, 10, 11, 12, 13 выполнены в виде меандров шириной 10 мкм и длинами 400 мкм, 500 мкм, 200 мкм, 100 мкм, 150 мкм, 300 мкм, 100 мкм соответственно.

[52]

Заявленный генератор СВЧ работает следующим образом.

[53]

На сток второго полевого транзистора с барьером Шотки 3 через вторую индуктивность 5 подают напряжение положительной полярности +6 В.

[54]

На затвор первого полевого транзистора с барьером Шотки 2 подают управляющее напряжение, изменяющееся от -2,0 В до +0 В.

[55]

Вследствие нелинейной вольтамперной характеристики у обоих полевых транзисторов с барьером Шотки 2 и 3 и наличия цепи обратной связи в генераторе возникнут устойчивые гармонические колебания СВЧ с частотой f, при этом энергия постоянного напряжения будет преобразовываться в энергию гармонических колебаний и выделяться на выходе генератора СВЧ 1 в виде переменного напряжения с частотой f. В результате на выходе линии передачи 1 генератора СВЧ переменное напряжение будет выделяться в виде выходной переменной мощности СВЧ, поскольку мощность пропорциональна квадрату напряжения.

[56]

Если изменять величину управляющего напряжения, то процессы в генераторе СВЧ будут протекать подобно описанным выше, при этом частота гармонических колебаний СВЧ f будет изменяться в рабочем диапазоне частот, а уровень выходной мощности практически не изменится.

[57]

На образцах заявленного генератора СВЧ были измерены зависимости величины частоты и выходной мощности от управляющего напряжения, изменяющегося в пределах от -2,0 В до +0 В.

[58]

Результаты представлены на фиг. 3.

[59]

Как видно из фиг. 3, частота f генератора СВЧ изменяется от 10 до 15 ГГц, так что диапазон перестройки генератора составляет 5 ГГц, что в 5 раз больше, чем у прототипа.

[60]

Минимальное значение выходной мощности Ρ генератора СВЧ составляет 25 мВт, что подтверждает сохранение уровня выходной мощности, максимальное ее значение не превышает 50 мВт, так, что перепад выходной мощности во всем диапазоне перестройки генератора не превышает 3 дБ, что является хорошим результатом для перестраиваемого генератора СВЧ.

[61]

Таким образом, заявленный генератор СВЧ по сравнению с прототипом обеспечит расширение диапазона перестройки частоты примерно в 5 раз при сохранении линейного закона перестройки частоты от управляющего напряжения, уровня выходной мощности и возможности создания генератора в монолитном интегральном исполнении.

[62]

Источники информации

[63]

1. Гассанов Л.Г., Липатов А.А., Марков В.В. Твердотельные устройства СВЧ в технике связи. - М.: Радио и связь, 1988.

[64]

2. Патент РФ №2277293, МПК H03B 7/14, приоритет от 05.10.2004, опубл. 27.05.2006 - прототип.

Как компенсировать расходы
на инновационную разработку
Похожие патенты