патент
№ RU 2663277
МПК G01K7/02

Способ крепления термопар

Авторы:
Супрунов Евгений Степанович
Номер заявки
2017112195
Дата подачи заявки
10.04.2017
Опубликовано
03.08.2018
Страна
RU
Как управлять
интеллектуальной собственностью
Чертежи 
2
Реферат

Изобретение относится к области измерения температуры с использованием термопар, а именно к способам крепления термопар к объектам, подверженным деформациям вследствие линейных расширений при высоких температурах и вибрационным воздействиям, например к корпусам летательных аппаратов. Гибкий корпус термопары жестко крепят вблизи точки измерения к неподвижным окружающим конструкциям, в теле испытуемого объекта в точке измерения выполняют глухое отверстие с фаской и дренажным каналом для отвода горячего воздуха из глухой полости точки измерения, горячий спай термопары вводят в указанное глухое отверстие, при этом размеры глухого отверстия и корпуса термопары в зоне горячего спая должны одновременно обеспечивать их касание и возможность взаимного перемещения при воздействии высокой температуры, вибрации, ударных и линейных нагрузок, а также при каких-либо смещениях тела испытуемого объекта относительно места крепления термопары. Технический результат - обеспечение измерения температуры динамически подвижных объектов. 3 ил.

Формула изобретения

Способ крепления термопар путем их размещения в теле испытуемого объекта, характеризующегося температурными деформациями и воздействием вибрационных нагрузок, отличающийся тем, что гибкий корпус термопары жестко крепят вблизи точки измерения к неподвижным окружающим конструкциям, в теле испытуемого объекта в точке измерения выполняют глухое отверстие с фаской и дренажным каналом для отвода горячего воздуха из глухой полости точки измерения, горячий спай термопары вводят в указанное глухое отверстие, при этом размеры глухого отверстия и корпуса термопары в зоне горячего спая должны одновременно обеспечивать их касание и возможность взаимного перемещения при воздействии высокой температуры, вибрации, ударных и линейных нагрузок, а также при каких-либо смещениях тела испытуемого объекта относительно места крепления термопары.

Описание

[1]

Изобретение относится к области измерения температуры с использованием термопар, а именно к способам крепления термопар к объектам, подверженным деформациям вследствие линейных расширений при высоких температурах и вибрационным воздействиям, например, к корпусам летательных аппаратов.

[2]

Условия, которые необходимо соблюдать при измерении температуры подобных объектов, следующие:

[3]

- максимальный тепловой контакт горячего спая с образцом;

[4]

- сохранение целостности и прочности образца;

[5]

- сохранение целостности и электрических характеристик термопары в процессе измерений.

[6]

Требуемые условия для закрепления термопар достигаются двумя путями. Первый путь - это механическое прижатие термопары к поверхности образца [1. Авт. св. SU №49379, кл. G01K 7/02. Прибор для измерения температуры поверхностей / Брюханов Ф.С. (12.12.1935). Опубл. 31.08.1936 г.]. Такой способ не обеспечивает надежное контактирование горячего спая и испытуемого образца в широком диапазоне измеряемых температур. Возможно механическое повреждение термопары из-за соударений с испытуемым образцом при вибрации. При нарушении механического контакта термопары и испытуемого образца результаты измерений становятся недостоверными, резко увеличивается инерционность измерений. Второй путь - это вдавливание горячего спая термопары в расплавленный металл в точке измерений [2. Патент RU №2034246. МПК6 G01K 7/02. Способ крепления термопар / Мугалев А.П. (23.07.1982). Опубл. 30.04.1995]. Наряду с достоинствами метода - хороший контакт термопары и образца, хорошие метрологические характеристики - он не может использоваться для динамически подвижных объектов в связи с риском поломки термопар.

[7]

Известен способ крепления по авторскому свидетельству SU №180382 [3. Авт. св. SU №180382. МПК6 G01K. Способ установки термопары для контроля температуры продукта в процессе сублимационной сушки / Яушева Э.Ф., Камовников Б.П. (13.11.1965). Опубл. 21.03.1966. Бюл. №7.] По этому способу в образце выполняется отверстие, термопара вводится в тело испытуемого образца в отверстие и жестко фиксируется в таком положении. Такой способ, создавая механическую прочность крепления термопары к образцу, не обеспечивает надежность контактирования при деформациях образца вследствие линейных температурных расширений при высоких температурах и воздействии вибрации. Более того, при жестком креплении термопары к испытуемому объекту при перемещении объекта возможны повреждения термопары и невозможность выполнения измерений.

[8]

Известен способ крепления термопар путем их размещения в теле испытуемого объекта, характеризующегося температурными деформациями и воздействием вибрационных нагрузок, причем гибкий корпус термопары жестко крепят вблизи точки измерения к неподвижным окружающим конструкциям [4. CN 1936525 А. МПК6G01K 1/14, G01K 7/02, G01K 3/08. Carbon-fiber composite material highspeed air-craft rectifying cover surface transient temperature measuring apparatus (BEIJING AERONAUTICAL & SPACE U) 28.03.2007, описание с. 6, абз. 4-5, фиг. 1-3.]

[9]

В данном решении в теле испытуемого объекта в точке измерения отсутствует глухое отверстие с фаской и дренажным каналом для отвода горячего воздуха из глухой полости точки измерения, тем самым не обеспечено касание корпуса термопары и испытуемого объекта в процессе измерений.

[10]

Наиболее близкой к изобретению является методика температурных измерений, предусматривающая выполнение в теле испытуемого объекта в точке измерения глухого отверстия с фаской, причем горячий спай термопары вводят в указанное глухое отверстие, при этом размеры глухого отверстия и корпуса термопары в зоне горячего спая должны одновременно обеспечивать их касание и возможность взаимного перемещения, что позволяет повысить точность получаемых результатов измерений за счет компенсации перемещения испытуемого объекта возможностью взаимного перемещения копуса термопары в зоне горячего спая и испытуемого объекта в процессе измерений [5. FR №3030731 А1 МПК6 G01K 1/146. Tool and method of installation of a thermocouple (ELECTRICITE DE FRANCE SA) 24.06.2016, описание с. 3, ст. 16 - с. 6 ст. 34, фиг. 3].

[11]

Данный способ снятия измерений является ненадежным при применении в изделиях, подвергающихся внешним воздействиям, таким как высокая температура, вибрации, ударные и линейные нагрузки, а также при каких-либо смещениях тела испытуемого объекта относительно места крепления термопары. Такие воздействия и смещения могут вызвать большие механические напряжения в сварном шве, которые приведут к его разрушению и прекращению контакта термопары и тела испытуемого объекта.

[12]

Целью изобретения является обеспечение измерения температуры динамически подвижных объектов и исключение недостатков, выявленных в прототипе и аналогах. Эта цель достигается компенсацией перемещения испытуемого объекта возможностью взаимного перемещения корпуса термопары в зоне горячего спая и испытуемого объекта в процессе измерений.

[13]

Для этого гибкий корпус термопары жестко крепят к неподвижным окружающим конструкциям вблизи точки измерений. В теле испытуемого объекта в точке измерений выполняют глухое отверстие с фаской для облегчения возможности введения горячего спая термопары в указанное отверстие «вслепую» и дренажным каналом для отвода горячего воздуха из полости глухого отверстия. Горячий спай термопары вводят в указанное отверстие, при этом размеры глухого отверстия и корпуса термопары в зоне горячего спая должны одновременно обеспечивать касание горячего спая термопары и испытуемого образца и возможность их взаимного перемещения при воздействии высокой температуры, вибрации, ударных и линейных нагрузок, а также при каких-либо смещениях тела испытуемого объекта относительно места крепления термопары.

[14]

Заявляемое изобретение отличается от способа по прототипу тем, что по предлагаемому способу возможно перемещение корпуса термопары в зоне горячего спая в теле испытуемого объекта, обеспечивается постоянный контакт с телом испытуемого объекта по стенкам отверстия благодаря жесткой посадке, а не определенной точкой с применением сварки, которая подвержена разрушению при воздействии высокой температуры, вибрации, ударных и линейных нагрузок, а также при каких-либо смещениях тела испытуемого объекта относительно места крепления термопары.

[15]

Изобретение поясняется чертежами:

[16]

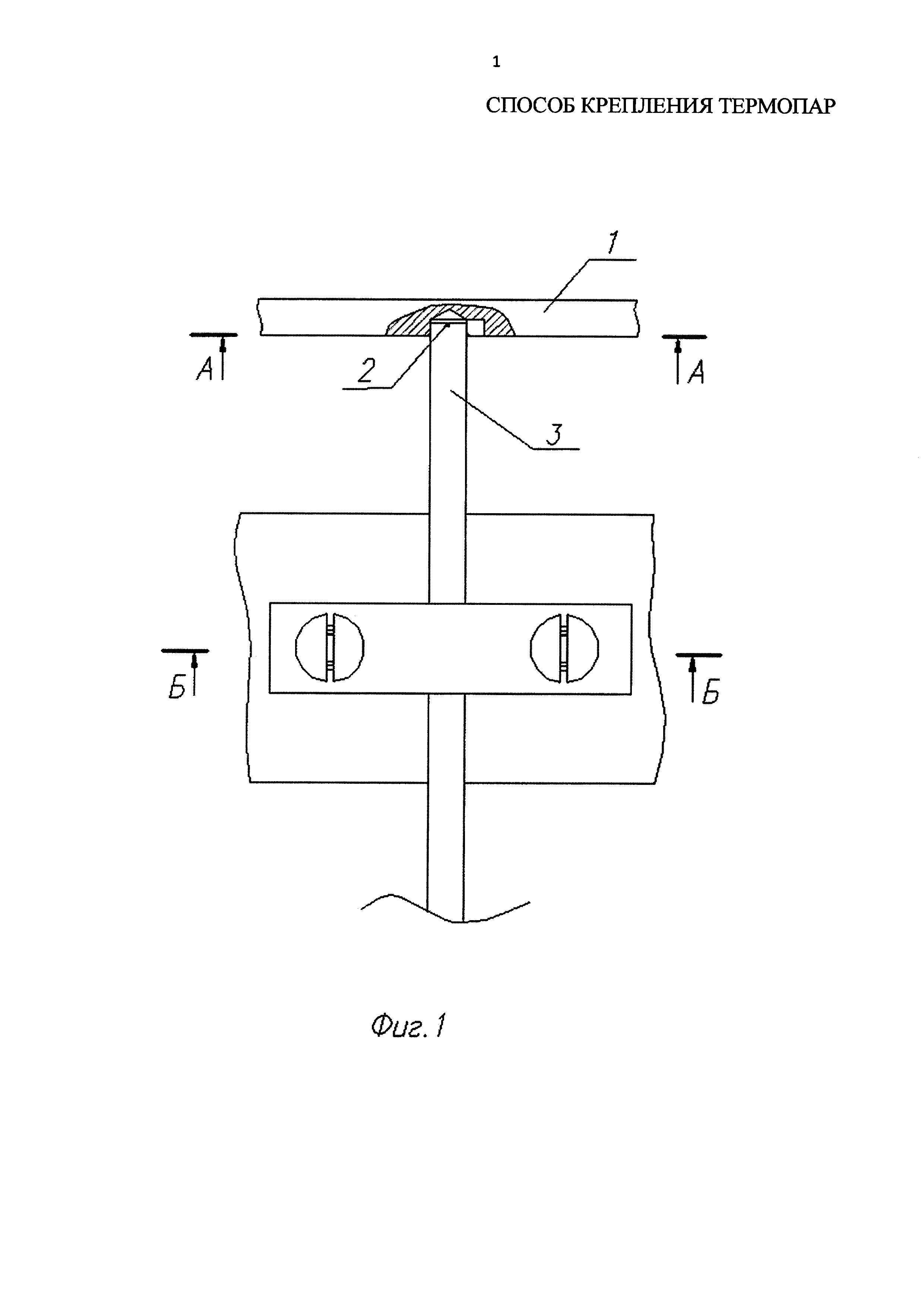
На фиг. 1 показана схема выполнения предлагаемого способа, где 1 - испытуемый образец, 2 - горячий спай термопары, 3 - корпус термопары.

[17]

На фиг. 2 показан разрез в месте ввода термопары в отверстие испытуемого образца, где 4 - глухое отверстие, включающее фаску и дренажный канал.

[18]

На фиг. 3 показано место жесткого крепления корпуса термопары к неподвижным окружающим конструкциям.

[19]

При деформации испытуемого объекта в любой из трех плоскостей, либо во всех направлениях одновременно, происходит перемещение его относительно корпуса термопары в зоне горячего спая при сохранении их контактирования. Такие перемещения испытуемого объекта не приводят к поломке термопары, т.к. ее гибкая конструкция позволяет осуществить термокомпенсацию перемещений.

[20]

Техническим результатом является обеспечение измерения температуры динамически подвижных объектов.

[21]

Предлагаемый способ повышает качество и надежность крепления термопар и может быть осуществлен с помощью стандартного оборудования и материалов отечественного производства. Таким образом, заявленный способ соответствует критерию «промышленная применимость».

[22]

Источники, принятые во внимание

[23]

1. Авт. св. SU №49379, кл. G01K 7/02. Прибор для измерения температуры поверхностей / Брюханов Ф.С. (12.12.1935). Опубл. 31.08.1936 г.

[24]

2. Патент RU №2034246. МПК6 G01K 7/02. Способ крепления термопар / Мугалев А.П. (23.07.1982). Опубл. 30.04.1995.

[25]

3. Патент RU №180382. МПК6 G01K. Способ установки термопары для контроля температуры продукта в процессе сублимационной сушки / Яушева Э.Ф., Камовников Б.П. (13.11.1965). Опубл. 21.03.1966. Бюл.№7.

[26]

4. Патент CN 1936525 А. МПК6 G01K 1/14, G01K 7/02, G01K 3/08. Carbon-fiber composite material high-speed air-craft rectifying cover surface transient temperature measuring apparatus (BEIJING AERONAUTICAL & SPACE U) 28.03.2007, описание с. 6, абз. 4-5, фиг. 1-3.

[27]

5. Патент FR №3030731 А1 МПК6 G01K 1/146. Tool and method of installation of a thermocouple (ELECTRICITE DE FRANCE SA) 24.06.2016, описание с. 3, ст. 16 - с. 6 ст. 34, фиг. 3.

[28]

6. Патент RU №2114403 МПК6 G01K 1/14, G01K 7/02. Устройство для измерения температуры внутренней цилиндрической поверхности / Дикарев И.М., Сережкин Н.И., Серокуров А.Н., Федоров В.А. (31.05.1995). Опубл. 27.06.1998.

[29]

7. Анурьев В.И. Справочник конструктора-машиностроителя. В 3-х т. Т. 1. 8-е изд. / Под ред. И.Н. Жестковой. - М.: Машиностроение, 2001. - С. 457-466.

Как компенсировать расходы
на инновационную разработку
Похожие патенты