патент
№ RU 2668625
МПК B23K26/348

Способ лазерно-дуговой сварки плавящимся электродом в среде защитного газа стыкового соединения сформованной трубной заготовки

Авторы:
Котлов Александр Олегович Булыгин Алексей Александрович Федоров Михаил Александрович
Все (5)
Номер заявки
2017129302
Дата подачи заявки
16.08.2017
Опубликовано
02.10.2018
Страна
RU
Как управлять
интеллектуальной собственностью
Чертежи 
1
Реферат

Изобретение относится к лазерно-дуговой сварке плавящимся электродом в среде защитного газа стыкового соединения сформованной трубной заготовки из углеродистой стали большого диаметра от 530 до 1420 мм с толщиной стенок от 8 до 45 мм. Электродуговую сварку выполняют трехфазной дугой. Используют сварочные горелки с плавящимся электродом. Электроды первой и второй дуговых горелок и свариваемую трубу подключают к соответствующей фазе источника трехфазного питания. Лазерный луч фокусируют в области кромок свариваемой поверхности. Расстояние между центром сфокусированного пятна лазерного излучения и точкой дугового контакта электрода первой дуговой горелки устанавливают от 10-15 мм. Точку дугового контакта второй дуговой горелки устанавливают на расстоянии от точки дугового контакта первой горелки, обеспечивающем образование общей сварочной ванны с первой горелкой и лазерным лучом. Лазерный луч наклоняют в сторону, противоположную направлению движения кромок свариваемой поверхности, на угол 20-25° относительно нормали к поверхности свариваемых кромок. Электроды дуговых горелок наклоняют в сторону направления движения кромок свариваемой поверхности на угол 30-35° относительно нормали к поверхности свариваемых кромок. Защитный газ подают в зону лазерного излучения и в зоны электродов. Технический результат заключается в снижении дефектов сварки типа сквозных отверстий, раковин, пор и шлаковых включений за счет улучшения условий дегазации сварочной ванны. 1 ил.

Формула изобретения

Способ лазерно-дуговой сварки плавящимся электродом в среде защитного газа стыкового соединения сформованной трубной заготовки, включающий одновременное воздействие на свариваемую поверхность лазерного луча и электрической дуги в среде защитного газа с образованием общей сварочной ванны, при этом лазерный луч фокусируют перед точкой воздействия электрической дуги, а лазерный луч и сварочную дуговую горелку наклоняют относительно нормали к поверхности свариваемой трубной заготовки, отличающийся тем, что дуговую сварку выполняют трехфазной электрической дугой, причем дополнительно используют вторую сварочную дуговую горелку с плавящимся электродом, а электроды первой и второй дуговых горелок и свариваемую трубную заготовку подключают к соответствующей фазе источника трехфазного питания, при этом лазерный луч фокусируют в области свариваемых кромок заготовки, расстояние между центром сфокусированного пятна лазерного луча и точкой дугового контакта электрода первой дуговой горелки устанавливают от 10 до 15 мм, а точку дугового контакта второй дуговой горелки располагают на расстоянии от первой дуговой горелкой с обеспечением образования общей сварочной ванны с первой дуговой горелкой и лазерным лучом, при этом лазерный луч наклоняют в сторону, противоположную направлению движения свариваемой трубной заготовки, на угол от 20 до 25° включительно относительно нормали к поверхности свариваемой трубной заготовки, а дуговые горелки наклоняют в сторону направления движения свариваемой трубной заготовки, при этом угол наклона электродов дуговых горелок относительно нормали к поверхности свариваемой трубной заготовки устанавливают от 30 до 35°, причем в процессе сварки защитный газ подают в зону лазерного излучения, а в зоне электродов защитный газ подают в одном направлении с электродом соответствующей дуговой горелки.

Описание

[1]

Изобретение относится к технологическим процессам, а именно: к лазерно-дуговой сварке плавящимся электродом в среде защитного газа, и может быть использовано при создании интегральных конструкций методом сварки стыковых соединений, в частности, для сварки сформованных трубных заготовок из углеродистой стали большого диаметра от 530 до 1420 мм с толщиной стенок от 8 до 45 мм.

[2]

Известен способ изготовления стальных труб лазерной сваркой (РФ, патент №2456107, В21С 37/08, В21С 37/30, В23К 26/20, В23К 26/42, В23К 101/06, 20.07.2012), включающий сварку шва путем воздействия на внешнюю поверхность стыка сформованной трубной заготовки электрической дугой для нагревания до расплавления продольных краев кромок свариваемой поверхности и последующего воздействия на нагретую часть лазерным лучом.

[3]

В известном способе электрическая дуга расположена первой по ходу сварки, т.е. используют неплавящийся электрод. В результате дуга подогревает металл и расплавляет его верхний слой, а лазерный луч осуществляет глубокое проплавление. Однако при лазерной сварке расплавленный металл образуется в очень узкой области. В результате шов сваренной лазером стальной трубы может иметь дефекты в виде раковин и непроваренных отверстий.

[4]

Кроме того, при проведении лазерной сварки концентрируется тепловая энергия высокой плотности, что приводит к разбрызгиванию расплавленного металла и снижению количества расплавленного металла в сварочной ванне, в результате чего возникают дефекты сварки, такие как подрез, поднутрение или незаполнение сварного шва (или ослабление), что снижает прочность сваренного участка шва трубы. В известном способе снизить интенсивность разбрызгивания металла возможно, в частности, путем уменьшения мощности лазерного излучения, например, расфокусировкой. Однако это приведет к уменьшению скорости сварки, т.е. к снижению производительности сварки, а также с большой вероятностью создаст проблему недостаточного проникновения лазерного луча, что, в свою очередь приведет к ухудшению качества шва.

[5]

Таким образом, возникает техническая проблема повышения качества сварного шва при лазерной сварке стальной трубы без снижения производительности сварки.

[6]

Частично эта проблема решена в наиболее близком к предлагаемому способе гибридной лазерно-дуговой сварки для стыковой сварки изделия из нержавеющей стали, а именно, для сварки трубы (РФ, патент №2608937, В23К 26/348, В23К 31/02, В21С 37/08; публикация 26.01.2017 г.; патентообладатель(и): КАБУСИКИ КАЙСЯ КОБЕ СЕЙКО СЕ (КОБЕ СТИЛ,ЛТД.) (JP)). В способе используют совмещение лазерной сварки и дуговой сварки TIG (сварка TIG - сваривание с использованием неплавящихся вольфрамовых электродов в среде защитного газа аргона). В соответствии со способом сварку осуществляют, направляя лазерное излучение и дуговой разряд по одной линии сварки таким образом, что за лазерной сваркой следует дуговая сварка TIG. Фокусная точка лазерного луча для лазерной сварки занимает положение над подлежащим сварке изделием, и лазерный луч расфокусируют таким образом, что диаметр лазерного луча, направленного на подлежащее сварке изделие, составляет не менее чем 1 мм. Интервал LA между положением лазерного излучения при лазерной сварке и положением дугового разряда при дуговой сварке TIG составляет от 3 до 7 мм. Кроме того, лазерный луч направлен наклонно к направлению движения сварки таким образом, что угол между вертикальным направлением и лазерным лучом составляет 10° или менее, или лазерный луч направлен вертикально, а при дуговой сварке TIG мундштук сварочной горелки наклонен к направлению движения сварки, таким образом, что угол между вертикальным направлением и сварочной горелкой составляет от 10 до 45°. Экранирование горелки при дуговой сварке TIG осуществляют с помощью газообразного аргона.

[7]

TIG-сварка - сваривание с использованием неплавящихся вольфрамовых электродов в среде защитного газа аргона. Недостатком этой сварки является возможность сваривания деталей небольшой толщины (http://3g-svarka.ru/rasshifrovka-tig-mig-mag-mma-svarka.php), а именно, в соответствии с наиболее близким к предлагаемому способу - от 0,3 до 2,5 мм с внешним диаметром от 12 до 60 мм. Поэтому при гипотетическом использовании известного способа для сварки труб из углеродистой стали с толщиной стенок от 8 до 45 мм будет наблюдаться разогрев металла до расплавления, но количества расплавленного металла в образующейся общей сварочной ванне недостаточно для того, чтобы заметно снизить потери металла от разбрызгивания в результате лазерного воздействия. Кроме того, для стальных деталей сварку TIG осуществляют на постоянном токе (http://3g-svarka.ru/rasshifrovka-tig-mig-mag-mma-svarka.php), что требует специального оборудования для преобразования переменного тока промышленной частоты в постоянный.

[8]

Кроме того, в известном способе лазерный луч и электрод горелки наклонены в одну сторону, а именно: против направления движения сварки. При этом, угол между вертикальным направлением и лазерным лучом составляет 10° или менее, или лазерный луч направлен вертикально, а при дуговой сварке TIG мундштук сварочной горелки наклонен к направлению движения сварки, таким образом, что угол между вертикальным направлением и сварочной горелкой составляет от 10 до 45°. Расстояние между положением между центром пятна лазерного излучения и точкой дугового разряда при дуговой сварке TIG составляет от 3 до 7 мм. В результате заданных условий позиционирования луча лазера и сварочной горелки, в известном способе лазерный луч и электрическая дуга сведены при сварке практически в одну точку. Это во время сварки неизбежно приведет к искривлению парогазового канала, что в процессе кристаллизации сварного шва затруднит выход сварочных газов из сварочной ванны и увеличит вероятность образования дефектов типа пор и шлаковых включений. При этом, поскольку лазер и дуговая горелка наклонены в одну сторону против движения сварки, то формируемая ими тепловая энергия направлена практически в одну точку, особенно, когда углы наклона совпадают: 10°. При таком расстоянии между дугой и лазером и заданными условиями позиционирования лазера и дуги сварочная ванна мала, процесс сварки нестабилен, металл от дуги разбрызгивается, подается в канал проплавления неравномерно, что приводит к дефектам сварного шва в процессе его формирования.

[9]

Из вышеизложенного следует, что использование в известном способе совместно с лазерной сваркой сварки TIG, используемые параметры позиционирования луча лазера и дуговой горелки, а также расстояние между центром пятна лазерного излучения и точкой дугового разряда от 3 до 7 мм не позволяют использовать известный способ для сварки труб из углеродистой стали, толщиной от 8 до 45 мм, требующей большой мощности как лазерного излучения, так и сварочной дуги.

[10]

Существующую техническую проблему выполнения лазерной сварки труб из углеродистой стали, толщиной от 8 до 45 мм, с обеспечением качественного сварного шва с одновременным повышением производительности сварки решает предлагаемый способ.

[11]

При осуществлении заявленного способа достигается технический результат, заключающийся:

[12]

- в снижении дефектов сварки типа сквозных отверстий, раковин, пор и шлаковых включений;

[13]

- в улучшении условий дегазации сварочной ванны путем выпрямления парогазового канала при лазерно-дуговом процессе сварки;

[14]

- в создании общей сварочной ванны, объем которой обеспечивает стабилизацию процесса сварки, обеспечивает равномерную подачу в канал проплавления расплавленного металла, исключая дефекты сварного шва в процессе его формирования;

[15]

- в повышении производительности сварки.

[16]

Сущность заявленного изобретения состоит в том, что в способе лазерно-дуговой сварки плавящимся электродом в среде защитного газа стыкового соединения сформованной трубной заготовки, включающем одновременное воздействие на свариваемую поверхность лазерного луча и электрической дуги в среде защитного газа с образованием общей сварочной ванны, при этом лазерный луч фокусируют перед точкой воздействия электрической дуги, а лазерный луч и сварочную дуговую горелку наклоняют относительно нормали к поверхности свариваемой трубной заготовки, новым является то, что дуговую сварку выполняют трехфазной электрической дугой, для чего дополнительно используют вторую сварочную дуговую горелку с плавящимся электродом, а электроды первой и второй дуговых горелок и свариваемую трубную заготовку подключают к соответствующей фазе источника трехфазного питания, при этом, лазерный луч фокусируют в области свариваемых кромок заготовки, расстояние между центром сфокусированного пятна лазерного луча и точкой дугового контакта электрода первой дуговой горелки устанавливают от 10 до 15 мм, а точку дугового контакта второй дуговой горелки располагают на расстоянии от первой дуговой горелки с обеспечением образования общей сварочной ванны с первой дуговой горелкой и лазерным лучом, при этом лазерный луч наклоняют в сторону, противоположную направлению движения свариваемой трубной заготовки, на угол от 20 до 25° включительно относительно нормали к поверхности свариваемой трубной заготовки, а дуговые горелки наклоняют в сторону направления движения свариваемой трубной заготовки, при этом угол наклона электродов дуговых горелок относительно нормали к поверхности свариваемой трубной заготовки устанавливают от 30 до 35°, причем, в процессе сварки защитный газ подают в зону лазерного излучения, а в зоне электродов защитный газ подают в одном направлении с электродом соответствующей дуговой горелки.

[17]

Заявленный технический результат достигается следующим образом. Существенные признаки формулы изобретения: "Способ лазерно-дуговой сварки плавящимся электродом в среде защитного газа стыкового соединения сформованной трубной заготовки, включающий одновременное воздействие на свариваемую поверхность лазерного луча и электрической дуги в среде защитного газа с образованием общей сварочной ванны, при этом лазерный луч фокусируют перед точкой воздействия электрической дуги, а лазерный луч и сварочную дуговую горелку наклоняют относительно нормали к поверхности свариваемой трубной заготовки, …" - являются неотъемлемой частью заявленного способа и обеспечивают его осуществление, а, следовательно, обеспечивают достижение заявленного технического результата.

[18]

Благодаря тому, что лазерный луч наклоняют в сторону, противоположную направлению движения кромок свариваемой поверхности, точку дугового контакта второй дуговой горелки устанавливают за первой дуговой горелкой, при этом дуговые горелки наклоняют в сторону направления движения свариваемой трубной заготовки, лазер и дуговые горелки излучают тепловую энергию навстречу друг другу. Кроме того, при заявленных углах наклона лазерного луча (от 20 до 25°, включительно) и электродов дуговой горелки (от 30 до 35°, включительно) их осевые линии пространственно пересекаются внутри стыкуемых кромок примерно на среднем уровне толщины кромок. В результате обеспечивается эффективное взаимодействие обеих энергий в глубине стыкуемых кромок примерно на среднем уровне, что, в свою очередь, обеспечивает равномерное перекрытие воздействующей энергией от обоих источников всей ширины будущего шва. При этом, как показал опыт, предлагаемое расстояние между центром сфокусированного пятна лазерного излучения и точкой дугового контакта от 10 до 15 мм, включительно, а также то, что дуговые горелки установлены за лазерным лучом, обеспечивает равномерное перераспределение результирующей энергии, воздействующей на свариваемую поверхность, что эффективно снижает разбрызгивание металла от воздействия лазера и обеспечивает равномерное заполнение пространства между свариваемыми кромками расплавленным металлом как от воздействия лазера так и металлом электродов горелок. Это позволяет использовать мощность лазерного луча, обеспечивающую сварку стальных труб толщиной от 8 до 45 мм, а также повысить производительность сварки, одновременно исключая возможность образования в готовом шве раковин и сквозных отверстий.

[19]

Кроме того, предлагаемое расстояние между центром сфокусированного пятна лазерного излучения и точкой дугового контакта горелок от 10 до 15 мм, включительно, а также использование двух дуговых горелок, в совокупности с предлагаемым позиционированием лазерного луча и дуговых горелок, увеличивает размер (зеркало) сварочной ванны, что способствует выпрямлению парогазового канала, способствует ускоренному выходу сварочных газов (в отличии от прототипа, в котором лазерный луч и электрическая дуга сведены при сварке практически в одну точку). В результате улучшается качество сварного шва.

[20]

Конкретный выбор углов наклона лазерного луча (от 20 до 25°, включительно) и электродов дуговых горелок (от 30 до 35°, включительно), а также расстояния между центром сфокусированного пятна лазерного излучения и точкой дугового контакта электрода первой дуговой горелки (от 10 до 15 мм, включительно) определяются мощностью используемого лазера и скоростью сварки (скорость движения кромок свариваемой поверхности).

[21]

Установка точки дугового контакта второй дуговой горелки за первой дуговой горелкой на расстоянии от точки дугового контакта первой дуговой горелки, обеспечивающим образование общей сварочной ванны с первой дуговой горелкой и лазерным лучом, обеспечивает образование общей сварочной ванны, объем которой обеспечивает стабилизацию процесса сварки, обеспечивает равномерную подачу в канал проплавления расплавленного металла, исключая дефекты сварного шва в процессе его формирования, одновременно повышая производительность сварки.

[22]

Условия сварки, включающие количественные значения углов наклона лазерного луча (от 20 до 25°, включительно) и дуговых горелок (от 30 до 35°, включительно), установку точки дугового контакта второй дуговой горелки за первой дуговой горелкой на расстоянии от точки дугового контакта первой горелки, обеспечивающим образование общей сварочной ванны с первой горелкой и лазерным лучом, а также расстояния между центром сфокусированного пятна лазерного излучения и точкой дугового контакта (от 10 до 15 мм, включительно), получены опытным путем и являются оптимальным, в пределах которых сохраняется синергетический эффект от совместного использования лазерной и дуговой сварки. Превышение верхнего значения указанных пределов приводит к исчезновению синергетического эффекта, поскольку каждый вид сварки начинает действовать самостоятельно, что не обеспечивает достижение заявленного технического результата. Выход за нижние выше указанные числовые пределы и невыполнение предлагаемой установки второго дуговой горелки также не обеспечивают достижение заявленного технического результата.

[23]

Кроме того, уменьшение пористости и снижение вероятности образования свищей обеспечивается подачей в зону лазерного излучения и в зону электрода защитного газа. В зоне электрода защитный газ в процессе сварки подают в одном направлении с электродом дуговой горелки. Это позволяет устранить явление капельного переноса материала электрода в ванну и, следовательно, снизить образование дефектов типа шлаковых включений.

[24]

Сущность электродуговой сварки трехфазной электрической дугой заключается в том, что используют две дуговые горелки, при этом к трехфазному источнику питания подключаются к соответствующей фазе электроды дуговых горелок, а к третьей фазе подключается свариваемая деталь. В заявленном способе электроды первой и второй дуговых горелок и свариваемую трубу подключают к соответствующей фазе источника трехфазного питания. В этом случае горят три дуги: две дуги между электродами и свариваемой деталью, а третья дуга между электродами. Третья дуга, являясь по отношению к детали независимой дугой, горит или по воздушному промежутку между электродами, или же отдувается и горит, касаясь детали (СССР, авторское свидетельство №455820, В23К 9/00, 05.01.75.; Internet http//www.osvarke.com/svarka-aluminiya.html, статья «Сварка алюминия»).

[25]

Возможность использования сварки трехфазной дугой обуславливается тем, что углеродистые стали могут свариваться как на переменном, так на и постоянном токе (http://3g-svarka.ru/rasshifrovka-tig-mig-mag-mma-svarka.php).

[26]

В заявленном способе расплавленный лучом лазера и сварочных дуг металл свариваемых кромок трубы и расплавленных электродов горелок под давлением сварочных дуг заполняет сварочную ванну. Из-за смены полярности фазных напряжений направление давления электрических дуг на расплавленный метал в сварочной ванне периодически меняется на противоположное. При этом третья дуга между электродами также меняет полярность. Учитывая то, что фазы смещены относительно друг друга на 120°, а сила давления дуги переменная, поскольку соответствует изменению фазного напряжения синусоидальному закону, то в общей в сварочной ванне расплавленный металл, полученный в результате теплового воздействия луча лазера и дуговых горелок с плавящимся электродом, перемешивается вдоль и поперек сварочной ванны, что способствует равномерному заполнению сварочной ванны расплавленным металлом и обеспечивает равномерную подачу в канал проплавления расплавленного металла, повышая равномерность наплавленного валика устраняя условия для образования дефектов типа сквозных отверстий, раковин, пор и т.п.

[27]

При этом свариваемый металл нагревается непрерывно, поскольку постоянно воздействие лазера и постоянно существуют три совокупные дуги - одна независимая дуга, горящая между электродами, и две зависимые дуги, горящие между изделием и электродами. В результате практически исключается разбрызгивание металла, расплавляемого под воздействием большой плотности тепловой энергии лазерного луча, тем самым, сохраняется количество расплавленного металла в общей сварочной ванне, что также улучшает качество шва. Как показал опыт, при работе на промышленной частоте длительность горения дуги независимо от полярности переменного тока фазы достаточна для того, чтобы жидкий металл под действием сил давления дуги успел заполнить сварочную ванну.

[28]

Кроме того, поскольку свариваемый металл нагревается непрерывно, за счет воздействия лазера и постоянно существующих трех совокупных дуги - одна независимая дуга, горящая между электродами, и две зависимые дуги, горящие между изделием и электродами, то это позволяет поддерживать требуемую температуру сварки, снижая потери тепловой энергии за счет быстрого остывания свариваемой поверхности из-за ее большой массы. В результате повышается качество шва, повышается производительность сварки, а также обеспечивается возможность использования заявленного способа для лазерной сварки труб из углеродистой стали с толщиной стенок от 8 до 45 мм.

[29]

Из вышеизложенного следует, что предлагаемые в заявленном способе для выполнения лазерно-дуговой сварки: расстояние между центром сфокусированного пятна лазерного излучения и точкой дугового контакта (от 10 до 15 мм, включительно), количественные значения углов наклона лазерного луча (от 20 до 25°, включительно) и электродов дуговых горелок (от 30 до 35°, включительно), направление их наклона относительно нормали к свариваемой поверхности и направления сварки, использование воздействия трехфазной электрической дуги с плавящимися электродами, в совокупности создают условия для возможности использования луча лазера большой мощности, практически исключая разбрызгивание расплавленного металла, обеспечивая быстрое и равномерное заполнение расплавленным металлом сварочной ванны и равномерную подачу в канал проплавления расплавленного металла, обеспечивая условия для выпрямления парогазового канала при лазерно-дуговом процессе сварки, что позволяет выполнять сварку труб из углеродистой стали с толщиной стенок от 8 до 45 мм, причем с высоким качеством шва, исключив такие дефекты, как подрезы, сквозные отверстия, раковины, поры и шлаковые включения.

[30]

Таким образом, из вышеизложенного следует, что заявленный способ лазерно-дуговой сварки труб при осуществлении решает проблему выполнения лазерной сварки труб из углеродистой стали, толщиной от 8 до 45 мм, с выполнением качественного сварного шва с одновременным повышением производительности сварки. При этом достигается технический результат, заключающийся: в снижении дефектов сварки типа сквозных отверстий, раковин, пор и шлаковых включений; в улучшении условий дегазации сварочной ванны путем выпрямления парогазового канала при лазерно-дуговом процессе сварки; в создании общей сварочной ванны, объем которой обеспечивает стабилизацию процесса сварки, обеспечивает равномерную подачу в канал проплавления расплавленного металла, исключая дефекты сварного шва в процессе его формирования; в повышении производительности сварки.

[31]

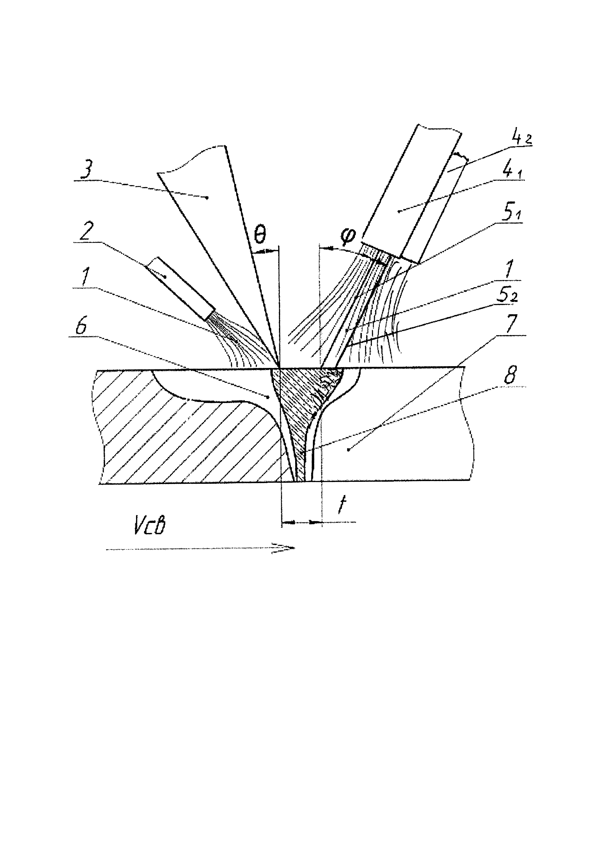
На чертеже схематично изображен сварочный процесс, происходящий при сварке поверхностей, выполняемый в соответствии с заявленным способом лазерно-дуговой сварки: 1 - защитный газ, который подают в зону лазерного излучения, а в зоне электродов защитный газ подают в одном направлении с электродом соответствующей дуговой горелки; 2 - сопло подачи защитного газа лазера; 3 - лазерный луч; 41, 42 - дуговые горелки, которые горелки наклоняют в сторону направления движения кромок свариваемой поверхности, при этом точку дугового контакта второй дуговой горелки устанавливают за первой дуговой горелкой на расстоянии от точки дугового контакта первой дуговой горелки, обеспечивающим образование общей сварочной ванны с первой дуговой горелкой и лазерным лучом; 51, 52 - электроды; угол наклона электродов дуговых горелок ϕ относительно нормали к поверхности свариваемых кромок устанавливают от 30 до 35°, включительно; 6 - расплав; 7 - свариваемая деталь; 8 - парогазовый канал; расстояние между центром сфокусированного пятна лазерного излучения и точкой дугового контакта составляет от 10 до 15 мм, включительно. Лазерный луч наклоняют в сторону, противоположную направлению движения кромок свариваемой поверхности на угол от 20 до 25°, включительно, относительно нормали к поверхности свариваемых кромок; Vсв - направление движения кромок свариваемой поверхности.

[32]

Способ осуществляют следующим образом. В соответствии с заявленным способом лазерно-дуговой сварки осуществляют одновременное воздействие на свариваемую поверхность лазерного луча и электрический дуги плавящегося электрода в среде защитного газа с образованием общей сварочной ванны. Сварку выполняют трехфазной дугой двумя дуговыми горелками с плавящимся электродом. При этом электроды первой и второй дуговых горелок и свариваемую трубу подключают к соответствующей фазе источника трехфазного питания. Лазерный луч, фокусируют в области кромок свариваемой поверхности перед точкой воздействия первой дуговой горелки. Расстояние между центром сфокусированного пятна лазерного излучения и точкой дугового контакта электрода первой дуговой горелки устанавливают от 10 до 15 мм, включительно, а точку дугового контакта второй дуговой горелки устанавливают за первой дуговой горелкой на расстоянии от точки дугового контакта первой горелки, обеспечивающим образование общей сварочной ванны с первой горелкой и лазерным лучом. Лазерный луч наклоняют в сторону, противоположную направлению движения кромок свариваемой поверхности на угол от 20 до 25°, включительно, относительно нормали к поверхности свариваемых кромок, а электроды дуговых горелок наклоняют в сторону направления движения кромок свариваемой поверхности на угол ϕ от 30 до 35°, включительно, относительно нормали к поверхности свариваемых кромок. В процессе сварки защитный газ подают в зону лазерного излучения и в зоны электродов в одном направлении с электродом соответствующей дуговой горелки.

[33]

Поскольку в заявленном способе лазерно-дуговой сварки электрическую дугу зажигают позади сфокусированного лазерного излучения, то лазерное излучение только проплавляет соприкасающиеся части металла, а заплавление скоса кромок осуществляют электрические дуги плавящихся электродов первой и второй дуговых горелок и третья дуга между электродами горелок. Третья дуга, являясь по отношению к детали независимой дугой, горит или по воздушному промежутку между электродами, или же отдувается и горит, касаясь свариваемой поверхности.

[34]

Генератор лазерного луча, используемый в настоящем изобретении, может быть любым, подходящим по требуемой мощности.

[35]

В зоне электрода защитный газ в процессе сварки подают в одном направлении с электродом дуговой горелки. Это позволяет устранить явление капельного переноса материала электрода в ванну и, следовательно, снизить образование дефектов типа шлаковых включений.

[36]

В качестве источников питания для трехфазной сварки можно использовать: трансформатор с подвижными обмотками, трансформатор с трехфазным дросселем насыщения или трансформатор с магнитной коммутацией.

[37]

К недостаткам трансформаторов с подвижными обмотками стоит отнести сильную вибрацию подвижных частей при сварке на больших токах, что приводит к ограничению срока службы и затруднительное обеспечение дистанционное и программное управление режимом сварки, невозможность стабилизации тока и напряжения. К достоинствам следует отнести простоту исполнения и дешевизну трансформатора.

[38]

К недостаткам трансформаторов с дросселем насыщения следует отнести сложность конструкции. К достоинствам следует плавность, компактность регулятора, возможность дистанционного и программного управления, отсутствие подвижных частей.

[39]

Предпочтительней применять трансформатор с магнитной коммутацией, который совмещает в себе достоинства и трансформатора с подвижными обмотками, и дросселя насыщения.

[40]

Заявленный способ был опробован при сварке стальных пластин, длиной 50 см, толщиной 21,7 мм из углеродистой стали класса прочности К60.

[41]

Осуществляли лазерно-дуговую сварку в среде защитных газов (смесь Ar и CO2). Лазерный луч генерировали от лазерного источника мощностью 35 КВт. Мощность излучения составляла от 15 до 32 Квт. Каждая сварочная дуговая горелка содержала электрод в виде сварочной проволоки диаметром 1,6 мм, которую подавали в зону сварки через сварочную горелку фирмы Fronius. В качестве источников питания дуговых горелок использовали трансформатор с магнитной коммутацией. Электроды первой и второй дуговых горелок подключали, соответственно к фазам L1 и L2 трансформатора, а свариваемую трубу подключали к фазе L3 трансформатора. Ток на сварочной дуге составлял от 300 А до 500 А, напряжение 18-30 В. Скорость сварки составляла от 1 до 3 м/мин.

[42]

Лазерная головка и дуговые горелки неподвижно закреплены на стане. Свариваемые стальные пластины закреплены на стане с возможность перемещения по направлению сварки.

[43]

Перед началом эксперимента дуговые горелки и лазерный луч позиционировали друг относительно друга следующим образом: лазерный луч фокусировали в области кромок свариваемой поверхности; электрод первой дуговой горелки отодвигали от фокальной точки лазера на расстояние от 10 до 15 мм, включительно. Оптическую головку лазера поворачивали таким образом, чтобы лазерный луч был наклонен в сторону, противоположную направлению движения кромок свариваемой поверхности. При этом значение угла наклона устанавливали в пределах от 20 до 25°, включительно, относительно нормали к поверхности свариваемых кромок. Точку дугового контакта второй дуговой горелки устанавливали за первой дуговой горелкой. Дуговые горелки наклоняли в сторону направления движения кромок свариваемой поверхности. При этом угол наклона электродов дуговых горелок устанавливали в пределах от 30 до 35°, включительно, относительно нормали к поверхности свариваемых кромок. Точку дугового контакта второй дуговой горелки устанавливали опытным путем на расстоянии от точки дугового контакта первой горелки, обеспечивающем образование общей сварочной ванны с первой горелкой и лазерным лучом. Продолжительность сварки на нескольких образцах составила от 0,16 до 0,28 минут.

[44]

После выполнения сварки визуальный осмотр готового шва, а также осмотр шлифа посредством специального оборудования не выявил сквозных отверстий и раковин.

[45]

Для подтверждения достижения заявленного технического результата, исследовали макроструктуру сварных швов путем травления продольных шлифов сварного соединения реактивом Вагапова.

[46]

Для того чтобы оценить форму парогазового канала выполняли продольный шлиф таким образом, чтобы на срезе было сечение из середины сварного шва. Исследование показало, что предлагаемое расположение лазерного луча и электрода, позволяет выпрямить парогазовый канал до вертикального.

[47]

Опыт проводимых сварочных работ показал, что при выполнении сварки с помощью трехфазной дуги и лазера, по сравнению с традиционным способом, производительность увеличилась от 15% до 50%, в зависимости от мощности лазера и скорости сварки.

[48]

Использование заявленного способа лазерно-дуговой сварки позволяет обеспечить высокую усталостную прочность сварных швов, повысить их надежность при эксплуатации, повысить качество сварных швов.

Как компенсировать расходы
на инновационную разработку
Похожие патенты