Изобретение относится к распознаванию и анализу изображений в медицине и может быть использовано при обработке биомедицинских изображений и при автоматизации научных исследований. Автоматизированная система анализа ангиографических изображений глазного дна содержит блок ввода исходных цифровых ангиографических изображений, средства анализа и выделения функциональных и структурных показателей глазного дна и базу данных, связанные между собой с возможностью обмена информацией и управления с процессором. В систему введен блок предварительной обработки исходных изображений. Средства анализа и выделения функциональных и структурных показателей глазного дна содержат блок анализа изображений сосудов, выполненный с возможностью удаления шумовых объектов по площади и по удлиненности и построения остова области выделенных сосудов для последующего измерения их ширины, а также блок выделения сосудов, первый выход которого связан с блоком определения морфометрических характеристик сосудов, а второй выход - с блоком выделения зон ишемии сосудов, выход блока выделения зон ишемии сосудов связан с входом блока определения параметров зоны ишемии сосудов, выход которого и выход блока определения морфометрических характеристик сосудов связаны с базой данных. Использование изобретения позволяет расширить класс выделяемых зон ишемии, обеспечить возможности выделения на изображении сосудов и определения их морфометрические характеристики. 4 з.п. ф-лы, 8 ил.
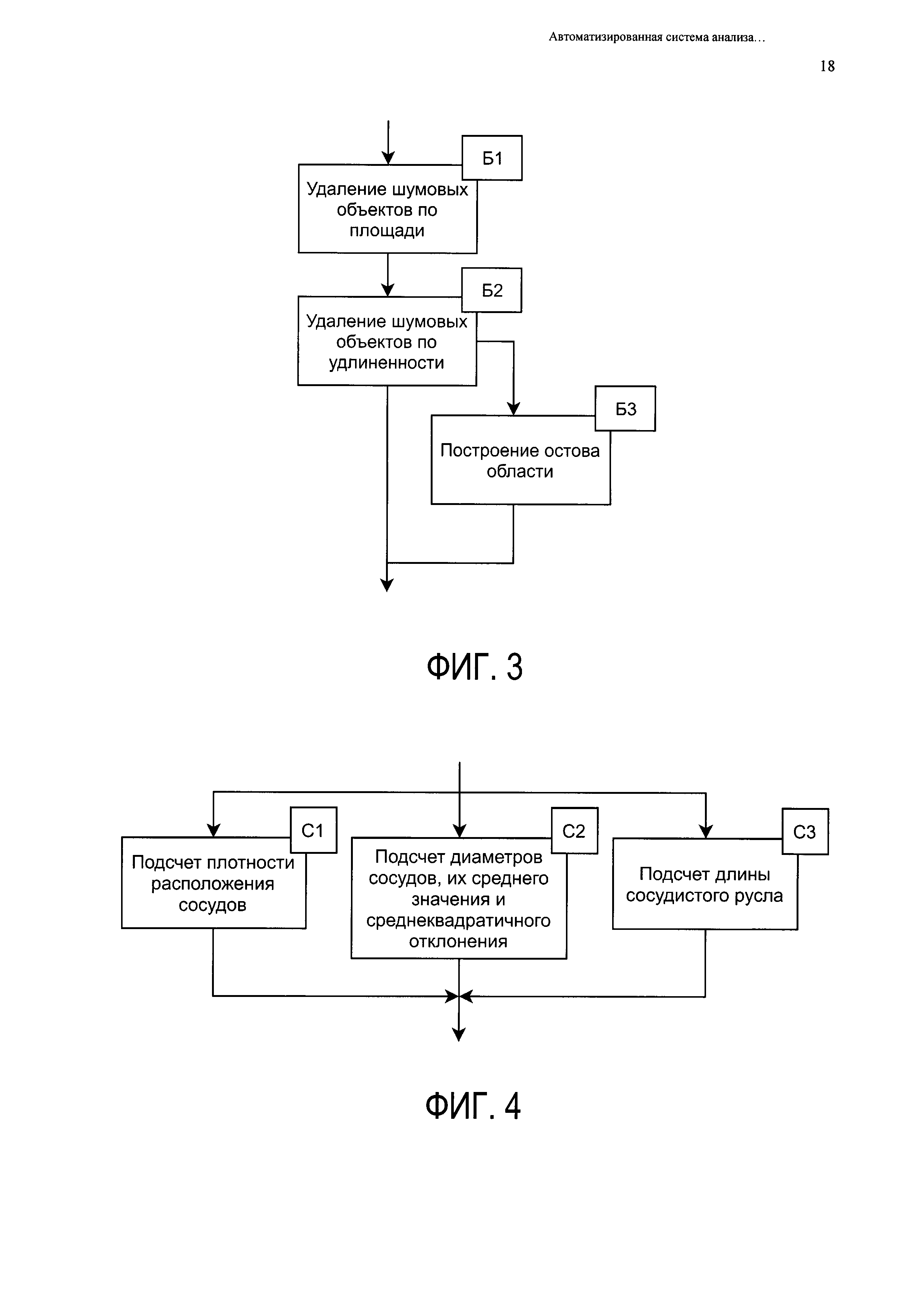
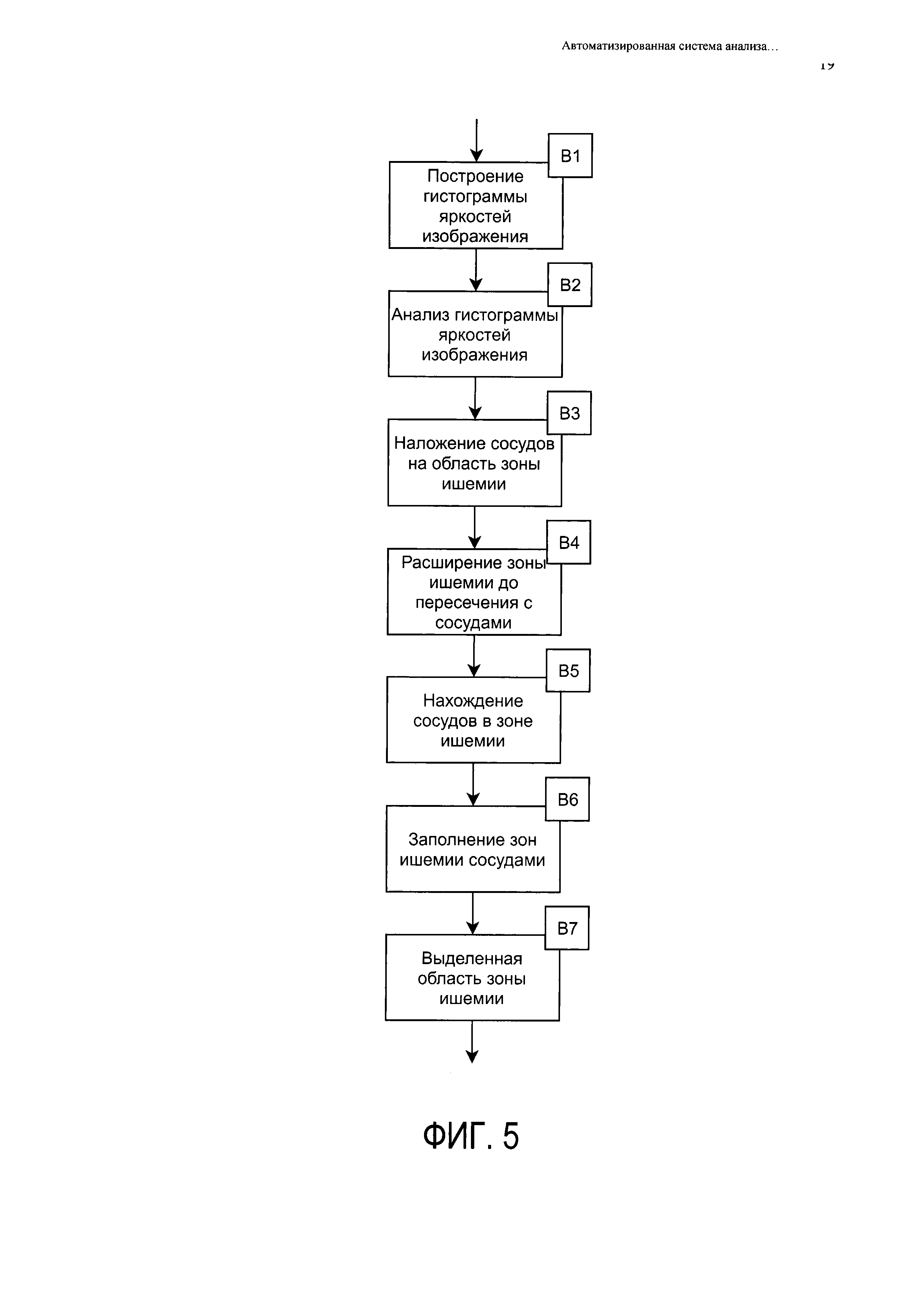
1. Автоматизированная система анализа ангиографических изображений глазного дна, включающая блок ввода исходных цифровых ангиографических изображений, средства анализа и выделения функциональных и структурных показателей глазного дна и базу данных, связанные с возможностью обмена информацией и управления с процессором, отличающаяся тем, что дополнительно введен блок предварительной обработки исходных изображений, связанный с выходом блока исходных изображений, выполненный с возможностью преобразования цветного исходного изображения в одноканальное в оттенках серого с последующей нормализацией и логарифмической коррекцией, фильтрацией шума на изображении, повышения контраста и бинаризации изображения; средства анализа и выделения функциональных и структурных показателей глазного дна содержат блок анализа изображений сосудов, выполненный с возможностью удаления шумовых объектов последовательно по площади и по удлиненности и построения остова области выделенных сосудов для последующего измерения их ширины, а также блок выделения сосудов, первый выход которого связан с блоком определения морфометрических характеристик сосудов, а второй выход - с блоком выделения зон ишемии сосудов, при этом блок определения морфометрических характеристик сосудов выполнен с возможностью определения плотности расположения сосудов, среднего диаметра и среднеквадратичного отклонения диаметров и общей длины сосудов, а блок выделения зон ишемии сосудов выполнен с возможностью построения гистограмм яркостей изображения и последующего их анализа, наложения изображений сосудов на область зоны ишемии и расширения зоны ишемии до пересечения с сосудами путем дилатации с получением области, пересекающейся с сосудами в выделенной зоне ишемии и последующим заполнением зон ишемии сосудами с помощью операций морфологического закрытия и реконструкции, при этом выход блока выделения зон ишемии сосудов связан с входом блока определения параметров зоны ишемии сосудов, выход которого и выход блока определения морфометрических характеристик сосудов связаны с базой данных. 2. Система по п. 1, отличающаяся тем, что блок предварительной обработки исходных изображений включает последовательно соединенные модуль яркостной и цветовой коррекции изображения, модуль нормализации изображения, модуль логарифмической коррекции изображения, модуль фильтрации шума на изображении, модуль повышения контраста изображения и модуль бинаризации изображения, выход которого является выходом блока. 3. Система по п. 1, отличающаяся тем, что блок анализа изображений сосудов включает модуль удаления шумовых объектов по площади, связанный по выходу с модулем удаления шумовых объектов по удлиненности, первый выход которого связан с входом модуля построения остова области, выход которого и второй выход модуля удаления шумовых объектов по удлиненности объединены и являются выходом блока. 4. Система по п. 1, отличающаяся тем, что блок определения морфометрических характеристик сосудов включает параллельно соединенные модуль подсчета плотности расположения сосудов, модуль подсчета диаметров сосудов, их среднего значения и среднеквадратичного отклонения, модуль подсчета длины сосудистого русла, выходы которых объединены и являются выходом блока. 5. Система по п. 1, отличающаяся тем, что блок выделения зон ишемии включает последовательно соединенные модуль построения гистограммы яркостей изображения, модуль анализа гистограммы яркостей изображения, модуль наложения изображений сосудов на область зоны ишемии, модуль расширения зоны ишемии до пересечения с сосудами, модуль нахождения сосудов в зоне ишемии, модуль заполнения зон ишемии сосудами, модуль выделения области зоны ишемии, выход которого является выходом блока.
Изобретение относится к распознаванию и анализу изображений в медицине и может быть использовано при обработке биомедицинских изображений и при автоматизации научных исследований. Известно, что изображения глазного дна позволяют судить о состоянии ретинального и хориоидального сосудистых русел: их архитектонике, плотности сосудистого русла, проходимости сосудов, их окклюзии и наличии бессосудистых (ишемических) зон, динамике площади ишемических участков в зависимости от проводимого лечения. Автоматизированные средства обработки и анализа биомедицинских изображений позволяют снизить временные и материальные затраты на морфологические исследования, и используются в том числе при анализе изображений глазного дна. В публикации CN 106599804 (A) HARBIN INSTITUTE TECHNOLOGY, 26.04.2017, описан метод автоматического детектирования фовеальной ямки сетчатки (fovea centralis) на основе построения модели изображения по множеству признаков. Метод включает следующие этапы: 1) выделение глобальных признаков изображения; 2) выделение локальных признаков изображения; 3) выделение глубинных признаков изображения; и 4) построение мультимодельного представления изображения фовеальной ямки сетчатки (fovea centralis) на основе слияния выделенных признаков. Благодаря эффективному объединению глобальных, локальных и глубинных признаков, извлеченных из изображений, удается провести точное обнаружение сетчатки. Метод устойчив к шуму, вызванному неоднородностью освещения и незначительными поражениями глазного дна, а также к аномальному распределению кровеносных сосудов. Обнаружение фовеальной ямки сетчатки с помощью предложенного метода проводится с большой точностью, обеспечивая надежную информацию для идентификации личности по изображению сетчатки. Предложенный метод не предназначен для обнаружения сосудов для прогнозирования степени зрительных нарушений при тромбозах ретинальных сосудов, возникающих при диабете или атеросклерозе, и зон ишемии, по динамике размеров которых можно судить об эффективности проводимого офтальмологами лечения. В другом изобретении (CN 106228566 (A), HARBIN INSTITUTE TECHNOLOGY, 14.12.2016) описан метод автоматического обнаружения и распознавания микроаневризмы сетчатки на основе анализа градиентного отклика. Метод включает следующие этапы: 1) обнаружение области, где возможно находится «микроаневризма»: а) удаление кровеносных сосудов, б) определение местонахождения области, в) выделение области с объектом-кандидатом на «микроаневризму»; 2) выделение объекта-кандидата на «микроаневризму»; 3) распознавание объекта («микроаневризма»/«фон»). Метод автоматического обнаружения и распознавания микроаневризмы сетчатки глаза основан на анализе векторов градиентов различных тусклых объектов на сетчатке глаза и применении к этим векторам неравномерного классификатора. Данный метод не предназначен для выделения сосудов и зон ишемии. Упомянутые выше публикации, а также ряд других (например, CN 102393956 (A), CHINESE ACAD INST AUTOMATION, 28.03.2012) касались распознавания состояния глазного дна на изображениях, полученных с помощью немидриатической фундус-камеры. Вместе с тем, ангиографическая картина глазного дна позволяет судить о состоянии проницаемости сосудистой стенки (vascular permeability), повышенной у новообразованных сосудов (например, при диабете). Наличие участков «протекания» (leakege) флуоресцеина дает такую возможность. Для оценки ангиографической картины глазного дна необходимо знать плотность сосудистого русла (число капиллярных петель на единицу площади), средний диаметр сосудов, которые дают представление о степени васкуляризации сетчатой оболочки глаза в норме и сосудистой патологии органа зрения. При тромбозах ретинальных сосудов образуются зоны ишемии (неперфузии сосудов или кровоизлияний), по площади и топографии которых возможно прогнозировать степень зрительных нарушений, а по динамике размеров этих зон - об эффективности проводимого лечения. Описаны различные способы анализа глазного дна с использованием флуоресцентных изображений. Так, в патенте US 9757023 (В2), UNIV MICHIGAN REGENTS, 12.09.2017 описаны способы и системы для автоматического обнаружения оптического диска в автофлюоресцентных изображениях сетчатки. Монохроматическое изображение сетчатки получают с помощью стимулированной аутофлуоресценции. Изображение обрабатывается с использованием математических фильтров и машинного обучения для определения сегментов кровеносных сосудов и для определения пикселей как возможно принадлежащих оптическому диску. Эти пиксели оптического диска группируются в кластеры, а наилучший подходящий круг (или его часть, лежащая внутри изображения) вставляется в каждый кластер. Круг может быть увеличен, чтобы улучшить контраст изображения по окружности круга. Выделяются сегменты кровеносных сосудов, которые пересекают круг, и снимаются показатели от таких пересекающихся сегментов кровеносных сосудов. Эти показатели оцениваются методами машинного обучения для определения вероятности того, что каждый кластер содержит оптический диск, а контуры оптического диска дополнительно определяются путем анализа возможных пикселей оптического диска. Хотя в данной работе используются автофлуоресцентные изображения, которые схожи с ангиографическими изображениями, в данной работе не ставилась задача выделения сосудов и обнаружения зон ишемии. В контексте раннего выявления и мониторинга глазных заболеваний, таких как глаукома и диабетическая ретинопатия, используется автоматизированная сегментация кровеносных сосудов сетчатки посредством оптической когерентной томографии (ОКТ), что достаточно трудно за счет слабой видимости структуры сосуда в изображении ствола (US 8831304 (B2), UNIV CARNEGIE MELLON, 09.09.2014). Для решения этой проблемы используется трехмерная (3D) информация. Автоматизированная методика сегментации кровеносных сосудов основана на 3D спектральном анализе ОКТ и обеспечивает отображение точной картины сосудов для клинического анализа, регистрацию изображения сетчатки, раннюю диагностику и мониторинг прогрессирования глаукомы и других заболеваний сетчатки. В методе используется алгоритм машинного обучения для автоматического определения кровеносного сосуда в 3D-изображении ОКТ. Метод не предназначен для сегментации слоя сетчатки. В изобретении (US 2016071266 (A1), CLEVELAND CLINIC, 10.03.2016) описана система автоматического анализа ангиографических изображений. Она включает систему визуализации, сконфигурированную для захвата первого и второго изображений области интереса; компонент регистрации, сконфигурированный для регистрации первого изображения на втором изображении; компонент разности, сконфигурированный для генерирования разностного изображения, получаемого из первого и второго изображений; и компонент распознавания образов, сконфигурированный для назначения клинического параметра интересующей области на разностном изображении и, по меньшей мере, на одном из первом или втором изображениях. Компонент распознавания образов для выявления окклюзии сосудов работает на каждой подобласти изображения индивидуально в соответствии с по меньшей мере одним сохраненным набором правил для назначения клинического параметра субрегиона. Компонент распознавания образов сконфигурирован для идентификации одного из следующих заболеваний: ишемии, неоваскуляризации, микроаневризмы и утечки сосудов. Описана система, реализующая автоматический метод сегментации (US 2017164825 (A1); UNIV CALIFORNIA [US], UNIV WENZHOU MEDICAL [CN], 15.06.2017). Система представляет трехмерный метод сегментации с доплеровской дисперсией на основе интенсивности (ДЦОИ) ОКТ с разверткой. Автоматический трехмерный метод сегментации используется для получения семи поверхностей внутриретинальных слоев. Микрососудистая сеть сетчатки, которая получается методом ДДОИ, может быть разделена на шесть слоев. Микрососудистая сеть из шести отдельных слоев визуализируется, а морфологические и контрастные изображения могут быть улучшены с использованием метода сегментации. Этот метод потенциально подходит для ранней диагностики и точного контроля при сосудистых заболеваниях сетчатки. Каждое томографическое изображение строится по восьми повторным сканированиям в одном и том же положении, что позволяет за счет увеличения времени съемки улучшить чувствительность ангиографического метода. Для сокращения влияния движения глаз при съемке используется алгоритм регистрации подпикселя. Графический процессор использовался для ускорения обработки данных для обеспечения предварительного просмотра полученных данных в режиме реального времени. Наиболее близкой к патентуемой системе является система, описанная в заявке «METHODS AND SYSTEMS FOR COMBINED MORPHOLOGICAL AND ANGIOGRAPHIC ANALYSES OF RETINAL FEATURES)) (US 2016242638 (A1), ZEISS CARL MEDITEC INC., 25.08.2016) - прототип. Описаны методы и системы офтальмологической визуализации, которые повышают чувствительность автоматизированных диагнозов с использованием комбинации функциональной и структурной информации, полученной из различных форм офтальмологических изображений. Примерный способ анализа данных изображения глаза пациента включает обработку первого набора данных изображений для получения одного или нескольких функциональных показателей; обработка второго набора данных изображений для получения одной или нескольких структурных метрик; сравнение одного или нескольких структурных показателей с одним или несколькими функциональными метриками; и обработки результатов указанного сравнения для получения вероятности заболевания или нормальности глаза. Недостатки этой системы автоматизации состоят в том, что: 1) данная система предназначена только для выделения бессосудистой зоны центральной ямки глаза, то есть она выделяет зоны ишемии только определенного типа, а не все, как наша система; 2) системе для анализа нужно большое количество ангиографических изображений, в то время как нашей системе достаточно небольшого количества; 3) система не позволяет выделить сосуды на изображении; 4) система не позволяет посчитать морфометрические характеристики для сосудов, такие как диаметр сосудов, длина сосудов, площадь сосудов и т.п.; 5) система не предоставляет интерфейс работы с изображением. Настоящее изобретение направлено на проблему автоматизации выделения сосудистого русла и зон ишемии на ангиографических изображениях глазного дна человека. Патентуемая автоматизированная система анализа ангиографических изображений глазного дна включает блок ввода исходных цифровых ангиографических изображений, средства анализа и выделения функциональных и структурных показателей глазного дна и базу данных, связанные с возможностью обмена информацией и управления с процессором. Отличие состоит в следующем. Дополнительно введен блок предварительной обработки исходных изображений, связанный с выходом блока исходных изображений, выполненный с возможностью преобразования цветного исходного изображения в одноканальное в оттенках серого с последующей нормализацией и логарифмической коррекцией, фильтрацией шума на изображении, повышения контраста и бинаризации изображения. Средства анализа и выделения функциональных и структурных показателей глазного дна содержат блок анализа изображений сосудов, выполненный с возможностью удаления шумовых объектов последовательно по площади и по удлиненности и построения остова области выделенных сосудов для последующего измерения их ширины, а также блок выделения сосудов, первый выход которого связан с блоком определения морфометрических характеристик сосудов, а второй выход - с блоком выделения зон ишемии сосудов. Блок определения морфометрических характеристик сосудов выполнен с возможностью определения плотности расположения сосудов, среднего диаметра и среднеквадратичного отклонения диаметров и общей длины сосудов. Блок выделения зон ишемии сосудов выполнен с возможностью построения гистограмм яркостей изображения и последующего их анализа, наложения изображений сосудов на область зоны ишемии и расширения зоны ишемии до пересечения с сосудами путем дилатации с получением области, пересекающейся с сосудами в выделенной зоне ишемии и последующим заполнением зон ишемии сосудами с помощью операций морфологического закрытия и реконструкции, при этом выход блока выделения зон ишемии сосудов связан с входом блока определения параметров зоны ишемии сосудов, выход которого и выход блока определения морфометрических характеристик сосудов связаны с базой данных. Система может характеризоваться тем, что блок предварительной обработки исходных изображений включает последовательно соединенные модуль яркостной и цветовой коррекции изображения, модуль нормализации изображения, модуль логарифмической коррекции изображения, модуль фильтрации шума на изображении, модуль повышения контраста изображения и модуль бинаризации изображения, выход которого является выходом блока. Система может характеризоваться и тем, что блок анализа изображений сосудов включает модуль удаления шумовых объектов по площади, связанный по выходу с модулем удаления шумовых объектов по удлиненности, первый выход которого связан с входом модуля построения остова области, выход которого и второй выход модуля удаления шумовых объектов по удлиненности объединены и являются выходом блока. Система может характеризоваться также тем, что блок определения морфометрических характеристик сосудов включает параллельно соединенные модуль подсчета плотности расположения сосудов, модуль подсчета диаметров сосудов, их среднего значения и среднеквадратичного отклонения, модуль подсчета длины сосудистого русла, выходы которых объединены и являются выходом блока. Система может характеризоваться также и тем, что блок выделения зон ишемии включает последовательно соединенные модуль построения гистограммы яркостей изображения, модуль анализа гистограммы яркостей изображения, модуль наложения изображений сосудов на область зоны ишемии, модуль расширения зоны ишемии до пересечения с сосудами, модуль нахождения сосудов в зоне ишемии, модуль заполнения зон ишемии сосудами, модуль выделения области зоны ишемии, выход которого является выходом блока. Технический результат состоит в расширении классов выделяемых зон ишемии, обеспечении возможности выделения на изображении сосудов и определения их морфометрических характеристик при снижении необходимого для анализа количества ангиографических изображений. Патентуемая система основана на совместном использовании обработки изображений, математической морфологии и анализе специфики ангиографических изображений, в основе которых лежат результаты, полученные при разработке методов автоматизации анализа различных биомедицинских изображений (см., например, I.B. Gurevich, V.V. Yashina, A.A. Fedorov, A.M. Nedzved, and A.M. Ospanov. Development, Investigation, and Software Implementation of a New Mathematical Method for Automated Identification of the Lipid Layer State by the Images of Eyelid Intermarginal Space // Pattern Recognition and Image Analysis: Advances in Mathematical Theory and Applications. Pleiades Publishing, Ltd., 2017. - Vol. 27, No. 3 - pp. 538-549; LB. Gurevich, V.V. Yashina, A.A. Fedorov, A.M. Nedzved, and A.T. Tleubaev. Development, Investigation, and Software Implementation of a New Mathematical Method for Automatizing Analysis of Corneal Endothelium Images // Pattern Recognition and Image Analysis: Advances in Mathematical Theory and Applications. Pleiades Publishing, Ltd., 2017. - Vol. 27, No. 3. - pp. 550-559). Существо изобретения поясняется на чертежах, где: фиг. 1 - блок-схема автоматизированной системы; фиг. 2 - блок предварительной обработки исходного изображения; фиг. 3 - блок анализа изображений сосудов; фиг. 4 - блок определения морфометрических характеристик сосудов; фиг. 5 - блок выделения зон ишемии; фиг. 6 - вид исходного изображения; фиг. 7 - результат обработки изображения: выделенные сосуды; фиг. 8 - результат обработки изображения: выделенная зона ишемии. Патентуемая автоматизированная система анализа ангиографических изображений глазного дна (фиг. 1) включает блок 1 предварительной обработки исходных изображений, блок 2 анализа изображений сосудов; блок 3 выделения сосудов; блок 4 определения морфометрических характеристик сосудов; блок 5 выделения зон ишемии сосудов; блок 6 определения параметров зоны ишемии сосудов; блок 7 БД, в которой производится документирование результатов анализа. Таким образом, система предусматривает три этапа извлечения информации из изображений: предобработка изображения, анализ изображений (выделение сосудов и зон ишемии) и подсчет морфометрических характеристик сосудов и зон ишемии. Исходными изображениями являются цветные снимки сосудистого русла глазного дна человека с ярко освещенной частью в центре и затемнениями по краям (фиг. 6). Изображения визуально отображают оттенки серого. Сосуды представляют собой разветвленную сеть кровеносных каналов, выходящих из центра диска зрительного нерва (темная область округлой формы). Проникая в глазное яблоко, флуоресцеин вначале контрастирует, окрашивая в белый цвет хориоидальные сосуды (с более быстрым кровотоком), а далее - ретинальные сосуды: последовательно артериальные сосуды, капилляры и вены. Зоны ишемии представляют собой темные области, в которых отсутствует кровоток, соответственно флуоресцеиновый раствор не попадает в ткани данной зоны, тем самым эти области остаются затемненными. Основными задачами автоматизированной системы являются выделение на ангиографических изображениях глазного дна человека всех звеньев сосудистого русла для подсчета его плотности и среднего диаметра сосудов, а также выделение зон ишемии и подсчета требуемых морфометрических характеристик. Результатами работы должны быть: 1) бинарные изображения с выделенными сосудами для визуального анализа офтальмологами; 2) морфометрические характеристики, связанные с выделенными сосудами: плотность расположения сосудов, средний диаметр и среднеквадратичное отклонение диаметров сосудов, общая длина сосудов; 3) бинарные изображения выделенной зоны ишемии и объем данной области в кв. мкм. Методы, используемые для идентификации сосудов на двумерных изображениях, базируются на локальных признаках изображения, учитывающих специфические свойства васкулярных сегментов. Метод, основанный на обработке пикселов, использует двухшаговый подход и приведен ниже. Первым шагом является процедура улучшения качества изображения (обычно оператор свертки), направленная на начальный набор пикселов для дальнейшего подтверждения в качестве сосудов на втором этапе. На фиг. 2 показана структурная схема блока 1 предварительной цифровой обработки исходного изображения, которая предназначена для повышения качества изображений для улучшения его визуального восприятия врачом, для обработки изображений для их хранения, представления и передачи в системах машинного зрения или преобразование изображений таким образом, чтобы повысить эффективность их дальнейшего анализа и распознавания. Блок 1 содержит следующие модули: Модуль А.1 «Яркостная и цветовая коррекция изображений». Исходное изображение (фиг. 6) дано в монохроматическом виде, но с тремя каналами цветов. Поэтому это изображение переводится в одноканальное изображение в оттенках серого с помощью уравнения (1). где R, G, В - красный, зеленый и синий каналы изображения, соответственно. Модуль А.2 «Нормализация изображения». Для дальнейшего удобства работы с изображением оно нормализуется на отрезок [0,1]. Модуль А.З «Логарифмическая коррекция изображения». Камера освещает только округлую область, поэтому края изображения низко контрастные и требуют освещения. Для осветления затемненных областей применяется логарифмическая коррекция: каждый пиксель изображения обрабатывается по формуле (2): где: Output - пиксели выходного изображения, gain - фактор масштабирования (scaling factor), Input - пиксели входного изображения. Модуль А.4 «Фильтрация шума на изображении». С целью снижения зашумленности исходного изображения применяется фильтр Гаусса. Фильтр Гаусса также хорошо способствует выделению границ, т.к. уменьшает чувствительность детектора границ к шуму. Модуль А.5 «Повышение контраста изображения». Мелкие сосуды представляют собой тонкие структуры и являются низко контрастными, поэтому их выделение является трудоемкой задачей. Для улучшения их отделимости от фона и лучшего и более точного выделения, на изображениях делается свертка ядрами для поиска краев, соответствующих четырем ориентациям (горизонтальной, вертикальной, 45° и 135°). После свертки данными ядрами для изображения находились края и суммировались с обработанным на предыдущем шаге изображением. Модуль А.6 «Бинаризация изображения». К полученному неоднородному по освещенности изображению применяется адаптивная бинаризация Саувола. На фиг. 3 показана структурная схема блока 2 анализа изображений для выделения сосудов. Изображения приводятся к виду, удобному для распознавания, т.е. проводится построение формального описания - модели изображения. Для выделения сосудов необходимо провести анализ с учетом специфики ангиографических изображений: появление мелких не связанных компонентов за счет неровности освещенности препарата и появление сгустков нервных окончаний, не являющихся сосудами. Блок 2 содержит следующие модули: Модуль Б.1 «Удаление шумовых объектов по площади». Вместе с сосудами также выделяются и шумы (мелкие компоненты) из-за неоднородности освещенности. Эти компоненты удаляются из изображения по площади. Модуль Б.2 «Удаление шумовых объектов по удлиненности». В получившемся после очистки на предыдущем шаге изображении все еще остаются компоненты, которые не являются сосудами. Эти компоненты могут быть как и относительно большими шумовыми элементами, так и сгустками нервных окончаний. Все эти элементы удаляются по порогу удлиненности области (3). Поскольку эти объекты менее вытянуты и более похожи на круг, то подбор такого порога проводится без риска потери сосудов. Результат обработки изображения с выделенными сосудами показан на фиг. 7. Модуль Б.3 «Построение остова области». Строится скелет для выделенных сосудов для дальнейшего измерения их ширины. На фиг. 4 показана структура блока 4 определения морфометрических характеристик сосудов: плотность расположения сосудов, средний диаметр сосудов, среднеквадратичное отклонение диаметров сосудов, общую длину сосудов. Блок 4 определения морфометрических характеристик включает следующие элементы. Модуль С.1 «Подсчет плотности расположения сосудов». Вычисляется как отношение выделенных пикселей в модуле В.2, относящихся к сосудистому руслу, к общей площади исходного изображения. Эта величина характеризует плотность расположения сосудов. Модуль С.2 «Подсчет диаметра сосудов». По построенному остову можно посчитать ширину сосудов для каждой точки скелета. Для этого для каждого пикселя необходимо провести следующие операции: а) построить круг радиуса R (начальное приближение 1); б) если в круг попадает пиксель края сосуда, то считать, что ширина сосуда равняется диаметру круга (пикселы переводятся в мкм); в) если в круге отсутствует пиксель края, то увеличивать радиус на 1 и повторять с шага (а). По известным диаметрам сосудов в каждой точке скелета вычисляются статистические характеристики: средний диаметр и среднеквадратичное отклонение. Модуль С.3 «Подсчет длины сосудистого русла». При известном масштабе исходного изображения длина построенного остова в пикселах переводится в длину сосудистого русла в мкм. Структурная схема блока 5 выделения зон ишемии представлена на фиг. 5 и также включает три этапа извлечения информации: обработка и анализ изображений и подсчет морфометрических характеристик выделенной зоны. Предварительная обработка ангиографических изображений проводится в блоке 1 (фиг. 2) аналогично модулям А.1-А.4 как и при определении морфометрических характеристик сосудов, однако дополняется модулем А.0. Модуль А.0 «Выделение области интереса». Для поиска зон ишемии рассматривается область картинки, с обрезанными краями в 17% (высчитано эмпирически). Такое урезание картинки связано с тем, что при получении ангиографических изображений глазного дна, края изображения из-за округленности глазного яблока освещаются слабо и мешают определению зон ишемии. Блок 5 выделения зон ишемии содержит следующие модули. Модуль В.1 «Построение гистограмм яркостей изображения». Изображение на предыдущих шагах нормализовано на отрезок [0, 1]. Отрезок разделен на 256 бинов, и построены гистограммы для этих подотрезков. Модуль В.2 «Анализ гистограмм яркостей изображения». Теоретически, учитывая, что зоны ишемии самые темные области на изображении, то на гистограмме первый локальный максимум будет отделять эти области от остальных освещенных областей. Валидность данного деления была проверена на выборке из нескольких изображений. Экспериментальным путем было доказано, что данный экстремум действительно будет порогом для нахождения зон ишемии. В результате такой обработки исходного изображения область зоны ишемии была определена. Однако необходимо учесть специальный случай наложения сосудов на область ишемии на изображениях, находящиеся в реальности на разных плоскостях, но попадающих на одно изображение. Следующие шаги направлены на получение результата, учитывающего данную особенность. Модуль В.3 "Наложение сосудов на область зоны ишемии". Зоны ишемии находятся в другой плоскости относительно сосудов, поэтому необходимо учитывать (добавлять) зоны ишемии, пересекающиеся с сосудами. Выполняется заливка области ишемии, пересекающейся с сосудами. Модуль В.4 "Расширение зоны ишемии до пересечения с сосудами". Для заполнения данных участков применяется операция дилатации, обеспечивающая расширение зоны ишемии до пересечения с сосудами. Модуль В.5 "Нахождение сосудов в зоне ишемии". После расширения зоны ишемии получаем область, пересекающуюся с сосудами. Найдем пересечения расширенной зоны с сосудами и добавим в исходное изображение с выделенной зоной ишемии. Модуль В.6 "Заполнение зон ишемии сосудами". Получим заполненные зонами вен участки зон ишемии. Модуль В.7 "Выделенная область зоны ишемии". Применив к этому изображению операции морфологических закрытия и реконструкции, заполним области так, чтобы не осталось зон пересечения с сосудами. В итоге получаем окончательный результат обработки изображения с выделенной зоной ишемии - белые бесформенные пятна на черном фоне, соответствующие зоне ишемии (фиг. 8). Эмпирическим путем был найден баланс между интенсивностью морфологических операций и правильностью выделения зоны ишемии. При известном масштабе исходного изображения число пикселей, входящих в зону ишемии, переводится в площадь зоны ишемии в мкм2. Проведенные вычислительные эксперименты показали, что разработанные методы выделения сосудистого русла и зон ишемии на ангиографических изображениях глазного дна человека дают результаты, позволяющие выявить и оценить ход лечения диагностируемых заболеваний. Обсуждение и интерпретация результатов проводились совместно с экспертами-офтальмологами. Установлено, что точность метода, по меньшей мере, не уступает по точности результатам визуальной обработки экспертами-офтальмологами, однако осуществляется примерно в 1000 раз быстрее: а) обработка одного изображения в автоматическом режиме занимает не более секунды, в зависимости от размеров обрабатываемого изображения, а обработка экспертом-офтальмологом занимает не менее одного часа; б) возможность автоматической обработки позволит уменьшить число образцов, необходимых для принятия диагностического решения и выбора тактики лечения. Достижение технического результата - возможность автоматического анализа ангиографических изображений глазного дна с выделением зон ишемии проведена на 20 ангиографических изображениях. Вычислительные эксперименты на полученных данных показали, что результаты являются гораздо более полными, чем достигаются врачом-офтальмологом при визуальной обработке. Автоматизация позволяет сократить время обработки изображения на 3 порядка. Программная реализация выполнена на ЯП Python версии 3 с использованием библиотеки scikit-image. Интерфейс написан на ЯП Python версии 3 с использованием библиотеки Qt. Реализованная программа является кроссплатформенной и запускается на любом компьютере с поддержкой ЯП Python 3.

