патент
№ RU 2305200
МПК F02K3/02

ВОЗДУШНО-РЕАКТИВНЫЙ ДВИГАТЕЛЬ

Авторы:
Якубовский Константин Яковлевич Поклад Валерий Александрович Гольдинский Эммануил Израилевич
Все (5)
Номер заявки
2005115059/06
Дата подачи заявки
18.05.2005
Опубликовано
27.08.2007
Страна
RU
Как управлять
интеллектуальной собственностью
Чертежи 
10
Реферат

[32]

Воздушно-реактивный двигатель содержит турбокомпрессорную часть с компрессором, камерой сгорания и турбиной, размещенную перед выходным соплом камеру, имеющую, по меньшей мере, одно окно и заслонки, установленные с возможностью перемещения относительно окна с образованием канала, сообщенного с камерой для обеспечения поступления в нее атмосферного воздуха. Двигатель также снабжен расположенным за турбиной и перед камерой сопловым блоком, выполненным с возможностью вращения вокруг своей оси и имеющим, по меньшей мере, два внутренних канала. Каждый из внутренних каналов входом гидравлически сообщен с турбиной, а выходом - с камерой, и имеет профилированные в виде сопел выходные сечения. На форсажном режиме окно камеры закрыто заслонками, и камера работает как форсажная. Изобретение позволяет повысить топливную экономичность двигателя на крейсерских скоростях полета. 11 ил.

Формула изобретения

Воздушно-реактивный двигатель, содержащий турбокомпрессорную часть с компрессором, камерой сгорания и турбиной, размещенную перед выходным соплом камеру, имеющую, по меньшей мере, одно окно и заслонки, установленные с возможностью перемещения относительно окна с образованием канала, сообщенного с камерой, для обеспечения поступления в нее атмосферного воздуха на бесфорсажном режиме, отличающийся тем, что двигатель снабжен расположенным за турбиной и перед камерой сопловым блоком, выполненным с возможностью вращения вокруг своей оси и имеющим, по меньшей мере, два внутренних канала, каждый из которых входом гидравлически сообщен с турбиной, а выходом - с камерой, и имеет профилированные в виде сопел выходные сечения, при этом на форсажном режиме окно камеры закрыто заслонками, и камера работает как форсажная.

Описание

[1]

Изобретение относится к области авиадвигателестроения, в частности к конструкциям воздушно-реактивных двигателей.

[2]

Известен воздушно-реактивный двигатель, содержащий турбокомпрессорную часть с компрессором, камерой сгорания и турбиной, и размещенную перед выходным сопло камеру, имеющую, по меньшей мере, одно окно и заслонки, установленные с возможностью перемещения относительно окна с образованием канала, сообщенного с камерой, для обеспечения поступления в нее атмосферного воздуха на бесфорсажном режиме (см. патент WO 0227177, кл. F02K 1/38, опубл. 04.04.2004).

[3]

Недостатки данного двигателя - ограничение функциональных возможностей двигателя, ограниченное число режимов его работы, невозможность работы двигателя при форсаже для создания повышенной тяги этого режима.

[4]

Технический результат - расширение функциональных возможностей двигателя и повышение тяги двигателя.

[5]

Указанный технический результат достигается тем, что воздушно-реактивный двигатель, содержащий турбокомпрессорную часть с компрессором, камерой сгорания и турбиной, размещенную перед выходным соплом камеру, имеющую, по меньшей мере, одно окно и заслонки, установленные с возможностью перемещения относительно окна с образованием канала, сообщенного с камерой, для обеспечения поступления в нее атмосферного воздуха на бесфорсажном режиме работы, согласно изобретению снабжен расположенным за турбиной и перед камерой сопловым блоком, выполненным с возможностью вращения вокруг своей оси и имеющим, по меньшей мере, два внутренних канала, каждый из которых входом гидравлически сообщен с турбиной, а выходом - с камерой, и имеет профилированные в виде сопел выходные сечения, при этом на форсажном режиме окно камеры закрыто заслонками, и камера работает как форсажная.

[6]

На фиг.1 схематично изображен воздушно-реактивный двигатель (продольный разрез) с сопловым блоком и заслонками в положении «закрыто»;

[7]

на фиг.2 - воздушно-реактивный двигатель (продольный разрез) с сопловым блоком и заслонками в положении «открыто» и пилонами, расположенными внутри камеры;

[8]

на фиг.3 - изображено сечение А-А фиг.2;

[9]

на фиг.4 - воздушно-реактивный двигатель (продольный разрез) с сопловым блоком и пилонами, расположенными снаружи камеры (вариант выполнения);

[10]

на фиг.5 - изображено сечение Б-Б фиг.4;

[11]

на фиг.6 - общий вид двигателя, вариант выполнения окон;

[12]

на фиг.7 - общий вид двигателя, вариант расположения камеры относительно турбокомпрессорной части;

[13]

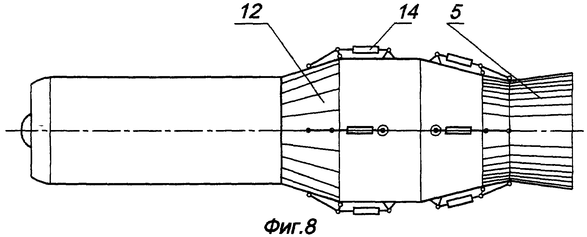
на фиг.8 - общий вид двигателя с заслонками в положении «закрыто»;

[14]

на фиг.9 - схематично изображен сопловой блок в увеличенном масштабе;

[15]

на фиг.10 - изображен вид В фиг.9;

[16]

на фиг.11 - изображен вид Г фиг.9.

[17]

Воздушно-реактивный двигатель (фиг.1, 2, 4) содержит турбокомпрессорную часть с компрессором 1, турбиной 2 и камерой сгорания 3, а также камеру 4, размещенную перед выходным соплом 5. Камера 4 может быть расположена на расстоянии от турбокомпрессорной части (см. фиг.7) или примыкать к турбокомпрессорной части (см. фиг.6). Выходное сопло 5 крепится к камере 4. За турбиной 2 и перед камерой 4 расположен сопловой блок 6, установленный в подшипниках 7; сопловой блок 6 имеет возможность вращения вокруг своей продольной оси (см. фиг.1, 2, 4).

[18]

Сопловой блок 6 (фиг.9) имеет, по меньшей мере, два, например шесть, внутренних каналов 8, симметричных относительно оси вращения соплового блока 6. Каналы 8 (фиг.1, 2, 4) входами (входными сечениями) гидравлически сообщены с турбиной 2, например, через общее сечение 9 (фиг.10), имеющее кольцевую форму на входе газа в сопловой блок 6. Выходы (выходные сечения) каналов 8 выполнены профилированными в виде сопел 10 (см. фиг.11).

[19]

Камера 4 имеет, по меньшей мере, одно окно 11 и регулируемые заслонки 12. Регулируемые заслонки 12 имеют возможность перемещения относительно окна 11 с образованием конфузорного (по потоку) канала 13 (фиг.2, 4), сообщенного с камерой 4 через окно 11, для обеспечения поступления в камеру 4 атмосферного воздуха на бесфорсажных режимах работы. Выполнение канала 13 конфузорным обеспечивает образование дополнительной силы тяги двигателя за счет притока атмосферного воздуха и образования на стенках конфузорного канала 13 пониженных статических давлений. Регулируемые заслонки 12 связаны с приводными механизмами 14, выполненными, например, в виде гидроцилиндров с системой управления. При работе двигателя на бесфорсажных режимах приводные механизмы 14 удерживают заслонки 12 в открытом положении (фиг.2, 4).

[20]

Для крепления турбокомпрессорной части и камеры 4 двигателя имеются внутренние пилоны 15 (фиг.1, 2, 7), которые могут служить перемычками, образующими окна 11 в камере 4. Как вариант выполнения окна 11 могут быть выполнены на боковой поверхности камеры 4 (фиг.6).

[21]

Как вариант выполнения пилоны 16 (фиг.4) могут быть наружными.

[22]

Двигатель работает следующим образом.

[23]

При работе двигателя на обычных, крейсерских скоростях полета (на бесфорсажных режимах) (фиг.2, 4) приводные механизмы 14 удерживают заслонки 12 в открытом положении с образованием конфузорного канала 13. Через канал 13 и окна 11 в камеру 4 поступает воздух из атмосферы (направление потока воздуха показано на фиг.2, 4 стрелками). Работа турбокомпрессорной части осуществляется по типичной схеме: воздух поступает в компрессор 1, где сжимается, и подается в камеру сгорания 3, куда одновременно подается топливо. Образующиеся продукты сгорания поступают в турбину 2. Газовый поток после расширения в турбине 2 поступает во вращающийся сопловой блок 6. В сопловом блоке 6 газ поступает в общий канал, где, разделяясь, проходит через каналы 8 и поступает в проточный тракт камеры 4 в виде вращающихся струй. Во внутреннем пространстве камеры 4 происходит взаимодействие и передача энергии от газа из соплового блока 6 к атмосферному воздуху, поступающему через открытые окна 11. После камеры 4 поток поступает в сопло 5, из которого истекает в атмосферу. Такой прием позволяет увеличить тягу или снизить расход топлива за счет принципа «присоединения массы».

[24]

На режиме форсажа окно 11 (или окна) камеры 4 закрыты заслонками 12. Работа турбокомпрессорной части осуществляется по типичной схеме: воздух поступает в компрессор 1, где сжимается, и подается в камеру сгорания 3, куда одновременно подается топливо. Образующиеся продукты сгорания поступают в турбину 2. Газовый поток после расширения в турбине 2 поступает во вращающийся сопловой блок 6. В сопловом блоке 6 газ поступает в общий канал, где, разделяясь, проходит через каналы 8 и поступает в проточный тракт камеры 4 в виде вращающихся струй. Одновременно в камеру 4 подается топливо (как в обычной форсажной камере). Разделение на несколько потоков газового потока в сопловом блоке 6 улучшает условия смешения газа и топлива в камере 4. После камеры 4 поток поступает в сопло 5, из которого истекает в атмосферу.

[25]

Разделение потока на несколько струй в сопловом блоке 6, профилирование выходных сечений 10 и струй, а также собственно вращение соплового блока 6 необходимы для улучшения условий взаимодействия (повышения КПД) энергообмена двух потоков: высоконапорного газа из двигателя и атмосферного воздуха. При этом струи газа приобретают форму «газового шнека» и не вращаются. Последнее достигается тем, что газ, выходящий из соплового блока 6, имеет собственную скорость истечения, вектор которой направлен под углом к оси соплового блока 6 и оси симметрии камеры 4, и приобретает переносную скорость от вращения соплового блока 6. Результирующая скорость отдельных частиц газа направлена вдоль оси камеры 4 и выходного сопла 5.

[26]

Благодаря описанному выше процессу формирования газовых потоков происходит их взаимодействие и эффективная передача энергии от потока газа, истекающего из соплового блока 6, атмосферному воздуху с высоким коэффициентом полезного действия (около75%) и минимальными потерями, то есть - с высокой эффективностью.

[27]

Собственно вращение соплового блока 6 происходит за счет проходящего через него газа, когда незначительная часть работы расходуется на преодоление вентиляционных потерь и потерь трения в подшипниках 7 и уплотнениях соплового блока 6.

[28]

Наружный диаметр D соплового блока 6 выбирается из соотношения D/Dтурб.=0,5-2,0, где Dтурб. - диаметр турбины двигателя.

[29]

Увеличение расхода газа за счет поступления атмосферного воздуха при одновременном повышении КПД процесса энергообмена газовыми потоками позволяют увеличить тягу, как это имеет место, например, в эжекторных усилителях тяги, или позволяют снизить удельный расход топлива двигателя.

[30]

На бесфорсажном режиме полета данную камеру 4 можно отнести к разновидности так называемого эжекторного усилителя тяги (Ененков В.Г. и др. Авиационные эжекторные усилители тяги, М.: Машиностроение, 1980). Камера 4 в этом случае выполняет роль второго контура двигателя, который, как известно, повышает топливную экономичность путем присоединения дополнительной массы воздуха к основному потоку газа двигателя.

[31]

Таким образом, в представленном двигателе совмещены функции двигателя с форсажной камерой, который применяется на высоких скоростях полета, и экономичного двигателя с достаточно высокой степенью двухконтурности, который применяется, обычно, на более низких скоростях полета (до Мп≈1,0).

Как компенсировать расходы
на инновационную разработку
Похожие патенты