патент
№ RU 2547740
МПК B01J20/20

СПОСОБ ПОЛУЧЕНИЯ ФЕРРОМАГНИТНОГО УГЛЕРОДНОГО СОРБЕНТА

Авторы:
Самойлов Игорь Борисович Комиссарова Любовь Хачиковна Литвяк Евгений Иванович
Все (4)
Номер заявки
2013119975/05
Дата подачи заявки
30.04.2013
Опубликовано
10.04.2015
Страна
RU
Как управлять
интеллектуальной собственностью
Чертежи 
2
Реферат

Изобретение относится к области получения ферромагнитных углеродных сорбентов, предназначенных для очистки вод. Целлюлозосодержащее сырье пропитывают водным раствором соли железа, отделяют избыток влаги и полученную смесь подвергают пиролизу. Пиролиз проводят в пиролизной камере при 400-500°C, осуществляя серии последовательных тепловых импульсов длительностью 0,1-1,0 секунды с интервалом между импульсами 10 секунд. Нагрев смеси осуществляют с помощью нихромовых стержней, которые соединены с электрогенератором и размещены в объеме пиролизной камеры с разделением камеры на локально нагреваемые ячейки. Изобретение обеспечивает снижение энергозатрат, времени проведения процесса и его удешевление. 3 з.п. ф-лы, 2 ил., 2 пр.

Формула изобретения

1. Способ получения ферромагнитного углеродного сорбента пиролизом целлюлозосодержащего сырья в присутствии солей железа, отличающийся тем, что целлюлозосодержащее сырье пропитывают водным раствором соли железа и после отделения избытка влаги полученную смесь подвергают пиролизу при нагреве в пиролизной камере при температуре 400-500°C серией последовательных тепловых импульсов длительностью 0,1-1,0 с с интервалом между импульсами 10 с, при этом импульсный нагрев смеси осуществляют с помощью нихромовых стержней, которые соединены с электрогенератором и размещены в объеме пиролизной камеры таким образом, что делят ее на локально нагреваемые ячейки.

2. Способ по п. 1, отличающийся тем, что в качестве целлюлозосодержащего сырья используют измельченное целлюлозосодержащее сырье, например древесные опилки.

3. Способ по п. 1, отличающийся тем, что в качестве солей железа используют водорастворимые соли железа или их смеси.

4. Способ по п. 1, отличающийся тем, что сорбент охлаждают и дополнительно подвергают измельчению механическим способом в присутствии ПАВ, суспендируют в воде и полученную массу обрабатывают ультразвуком в режиме кавитации.

Описание

[5]

Изобретение относится к области неорганической химии и касается способа получения ферромагнитного углеродного сорбента, предназначенного для очистки рек и сточных вод, для очистки воды на водозаборах в системах коммунального водоснабжения.

[6]

Сорбенты, используемые для очистки проточной воды, должны обладать высокой адсорбционной активностью по отношению к загрязнителям различной химической природы, стабильностью в условиях длительного пребывания в воде, а также они должны легко извлекаться из воды после насыщения. Этим условиям удовлетворяют ферромагнитные углеродные сорбенты, которые после завершения процесса сорбции могут быть собраны с помощью магнитных сепарационных технологий. Учитывая, что очистка водоемов связана с большими расходами сорбентов, важным фактором является дешевизна продукта и возможность организации крупномасштабного производства.

[7]

Известен способ получения магнитного сорбента [SU 1766495 A1, опубл. 17.10.92], согласно которому порошок активного угля смешивают с оксалатом железа в шаровой мельнице и смесь подвергают термообработке при 400-500°C в атмосфере водорода. Недостатком способа является использование дорогостоящего активированного угля и высокотемпературной обработки в атмосфере водорода, требующей специальных мер безопасности.

[8]

Известен способ получения углеродного ферромагнитного сорбента [SU 1148834 A, опубл. 27.04.82], в котором в качестве углерод- и железосодержащего сырья используют пирокарбон - твердый порошкообразный остаток пиролиза городских отходов, содержащий 30-35% углерода и до 70% минеральных примесей, включающих, наряду с Fe2O3, оксиды кремния, алюминия, магния и др. Согласно изобретению, пирокарбон смешивают с талловым маслом, гидроксидом калия и алюмогелем, после чего смесь гранулируют и подвергают термообработке при 600-700°C. Непостоянство состава исходного сырья и режимов его пиролиза для получения пирокарбона не позволяют получить адсорбент с воспроизводимыми адсорбционными характеристиками.

[9]

Известен способ получения ферромагнитного углеродного адсорбента, предназначенного для очистки сточных вод, ликвидации нефтяных загрязнений и для селективного извлечения из растворов благородных металлов [RU 2445156 C1, опубл. 20.03.2012]. Способ включает обработку древесных опилок водным раствором хлорида железа и водным раствором хлорида цинка, сушку, карбонизацию в токе инертного газа при линейном подъеме температуры до 400-800°C со скоростью 10 град/мин, выдержку при конечной температуре в течение 30 минут, двухкратную промывку водой и сушку до постоянного веса. Полученный адсорбент имеет высокую удельную поверхность, его свойства продемонстрированы на примере извлечения благородных металлов из хлоридных растворов. Осуществление способа требует больших затрат времени и энергии, а также дополнительных расходов, связанных с использованием инертного газа.

[10]

Железоуглеродный сорбент с необходимыми свойствами может быть получен известным плазменно-химическим способом [J. Magnetism and Magnetic Materials, 1999, 194, p.22-25], связанным с большими энергозатратами, определяющими высокую стоимость целевого продукта. Учитывая необходимость большого расхода сорбента для очистки природных проточных водоемов, применение этого способа для получения промышленных количеств сорбента нецелесообразно.

[11]

Известен выбранный за прототип способ получения ферромагнитного углеродного сорбента [SU 715458, опубл. 15.02.80] на основе углеродсодержащего сырья, например древесных опилок, путем их обработки раствором соли железа при соотношении твердой и жидкой фазы 1:(5-15) с последующим вакуумированием, сушкой и пиролизом в атмосфере инертного газа (гелия), который осуществляют ступенчато, повышая температуру через каждые 50-100 градусов до 800°C с выдерживанием адсорбента на каждой ступени в течение 0,5-4 часов. Способ требует больших затрат времени, характеризуется высокой энергоемкостью, связанной с энергозатратами на стадиях сушки, вакуумирования и многоступенчатого длительного пиролиза, требует использования дорогостоящего гелия, что делает его неперспективным для промышленного масштабирования.

[12]

Задачей настоящего изобретения является разработка простого, малозатратного по времени и энергоресурсам, пригодного к промышленному масштабированию способа получения ферромагнитного углеродного сорбента, обладающего высокой адсорбционной способностью и пригодного для очистки проточной воды.

[13]

Поставленная задача решается предлагаемым способом получения ферромагнитного углеродного сорбента пиролизом углеродсодержащего сырья в присутствии солей железа, отличающимся тем, что углеродсодержащее сырье пропитывают водным раствором соли железа и после отделения избытка влаги полученную массу подвергают быстрому пиролизу при температуре 400-500°C, которая создается импульсным нагревом нихромовых стержней, подсоединенных к генератору электрических импульсов и размещенных в объеме пиролизной камеры таким образом, что он оказывается разделенным на объемные локально нагреваемые ячейки.

[14]

В качестве углеродсодержащего сырья может быть использовано любое измельченное целлюлозосодержащее сырье, в частности древесные опилки любых пород деревьев.

[15]

В качестве солей железа могут быть использованы любые водорастворимые соли железа или их смеси. Оптимальное количественное соотношение углеродсодержащего сырья и водного раствора соли железа, а также концентрацию водного раствора соли железа подбирают так, чтобы содержание железа в целевом продукте составляло 30-60 масс.%. Как правило, используют 10%-ные растворы солей железа. Углеродсодержащее сырье, в частности опилки, пропитывают водным раствором соли железа непосредственно в накопительной мерной емкости, после чего избыток влаги удаляют через специальный кран и влажную массу подают в пиролизную камеру.

[16]

Импульсный нагрев смеси осуществляют с помощью серии тепловых импульсов от нагреваемых электрическими импульсами нихромовых стержней, расположенных в объеме пиролизной камеры таким образом, что она оказывается разделенной на объемные локально нагреваемые ячейки, при этом электропитание нагревательных элементов осуществляют от электрогенератора посредством электронного переключателя.

[17]

Пиролиз проводят при температуре 400-500°C, которая обеспечивается серией последовательных тепловых импульсов длительностью 0,1-1,0 с каждый с временным интервалом между импульсами 10 с. Количество импульсов, необходимое для завершения процесса, подбирается эмпирически и зависит от количественного и качественного состава пиролизуемой смеси и ее влажности и обычно составляет 70-100 импульсов. При этом отпадает необходимость в энергоемкой стадии предварительной сушки исходных материалов, поскольку испарение влаги происходит непосредственно в пиролизной камере под действием первых нескольких тепловых импульсов. Таким образом, общая продолжительность процесса измеряется минутами и требует небольших энергозатрат, в отличие от прототипа, согласно которому для получения адсорбента требуется несколько часов при больших расходах энергии на сушку, вакуумирование и ступенчатый длительный нагрев.

[18]

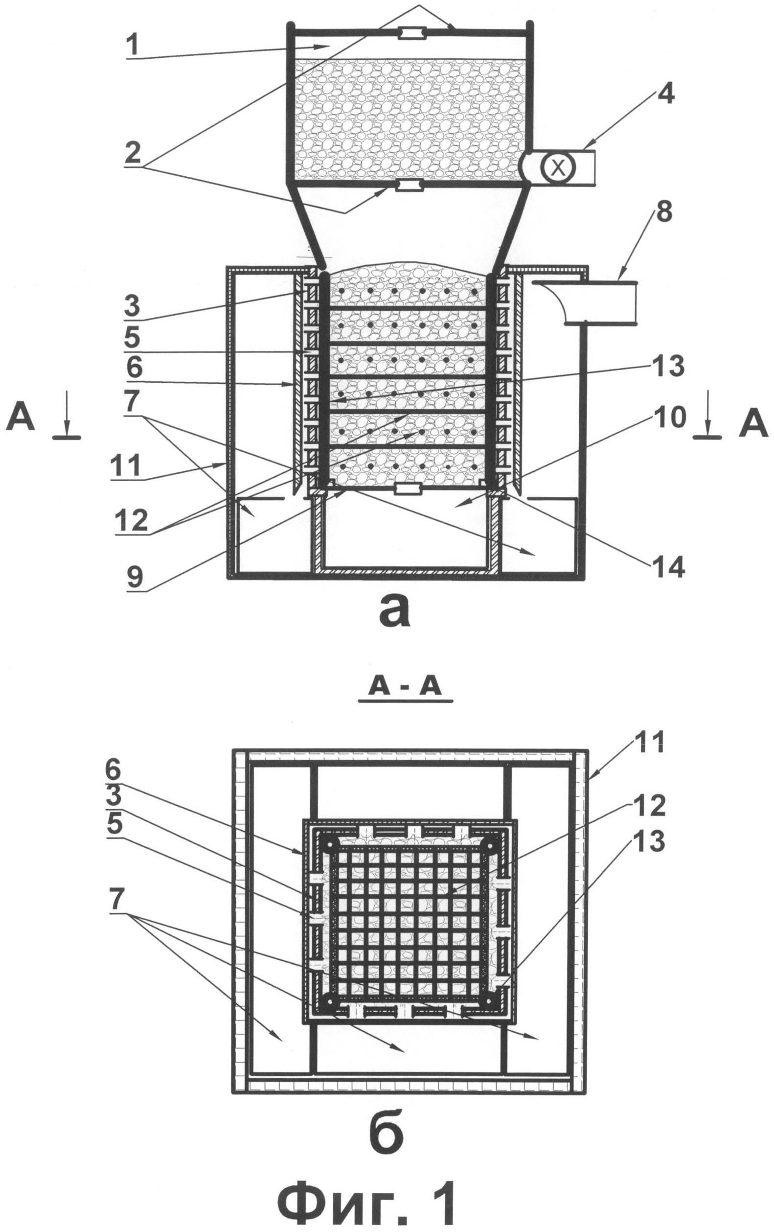
На Фиг. 1 и 2 схематически изображен вариант устройства, в котором может быть реализован заявляемый способ. На Фиг. 1 с помощью фронтального (а) и горизонтального (б) разрезов показана схема пиролизной камеры, соединенной с накопительной мерной емкостью. На Фиг. 2(a) показана схема съемной кассеты, содержащей нихромовые стержни, используемые в качестве нагревательных элементов. На Фиг. 2(б) схематически показан блок съемных кассет, позволяющий разделить объем пиролизной камеры на объемные локально нагреваемые ячейки.

[19]

Устройство содержит накопительную мерную емкость 1, снабженную на входе и выходе заслонками 2, соединенную с пиролизной камерой 3. В емкости 1 готовят смесь измельченного целлюлозосодержащего сырья с раствором соли железа. Слив с краном 4 служит для удаления из смеси избытка влаги перед пиролизом. Стенки пиролизной камеры, изготовленной из любого прочного термостойкого материала, например термостойкого пластика или дюраля, снабжены отверстиями 5 для выхода парогазовых продуктов, образующихся в процессе пиролиза и конденсирующихся вне пиролизной камеры на установленных вблизи ее стенок охлаждаемых поверхностях 6. Для сбора конденсата предназначены приемные емкости 7. Патрубок 8 предназначен для вывода неконденсируемых высококипящих продуктов. В нижней части пиролизная камера соединена через заслонку 9 с приемной емкостью 10 для сбора целевого продукта. Устройство заключено в герметичный корпус 11, выполненный из любого прочного материала, одна из стенок корпуса выполнена открываемой или отодвигаемой для облегчения монтажных и ремонтных работ. Внутри пиролизной камеры по всему ее объему послойно в съемных кассетах (см. Фиг. 2а) размещены нагревательные элементы 12, представляющие собой последовательно электросоединенные нихромовые стержни, закрепленные в кассете взаимно параллельно. Для удобства эксплуатации и обслуживания устройства съемные кассеты могут быть закреплены в кассетном блоке (Фиг. 2б) с помощью вертикальных крепежных стоек 13, которые могут устанавливаться на электромагнитные вибробашмаки 14, передающие кассетному блоку колебательные импульсы, способствующие прохождению перерабатываемой смеси сквозь ячейки, образованные нагревательными элементами. Съемные кассеты размещены в кассетном блоке таким образом, чтобы нагревательные элементы, расположенные в соседних слоях, были ориентированы перпендикулярно друг другу (Фиг. 2б). Это позволяет разделить рабочую зону пиролизной камеры на локально нагреваемые объемные ячейки, что обеспечивает быстрый равномерный прогрев смеси по всему объему пиролизной камеры. Описанное устройство кассетного блока и съемных кассет позволяет при необходимости варьировать размер локальных объемных ячеек по высоте и горизонтальному сечению пиролизной камеры с целью оптимизации процесса в зависимости от степени дисперсности и влажности перерабатываемой смеси. Съемные кассеты в кассетном блоке последовательно электросоединены между собой. Электропитание блока осуществляют от источника питания - электрогенератора или от сети переменного тока посредством управляемого таймером по заданной программе электронного, например семисторного, переключателя, с помощью которого на электровход 15 кассеты подают серию электрических импульсов, обеспечивающих нагрев стержней и смеси. Описанная конструкция позволяет масштабировать процесс для получения адсорбента в промышленных количествах.

[20]

Полученный карбонизированный продукт, представляет собой железоуглеродный композит, содержащий 30-60 масс.% железа. В зависимости от содержания железа удельная намагниченность композита в поле 1000 Э составляет 200-400 Гс/г.

[21]

Твердый целевой продукт после охлаждения измельчают. Образовавшиеся в процесс карбонизации топливные продукты утилизируют в целях использования в электрогенераторе для электропитания нихромовых стержней.

[22]

Невысокая стоимость полученного сорбента и возможность получения его в больших объемах позволяет использовать его для очистки больших объемов проточной воды, в частности рек, промышленных стоков и т.д.

[23]

Использование полученного описанным способом сорбента для очистки проточных водоемов описано нами в заявке на изобретение №2012147359 от 08.11.2012. Для придания сорбенту необходимых свойств, обеспечивающих возможность его распределения в объеме очищаемой воды, его измельчают в шаровой мельнице или другим механическим способом в присутствии поверхностно-активного вещества, например олеата натрия, при содержании ПАВ 0,5-2,0% до размера частиц 0,1-1 мкм, суспендируют полученную массу в воде путем обработки ультразвуком в режиме кавитации до получения агрегативно- и седиментационно-устойчивой суспензии, содержащей 10-30 масс.% сорбента, которую вводят в очищаемую воду в таком количестве, чтобы массовая концентрация сорбента в очищаемой воде превосходила массовую концентрацию загрязнителя в 2-40 раз.

[24]

Пример 1. Получение ферромагнитного углеродного сорбента.

[25]

50 г древесных опилок с размером до 10 мм засыпают в накопительную мерную емкость, расположенную над пиролизной камерой, и заливают 10%-ным водным раствором оксалата железа так, чтобы опилки были полностью покрыты водным раствором. Смесь выдерживают в течение 10 минут, после чего открывают кран в нижней части емкости и медленно сливают избыток жидкости в отдельную емкость. Затем открывают створки днища накопительной емкости и ссыпают влажные опилки, пропитанные раствором оксалата железа, в пиролизную камеру, где они подвергаются воздействию тепловых импульсов длительностью по 0,5 с каждый, излучаемых с интервалом 10 с нихромовыми стержнями, размещенными в пиролизной камере и подключенными к генератору электрических импульсов. Температура в камере около 450°C. Под действием первых 10 импульсов происходит удаление влаги, а затем карбонизация, для которой требуется еще 60 импульсов той же длительности. Интервал между импульсами, составляющий 10 с, позволяет поддерживать температуру в камере в интервале 400-500°C. Весь процесс сушки и карбонизации смеси занимает 12 мин. Полученный сорбент ссыпают в специальную емкость и после остывания измельчают. Выход продукта составляет 12 г.

[26]

При проведении процесса в промышленных масштабах образовавшиеся в процессе карбонизации парогазовые топливные продукты могут быть утилизированы в целях использования в электрогенераторах для электропитания нихромовых стержней, а также для получения бионефти.

[27]

Экстраполяционные оценки показывают, что затраты электроэнергии для получения тонны сорбента описанным способом составляют около 200 кВт·ч.

[28]

Продукт представляет собой ферромагнитный углеродный сорбент, содержащий железа 60%, углерода 40% с магнитной восприимчивостью порядка 50. Рентгеноструктурный анализ показывает, что в составе композита железо присутствует в форме металлического железа и в форме Fe3O4.

[29]

Удельная плотность сорбента около 1 г/см3, что позволяет его частицам, подвергнутым специальной, описанной выше, ультразвуковой обработке в присутствии ПАВ, броунировать в толще воды и длительное время двигаться с потоком воды, осуществляя сорбцию загрязнителей.

[30]

Пример 2. Определение сорбционных свойств ферромагнитного углеродного сорбента.

[31]

В качестве модельных соединений для определения сорбционной емкости полученного ферромагнитного углеродного сорбента по отношению к низкомолекулярным соединениям взяты метиленовый синий (Mm 319,8 Da) и толуидиновый синий (Mm 305,8 Da), обычно используемые для характеристики сорбционной емкости сорбентов.

[32]

Получали суспензии сорбента путем озвучивания частиц в дистиллированной воде с помощью ультразвукового диспергатора УЗДН-Т. Готовили растворы красителей с концентрацией: 0,016 мг/мл, которые инкубировали при перемешивании с суспензией железоуглеродного сорбента при весовом отношении сорбент/краситель, равном 20/1, при температуре 20°C (pH 6,0). Через 2 ч отбирали пробы смеси, осаждали микрочастицы суспензии на самарий-кобальтовом магните индукцией 0,1 Т и регистрировали электронные спектры поглощения супернатанта в видимой области. Определение концентрации сорбированных красителей и расчет сорбционной емкости проводили по значениям оптической плотности при 630 нм для толуидинового синего и при 665 нм для метиленового синего. Значения сорбционной емкости композитов по толуидиновому синему и метиленовому синему составили: 37,5+11,0 мг/мл и 50,0+14,0 мг/мл соответственно.

[33]

В качестве модельного соединения для определения сорбционной емкости полученного ферромагнитного углеродного сорбента по отношению к соединениям с более высокими молекулярными массами (500-1500 Da) использовали гемин (Mm=652 Da). Готовили щелочные растворы гемина (pH 11,5) с концентрацией 0,02 мг/мл, которые инкубировали при перемешивании с озвученной суспензией сорбента при весовом отношении сорбент/гемин, равном 10/1, при температуре 20°C. Через 2 часа отбирали пробы смеси, осаждали микрочастицы суспензии на самарий-кобальтовом магните индукцией 0,1 Т и регистрировали электронные спектры поглощения супернатанта в видимой области. Определение концентрации адсорбированного гемина и расчет сорбционной емкости проводились по значениям оптической плотности при 662 нм. Сорбционная емкость сорбента по гемину составляет 36,5±4,6 мг/г.

[34]

Приведенные данные показывают, что заявляемым способом может быть получен железоуглеродный сорбент, сочетающий ферромагнитные свойства с высокой адсорбционной активностью по отношению к соединениям широкого диапазона молекулярных масс. Для осуществления селективной сорбции определенных загрязнителей поверхность частиц железоуглеродного композита может быть химически модифицирована.

Как компенсировать расходы
на инновационную разработку
Похожие патенты