патент
№ RU 2675101
МПК F41G3/22

Система регистрации лазерного целеуказания

Авторы:
Стариков Вячеслав Михайлович
Номер заявки
2018111500
Дата подачи заявки
30.03.2018
Опубликовано
14.12.2018
Страна
RU
Как управлять
интеллектуальной собственностью
Чертежи 
3
Реферат

Изобретение относится к авиационной технике и может быть использовано при проведении летных испытаний (ЛИ) авиационных комплексов и систем авиационного вооружения, оснащенных лазерными системами целеуказания и наведения. Система регистрации лазерного целеуказания включает мишень (1), блок прицеливания (2), совмещенный с лазерным излучателем, координатную матрицу (3), состоящую из фотоприемников с фиксированным порогом обнаружения лазерного излучения и формирования сигнала, установленных на площади мишенного поля (4), блок сбора и преобразования сигналов в последовательный код (5), блок преобразования сигналов в стандартный формат (7) персонального компьютера, персональный компьютер (8), приемник глобальной навигационной спутниковой системы (9). Вход каждого фотоприемника оптически связан с лазерным излучателем. Выход каждого фотоприемника соединен с входами блока сбора и преобразования сигналов в последовательный код (5), выход которого соединен с входом блока преобразования сигналов в стандартный формат (7) персонального компьютера. Выход блока преобразования сигналов подключен к входу персонального компьютера (8). К другому входу компьютера (8) подключен выход приемника глобальной навигационной спутниковой системы (9). При этом фотоприемники с фиксированным порогом обнаружения лазерного излучения и формирования сигнала выполнены с цифровыми быстродействующими схемами измерения амплитуды сигналов. В систему регистрации лазерного целеуказания дополнительно введены диффузно-отражающие площадки, установленные на штангах на заданном расстоянии от оптических входов фотоприемников. Каждая диффузно-отражающая площадка оптически связана с входом каждого фотоприемника. Выход цифровой быстродействующей схемы каждого фотоприемника соединен посредством проводной связи с блоком сбора и преобразования сигналов в последовательный код (5). Обеспечивается повышение точности регистрации координат энергетического центра лазерного пятна и увеличение диапазона регистрации траектории лазерного пятна без ограничения курсов летательного аппарата-носителя. 3 ил.

Формула изобретения

Система регистрации лазерного целеуказания, включающая: мишень; блок прицеливания, совмещенный с лазерным излучателем; координатную матрицу, состоящую из фотоприемников с фиксированным порогом обнаружения лазерного излучения и формирования сигнала, установленных на площади мишенного поля; блок сбора и преобразования сигналов в последовательный код; блок преобразования сигналов в стандартный формат персонального компьютера, персональный компьютер, приемник глобальной навигационной спутниковой системы, при этом вход каждого фотоприемника оптически связан с лазерным излучателем, а выход каждого фотоприемника соединен с входами блока сбора и преобразования сигналов в последовательный код, выход которого соединен с входом блока преобразования сигналов в стандартный формат персонального компьютера, а выход блока преобразования сигналов подключен к входу персонального компьютера, к другому входу которого подключен выход приемника глобальной навигационной спутниковой системы, отличающаяся тем, что фотоприемники с фиксированным порогом обнаружения лазерного излучения и формирования сигнала выполнены с цифровыми быстродействующими схемами измерения амплитуды сигналов, а также в систему регистрации лазерного целеуказания дополнительно введены диффузно-отражающие площадки, установленные на штангах на заданном расстоянии от оптических входов фотоприемников, при этом каждая диффузно-отражающая площадка оптически связана с входом каждого фотоприемника, а выход цифровой быстродействующей схемы каждого фотоприемника соединен посредством проводной связи с блоком сбора и преобразования сигналов в последовательный код.

Описание

[1]

Изобретение относится к авиационной технике и может быть использовано при проведении летных испытаний (ЛИ) авиационных комплексов и систем авиационного вооружения, оснащенных лазерными системами целеуказания (ЦУ) и наведения.

[2]

В летных испытаниях система регистрации лазерного целеуказания (СРЛЦ) находит применение при оценке промаха авиационного средства поражения (АСП) класса «воздух-поверхность» с лазерной головкой самонаведения (ЛГСН) относительно мишени. Промах зависит от точности наведения энергетического центра лазерного луча на мишень (лазерного ЦУ) и точности наведения АСП на энергетический центр лазерного пятна.

[3]

Известна система регистрации лазерного целеуказания, принцип работы которой основан на измерении траектории перемещения геометрического центра лазерного пятна (ЛП) относительно центра мишени. [Юбилейная научно-техническая конференция «Авиационные системы в XXI веке». Сборник докладов том II, Москва 11-13 апреля 2006 г, стр. 82-83. Государственный научный центр РФ, федеральное государственное унитарное предприятие «государственный научно-исследовательский институт авиационных систем», российская академия ракетных и артиллерийских наук].

[4]

СРЛЦ содержит: бортовую систему прицеливания, совмещенную с лазерным излучателем; мишень, оборудованную координатной матрицей фотоприемников (ФП) с фиксированным порогом обнаружения лазерного излучения и формирования сигнала; блок сбора и преобразования сигналов (БСПС), поступающих от ФП; радиоканал передачи данных; блок преобразования сигналов (БПС) в формат стандартного последовательного кода для ввода его в персональный компьютер; контрольный пункт управления летным экспериментом (КПУ ЛЭ), включающий: персональный компьютер (ПК) типа ноутбук; приемник глобальной навигационной спутниковой системы (ГНСС); рабочее место руководителя полета и радиостанцию связи с экипажем летательного аппарата (ЛА) - носителя АСП.

[5]

При этом вход каждого фотоприемника координатной матрицы оптически связан с лазерным излучателем прицельной системы ЛА и направлен по линии визирования «ЛА - мишень», а выходы всех ФП соединены посредством проводной связи со входами блока сбора и преобразования сигналов, обеспечивающего преобразование сигналов с ФП в последовательный код, выход которого через радиоканал передачи данных соединен со входом блока БПС. Выходы БПС и приемника ГНСС соединены со входами персонального компьютера. Рабочее место руководителя полета связано с компьютером и радиостанцией через руководителя летного эксперимента (ЛЭ).

[6]

Принцип работы системы заключается в следующем: в процессе «атаки» цели летчик (оператор) наводит прицельную марку блока прицеливания и совмещенный с ней лазерный луч на мишень. Лазерный луч, перемещающийся относительно центра мишени облучает ФП координатной матрицы, попадающие в площадь лазерного пятна. При этом на выходе каждого ФП, на входной зрачок которого попала энергия лазерного импульса ЦУ, превышающая порог его чувствительности, формируется кратковременный сигнал высокого уровня - «1». Эти сигналы передаются в блок БСПС, где преобразуются в последовательный код, содержащий информацию о координатах ФП (в матрице), зарегистрировавших облучение лазерным импульсом. С выхода БСПС код передается по радиоканалу передачи данных на вход БПС, где после преобразования его в формат стандартного последовательного кода вводится в ПК, который установлен на командном пункте управления (КПУ) летным экспериментом (ЛЭ). В ПК информация, полученная по каждому импульсу лазерного ЦУ, обрабатывается по алгоритму определения геометрического центра координат плоской фигуры, образованной из облученных фотоприемников, и отображается на экране ПК в виде лазерного пятна и графиков текущих координат центра лазерного пятна (ЛП) относительно центра мишени.

[7]

К недостаткам описанной выше системы регистрации лазерного целеуказания относятся:

[8]

1. Ограничения в условиях проведения ЛЭ по углам курса и наклона линии визирования при заходе ЛА на цель, обусловленные шириной диаграммы направленности ФП, которая не превышает ±20°.

[9]

2. При наведении лазерного луча с ЛА на горизонтально расположенную мишень, оборудованную матрицей ФП, лазерное пятно на ней имеет форму эллипса, большая ось которого достигает значительных размеров. При этом с помощью ФП, имеющих фиксированный порог чувствительности, определяется только геометрический центр лазерного пятна, который не совпадает с положением его энергетического центра ЛП.

[10]

Кроме того, в процессе ЛЭ часть лазерного пятна периодически выходит за пределы координатной матрицы ФП. В этом случае даже геометрический центр ЛП, рассчитанный по контуру облученных фотоприемников, определяется с большой погрешностью, а положение ЭЦ остается полностью неопределенным.

[11]

Предлагаемая система регистрации лазерного целеуказания лишена указанных выше недостатков, так как имеет ряд существенных отличий от рассмотренной выше:

[12]

- оптический вход каждого фотоприемника координатной матрицы направлен вниз по нормали на диффузно-отражающую поверхность площадки, закрепленной на штанге, установленной в координатной точке матрицы. При такой конструкции фотоприемного устройства энергия лазерного импульса, направленная на диффузно-отражающую площадку, отражается по закону косинусов Ламберта и часть ее всегда попадает на оптический вход фотоприемника независимо от ракурса направленности излучения;

[13]

- использование фотоприемников, обеспечивающих измерение амплитуды входных сигналов с помощью цифровых быстродействующих аналого-цифровых преобразователей (АЦП). Современная элементная база, в частности микросхемы интегральных быстродействующих АЦП, позволяют преобразовать короткие импульсы лазера (10…20 нс.) в цифровой код амплитуды сигнала, получаемого с выхода фотоэлемента.

[14]

При получении в ПК уровней сигналов от всех ФП матрицы выделяются три-четыре ФП, имеющих наибольшие уровни, затем, по их расположению в матрице, и с использованием весового соотношения амплитуд их сигналов рассчитывается положения энергетического центра лазерного пятна. Такой алгоритм определения энергетического центра ЛП позволяет находить его с высокой точностью. В случаях выхода части ЛП за пределы координатной матрицы ФП, энергетический центр ЛП вычисляется методом сравнения максимальных амплитуд с фотоприемников с максимальными амплитудами сигналов, зарегистрированных от предыдущих фотоприемников, находящихся в площади координатной матрицы ФП.

[15]

Технический результат предлагаемого изобретения заключается в повышении точности регистрации лазерного целеуказания, характеризуемой точностью регистрации координат энергетического центра лазерного пятна, и снятии ограничений по курсам захода ЛА и углам наклона линии визирования луча ЦУ на мишень.

[16]

Указанный технический результат достигается за счет того, что предлагаемая система регистрации лазерного целеуказания включающая: мишень; блок прицеливания, совмещенный с лазерным излучателем; координатную матрицу фотоприемников с фиксированным порогом обнаружения лазерного излучения и формирования сигнала, установленных на площади мишенного поля в направлении на заданный курс и угол наклона линии визирования «ЛА-мишень»; блок сбора и преобразования сигналов в последовательный код; радиоканал передачи данных; блок преобразования сигналов в стандартный формат персонального компьютера; контрольный пункт управления летным экспериментом (КПУ ЛЭ), включающий: персональный компьютер (ПК) типа ноутбук; приемник ГНСС; рабочее место руководителя полета и радиостанцию связи с экипажем. При этом вход каждого фотоприемника оптически связан с лазерным излучателем, а выход каждого фотоприемника соединен посредством проводной связи с входами блока сбора и преобразования сигналов в последовательный код, выход которого соединен со входом блока преобразования сигналов в стандартный формат персонального компьютера через радиоканал передачи данных. Выход блока преобразования сигналов подключен к входу персонального компьютера, к другому входу которого подключен выход приемника ГНСС. Рабочее место руководителя полета связано с компьютером и радиостанцией через руководителя летного эксперимента (ЛЭ), отличается тем, что фотоприемники выполнены с цифровыми быстродействующими схемами измерения амплитуды сигналов, а также дополнительно введены диффузно-отражающие площадки, установленные на штангах на заданном расстоянии от оптических входов фотоприемников, при этом каждая диффузно-отражающая площадка оптически связана с входом каждого фотоприемника, а цифровой выход каждого фотоприемника соединен посредством проводной связи с блоком сбора и преобразования сигналов в последовательный код.

[17]

Изобретение поясняется следующим чертежами:

[18]

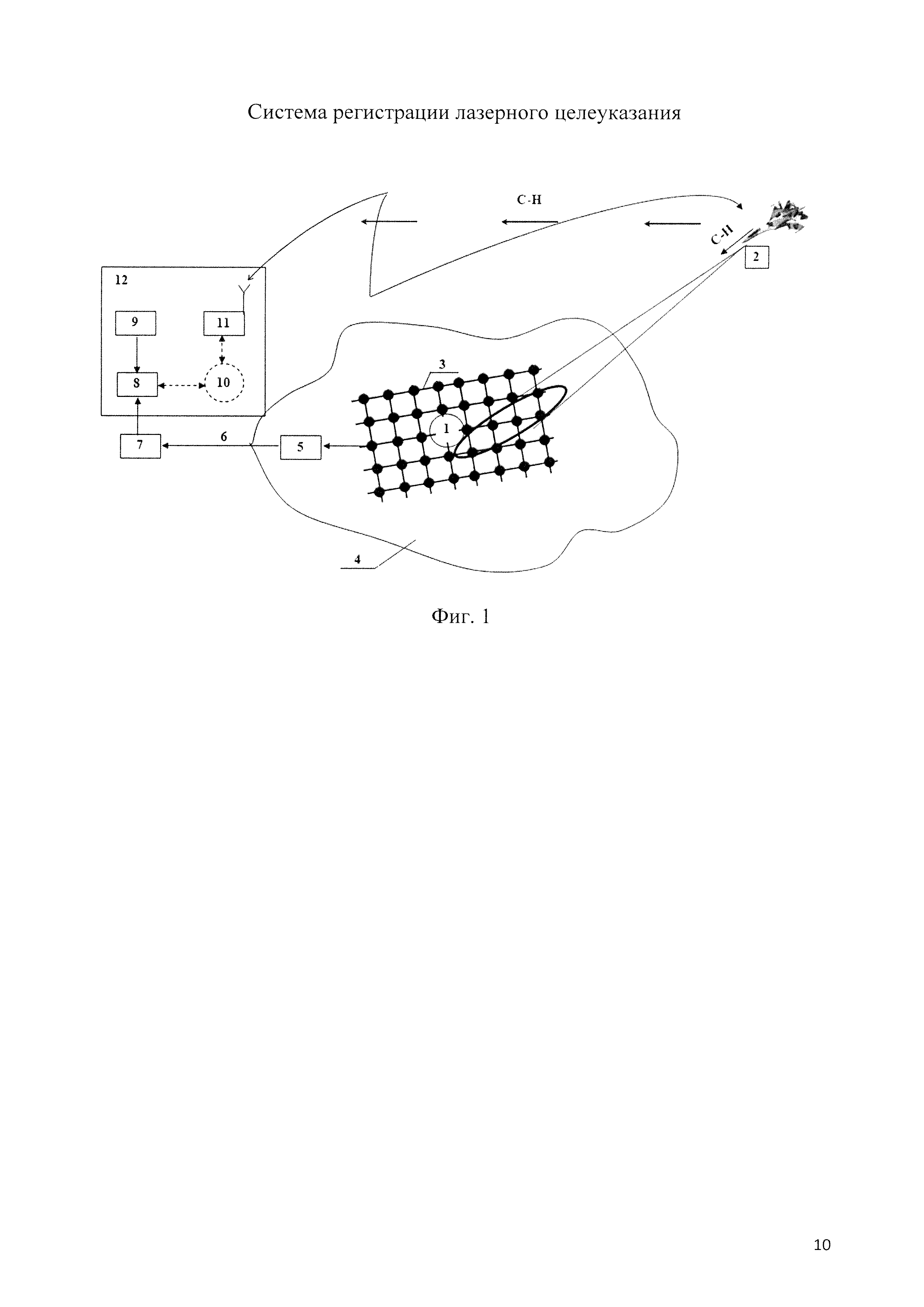
Фиг. 1 - общий вид системы регистрации лазерного целеуказания, где:

[19]

1 - мишень;

[20]

2 - блок прицеливания, совмещенный с лазерным излучателем;

[21]

3 - координатная матрица фотоприемников;

[22]

4 - мишенное поле;

[23]

5 - блок сбора и преобразования сигналов в последовательный код;

[24]

6 - радиоканал передачи данных;

[25]

7 - блок преобразования сигналов;

[26]

8 - персональный компьютер;

[27]

9 - приемник ГНСС;

[28]

10 - рабочее место руководителя летного эксперимента;

[29]

11 - радиостанция связи с экипажем;

[30]

12 - командный пункт управления летным экспериментом.

[31]

Фиг. 2 - вид фотоприемника с фиксированным порогом обнаружения лазерного излучения и формирования сигнала, где:

[32]

13 - фотоприемник с фиксированным порогом обнаружения лазерного излучения и формирования сигнала;

[33]

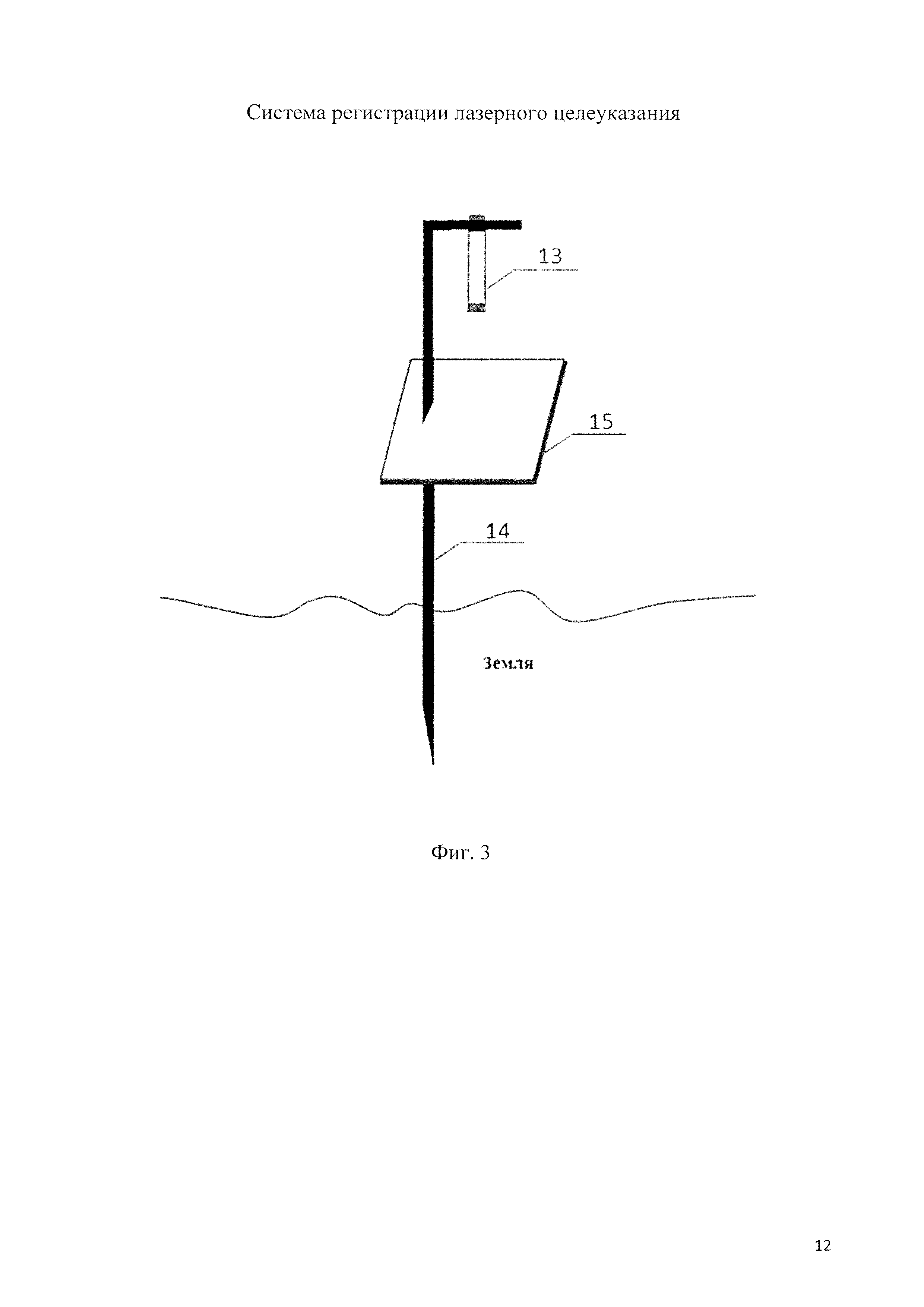
Фиг. 3 - фотоприемник с диффузно-отражающей площадкой, где:

[34]

14 - штанга;

[35]

15 - диффузно-отражающая площадка.

[36]

При проведении летных экспериментов работа системы регистрации лазерного целеуказания (фиг. 1) осуществляется приведенным ниже образом.

[37]

В соответствии с полетным заданием летчик пилотирует ЛА по заданному курсу и наводит прицельную марку блока прицеливания и совмещенный с ним лазерный луч (2) на мишень (1).

[38]

Лазерный луч, перемещаясь относительно мишени, облучает диффузно-отражающие площадки (15) (фиг. 3), установленные на штангах (14) перпендикулярно к оси фотоприемников (13) координатной матрицы (3) (фиг. 2), расположенных на площади мишенного поля (4). Импульсная энергия лазерного луча, направленная на диффузно-отражающую площадку отражаются в направлении оптического входа фотоприемника, который измеряет амплитуду сигнала зафиксированного фотоэлементом и выдает ее в виде цифрового кода, пропорционального энергии лазерного облучения. Этот код передается по проводной связи с выхода каждого фотоприемника на входы БСПС (5), который формирует и выдает на выход пакет данных, содержащий информацию об уровне сигналов, зарегистрированных каждым ФП координатной матрицы по каждому лазерному импульсу ЦУ.

[39]

Данный пакет данных передается в виде последовательного кода по радиоканалу передачи данных (6) поступает на вход БПС (7), где после преобразования в стандартный формат RS232 вводится в ПК (8), размещенный на командном пункте управления ЛЭ (12), при этом к другому входу ПК подключен выход приемника ГНСС (9), предназначенный для синхронизации текущих координат лазерного пятна с параметрами ЛА. Командный пункт управления ЛЭ помимо ПК и приемника ГНСС включает в себя радиостанцию для связи с экипажем (11) и рабочее место руководителя полета (10), которое связано с ПК и радиостанцией (11) через руководителя ЛЭ.

[40]

Персональный компьютер с использованием специального программного обеспечения выполняет следующие функции:

[41]

- формирует и отображает на экране ПК область допустимых отклонений центра лазерного пятна относительно центра мишени. При этом координаты центра области соответствуют координатам центра мишени;

[42]

- вычисляет по каждому импульсу лазерного ЦУ от прицельной системы ЛА координаты энергетического центра лазерного пятна (ЭЦЛП) с использованием уровней сигналов, зарегистрированных фотоприемниками, и отображает его положение на условном изображении мишени;

[43]

- строит графики процесса перемещения ЭЦЛП относительно центра области (мишени);

[44]

- при выходе координат ЭЦЛП за заданную в данном ЛЭ область выдает на экран соответствующее предупреждение.

[45]

Руководитель ЛЭ на КПУ в соответствии с полученной информацией об отклонениях лазерного ЦУ имеет возможность оценить в темпе проведения летного эксперимента его текущие результаты и, при необходимости, с использованием радиосвязи между КПУ и ЛА дать разрешение экипажу ЛА повторить контрольный заход, или отменить летный эксперимент.

[46]

Введение в систему регистрации лазерного целеуказания новых элементов позволяет повысить точность регистации координат энергетического центра лазерного пятна и увеличить диапазон регистрации его траектории за счет введения в фотоприемники быстродействующих АЦП, а также снять ограничения по курсам захода ЛА и углам наклона линии визирования луча ЦУ на мишень с помощью диффузно-отражающих площадок, установленных перед оптическим входом фотоприемников.

Как компенсировать расходы
на инновационную разработку
Похожие патенты