Использование: в области электроэнергетики. Технический результат - расширение функциональных возможностей способа и повышение быстродействия релейной защиты, которая его реализует. В способе релейной защиты все режимы сети разделяют на две группы. На первую группу защита призвана реагировать, а на вторую - нет. Проводят обучение релейной защиты для гарантирования ее селективности. Обучают не реагировать на режимы второй группы. Роль учителя отводят имитационной модели электрической сети, в составе которой находится энергообъект. Наблюдаемые электрические величины преобразуют в двумерный сигнал и отображают его на собственной плоскости. Согласно способу, в отличие от известных технических решений подобного типа, где каждый режим реального объекта или же его имитационной модели отображается точкой на плоскости двумерного сигнала, каждый режим отображается годографом - геометрическим местом отображений изменяющегося двумерного сигнала за время наблюдения. На предварительном этапе обучения защиты определяют область отображений годографов режимов, воспроизводимых имитационной моделью. Это режимы второй группы. Их отображения создают блокирующую область. По своему функциональному назначению она запрещает действие релейной защиты. После обучения, когда защита работает на реальном объекте, ее поведение подчиняют ряду условий, вытекающих из взаимоположения годографа наблюдаемого режима и имеющейся блокирующей области. 2 з.п. ф-лы, 15 ил.
1. Способ релейной защиты энергообъекта в составе электрической сети с разделением ее режимов на две группы, на первую из которых релейная защита призвана реагировать, а на вторую - нет, использованием имитационной модели электрической сети для обучения релейной защиты не реагировать на режимы второй группы, преобразованием наблюдаемых электрических величин в двумерный сигнал и его отображением на собственной плоскости, отличающийся тем, что отображение режима электрической сети, содержащей защищаемый энергообъект, равно как и отображение режима ее имитационной модели, представляют на плоскости двумерного сигнала в виде годографа, который составляют из отображений двумерного сигнала за фиксированное время наблюдения режима, определяют область отображений годографов режимов имитационной модели, а при наблюдении энергообъекта определяют положение годографа наблюдаемого режима по отношению к указанной области, и если годограф не выходит за ее пределы, запрещают срабатывание защиты, если же годограф проходит в стороне от указанной области или пересекает ее, или выходит из нее, производят срабатывание защиты. 2. Способ по п. 1, отличающийся тем, что в случае, когда годограф наблюдаемого режима не выходит из области блокирования защиты, продолжают годограф путем экстраполяции и, если годограф выйдет за пределы указанной области, разрешают срабатывание защиты. 3. Способ по п. 1, отличающийся тем, что в качестве первого элемента двумерного сигнала выбирают оценку параметра модели неповрежденного энергообъекта, а в качестве второго элемента - расхождение между процессом, моделируемым без участия данного параметра, и тем же процессом, моделируемым с участием оценки этого параметра.
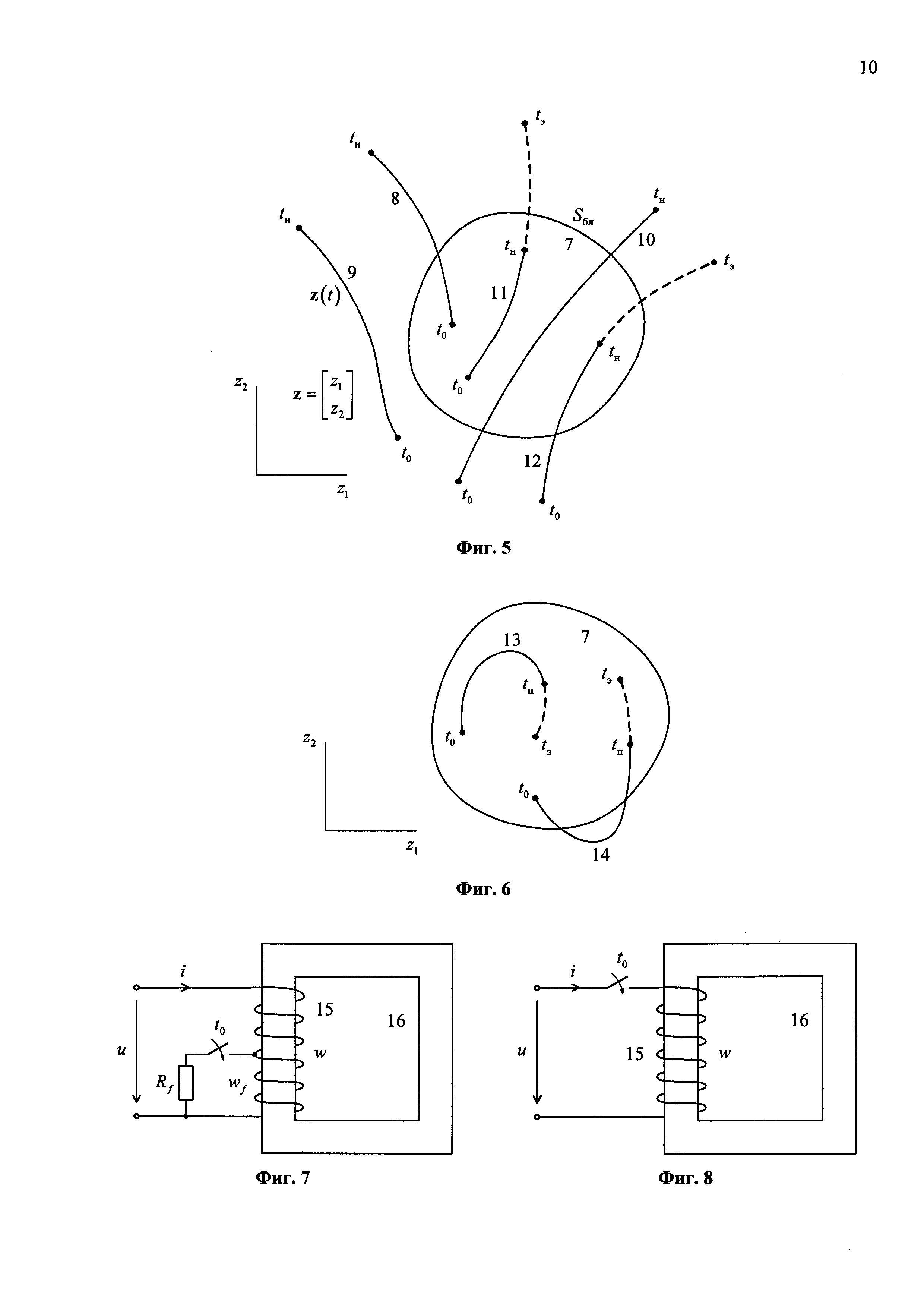
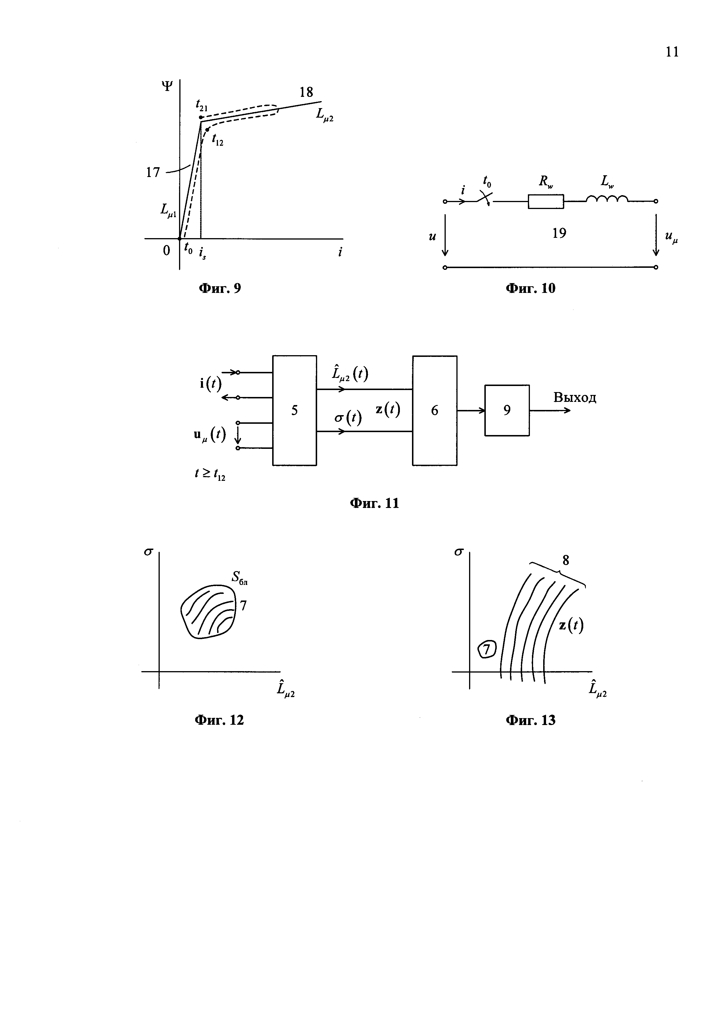
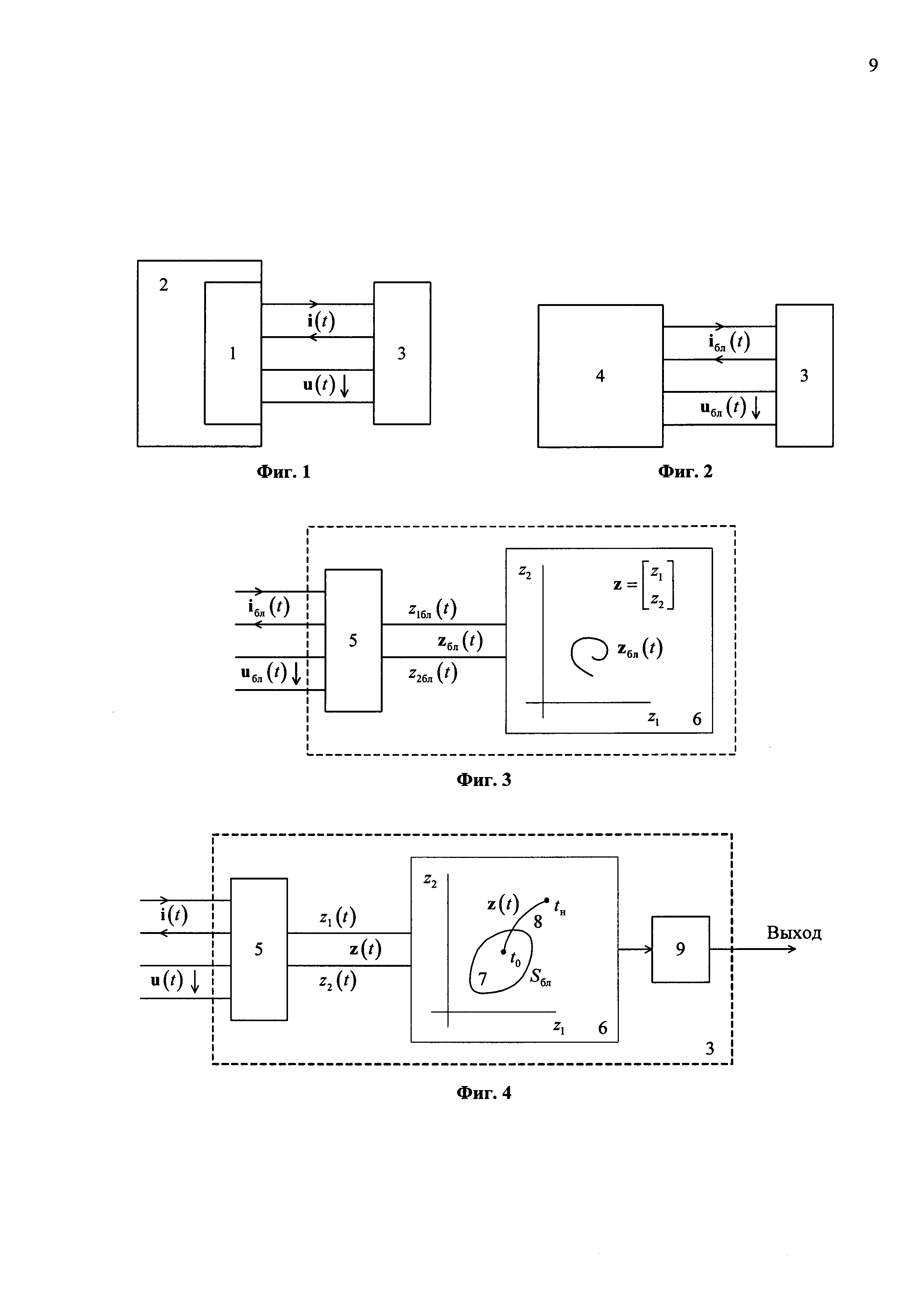
Изобретение относится к электроэнергетике и может быть применено для защиты от коротких замыканий различных энергообъектов - линий электропередачи, трансформаторов, генераторов. Микропроцессорная техника предоставляет возможность реализации универсальных способов релейной защиты. Основы универсализации заложены в [1], где вся информация об энергообъекте, текущая и априорная, преобразуется в двумерные сигналы, на плоскостях отображения которых задаются условия срабатывания защиты. Развитием данного способа стали технические решения [2, 3], детализировавшие процедуры задания таких условий. Основой таких процедур явилась операция обучения релейной защиты. Обучение ставит целью научить защиту отличать контролируемые режимы объекта, при которых желательно добиться срабатывания защиты, от альтернативных режимов, когда срабатывание категорически запрещено. Следующий шаг сделан в [4], где конкретизируется процесс обучения релейной защиты. Учителями служат имитационные модели энергообъекта в составе электрической сети. Модели двух типов: первого типа для воспроизведения контролируемых режимов, второго - альтернативных режимов. В наиболее полном виде обсуждаемый подход представлен в [5], где между ролью имитационных моделей разного типа и, следовательно, ролью обучающих режимов первого и второго типа (контролируемых и отслеживаемых) проведен водораздел. Первые ведут дело к выдаче сигнала на срабатывание защиты, а вторые - к выдаче блокирующего сигнала. Опыт внедрения данного способа выявил его неполноту, которая негативно сказывается на распознающей способности релейной защиты, а как следствие, на чувствительности к коротким замыканиям, а также и на быстродействии. Существо проблемы в том, что данный способ изначально был ориентирован на работу с комплексными сигналами, изображающими синусоидальные, т.е. установившиеся, электрические величины. Комплекс отображается точкой на своей комплексной плоскости. Так же отображается и обучающий режим имитационной модели. Между тем быстродействующие защиты работают в условиях переходного процесса и отображения режимов на плоскости двумерного сигнала носят более общий характер. Это геометрическое место отображений изменяющегося сигнала, что в электротехнике принято называть годографом. Цель изобретения заключается в расширении функциональных возможностей способа релейной защиты и в повышении ее быстродействия. Поставленная цель достигается тем, что при сохранении признаков прототипа изменяются условия срабатывания защиты и процедура обучения. В настоящее время стал известен физически очевидный прием разделения мест отображения режимов первого и второго типа - контролируемых и альтернативных. Оба типа преобразуются одинаковой структурой, моделирующей неповрежденный энергообъект. Получается, что для режимов второго типа преобразователь адекватен объекту, а для режимов первого типа - неадекватен. Как следствие, появляется возможность локализовать отображения режимов второго типа, т.е. сосредоточить эти отображения в небольшой области, расположенной во вполне определенном месте плоскости двумерного сигнала. То же касается и годографов отображений режимов второго типа. Они поддаются локализации. Режимы первого типа преобразуются в условиях неадекватности, и их годографы локализации не поддаются. Несколько упрощая суть явлений, можно сказать, что годографы режимов второго типа получаются короткими и вписанными в жестко закрепленную область, а годографы режимов первого типа - протяженными и разнообразными, не связанными какой-либо закономерностью с областью отображений режимов второго типа. Они могут пройти мимо этой области, даже могут пересечь ее или, начавшись в ней, потом выйти из нее. Новые признаки изобретения показывают, как можно использовать описанное явление для распознавания режимов первого типа, которое завершается срабатыванием релейной защиты. Начинается с изменения приоритетов. Хотя на первый взгляд это кажется парадоксальным, но на передний план выходят режимы второго типа. Защите запрещается работать при любом из них; обеспечение селективности - первоочередное требование. Отсюда следует постановка задачи обучения релейной защиты: обучение затрагивает главным образом режимы второй группы и заключается в определении области их отражений. В предлагаемом способе присутствует ряд признаков, общих с прототипом. Это использование имитационной модели энергообъекта для воспроизведения второй группы режимов, к которым отнесены все режимы энергообъекта, не вошедшие в первую группу. Затем преобразование электрических величин как реальных, наблюдаемых на энергообъекте, так и имитируемых, в двумерный сигнал. За каждым двумерным сигналом стоит либо реальный режим энергообъекта, либо режим, воспроизводимый имитационной моделью. Следовательно, на плоскости двумерного сигнала получают отображение режимы энергообъекта, наблюдаемые или имитируемые. Новые признаки начинаются с введения иного представления режима. Теперь это годограф - совокупность отображений двумерного сигнала - некоторая кривая на его плоскости. Время наблюдения режима фиксировано, как следствие, протяженность годографа ограничена. Режимы второй группы, воспроизводимые имитационной моделью энергообъекта, создают обучающие годографы на плоскости двумерного сигнала. Множество режимов отображается в виде области, играющей ключевую роль в последующей работе обученной релейной защиты. Обучение совершается в отложенном времени, работа защиты - в реальном времени. Обучающие сигналы поступают от имитационной модели, рабочие сигналы - от реального энергообъекта. Релейная защита выполняет операции, позволяющие распознать режим первой группы, когда требуется срабатывание защиты. Распознавание производят, определяя положение годографа наблюдаемого режима относительно области, полученной на стадии обучения. Возможны разные ситуации и, соответственно, разное поведение защиты. Если годограф остается в пределах заданной области, срабатывание запрещают. Если же годограф не затрагивает эту блокирующую область, то срабатывание производят безоговорочно. Остаются те ситуации, когда годограф частично располагается в блокирующей области, а частично - вне ее. Здесь нет однозначного решения. Требуется знать, вышел ли годограф из блокирующей области или вошел и остался там. Найден такой путь решения: если годограф пересек эту область или даже взял в ней начало, защите дается разрешение на срабатывание. Отдельно в зависимом пункте формулы изобретения рассмотрена ситуация, при которой годограф входит извне в блокирующую область, но то ли не успевает выйти из нее за отведенное время наблюдения, то ли остается в ней, так как имеет место режим из второй группы. В этом случае предлагается выполнить экстраполяцию годографа, что не снижает быстродействия защиты, так как не предполагает увеличения времени наблюдения. Если экстраполированный годограф выйдет из области блокирования, разрешают срабатывание. В противном случае действует блокировка. На фиг. 1 дана иллюстрация процесса наблюдения энергообъекта терминалом релейной защиты. На фиг. 2 - иллюстрация процедуры обучения защиты. На фиг. 3 - структура релейной защиты на стадии обучения, а на фиг. 4 - при эксплуатации на энергообъекте. На фиг. 5 и 6 проиллюстрированы различные ситуации, встречающиеся при работе релейной защиты; на фиг. 5 - ситуации, приводящие к срабатыванию защиты, а на фиг. 6 - к блокированию. Пример применения способа иллюстрируют фиг. 7-13. Примером служит защита трансформатора в режиме холостого хода от витковых замыканий (фиг. 7). Альтернативный режим - бросок намагничивающего тока (фиг. 8). Насыщение трансформатора поясняется фиг. 9. Формирование двумерного сигнала совершается с помощью модели обмотки трансформатора (фиг. 10), а структура защиты в данном примере имеет вид, показанный на фиг. 11. Фиг. 12 иллюстрирует обучение защиты, а фиг. 13 - ее функционирование. На фиг. 14, 15 даны результаты, полученные для конкретного примера. Защищаемый энергообъект 1 является составной частью электрической сети 2. Релейная защита 3 подключена к объекту 1, ее входные величины - векторы токов i(t) и напряжений u(f). Имитационная модель 4 электрической сети 2 воспроизводит эти величины в тех режимах, на которые защита не должна реагировать. Модель 4 играет роль учителя, обучающего защиту 3 не срабатывать от сигналов iбл(t), uбл(t), поступающих на входы защиты в указанных блокирующих режимах. На стадии обучения задействованы два модуля релейной защиты: формирователь двумерного сигнала 5 и модуль отображения 6. Двумерный сигнал z(t), получаемый в результате преобразования в модуле 5 входных векторов тока и напряжения i(t), u (t), представляет собой вектор где z1 (t), z2 (t) - изменяющиеся во времени вещественные сигналы. Модуль отображения 6 выполняет разные функции при обучении защиты и при ее последующей эксплуатации. При обучении режимами второй группы модуль 6 формирует область блокирования защиты 7 на плоскости с координатами z1 и z2. Область 7, имеющая обозначение Sбл, охватывает множество годографов zбл(t), каждый из которых представляет собой совокупность отображений двумерного сигнала за время наблюдения где t0 - начало интервала заданной продолжительности Δt=tн-t0, tн - момент окончания наблюдения. Начало t0 совпадает с моментом определения смены режимов, когда возникает предположение о возникновении короткого замыкания. Ввод защиты 3 в эксплуатацию изменяет роль модуля 6. После обучения он располагает областью 7, и теперь ему предстоит отобразить наблюдаемый режим в виде единственного годографа 8. Оконечный исполнительный модуль 9 выполняет функцию, которая не была востребована при обучении защиты. Его роль сводится к сопоставлению годографа 8 и области 7. Задача - определение принадлежности наблюдаемого режима к первой или ко второй группе. Годографы 8-12 указывают на первую группу, а годографы 13, 14 - на вторую. Признаки таковы: годографы 8, 10 уверенно выходят из области блокирования 7 к моменту окончания наблюдения tн; годограф 9 и вовсе не задевает область; сложнее обстоит дело с годографами 11-14. В момент tн годографы данных типов остаются в области 7, и по формальным признакам защита должна быть заблокирована, а наблюдение продолжено. Если в дальнейшем обнаружится, что годограф покидает область 7, то модуль 9 даст сигнал на срабатывание защиты. Однако при этом произойдет вынужденное понижение быстродействия защиты. С таким недостатком можно было бы примириться. Хуже другое. Ограничение времени наблюдения Δt может быть обусловлено утратой информации о наблюдаемом процессе, например, вследствие насыщения трансформатора. В этом случае продолжение наблюдения - не выход из создавшегося положения. Предлагается иной путь, а именно экстраполяция годографов типа 11-14. Экстраполированные части годографов от времени tн до времени tэ показаны пунктиром. Годографы 11, 12 после экстраполяции уверенно покидают область блокирования 7, а годографы 13, 14 остаются в ее пределах. В случае годографов 11, 12 модуль 9 разрешает срабатывание релейной защиты, а в случае годографов 13, 14 - запрещает. Таким образом, модуль 9 принимает одно из трех возможных решений - безоговорочное срабатывание, разрешение срабатывания, запрещение срабатывания. Обратим внимание на отличие второго от первого. Разрешение на срабатывание означает целесообразность дополнительных действий, например привлечение дополнительной информации о состоянии энергообъекта или, по крайней мере, контроль за ходом экстраполированной части годографа. Реализация защиты по предлагаемому способу рассматривается на конкретном примере, когда энергообъектом 1 является трансформатор в режиме холостого хода, иначе - дроссель; элементы его конструкции - обмотка 15 и магнитопровод 16. Требуется защитить дроссель от межвитковых замыканий в его обмотке (фиг. 7); где is - начальное значение тока участка насыщения. Для формирования двумерного сигнала z(t) используется передаточная модель 19 неповрежденного дросселя с параметрами обмотки 15 - сопротивлением Rw и индуктивностью Lw. Модель преобразует входные величины u, i в предполагаемое напряжение намагничивания Двумерный сигнал формируется в координатах где Для ветви намагничивания неповрежденного дросселя при насыщении магнитопровода справедливо соотношение Располагая напряжением uμ(t) при t≥t12 и током i(t), можно оценить параметр Lμ2 в соотношении (4), например, по критерию наименьших квадратов откуда следует оценка индуктивности а затем и вторая координата двумерного сигнала что завершает не только формирование сигнала (3), но и построение структуры защиты дросселя (фиг. 11). Обучение защиты дросселя в данном случае происходит на плоскости Конкретные результаты (фиг. 14, 15) приведены для дросселя с параметрами: Lμl=133,8 Гн; Lμ2=0,046 Гн; Rw=1,9 Ом; Lw=0,035 Гн; is=2,23 А; где Δtд=0,25 мс - интервал дискретизации. Соответственно, интегралы в (5), (6) заменялись конечными суммами. Как следствие, возникает вычислительная погрешность, чем и объясняются конечные размеры области Sбл, которая при Δtд→0 стягивается в точку. Обеспечиваемые предлагаемым способом расширение функциональных возможностей и повышение быстродействия релейной защиты достигаются полным использованием всей доступной информации о защищаемом энергообъекте, в том числе о параметрах его модели, используемой для формирования специального двумерного сигнала. Источники информации 1. Патент РФ №2247456, Н02Н 3/40, 2002. 2. Патент РФ №2316780, G01R 31/08, Н02Н 3/40, 2006. 3. Патент РФ №2316871, Н02Н 3/40, 2006. 4. Патент РФ №2316872, Н02Н 3/40, 2006. 5. Патент РФ №2404499, Н02Н 3/40, 2009 (прототип).
,
,
- число замкнувшихся витков. Замыкание с переходным сопротивлением
происходит в момент t0. Варьируются начальная фаза напряжения
, число
в пределах от нуля до w-1 и величина
в пределах от нуля до 1 Ом. Множество режимов короткого замыкания образует первую группу. Ко второй группе отнесены режимы броска намагничивающего тока (фиг. 8), возникающие при включении дросселя вследствие насыщения его магнитопровода. Нелинейная вебер-амперная характеристика намагничивания дросселя аппроксимирована двумя линейными участками 17, 18. Первый участок 17 - рабочий с большой индуктивностью Lμ1. Второй участок 18 относится к области насыщения и обладает малой дифференциальной индуктивностью Lμ2. Движение рабочей точки при включении дросселя показано пунктиром; оно начинается в момент t0 в начале координат, в момент t12 переходит с первого участка на второй; в момент t2l магнитопровод выходит из насыщения. Значения t12 и f21, определяет условие

, σ
- оценка индуктивности Lμ2, σ (t) - невязка, связанная с этой оценкой.



, σ (фиг. 12). Там же располагаются годографы режимов реального объекта z(t), по расположению которых относительно области Sбл принимается решение о действиях защиты.
; w=1000 при вариациях
,
,
и фиксированном
. Реальный объект был представлен имитационной моделью с такими же параметрами. Результаты свидетельствуют о том, что предлагаемый способ в данном примере действует без методической погрешности, так как распознается замыкание даже в одном витке. Что же касается реализации, то применялось аналого-цифровое преобразование с частотой дискретизации 4 кГц, и производная тока определялась простейшим образом как
,