патент
№ RU 2695517
МПК G01Q60/00

СКАНИРУЮЩИЙ ЗОНДОВЫЙ МИКРОСКОП С УСТРОЙСТВОМ ДЛЯ ФУНКЦИОНИРОВАНИЯ МНОГОЗОНДОВОГО ДАТЧИКА

Авторы:
Кузнецов Евгений Владимирович Котов Владимир Валерьевич Поляков Вячеслав Викторович
Все (5)
Номер заявки
2017128876
Дата подачи заявки
14.08.2017
Опубликовано
23.07.2019
Страна
RU
Как управлять
интеллектуальной собственностью
Чертежи 
4
Реферат

Изобретение относится к измерительной технике и может быть использовано для исследования образцов в зондовых режимах. Сканирующий зондовый микроскоп с устройством для функционирования многозондового датчика включает платформу 1, держатель образца 2 с образцом 3, установленные на сканирующем устройстве 4, сопряженном с блоком сближения 5, установленном на платформе 1, систему регистрации 6, состоящую из источника излучения 7 и фотоприемника 8, многозондовый датчик контурного типа 9, содержащий основание 10 с гибкими консолями 15, остриями 16, 17, сопряженный с приводом вращения 21, включающим пьезомодуль 22, соединенным с корпусом 31, а также блок управления 30. Привод вращения 21 соединен с платформой 1 с возможностью размыкания с ней и ориентированной установки на нее. Технический результат заключается в упрощении замены многозондовых датчиков контурного типа и образцов. 3 з.п. ф-лы, 4 ил.

Формула изобретения

1. Сканирующий зондовый микроскоп с устройством для функционирования многозондового датчика, включающий платформу (1), держатель образца (2) с образцом (3), установленные на сканирующем устройстве (4), сопряженном с блоком сближения (5), установленном на платформе (1), систему регистрации (6), состоящую из источника излучения (7) и фотоприемника (8), многозондовый датчик контурного типа (9), содержащий основание (10) с гибкими консолями (15), остриями (16, 17), сопряженный с приводом вращения (21), включающим пьезомодуль (22), соединенным с корпусом (31), а также блок управления (30), отличающийся тем, что привод вращения (21) соединен с платформой (1) с возможностью размыкания с ней и ориентированной установки на нее.

2. Устройство по п. 1, отличающееся тем, что привод вращения (21), включает корпус (31), в котором установлен двигатель (33) с первым цилиндрическим зубчатым колесом (35), сопряженным со вторым цилиндрическим зубчатым колесом (41), соосно соединенным с торцевым зубчатым колесом (43), сопряженным с третьим цилиндрическим зубчатым колесом (44), сопряженным с четвертым цилиндрическим зубчатым колесом (45), на котором закреплено основание (10) многозондового датчика контурного типа (9).

3. Устройство по п. 2, отличающееся тем, что в него введено по меньшей мере два прижима (46), сопряженных с четвертым цилиндрическим зубчатым колесом (45).

4. Устройство по п. 2, отличающееся тем, что пьезомодуль (22) имеет возможность включения синхронно с включением двигателя (33).

Описание

[1]

Сканирующий зондовый микроскоп с устройством для функционирования многозондового датчика относится к измерительной технике и может быть использован для исследования образцов в зондовых режимах.

[2]

Известен сканирующий зондовый микроскоп с устройством для функционирования многозондового датчика, включающий платформу, держатель образца с образцом, установленные на сканирующем устройстве, сопряженном с блоком сближения, установленном на платформе, систему регистрации, состоящую из источника излучения и фотоприемника, многозондовый датчик контурного типа, содержащий основание с гибкими консолями, остриями, сопряженный с приводом вращения, включающим пьезомодуль, соединенным с корпусом, а также блок управления (Патент RU 2538412). Это устройство выбрано в качестве прототипа предложенного решения.

[3]

Недостаток этого устройства заключается в том, что в нем затруднен процесс замены многозондовых датчиков и образцов. Это снижает точность установки многозондовых датчиков контурного типа и образцов при их замене, что приводит к недостаточно точному выбору зон измерения и снижает функциональные возможности устройства.

[4]

Технический результат изобретения заключается в упрощении замены многозондовых датчиков и образцов, соответственн более точной установки многозондовых датчиков контурного типа и образцов при их замене. Это приводит к более точному выбору зон измерений и расширению функциональных возможностей.

[5]

Указанный технический результат достигается тем, что в сканирующем зондовом микроскопе с устройством для функционирования многозондового датчика, включающий платформу, держатель образца с образцом, установленные на сканирующем устройстве, сопряженном с блоком сближения, установленном на платформе, систему регистрации, состоящую из источника излучения и фотоприемника, многозондовый датчик контурного типа, содержащий основание с гибкими консолями, остриями, сопряженный с приводом вращения, включающим пьезомодуль, соединенным с корпусом, а также блок управления привод вращения соединен с платформой с возможностью размыкания с ней и ориентированной установки на нее.

[6]

Существует вариант, в котором привод вращения, включает корпус, в котором установлен двигатель с первым цилиндрическим зубчатым колесом, сопряженным со вторым цилиндрическим зубчатым колесом, соосно соединенным с торцевым зубчатым колесом, сопряженным с третьим цилиндрическим зубчатым колесом, сопряженным с четвертым цилиндрическим зубчатым колесом, на котором закреплено основание многозондового датчика контурного типа.

[7]

Существует вариант, в котором, по меньшей мере, два прижима, сопряженных с четвертым цилиндрическим зубчатым колесом.

[8]

Существует вариант, в котором пьезомодуль имеет возможность включения синхронно с включением двигателя.

[9]

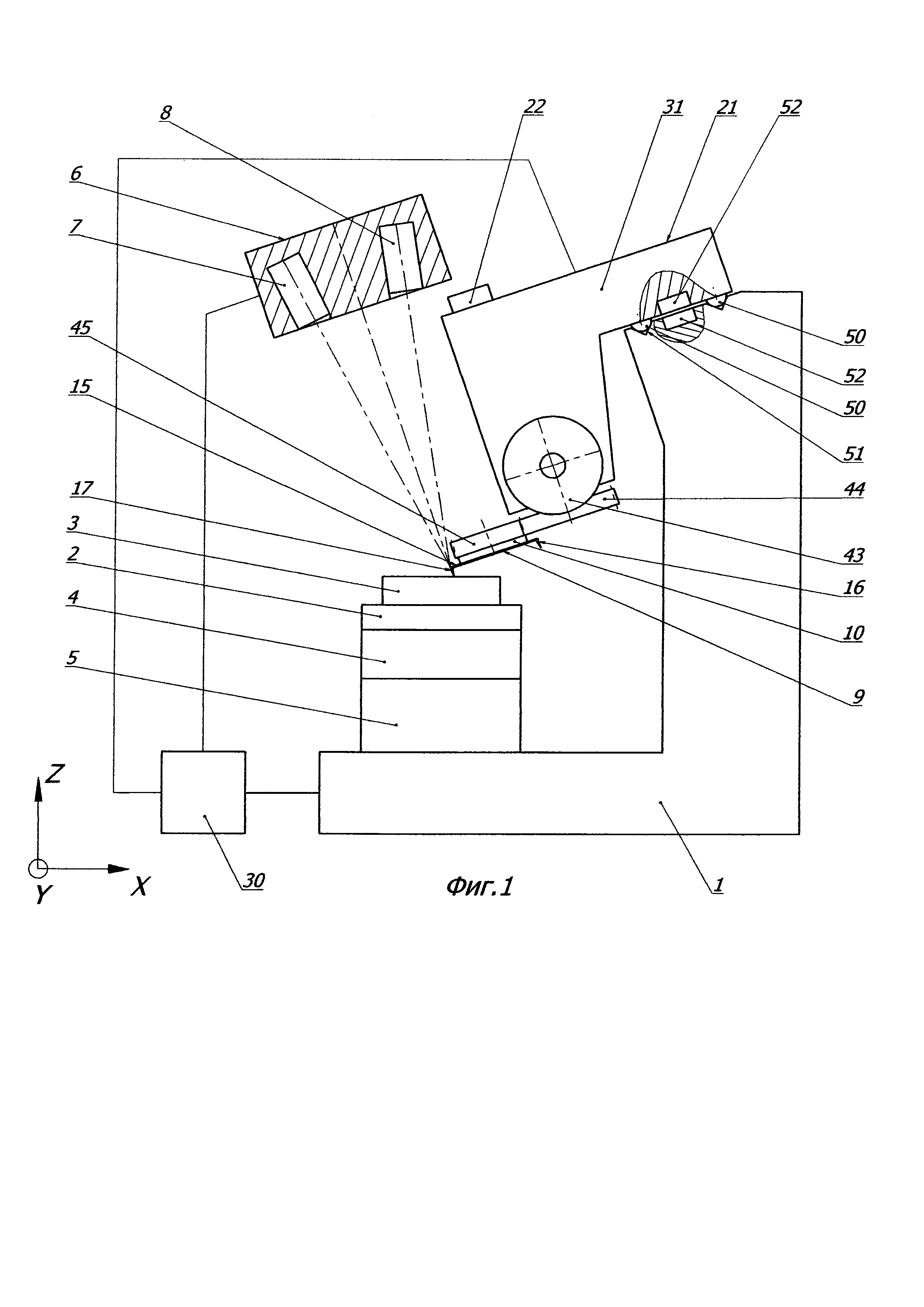
На фиг. 1 изображена схема сканирующего зондового микроскопа с устройством для функционирования многозондового датчика в общем виде.

[10]

На фиг. 2 изображен вариант исполнения привода вращения.

[11]

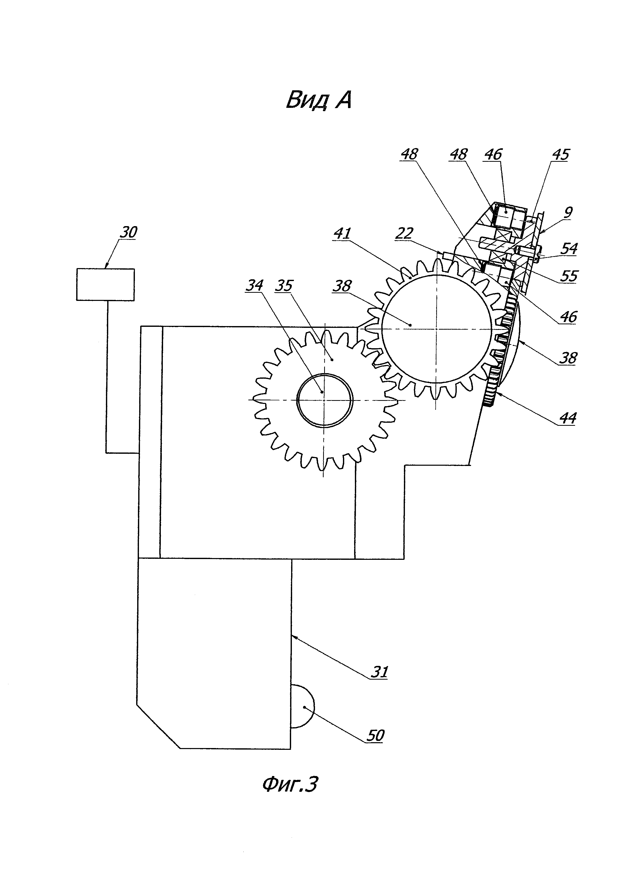
На фиг. 3 изображен вид А на привод вращения.

[12]

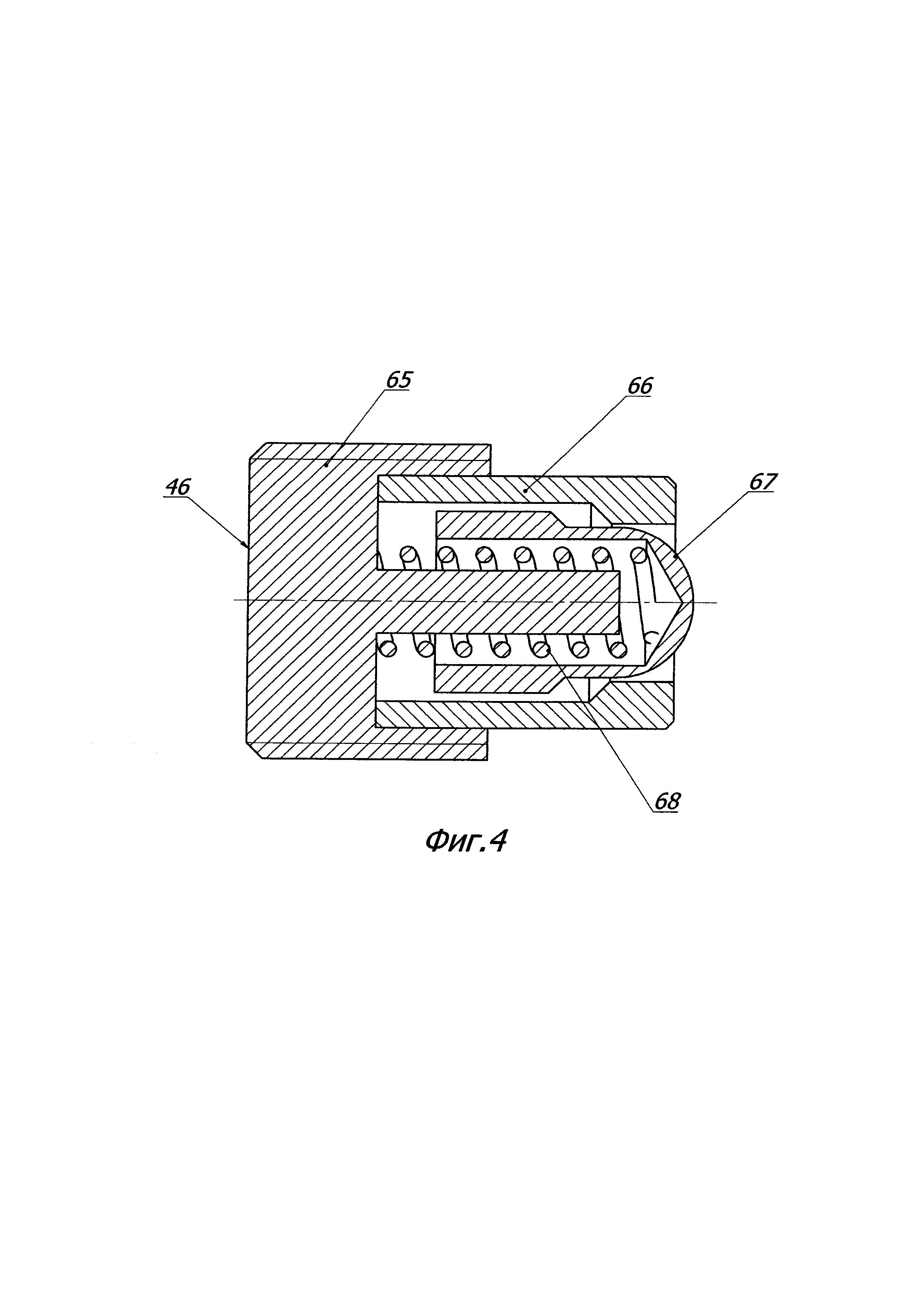
На фиг. 4 изображен вариант выполнения прижима.

[13]

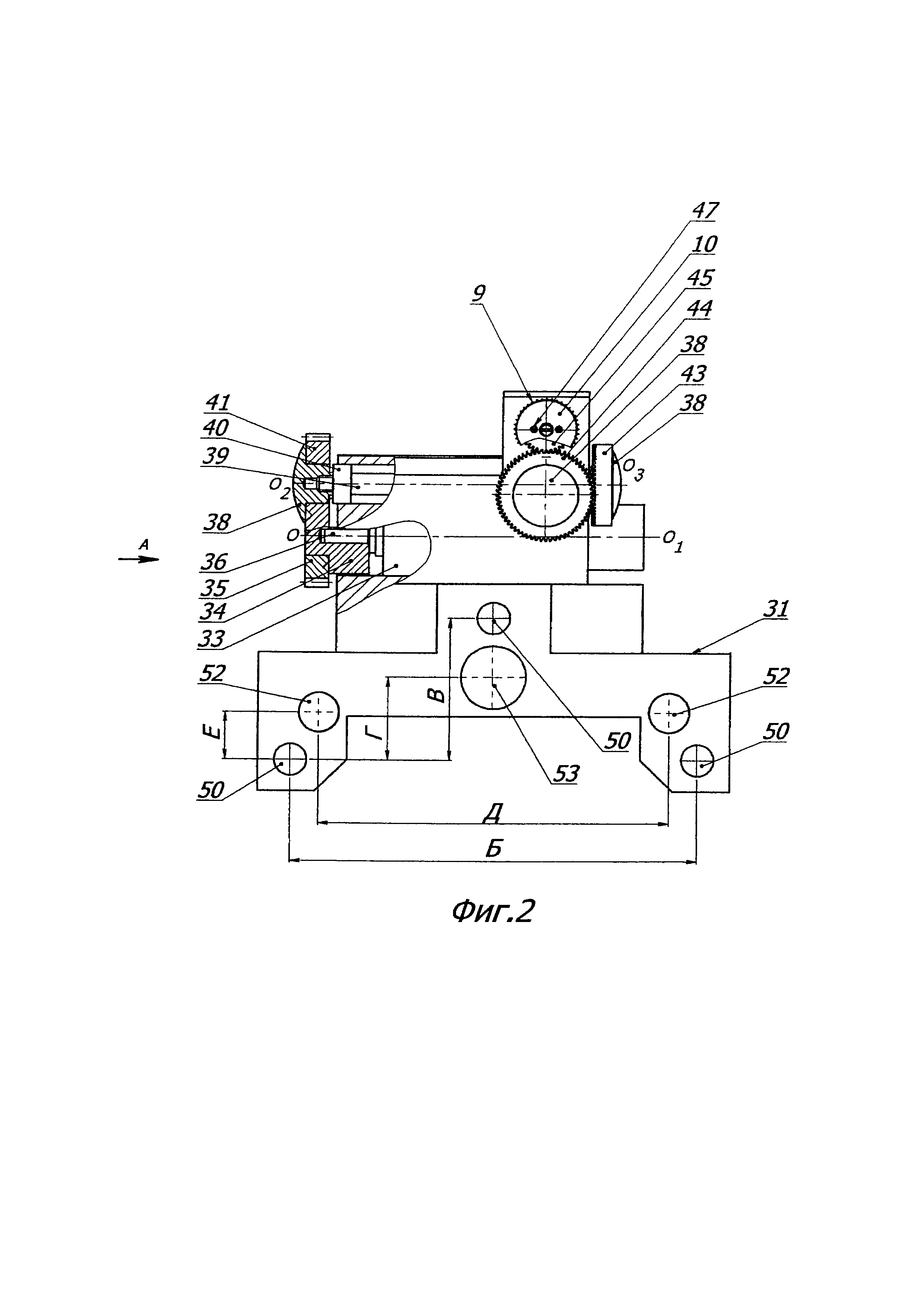
Сканирующий зондовый микроскоп с устройством для функционирования многозондового датчика включает платформу 1 (фиг. 1), а также держатель образца 2 с образцом 3, установленные на сканирующем устройстве 4. В качестве сканирующего устройства 4 можно использовать секционную пьезокерамическую трубку. Сканирующее устройство 4 сопряжено с блоком сближения 5, установленном на платформе 1. В качестве блока сближения можно использовать однокоординатный стол на плоских направляющих, сопряженный с шаговым двигателем (не показаны). Сканирующий зондовый микроскоп с устройством для функционирования многозондового датчика включает также систему регистрации 6, состоящую из источника излучения 7 и фотоприемника 8. При этом многозондовый датчик контурного типа 9, содержащий основание 10 с гибкими консолями 15 и остриями 16, 17 сопряжен с приводом вращения 21. Привод вращения 21 включает корпус 31. На корпусе 31 привода вращения 21 закреплен пьезомодуль 22. Сканирующий зондовый микроскоп с устройством для функционирования многозондового датчика включает также блок управления 30, соединенный со сканирующем устройством 4, блоком сближения 5, источником излучения 7, фотоприемником и приводом вращения 21. При этом привод вращения 21 соединен с платформой 1 с возможностью размыкания с ней и ориентированной установки на нее. Это обеспечивается посредством трех шарообразных опор 50 (см. также фиг. 2), закрепленных в корпусе 31 и имеющих возможность сопряжения, например, с тремя конусообразными ловителями 51 Могут быть и другие варианты ловителей, например, один конусообразный, один V-образный и один плоский (не показаны). Для закрепления привода вращения 21 на платформе 1 используются первые магниты 52 и вторые магниты 53. Два первых магнита 52 и один второй магнит 53 закреплены в корпусе 31 привода вращения 21. На тех же расстояниях друг относительно друга закреплены в основании 1 два первых магнита 52 и один второй магнит 53. Вторые магниты 53 имеют большие диаметры, чем первые магниты 52. Магниты могут быть изготовлены из сплава самарий-кобальт.

[14]

Существует вариант, в котором привод вращения 21, включает корпус 31, в котором установлен двигатель 33 с первым цилиндрическим зубчатым колесом 35 (см. также фиг. 3), сопряженным со вторым цилиндрическим зубчатым колесом 41. При этом второе цилиндрическое зубчатое колесо 41 соосно соединено с торцевым зубчатым колесом 43, которое сопряжено с третьим цилиндрическим зубчатым колесом 44, сопряженным с четвертым цилиндрическим зубчатым колесом 45, установленным в корпусе 31 посредством подшипника 55. На четвертом цилиндрическом зубчатом колесе 45 закреплено основание 10 многозондового датчика контурного типа 9 посредством винта 54. На фиг. 3, фиг. 4 изображено три варианта крепления зубчатых колес. В первом варианте первое цилиндрическое зубчатое колесо 35 крепят посредством первого переходника 34 на валу 36. Во втором варианте зубчатые колеса 41, 43, 44, закреплены на переходниках 38, которые посредством резьбовых соединений крепятся на валах, например, на валу 39 с упором в ограничитель 40. В третьем варианте четвертое цилиндрическое зубчатое колесо 45 закреплено в подшипнике 55, установленном в корпусе 31.

[15]

Существует вариант, в котором, по меньшей мере, два прижима 46, сопряжены с четвертым цилиндрическим зубчатым колесом 45. В одном из вариантов может использоваться три прижима 46, расположенные под углами 120° друг к другу (не показано). Положение прижимов 46 вдоль осей может регулироваться шайбами 48, имеющих толщину, например, 0.5 мм. Существует вариант, в котором пьезомодуль 22 имеет возможность включения синхронно с включением двигателя 33.

[16]

Прижим 46 может включать корпус 65, в котором закреплена втулка 65 с толкателем 67, сопряженным с пружиной сжатия 68. Точность установки многозондового датчика контурного типа 9 может корректироваться при включении двигателя 33 и наблюдением в оптический микроскоп за биением основания 10 по положениям острий 16 и 17. Корректировать точность установки многозондового датчика контурного типа 9 можно подвижкой в зазоре основания 10 при закреплении его винтом 54.

[17]

Точную установку образца 3 на держателе образца 2 можно проводить также с использованием оптического микроскопа, измеряя расстояние между реперными точками на образце 3 и реперными точками на держателе образца 2 (не показаны).

[18]

Сканирующий зондовый микроскоп с устройством для функционирования многозондового датчика работает следующим образом. Снимают привод вращения 21 с основания 1 и устанавливают многозондовый датчик контурного типа 9 на четвертое цилиндрическое зубчатое колесо 45.

[19]

Точность установки многозондового датчика контурного типа 9 может корректироваться при включении двигателя 33 и наблюдением в оптический микроскоп за биением основания 10 по положениям острий 16 и 17. Корректировать точность установки многозондового датчика контурного типа 9 можно подвижкой в зазоре основания 10 при закреплении его винтом 54.

[20]

Точную установку образца 3 на держателе образца 2 можно проводить также с использованием оптического микроскопа, измеряя расстояние между реперными точками на образце 3 и реперными точками на держателе образца 2 (не показаны). Закрепление образца 3 на держателе образца 2 может осуществляться пружинными лапками (не показаны).

[21]

После закрепления многозондового датчика контурного типа 9 и образца 3 привод вращения 21 устанавливают на основание 1 и осуществляют исследование образца 3. Подробно конструктивные особенности сканирующих зондовых микроскопов и особенности их работы описаны в (В. Миронов. Основы сканирующей зондовой микроскопии. - М.: ТЕХНОСФЕРА. 2004. - 143 с.).

[22]

То, что привод вращения 21 соединен с платформой 1 с возможностью размыкания с ней и ориентированной установки на нее приводит к упрощению замены многозондовых датчиков контурного типа 9 и образцов 3. При этом появляется возможность более точной установки многозондовых датчиков контурного типа 9 и образцов 3 при их замене, например, с использованием оптического микроскопа. Это приводит к более точному выбору зон измерений и расширению функциональных возможностей.

[23]

То, что привод вращения 21, включает корпус 31, в котором установлен двигатель 33 с первым цилиндрическим зубчатым колесом 35, сопряженным со вторым цилиндрическим зубчатым колесом 41, соосно соединенным с торцевым зубчатым колесом 43, сопряженным с третьим цилиндрическим зубчатым колесом 44, сопряженным с четвертым цилиндрическим зубчатым колесом 45, на котором закреплено основание 10 многозондового датчика контурного типа 9 позволяет минимизировать люфты в зазорах соединения зубчатых колес. Это приводит к более точному выбору зон измерений и расширению функциональных возможностей.

[24]

То, что, по меньшей мере, два прижима 46 сопряжены с четвертым цилиндрическим зубчатым колесом 45 повышает точность поворота многозондового датчика контурного типа 9 за счет минимизации люфтов в соединениях между зубчатыми колесами. Это приводит к более точному выбору зон измерений и расширению функциональных возможностей.

[25]

То, что пьезомодуль 22 имеет возможность включения синхронно с включением двигателя 33 уменьшает усилие страгивания в момент начала поворота многозондового датчика контурного типа 9. Это приводит к более точному выбору зон измерений и расширению функциональных возможностей.

Как компенсировать расходы
на инновационную разработку
Похожие патенты