патент
№ RU 2656033
МПК B01F5/20
Номер заявки
2016151246
Дата подачи заявки
26.12.2016
Опубликовано
30.05.2018
Страна
RU
Как управлять
интеллектуальной собственностью
Чертежи 
2
Реферат

Изобретение относится к технике распыливания жидкостей и организации процесса смешения топлива с окислителем (воздухом) и предназначено для получения мелкодисперсных двухфазных потоков и аэрозолей в широком диапазоне размеров капель 10-20 мкм. Смеситель с двухфазным рабочим телом содержит цилиндрическую камеру смешения с соплом на входе для подачи жидкости, отверстия в корпусе камеры смешения и выходное устройство для двухфазного потока с каналами для выхода двухфазного потока. Отверстия в корпусе камеры смешения расположены перпендикулярно оси камеры в плоскости выходного сечения сопла. Каналы выходного устройства имеют цилиндрическую форму и протяженность в диапазоне от 1 до 10 калибров и расположены параллельно оси камеры смешения либо под углом до 60° к оси камеры смешения. Объемная концентрация газа в камере смешения не должна быть меньше значения 0,5. Техническим результатом изобретения является формирование заданного поля концентрации двухфазного потока, обеспечение устойчивой работы смесителя, возможность регулирования в заданном диапазоне параметров (расходов и давлений фаз) и снижение гидравлического сопротивления. 4 ил.

Формула изобретения

Смеситель с двухфазным рабочим телом, содержащий цилиндрическую камеру смешения с соплом на входе для подачи жидкости, отверстия в корпусе камеры смешения и выходное устройство для двухфазного потока с каналами для выхода двухфазного потока, отличающийся тем, что отверстия в корпусе камеры смешения расположены перпендикулярно оси камеры в плоскости выходного сечения сопла, каналы выходного устройства имеют цилиндрическую форму и протяженность в диапазоне от 1 до 10 калибров и расположены параллельно оси камеры смешения либо под углом до 60° к оси камеры смешения, при этом объемная концентрация газа в камере смешения не должна быть меньше значения 0,5.

Описание

[1]

Изобретение относится к технике распыливания жидкостей и организации процесса смешения топлива с окислителем (воздухом) и предназначено для получения мелкодисперсных двухфазных потоков и аэрозолей в широком диапазоне размеров капель 10-20 мкм.

[2]

Известна конструкция пневматической форсунки, содержащая корпус с соплом и коллектором для подвода жидкости и газа [Пажи Д.Г. Галустов B.C. Основы техники распыливания жидкости. М., Химия, 1984, с. 254]. Недостатком ее является неравномерность распределения концентрации компонентов по сечению и значительный расход газовой фазы.

[3]

Наиболее близкой к изобретению является пневматическая форсунка, содержащая корпус с соплом коллектором подачи жидкости и газа и установленный в корпусе проницаемый для жидкости и газа и пористый вкладыш [А.С. 897306, опубл. 15.01.82, Г. Базаров, В.И. Бирюков]. Недостатком ее является значительное гидравлическое сопротивление и трудность регулирования смеси по концентрации, приводящая к периодическим колебаниям в работе при увеличении содержания жидкости в смеси.

[4]

Целью изобретения является формирование заданного поля концентрации двухфазного потока обеспечение устойчивой работы смесителя, возможность регулирования в заданном диапазоне параметров (расходов и давлений фаз), и снижение гидравлического сопротивления.

[5]

Указанные цели достигаются тем, что в смесителе с двухфазным рабочим телом, содержащем цилиндрическую камеру смешения с соплом на входе для подачи жидкости, отверстия в корпусе камеры смешения, и выходного устройства для двухфазного потока с каналами для выхода двухфазного потока, согласно заявляемому изобретению, отверстия в корпусе камеры смешения расположены перпендикулярно оси камеры в плоскости выходного сечения сопла, каналы выходного устройства имеют цилиндрическую форму и протяженность в диапазоне от 1 до 10 калибров и расположены параллельно оси камеры смешения, либо под углом до 60° к оси камеры смешения, при этом объемная концентрация газа в камере смешения соответствует газокапельному режиму двухфазного потока, т.е. имеет значение больше 0,5.

[6]

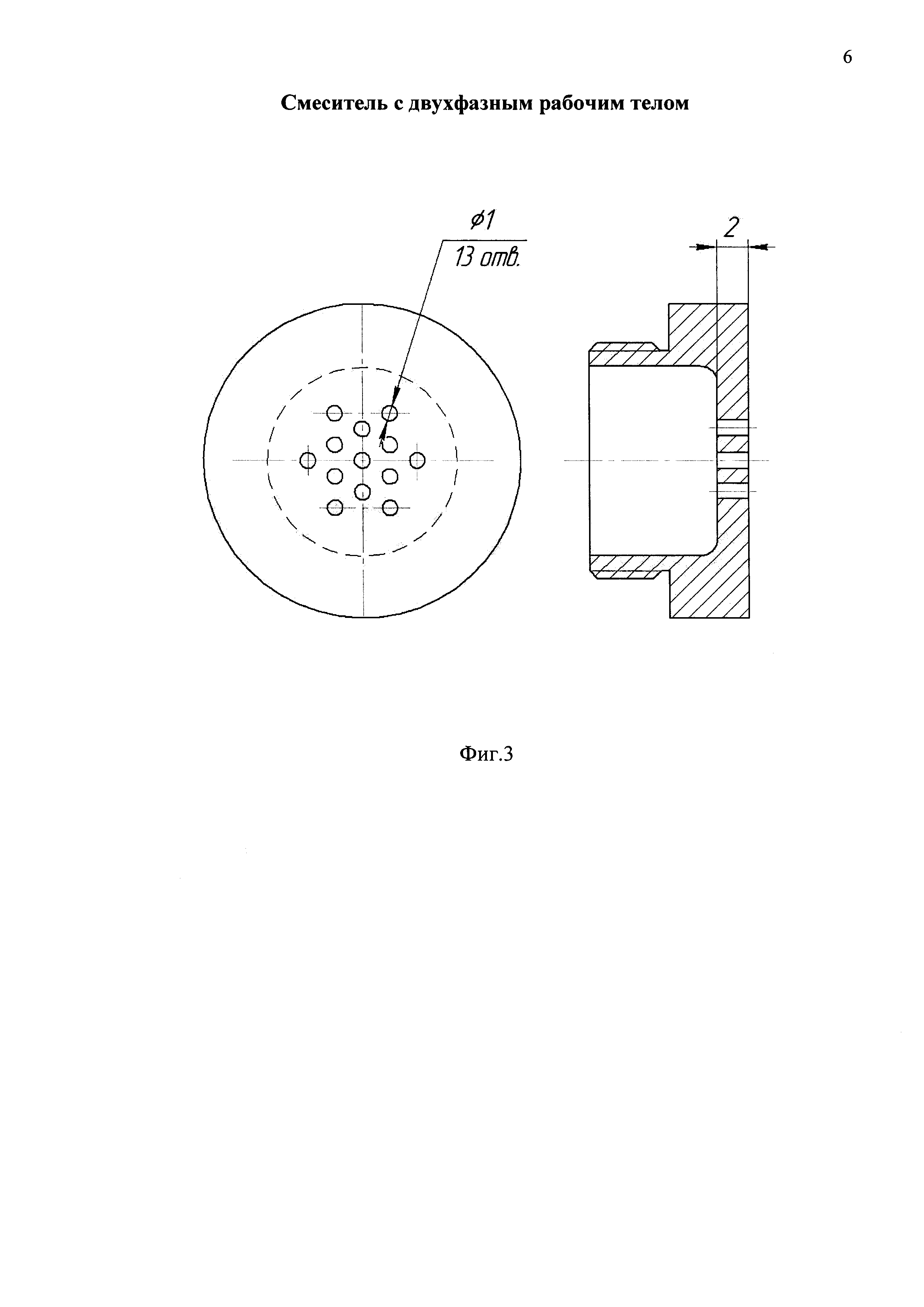
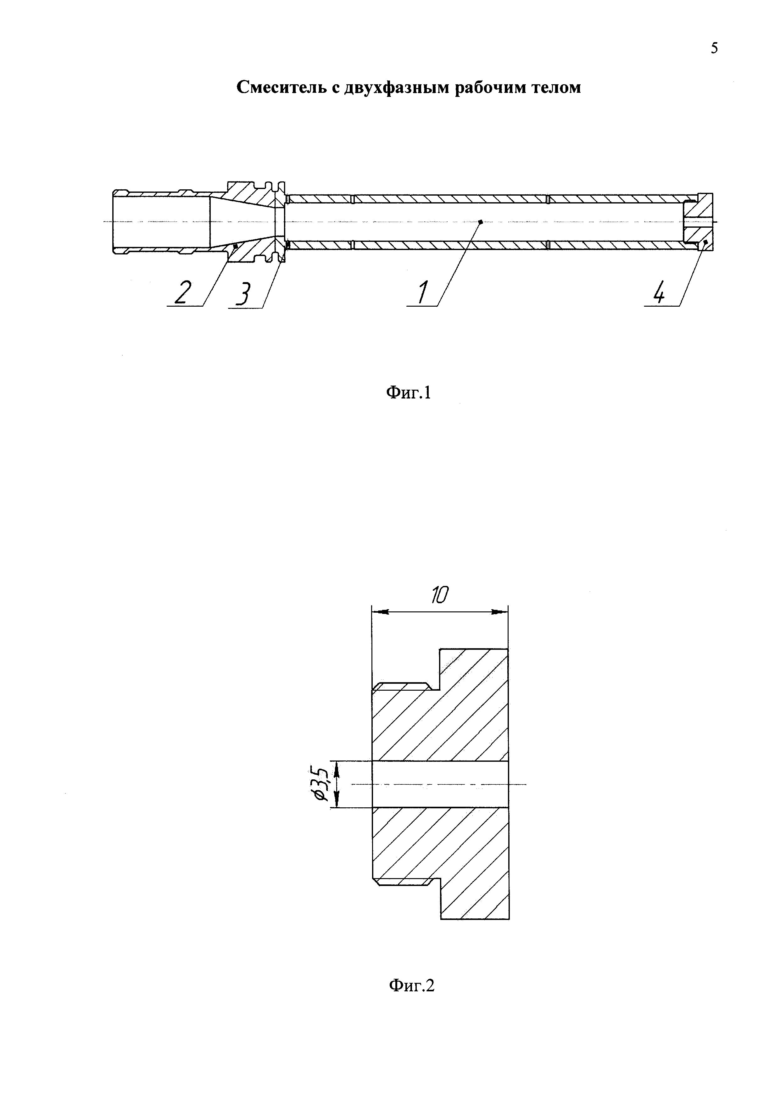
На фиг. 1 показан продольный разрез смесителя, на фиг. 2 вариант выходного устройства с одним протяженным отверстием, на фиг. 3 вариант с несколькими отверстиями.

[7]

Смеситель включает камеру смешения 1, сопло 2 для подачи жидкости, отверстия 3 для подачи газа (воздуха) и выходное устройство 4. Оси камеры смешения сопла и выходного устройства совмещены между собой. Сопло 2 выполнено сужающимся в направлении потока жидкости. Отверстия 3 для газа, оси которых перпендикулярны оси камеры смешения, расположены в корпусе камеры смешения. Диаметр и количество отверстий 3, расположенных в одном или нескольких сечениях камеры смешения, выбирается исходя из требуемой концентрации и массового расхода жидкости. Диаметр цилиндрической камеры и длина камеры смешения 1 выбираются из условия, чтобы объемная концентрация газа соответствовала газокапельному режиму течения двухфазного потока, т.е. была бы больше значения 0.5, точнее 0,523. Это значение определяет допустимое значение объемной концентрации, которое может быть рассчитано, если полагать капли шарообразными с диаметром капель и рассматривать плотную упаковку Расчет объемной концентрации легко может быть определен на основе законов механики жидкости и газа.

[8]

Например, для расчета смесителя необходимо задать массу жидкости mк и mг массу газа, давление Р и температуру смеси Т.

[9]

Для определения объемной концентрации необходимо знать объемы фаз газа Vг и капель Vк в единицу времени. Тогда объемная концентрация газа объемы определяются ρк=const (4) плотность капель жидкости является константой, а плотность газа определяется по уравнению состояния где R - газовая постоянная. Площадь S сечения цилиндрической камеры определяется как где - площадь сечения, занимаемая газом, площадь сечения, занимаемая каплями. Здесь Wг и Wк скорости газа и капель. Выходное устройство 4, в зависимости от конкретной задачи (камера сгорания, химический реактор и т.п.), выполняются в виде цилиндрического канала различной протяженности, от 1 до 10 калибров диаметра, фиг. 2. Причем, выходное устройство может содержать несколько отверстий, как показано на фиг. 3. Их число и протяженность зависят от располагаемого давления и расхода жидкости и газа, а наклон к оси требованиями к полю концентрации на выходе из смесителя.

[10]

Смеситель работает следующим образом. В смеситель через входное сопло 2 (рис. 1) подается жидкость с давлением жидкости, обеспечивающим получение заданного расхода жидкости (и заданной скорости). Затем через отверстия 3 подается воздух с заданным расходом газа, который обеспечивает заданное значение объемной концентрации газа. Система выходит на заданный режим. Регулирование режима может производится как изменением подачи жидкости, так и изменением расхода газа.

[11]

Данный смеситель обеспечивает формирование поля концентрации на выходе, получение дисперсности капель в широком диапазоне размеров от 20 до 200 мкм использование одинакового давления для подачи жидкости и газа, возможность регулирования режим работы по концентрации и дисперсности капель и меньшем перепаде давления, чем у прототипа. Следует отметить, что смеситель имеет на выходе высокий уровень турбулентности, что улучшает перемешивание жидкости и газа. Кроме того, за счет газовой фазы жидкие капли получают дополнительное ускорение, так что их скорость превышает значение, определяемое перепадом давления.

Как компенсировать расходы
на инновационную разработку
Похожие патенты