патент
№ RU 2674385
МПК B64G1/64

Устройство для фиксации отделяемых в процессе эксплуатации частей изделия от корпуса

Авторы:
Татищева Лилия Олеговна
Номер заявки
2017145531
Дата подачи заявки
25.12.2017
Опубликовано
07.12.2018
Страна
RU
Как управлять
интеллектуальной собственностью
Чертежи 
6
Реферат

Изобретение относится к области машиностроения и может быть использовано при проектировании, например, космических аппаратов с отделяемыми элементами. В устройство для фиксации отделяемых в процессе эксплуатации частей введены цилиндрические фланцы, расположенные по торцам стяжной муфты, продольный упор, выполненный в виде кольцевого сектора, продольное ребро, выполненное в виде кольцевого сектора, ограничитель, жестко связанный со стяжной муфтой, расположенный внутри рабочей камеры пиротехнического привода, рабочая камера пиротехнического привода. Цилиндрический корпус устройства выполнен с торцовым фланцем, жестко связанным с корпусом изделия. Стяжная муфта выполнена в виде полого стакана, дно которого с внутренней стороны выполнено коническим и взаимодействует с шаровым поясом резьбового стержня штока. Фланец штока выполнен с параллельными оси устройства и между собой лысками, расстояние между которыми не превосходит диаметра резьбового стержня штока. В дне стяжной муфты выполнен паз перпендикулярно плоскости указанных лысок штока. Цилиндрический стержень расположен внутри стяжной муфты и жестко связан с цилиндрическим корпусом устройства. Техническим результатом изобретения является повышение эксплуатационных характеристик устройства. 6 ил.

Формула изобретения

Устройство для фиксации отделяемых в процессе эксплуатации частей изделия от корпуса, содержащее связанные с отделяемыми частями изделия цилиндрический корпус, выполненный с торцовым фланцем, жестко связанным с корпусом изделия, соосно установленные в нем стяжную муфту, шток в виде резьбового стержня с фланцем, выполненным с переходящим в стержень участком в виде шарового пояса, и фигурным выступом, жестко связанным с указанным фланцем и расположенным соосно указанному штоку со стороны, противоположенной его резьбовому стержню, цилиндрический стержень, установленный соосно штоку и выполненный с фигурным гнездом, взаимодействующим с указанным фигурным выступом штока, крышку, расположенную соосно цилиндрическому корпусу со стороны, противоположенной резьбовому стержню штока, пиротехнический привод для перемещения стяжной муфты, образованный рабочей камерой, связанной газоходом с гнездом под пиротехнический источник давления, выполненным в корпусе устройства, и средство крепления устройства к отделяемым частям изделия, отличающееся тем, что в нем введены цилиндрические фланцы, расположенные по торцам стяжной муфты, жестко с ней связанные, контактирующие с внутренней поверхностью указанного цилиндрического корпуса, продольный упор, выполненный в виде кольцевого сектора, жестко связанного с корпусом по большему диаметру, контактирующего с внешней поверхностью муфты по меньшему диаметру, а торцевыми поверхностями с указанными цилиндрическими фланцами, продольное ребро, выполненное в виде кольцевого сектора, жестко связанного со стяжной муфтой по меньшему диаметру, контактирующее с внутренней поверхностью цилиндрического корпуса по большему диаметру, а торцевыми поверхностями с указанными цилиндрическими фланцами, а также ограничитель, жестко связанный со стяжной муфтой, расположенный внутри рабочей камеры пиротехнического привода и контактирующий с указанным продольным упором корпуса устройства, рабочая камера пиротехнического привода образована цилиндрическими поверхностями корпуса и стяжной муфты, торцевыми поверхностями указанных цилиндрических фланцев и продольными радиальными плоскостями указанного продольного упора корпуса и продольного ребра стяжной муфты, при этом две другие продольные плоскости упора и ребра расположены во взаимно перпендикулярных плоскостях, цилиндрический корпус устройства выполнен с торцовым фланцем, жестко связанным с корпусом изделия, стяжная муфта выполнена в виде полого стакана, дно которого с внутренней стороны выполнено коническим и взаимодействует с шаровым поясом резьбового стержня штока, при этом фланец штока выполнен с параллельными оси устройства и между собой лысками, расстояние между которыми не превосходит диаметра резьбового стержня штока, в дне стяжной муфты выполнен паз перпендикулярно плоскости указанных лысок штока, ширина которого равна диаметру резьбового стержня штока, цилиндрический стержень расположен внутри стяжной муфты и жестко связан с цилиндрическим корпусом устройства посредством указанной крышки, при этом радиальный упор стяжной муфты выполнен с возможностью взаимодействия с радиальным ребром цилиндрического корпуса, а паз в стяжной муфте при этом с возможностью расположения напротив выступающих частей фланца штока при срабатывании устройства.

Описание

[1]

Данное изобретение относится к области машиностроения и может быть использовано при проектировании, например, космических аппаратов (КА), оснащенных отделяемыми элементами.

[2]

Из описания к патенту РФ №2075874 от 07.06.1994 г известно устройство для фиксации отделяемых в процессе эксплуатации частей изделия от корпуса. Данное устройство содержит связанные с отделяемыми частями изделия цилиндрический корпус, соосно установленные в нем обойму, выполненную в виде полого цилиндра с торцовым фланцем, жестко связанным с указанным цилиндрическим корпусом и взаимодействующим с корпусом изделия, выполненную со сквозными радиальными пазами прямоугольного профиля и' фиксирующими элементами, подвижно установленными в указанных радиальных пазах обоймы с возможностью взаимодействия с внутренней поверхностью стяжной муфты. Данное устройство содержит также шток в виде резьбового стержня с фланцем, выполненным с переходящим в стержень участком в виде шарового пояса для взаимодействия с фиксирующими элементами, установленный внутри обоймы с возможностью осевого перемещения, пиротехнический привод для перемещения стяжной муфты относительно обоймы, а также средство крепления устройства к отделяемым частям изделия, выполненное в виде шайбы, установленной на резьбовом стержне указанного штока, гайки, закрепленной на этом стержне с опорой на указанную шайбу и подпружиненной относительно нее.

[3]

Данное устройство имеет существенный эксплуатационный недостаток, а именно значительные размеры, что определяется необходимостью перемещения стяжной муфты относительно обоймы в осевом направлении и фиксирующих элементов в радиальном направлении при срабатывании устройства.

[4]

Известно устройство для фиксации отделяемых в процессе эксплуатации частей изделия от корпуса по патенту РФ №2304236 от 23.03.2006 г., принятое за прототип. Данное устройство содержит связанные с отделяемыми частями изделия цилиндрический корпус, соосно установленные в нем стяжную муфту, выполненную в виде полого цилиндра, обойму в виде полого цилиндра с торцовым фланцем, жестко связанным с указанным цилиндрическим корпусом и взаимодействующим с корпусом изделия, сквозными радиальными,пазами прямоугольного профиля и фиксирующими элементами, подвижно установленными в радиальных пазах обоймы с возможностью взаимодействия с внутренней поверхностью стяжной муфты, шток в виде резьбового стержня с фланцем, выполненным с переходящим в стержень участком в виде шарового пояса для взаимодействия с фиксирующими элементами, и фигурным выступом, жестко связанным с указанным фланцем и расположенным соосно указанному штоку со стороны, противоположенной его резьбовому стержню. Устройство содержит также крышку, расположенную соосно цилиндрическому корпусу со стороны, противоположенной фланцу обоймы, и цилиндрический стержень, установленный внутри указанной обоймы соосно штоку и выполненный с фигурным гнездом, взаимодействующим с указанным фигурным выступом штока, и с фигурным хвостовиком под ключ, расположенным за торцом обоймы с противоположенной штоку стороны и взаимодействующим с указанной крышкой, пиротехнический привод для перемещения стяжной муфты относительно обоймы, образованный рабочей камерой, связанной газоходом с гнездом под пиротехнический источник давления, выполненным в корпусе устройства, а также средство крепления устройства к отделяемым частям изделия, выполненное в виде шайбы, установленной на резьбовом стержне указанного штока, гайки, закрепленной на этом стержне с опорой на указанную шайбу и подпружиненной относительно нее.

[5]

Данное устройство имеет существенный эксплуатационный недостаток- значительные размеры, что определяется необходимостью осевого перемещения стяжной муфты относительно обоймы и поперечного перемещения фиксирующих элементов при срабатывании устройства.

[6]

Технической задачей решаемой данным техническим решением является улучшение эксплуатационных характеристик устройства за счет уменьшения его размеров при сохранении его работоспособности. Поставленная техническая задача достигается тем, что в устройстве для фиксации отделяемых элементов, содержащем связанные с отделяемыми частями изделия цилиндрический корпус, соосно установленные в нем стяжную муфту, шток в виде резьбового стержня с фланцем, выполненным с переходящим в стержень участком в виде шарового пояса, и фигурным выступом, жестко связанным с указанным фланцем и расположенным соосно указанному штоку со стороны, противоположенной его резьбовому стержню, цилиндрический стержень, установленный соосно штоку и выполненный с фигурным гнездом, взаимодействующим с указанным фигурным выступом штока, крышку, расположенную соосно цилиндрическому корпусу со стороны, противоположенной резьбовому стержню штока, пиротехнический привод для перемещения стяжной муфты, образованный рабочей камерой, связанной газоходом с гнездом под пиротехнический источник давления, выполненным в корпусе устройства, и средство крепления устройства к отделяемым частям изделия, дополнительно введены цилиндрические фланцы, расположенные по торцам стяжной муфты, жестко с ней связанные, контактирующие с внутренней поверхностью указанного цилиндрического корпуса, продольный упор, выполненный в виде кольцевого сектора, жестко связанного с корпусом по большему диаметру, контактирующий с внешней поверхностью муфты по меньшему диаметру, а торцевыми поверхностями с указанными цилиндрическими фланцами, продольное ребро, выполненное в виде кольцевого сектора, жестко связанного со стяжной муфтой по меньшему диаметру, контактирующее с внутренней поверхностью цилиндрического корпуса по большему диаметру, а торцевыми поверхностями с указанными цилиндрическими фланцами, а также ограничитель, жестко связанный со стяжной муфтой, расположенный внутри рабочей камеры пиротехнического привода и контактирующий с указанным продольным упором корпуса устройства, рабочая камера пиротехнического привода образована цилиндрическими поверхностями корпуса и стяжной муфты, торцевыми поверхностями указанных цилиндрических фланцев и продольными радиальными плоскостями указанного продольного упора корпуса и продольного ребра стяжной муфты, при этом две других продольных плоскости упора и ребра расположены во взаимно перпендикулярных плоскостях, цилиндрический корпус устройства выполнен с торцовым фланцем жестко связанным с корпусом изделия, стяжная муфта выполнена в виде полого стакана, дно которого с внутренней стороны выполнено коническим и взаимодействует с шаровым поясом резьбового стержня штока, при этом фланец штока выполнен с параллельными оси устройства и между собой лысками, расстояние между которыми не превосходит диаметра резьбового стержня штока, в дне стяжной муфты выполнен паз перпендикулярно плоскости указанных лысок штока, ширина которого равна диаметру резьбового стержня штока, цилиндрический стержень расположен внутри стяжной муфты и жестко связан с цилиндрическим корпусом устройства посредством указанной крышки, при этом радиальный упор стяжной муфты выполнен с возможностью взаимодействия с радиальным ребром цилиндрического корпуса, а паз в стяжной муфте при этом с возможностью расположения напротив выступающих частей фланца штока при срабатывании устройства.

[7]

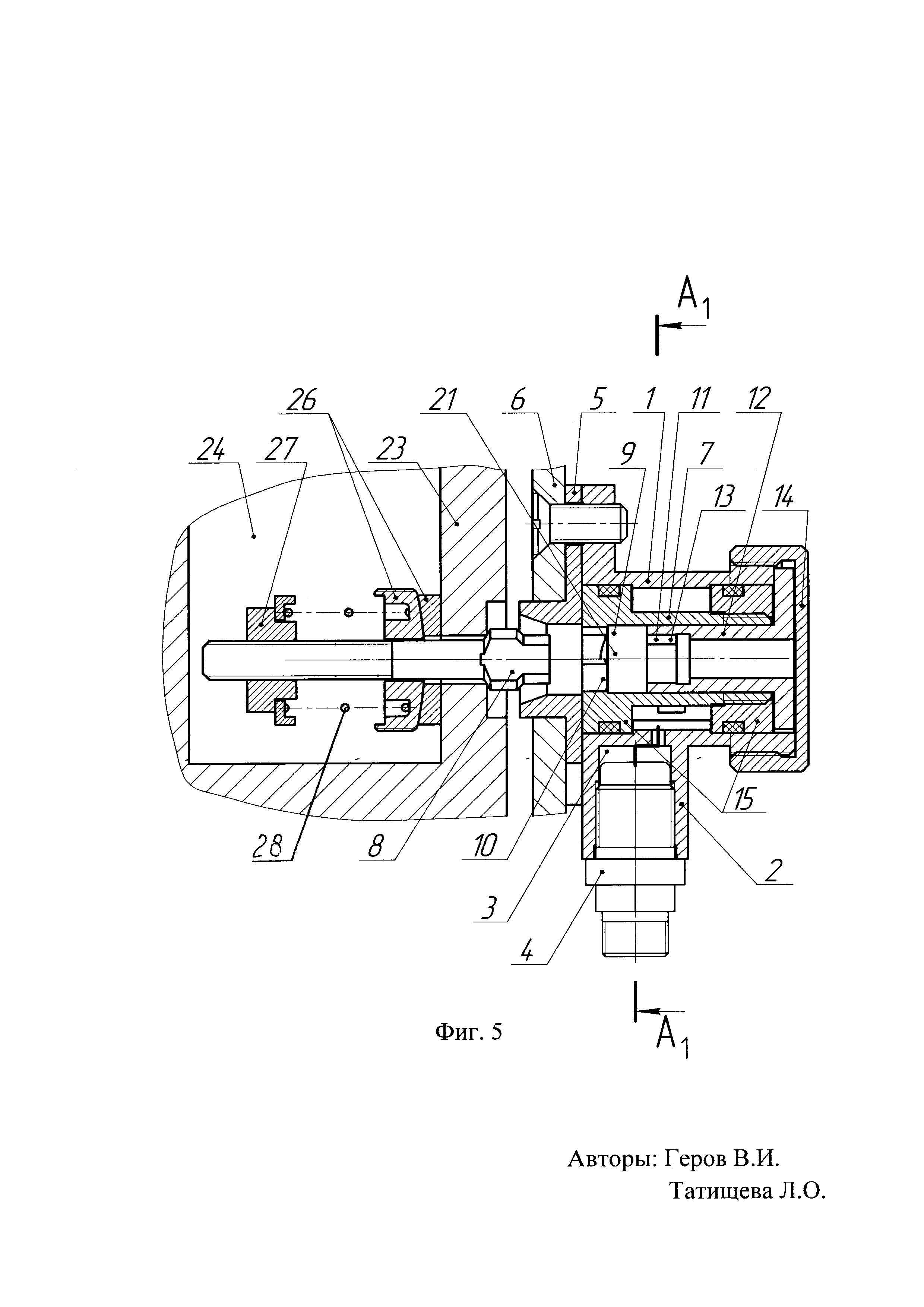
На фиг. 1 показан общий вид устройства.

[8]

На фиг. 2 показано сечение А-А.

[9]

На фиг. 3 показано сечение Б-Б.

[10]

На фиг. 4 показано сечение В-В.

[11]

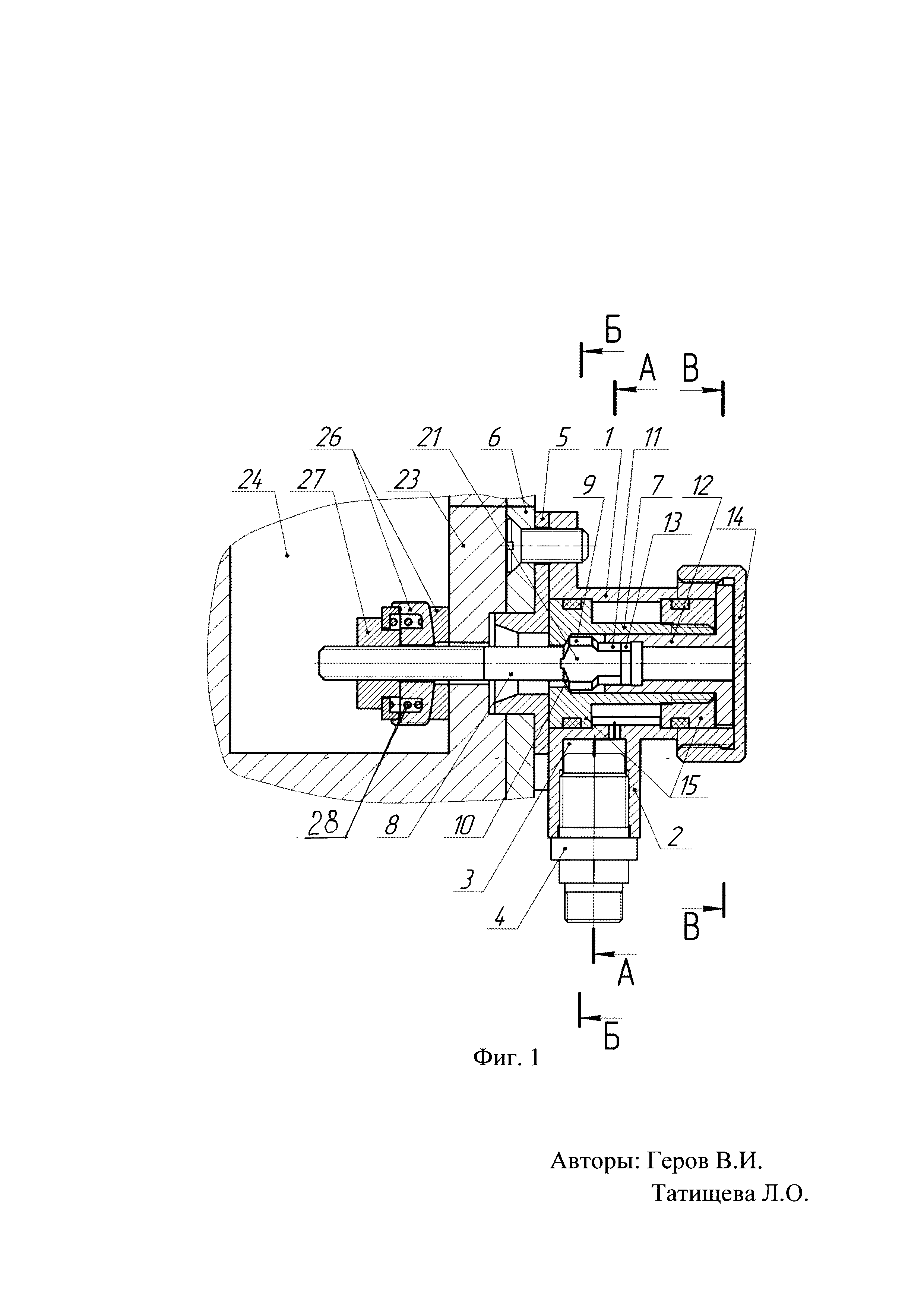
На фиг. 5 показан общий вид устройства после срабатывания.

[12]

На фиг. 6 показано сечение A1-A1 после срабатывания устройства.

[13]

Устройство для фиксации отделяемых в процессе эксплуатации частей изделия от корпуса содержит полый цилиндрический корпус 1 с эксцентрично расположенным на наружной поверхности приливом 2 с резьбовым гнездом 3 под пиротехнический источник давления 4. Корпус 1 выполнен также с торцовым фланцем 5, жестко скрепленным с корпусом изделия 6. В корпусе 1 соосно с ним установлена стяжная муфта 7 с возможностью углового перемещения. Внутри корпуса 1 соосно со стяжной муфтой 7 установлены шток 8, выполненный в виде резьбового стержня с цилиндрическим фланцем 9, с переходящим в стержень участком 10 в виде шарового пояса и фигурным хвостовиком 11, например, в виде многогранника, расположенным соосно фланцу 9 штока 8, жестко с ним связанным и расположенным относительно фланца 9 со стороны, противоположенной переходному участку 10, а также цилиндрический стержень 12, выполненный с фигурным гнездом 13, взаимодействующим с фигурным хвостовиком 11 штока 8. Стержень 12 расположен внутри стяжной муфты 7 и жестко скреплен при этом с корпусом 1, например посредством крышки 14. Стяжная муфта 7 выполнена в виде цилиндрического стакана, содержит цилиндрические фланцы 15, расположенные по торцам стяжной муфты 7, жестко с ней связанные и контактирующие своей цилиндрической поверхностью с внутренней поверхностью цилиндрического корпуса 1, продольное ребро 16, выполненное в виде кольцевого сектора, жестко связанного по меньшему диаметру со стяжной муфтой 7, контактирующего большим диаметром с внутренней поверхностью цилиндрического корпуса 1, а торцами с торцевыми поверхностями фланцев 15. Корпус 1 выполнен с продольным упором 17, в виде кольцевого сектора, жестко связанного по большему диаметру с цилиндрическим корпусом 1 устройства, контактирующего меньшим диаметром с наружной поверхностью стяжной муфты 7, а торцевыми плоскостями с указанными цилиндрическими фланцами 15. Рабочая камера 18 пиротехнического привода образована цилиндрическими поверхностями корпуса 1 и стяжной муфты 7, торцевыми поверхностями указанных цилиндрических фланцев 15 и продольными радиальными плоскостями указанного продольного упора 17 корпуса 1 и продольного ребра 16 стяжной муфты 7, при этом две других продольных плоскости упора 17 и ребра 16 расположены во взаимно перпендикулярных плоскостях, с возможностью взаимодействия друг с другом при срабатывании устройства. Внутри рабочей камеры 17 устройства дополнительно введен ограничитель 19 жестко связанный со стяжной муфтой 7, контактирующий.с радиальным упором 17 и зафиксированный относительно корпуса 1 устройства посредством фиксатора 20, например, срезного винта, при этом обеспечивается исходное состояние устройства. Стяжная муфта 7 выполнена в виде полого стакана, дно которого с внутренней стороны выполнено коническим и взаимодействует с шаровым поясом 10 резьбового стержня штока 8, при этом фланец 9 штока 8 выполнен с параллельными оси устройства и между собой лысками 21, расстояние между которыми не превосходит диаметра резьбового стержня шток 8, в дне стяжной муфты выполнен паз 22 перпендикулярно плоскости указанных лысок 21 штока 8, ширина которого равна диаметру резьбового стержня штока 8, при этом радиальный упор 15 стяжной муфты 7 выполнен с возможностью взаимодействия с радиальным ребром 16 цилиндрического корпуса 1, а паз 22 в стяжной муфте при этом с возможностью расположения напротив выступающих частей фланца 9 штока 8 при срабатывании устройства.

[14]

Крепится устройство к отделяемой части 23 с помощью средства крепления, размещенного в гнезде 24 отделяемой части 25. Средство крепления выполнено в виде набора шайб 26, установленного на резьбовом стержне штока 8, гайки 27, закрепленной на резьбовом стержне штока 8 с требуемым моментом затяжки, с возможностью опоры на отделяемые части 23 изделия через шайбы 26, и подпружиненной относительно указанных шайб 26 пружиной 28. Срабатывание устройства и разделение отделяемой части 23 и корпуса 6 изделия происходит следующим образом.

[15]

При подаче электрического сигнала на пиротехнический источник давления 4, размещенный в резьбовом гнезде 3 корпуса 1, происходит его срабатывание.. Продукты сгорания пиротехнического источника давления 4 из резьбового гнезда 3 попадают в рабочую камеру 18. За счет действия давления продуктов сгорания на рабочую поверхность ребра 16 и упора 117 стяжная муфта 7, срезая фиксатор 20, разворачивается вокруг продольной оси на 90° до упора ребра 16 в упор 17, а шток 8 остается в исходном положении за счет взаимодействия фигурного хвостовика 11 штока 8 с ответным фигурным гнездом 13 стержня 12, жестко связанного с корпусом 1 устройства. При этом паз 22, выполненный на дне стяжной муфты 7 располагается напротив выступающих частей фланца 9 штока 8 и стенки паза 22 располагаются параллельно лыскам 21 фланца 9, момент затяжки гайки 27 пропадает и гайка 27, под действием пружины 28, перемещается в осевом направлении, выдергивая шток 8 из корпуса 1 устройства, при этом фигурный хвостовик 11 штока 8 выходит из зацепления с фигурным гнездом 13 стержня 12.

[16]

Отделяемая часть 23 отходит от корпуса 6 изделия.

[17]

Таким образом, как видно из описания конструкции и работы устройства, решена поставленная техническая задача, а именно, обеспечено улучшение эксплуатационных характеристик устройства за счет уменьшения размеров устройства, при сохранении работоспособности устройства. В осевом направлении размеры устройства уменьшаются за счет исключения в прототипе осевого перемещения стяжной муфты устройства, а в поперечном за счет исключения в прототипе фиксирующих элементов и пространства для их поперечного перемещения при срабатывании устройства.

[18]

На предлагаемое техническое решение разработана конструкторская документация.

Как компенсировать расходы
на инновационную разработку
Похожие патенты