патент
№ RU 2648920
МПК C01B32/168

СПОСОБ ПОЛУЧЕНИЯ ТОНКИХ ПЛЕНОК НА ОСНОВЕ УГЛЕРОДНЫХ НАНОМАТЕРИАЛОВ

Авторы:
Насибулин Альберт Галийевич
Номер заявки
2016149587
Дата подачи заявки
16.12.2016
Опубликовано
28.03.2018
Страна
RU
Как управлять
интеллектуальной собственностью
Чертежи 
2
Реферат

[33]

Изобретение относится к нанотехнологии. Сначала готовят суспензию, содержащую этиленгликоль в качестве жидкой дисперсионной среды и углеродный наноматериал, например графен, оксид графена, восстановленный оксид графена, однослойные углеродные нанотрубки, двухслойные углеродные нанотрубки, многослойные углеродные нанотрубки или их смеси, и обрабатывают её ультразвуком. Затем суспензию нагревают до 95 °С. В нагретую суспензию по каплям добавляют органический растворитель с температурой кипения ниже этиленгликоля, например этанол, изопропанол, ацетон. Высота падения капли составляет 1-15 мм, объёмное соотношение органического растворителя и суспензии составляет от 1/2 до 7/1. Тонкую пленку углеродного наноматериала, образованную на поверхности жидкой дисперсионной среды, отделяют, переносят на подложку и сушат. Изобретение позволяет получить однородные и плотные тонкие пленки на основе углеродных наноматериалов и увеличить их поверхностное сопротивление. 4 з.п. ф-лы, 4 ил.

Формула изобретения

1. Способ получения тонких пленок на основе углеродных наноматериалов, включающий обработку суспензии ультразвуком, содержащей углеродный наноматериал и этиленгликоль, с последующим нагревом суспензии до температуры 95°С и образованием тонкой пленки углеродного наноматериала на поверхности жидкой дисперсионной среды при добавлении в нагретую суспензию по каплям органического растворителя с температурой кипения ниже этиленгликоля и последующим отделением и переносом тонкой пленки углеродного материала с поверхности жидкой дисперсионной среды на подложку и ее сушкой.

2. Способ по п. 1, отличающийся тем, что в качестве органического растворителя применяют этанол, изопропанол, ацетон.

3. Способ по п. 1, отличающийся тем, что высота падения капли составляет 1-15 мм.

4. Способ по п. 1, отличающийся тем, что в качестве углеродного наноматериала применяют графен, оксид графена, восстановленный оксид графена, однослойные углеродные нанотрубки, двухслойные углеродные нанотрубки, многослойные углеродные нанотрубки или их различные смеси.

5. Способ по п. 1, отличающийся тем, что соотношение добавляемого объема органического растворителя к объему суспензии составляет от 1/2 до 7/1.

Описание

[1]

ОБЛАСТЬ ТЕХНИКИ

[2]

Изобретение относится к способу получения тонких пленок на основе углеродных наноматериалов (УНМ) на границе раздела фаз жидкость/газ, путем добавления к суспензии на основе углеродных материалов жидкости с более низкими температурой кипения и плотностью, чем жидкая дисперсионная среда.

[3]

УРОВЕНЬ ТЕХНИКИ

[4]

Известен способ получения приборных графеновых структур, раскрытый в RU 2538040 С2, опубл. 10.11.2015. Способ заключается в том, что выращивают на подложке-доноре графеновый слой, который затем покрывают вспомогательной для переноса графенового слоя пленкой, далее отделяют графеновый слой, покрытый вспомогательной для переноса графенового слоя пленкой, от подложки-донора и осуществляют его перенос на подложку. При этом перед отделением графенового слоя на вспомогательной для переноса графенового слоя пленке создают натягивающую рамку, предотвращающую сминание при переносе, или наносят сплошную пленку, обеспечивающую механическую целостность и предотвращающую сминание при переносе, после переноса графенового слоя, покрытого вспомогательной для переноса графенового слоя пленкой, на подложку осуществляют прижим к подложке при условиях, обеспечивающих полную адгезию графенового слоя к подложке.

[5]

Недостатком известного способа является сложность и длительность изготовления графеновой пленки.

[6]

Кроме того, известен способ получения пленки оксида графена, раскрытый в статье Dr. Li Wei, Dr. Fuming Chen, Hong Wang, Dr. Tingying Helen Zeng, Prof. Qiusheng Wang, Prof. Yuan Chen, Acetone-Induced Graphene Oxide Film Formation at the Water-Air Interface, Chemistry - An Asian Journal, 2012, Nov. 30 (прототип). Способ заключается в получении пленки из водной суспензии оксида графена на границе раздела вода/воздух. В качестве инициатора процесса образования пленки оксида графена используется ацетон.

[7]

Недостатком раскрытого способа получения пленки оксида графена является недостаточная однородность полученной пленки.

[8]

РАСКРЫТИЕ ИЗОБРЕТЕНИЯ

[9]

Задачей заявленного изобретения является получение тонких пленок на основе углеродных материалов на границе раздела жидкая дисперсионная среда/воздух.

[10]

Техническим результатом изобретения является получение однородных и плотных по структуре тонких пленок на основе углеродных наноматериалов и повышение диапазона поверхностного сопротивления пленок.

[11]

Указанный технический результат достигается за счет того, что способ получения тонких пленок на основе УНМ включает обработку суспензии ультразвуком, содержащей углеродный наноматериал и этиленгликоль, с последующим нагревом суспензии до температуры 95°С и образованием тонкой пленки УНМ на поверхности жидкой дисперсионной среды при добавлении в нагретую суспензию по каплям органического растворителя, с температурой кипения ниже этиленгликоля и последующим отделением и переносом тонкой пленки УНМ с поверхности жидкой дисперсионной среды.

[12]

В качестве органического растворителя применяют этанол, изопропанол, ацетон.

[13]

Высота падения капли составляет 1-15 мм.

[14]

В качестве УНМ применяют оксид графена, восстановленный оксид графена, однослойные углеродные нанотрубки (УНТ), двухслойные УНТ, многослойные УНТ или их различные смеси.

[15]

Соотношение добавляемого объема органического растворителя к объему суспензии составляет от 1/2 до 7/1.

[16]

Размер частиц углеродного наноматериала достигает 100 мкм.

[17]

КРАТКОЕ ОПИСАНИЕ ЧЕРТЕЖЕЙ

[18]

Изобретение будет более понятным из описания, не имеющего ограничительного характера и приводимого со ссылками на прилагаемые чертежи, на которых изображено:

[19]

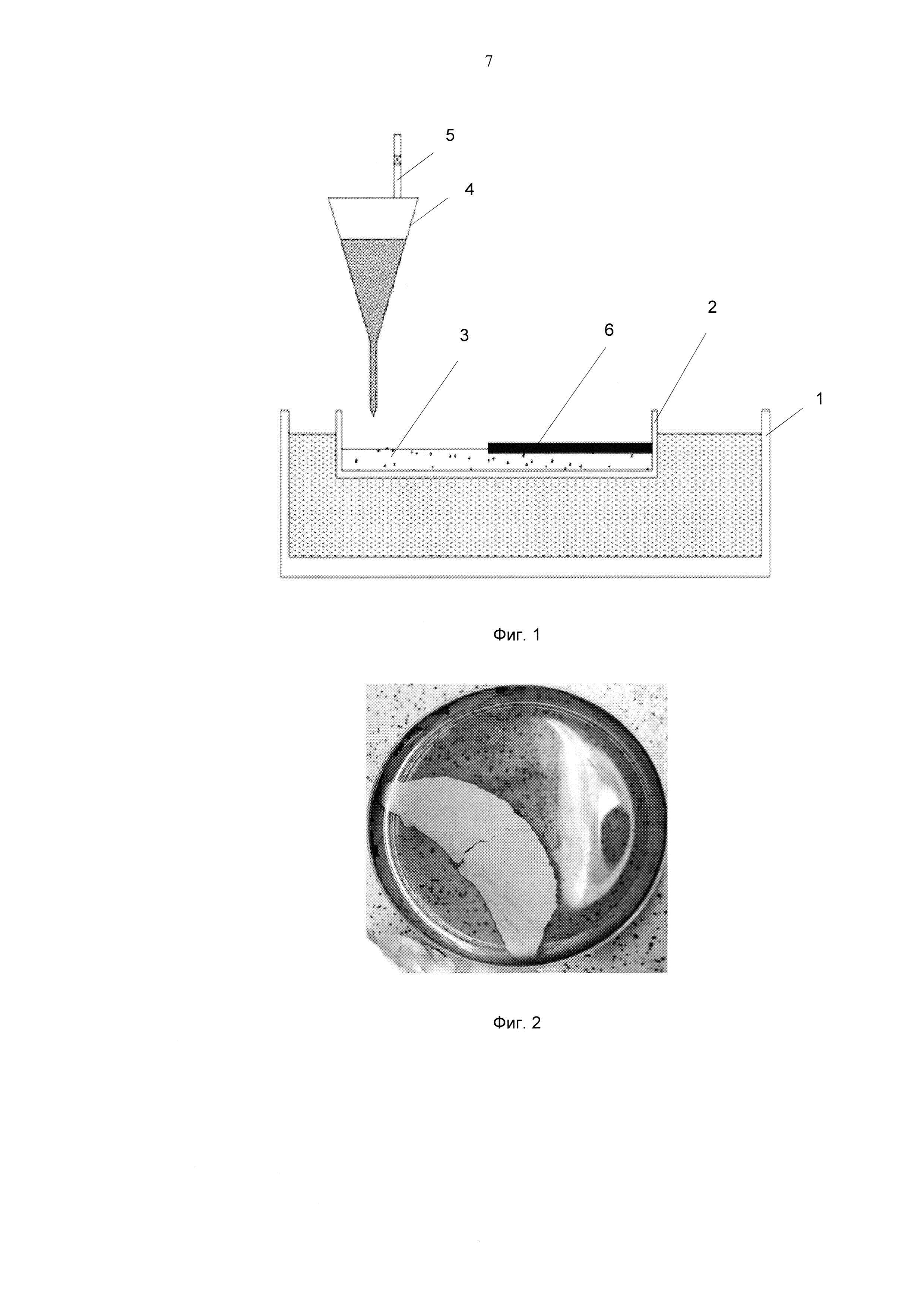
Фиг. 1 - Установка для получения тонких пленок УНМ.

[20]

Фиг. 2 - Вид пленки УНМ после окончания процесса добавления органического растворителя.

[21]

Фиг. 3 - Изображение пленки из восстановленного оксида графена на кварцевой подложке в электронном сканирующем микроскопе.

[22]

Фиг. 4 - Изображение пленки из восстановленного оксида графена в электронном сканирующем микроскопе на кремниевой подложке.

[23]

1 - песчаная баня; 2 - чаша Петри; 3 - суспензия; 4 - капельница; 5 - регулировочный кран; 6 - пленка УНМ.

[24]

ОСУЩЕСТВЛЕНИЕ ИЗОБРЕТЕНИЯ

[25]

В соответствии с фиг. 1, способ получения тонких пленок на основе УНМ осуществляют следующим образом. Готовую суспензию (3), содержащую УНМ и этиленгликоль, подвергают обработке ультразвуком. Обработку суспензии (3) ультразвуком осуществляют в соникаторе в течение 5-10 мин, в результате которой происходит разбитие агрегатов частиц УНМ. В качестве УНМ применяют графен, оксид графена, восстановленный оксид графена, однослойные УНТ, двухслойные УНТ, многослойные УНТ или их различные смеси. В случае использования свежей суспензии (3), которую сразу после ее приготовления применяют для изготовления пленки по заявленному способу, операцию обработки суспензии ультразвуком можно пропустить.

[26]

Затем суспензию (3) помещают в емкость с широким дном, например чашку Петри (2), и подогревают до температуры 95°С, например, на водяной или песочной бане (3), на другой горячей поверхности или в печи.

[27]

По достижении заданной температуры осуществляют добавление в нагретую суспензию (3) по каплям органического растворителя до момента полного формирования на всей поверхности жидкой дисперсионной среды пленки (6) УНМ. Органический растворитель помещают капельницу (4), при помощи которой добавляют в суспензию (3). Скорость падения капли органического растворителя регулируют при помощи регулировочного крана (5). В качестве органического растворителя применяют этанол, изопропанол, ацетон или другие известные органические растворители, с температурой кипения ниже этиленгликоля. Высота падения капли устанавливается от 1 до 15 мм от поверхности суспензии, на расстоянии 3-15 мм от стенки чашки Петри (3). Соотношение добавляемого объема органического растворителя к объему суспензии составляет от 1/2 до 7/1.

[28]

При попадании капли органического растворителя в объем суспензии (3) образуются турбулентные потоки, которые выносят углеродные частицы на поверхность жидкой дисперсионной среды, а волна, инициированная падением капли органического растворителя, заставляет частицы двигаться в сторону противоположной стенки сосуда. Углеродные наночастицы, достигшие стенки, начинают наслаиваются друг на друга и образуют тонкую пленку (6) УНМ, которая растет по мере вымывания углеродных наночастиц из объема суспензии. В результате образуется однородная и плотная по структуре тонкая пленка (6) на основе УНМ, пригодная для переноса на различные подложки. На фиг. 2 представлен вид полученной пленки (6) УНМ. Получение однородной и плотной по структуре тонкой пленки (6) на основе УНМ обеспечивается за счет различия температур кипения органического растворителя и суспензии более чем в 1,5 раза и более, а их плотностей от 0,6 до 0,8.

[29]

Пленку УНМ получают толщиной 0,01-2 мкм, в зависимости от объема суспензии УНМ. Поверхностное сопротивление пленок составляет от 5 Ом/см2 до 50 МОм/см2, в зависимости от толщины и состава покрытия. Поверхностное сопротивление для пленки из однослойных УНТ толщиной 0,5 мкм составляет 25 Ом/см2, для пленки из восстановленного оксида графена толщиной 0,7 мкм - 2 МОм/см2.

[30]

После окончания роста пленки осуществляют ее отделение с поверхности жидкой дисперсионной среды и перенос на различные подложки методами аквапереноса, вылавливания пленки или нанесения покрытия окунанием (dip-coating), с последующей сушкой пленки на подложке. Подложки обладают различным уровнем прозрачности, гибкости и эластичности. В качестве материала для подложек применяют кварц, кремний, различные стекла, полидиметилсилоксан (PDMS), полиэтилентерефталат (PET) и др. На фиг. 3 и 4 представлено изображение пленок из восстановленного оксида графена в электронном сканирующем микроскопе на кварцевой подложке и кремниевой подложке соответственно.

[31]

Таким образом, предлагаемое изобретение позволяет получить однородные и плотные по структуре тонкие пленки на основе углеродных наноматериалов и повысить диапазон поверхностного сопротивления пленок.

[32]

Изобретение было раскрыто выше со ссылкой на конкретный вариант его осуществления. Для специалистов могут быть очевидны и иные варианты осуществления изобретения, не меняющие его сущности, как она раскрыта в настоящем описании. Соответственно, изобретение следует считать ограниченным по объему только нижеследующей формулой изобретения.

Как компенсировать расходы
на инновационную разработку
Похожие патенты