Изобретение относится к нефтегазодобывающей промышленности и может быть применено для доставки оборудования в эксплуатационную колонну горизонтального ствола скважины. Способ включает размещение оптико-волоконного кабеля в непрерывном трубопроводе, оснащенном на нижнем конце насадкой неразъемным в скважинных условиях соединением, спуск в эксплуатационную колонну горизонтального ствола скважины непрерывного трубопровода и колонны насосно-компрессорных труб - НКТ, эксплуатацию в скважине колонны НКТ с насосом и оптико-волоконного кабеля независимо друг от друга. Неразъемная насадка выполнена в виде ступенчатой уплотнительной пробки, состоящей из самоуплотняющихся манжет, не пропускающих сверху вниз. Ступенчатую уплотнительную пробку размещают в эксплуатационной колонне скважины и под действием гидравлического давления с расходом 4,5 л/с проталкивают до начала поглощения технологической жидкости перфорационными отверстиями эксплуатационной колонны, увеличивают расход технологической жидкости до 19,6 л/с и перемещают ступенчатую уплотнительную пробку с непрерывным трубопроводом до заданного интервала. При отсутствии перемещения ступенчатой уплотнительной пробки производят совместную закачку технологической жидкости с уплотняющими шариками. При этом в процессе перемещения уплотнительной пробки с непрерывным трубопроводом уплотнительные шарики герметизируют перфорационные отверстия эксплуатационной колонны до достижения заданного интервала доставки оптико-волоконного кабеля. После чего в эксплуатационную колонну скважины спускают насос на колонне НКТ, оснащенной снизу перфорированным хвостовиком, до заданного интервала. Технический результат заключается в повышении надежности и эффективности реализации способа, а также в сокращении продолжительности работ. 4 ил.
Способ доставки оптико-волоконного кабеля в горизонтальный ствол скважины, включающий размещение оптико-волоконного кабеля в непрерывном трубопроводе, оснащенном на нижнем конце насадкой неразъемным в скважинных условиях соединением, спуск в эксплуатационную колонну горизонтального ствола скважины непрерывного трубопровода и колонны насосно-компрессорных труб - НКТ, эксплуатацию в скважине колонны НКТ с насосом и оптико-волоконного кабеля независимо друг от друга, отличающийся тем, что неразъемная насадка выполнена в виде ступенчатой уплотнительной пробки, состоящей из самоуплотняющихся манжет, не пропускающих сверху вниз, ступенчатую уплотнительную пробку размещают в эксплуатационной колонне скважины и под действием гидравлического давления с расходом 4,5 л/с проталкивают до начала поглощения технологической жидкости перфорационными отверстиями эксплуатационной колонны, увеличивают расход технологической жидкости до 19,6 л/с и перемещают ступенчатую уплотнительную пробку с непрерывным трубопроводом до заданного интервала, при отсутствии перемещения ступенчатой уплотнительной пробки производят совместную закачку технологической жидкости с уплотняющими шариками, при этом в процессе перемещения уплотнительной пробки с непрерывным трубопроводом уплотнительные шарики герметизируют перфорационные отверстия эксплуатационной колонны до достижения заданного интервала доставки оптико-волоконного кабеля, после чего в эксплуатационную колонну скважины спускают насос на колонне НКТ, оснащенной снизу перфорированным хвостовиком, до заданного интервала.
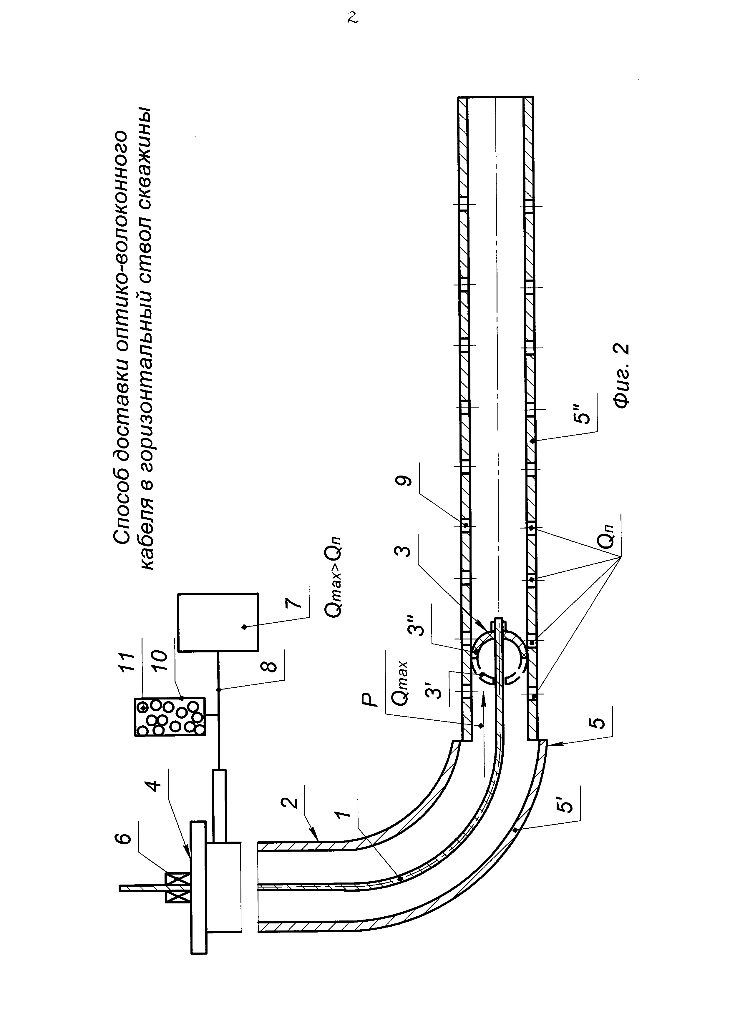
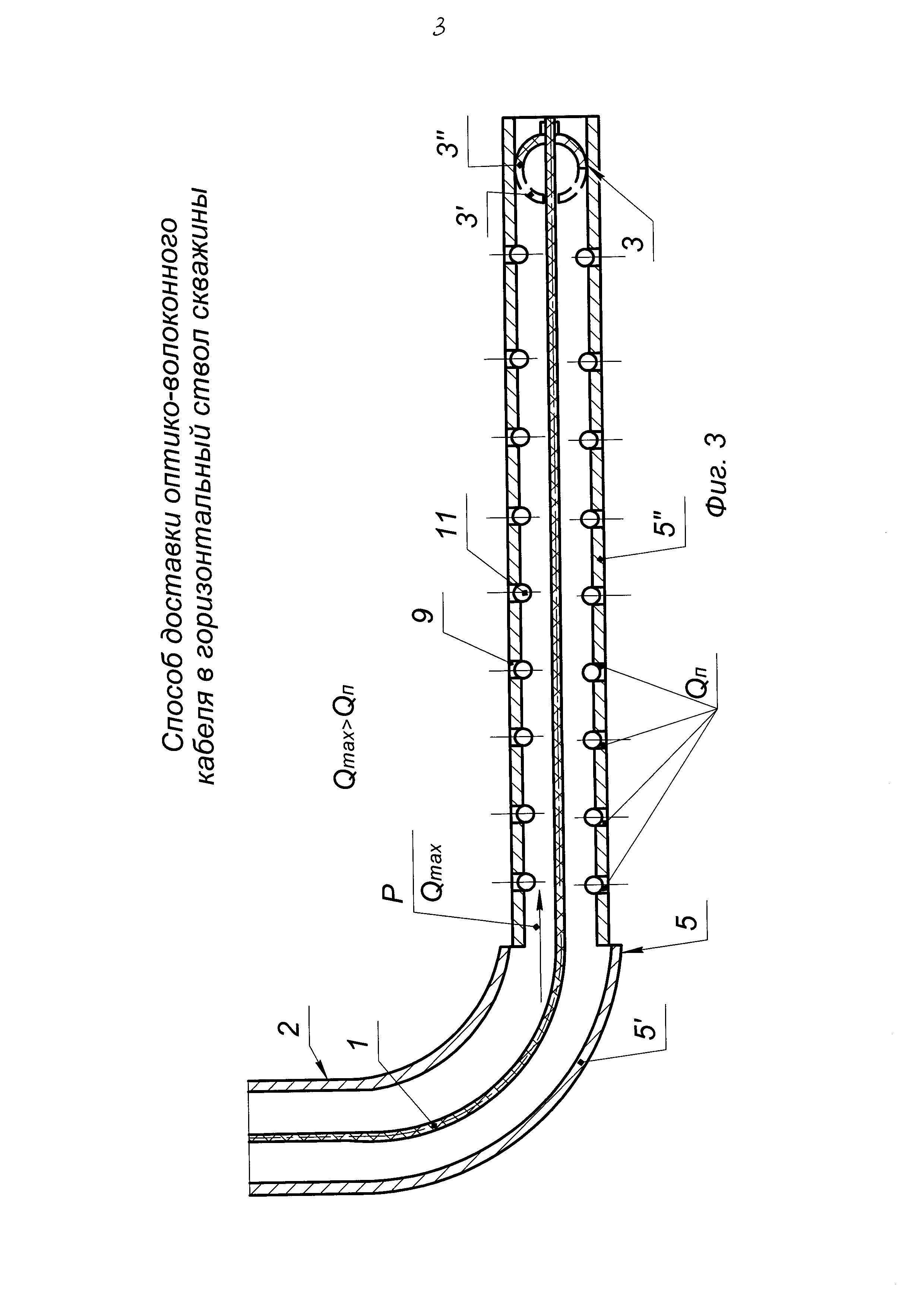
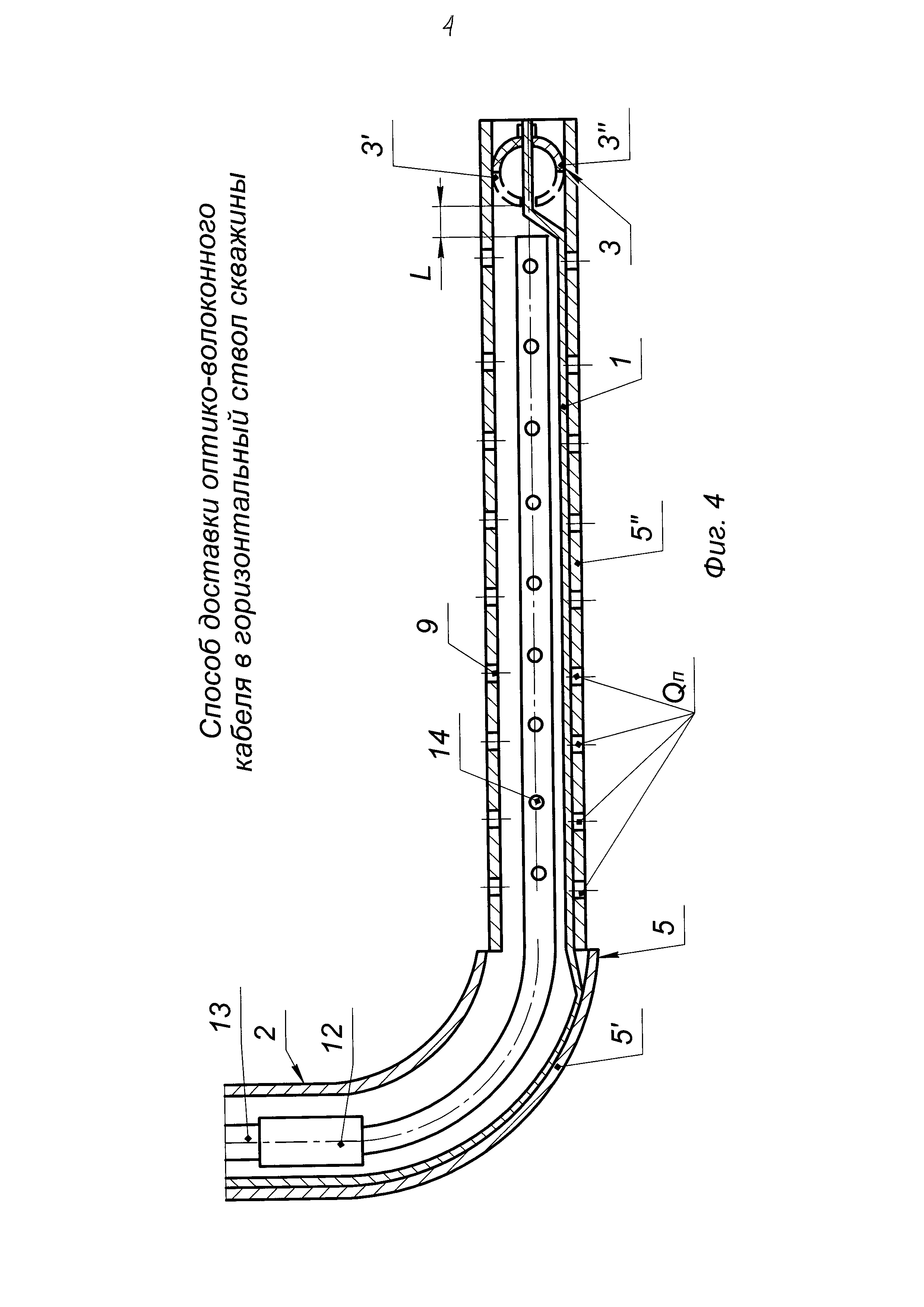
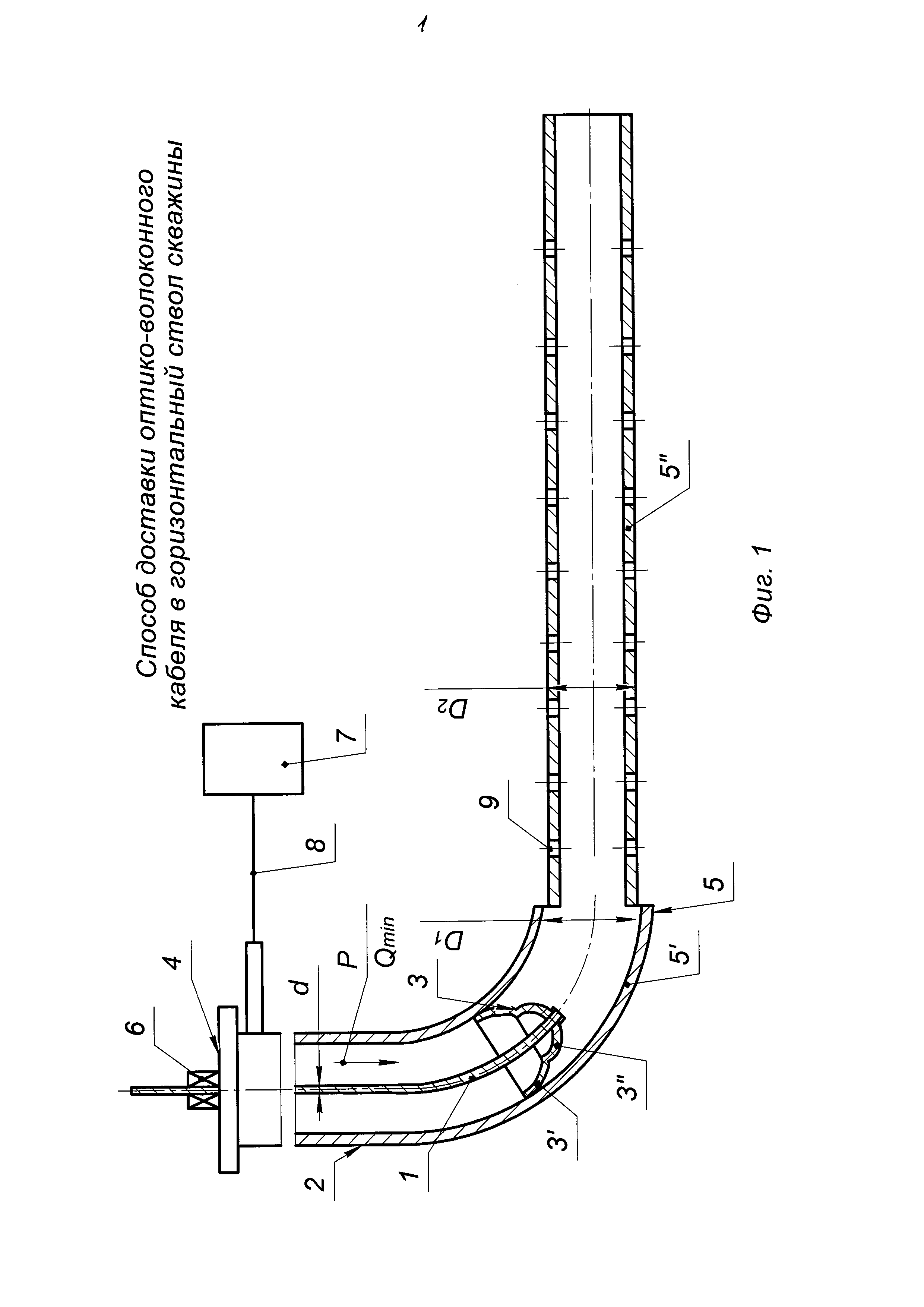
Предложение относится к нефтегазодобывающей промышленности и может найти применение при доставке оборудования в горизонтальный ствол скважины. Известен способ доставки оборудования в требуемый интервал скважины (патент RU №2352753, МПК Е21В 23/08, опубл. 20.04.2009 г., бюл. №11), включающий размещение и спуск оборудования на проволоке или канате, или грузонесущем капиллярном трубопроводе, или геофизическом кабеле по непрерывному трубопроводу меньшего, чем колонна насосно-компрессорных труб (НКТ), диаметра, закрепленному на наружной поверхности колонны НКТ. Непрерывный трубопровод спускают совместно с колонной НКТ, а перемещение оборудования в непрерывном трубопроводе осуществляют за счет гидродинамического напора подаваемых в непрерывный трубопровод жидкости или газа. Недостатками данного способа являются: - во-первых, невозможность оставить в скважине непрерывный трубопровод с оптико-волоконным кабелем, например, для контроля за температурным режимом работы скважины, из-за неразрывности связи колонны НКТ и непрерывного трубопровода, закрепленного на колонне НКТ, поэтому при необходимости перемещения или подъема из скважины одного из элементов, например колонны НКТ, неизбежно приходится перемещать или поднимать из скважины второй элемент - непрерывный трубопровод; - во-вторых, низкая надежность реализации при большой кривизне и/или наличии сужения в горизонтальном или наклонном стволе скважины, при совместном спуске колонны НКТ и непрерывного трубопровода кратно увеличивается вероятность заклинивания спускаемого оборудования; - в-третьих, большая продолжительность работ, связанная с постоянным одновременным спуском непрерывного трубопровода и колонны НКТ. Наиболее близким по технической сущности является способ доставки оборудования в горизонтальный или наклонный ствол скважины (патент RU №2459926, МПК Е21В 23/08, опубл. 27.08.2012 г., бюл. №24), включающий размещение и спуск оптико-волоконного кабеля в непрерывном трубопроводе меньшего, чем колонна НКТ, диаметра и совместный спуск непрерывного трубопровода и колонны НКТ в эксплуатационную колонну. При этом нижний конец непрерывного трубопровода соединяют с насадкой герметичным неразъемным в скважинных условиях соединением, колонну НКТ соединяют с насадкой разъемным соединением. Проталкивают колонну НКТ по эксплуатационной колонне горизонтального или наклонного ствола скважины. Посредством насадки протягивают непрерывный трубопровод, отсоединяют разъемное соединение и поднимают из скважины колонну НКТ. Снабжают колонну НКТ глубинным насосом и спускают в скважину параллельно непрерывному трубопроводу, при этом колонна НКТ с глубинным насосом и оптико-волоконный кабель в непрерывном трубопроводе размещены в скважине независимо друг от друга. Недостатками реализации способа являются: - во-первых, низкая надежность, связанная с необходимостью отсоединения НКТ от насадки в скважине, в случае неотсоединения - невозможность подъема колонны НКТ на поверхность и проведение повторных работ. Кроме того, возможно преждевременное отсоединение колонны НКТ от наконечника при совместном проталкивании колонны НКТ и непрерывного трубопровода при большой кривизне или наличии сужения в эксплуатационной колонне скважины; - во-вторых, низкая эффективность реализации способа при совместном проталкивании колонны НКТ и непрерывного трубопровода (колонны гибких труб) при большой кривизне или наличии сужения в эксплуатационной колонне (комбинированная колонна, обсаженная эксплуатационными колоннами разных диаметров) горизонтального или наклонного ствола скважины ввиду того, что непрерывный трубопровод и колонна НКТ снизу жестко присоединены к наконечнику, а это увеличивает как жесткость конструкции, так и габаритные размеры конструкции относительно проходного сечения эксплуатационной колонны скважины, поскольку концы непрерывного трубопровода и колонны НКТ соединены в насадке эксцентрично, поэтому расстояние между осями колонн НКТ и непрерывного трубопровода остается постоянным, что увеличивает вероятность заклинивания и повреждения оборудования в комбинированной эксплуатационной колонне горизонтального ствола скважины; - в-третьих, большая продолжительность работ, связанная с одновременным спуском непрерывного трубопровода и колонны НКТ, а также проведением дополнительных работ, связанных с необходимостью расстыковки разъемного соединения и подъемом колонны НКТ из скважины, снабжением колонны НКТ эксплуатационным оборудованием (глубинным насосом) и повторным спуском колонны НКТ с эксплуатационным оборудованием (глубинным насосом) в скважину параллельно непрерывному трубопроводу. Техническими задачами предложения являются повышение надежности реализации способа и эффективности спуска непрерывного трубопровода с запасованным в него оптико-волоконным кабелем и колонны НКТ в эксплуатационную колонну горизонтального ствола скважины, сокращение продолжительности работ. Поставленные технические задачи решаются способом доставки оптико-волоконного кабеля в горизонтальный ствол скважины, включающим размещение оптико-волоконного кабеля в непрерывном трубопроводе, оснащенном на нижнем конце насадкой неразъемным в скважинных условиях соединением, спуск в эксплуатационную колонну горизонтального ствола скважины непрерывного трубопровода и колонны насоно-компрессорных труб-НКТ, эксплуатацию в скважине колонны НКТ с насосом и оптико-волоконного кабеля независимо друг от друга. Новым является то, что неразъемная насадка выполнена в виде ступенчатой уплотнительной пробки, состоящей из самоуплотняющихся манжет, не пропускающих сверху вниз, ступенчатую уплотнительную пробку размещают в эксплуатационной колонне скважины и под действием гидравлического давления с расходом 4,5 л/с проталкивают до начала поглощения технологической жидкости перфорационными отверстиями эксплуатационной колонны, увеличивают расход технологической жидкости до 19,6 л/с и перемещают ступенчатую уплотнительную пробку с непрерывным трубопроводом до заданного интервала, при отсутствии перемещения ступенчатой уплотнительной пробки производят совместную закачку технологической жидкости с уплотняющими шариками, при этом в процессе перемещения уплотнительной пробки с непрерывным трубопроводом уплотнительные шарики герметизируют перфорационные отверстия эксплуатационной колонны до достижения заданного интервала доставки оптико-волоконного кабеля, после чего в эксплуатационную колонну скважины спускают насос на колонне НКТ, оснащенной снизу перфорированным хвостовиком, до заданного интервала. На фиг. 1-4 схематично изображен предлагаемый способ доставки оптико-волоконного кабеля в горизонтальный ствол скважины. Перед реализацией способа в скважинных условиях в специализированном цехе оптико-волоконный кабель запасовывают в непрерывный трубопровод 1, например оптико-волоконный кабель диаметром 11 мм - в непрерывный трубопровод 1, выполненный из колонны гибких труб диаметром 25,4 мм. Непрерывный трубопровод 1 предназначен для предохранения оптико-волоконного кабеля от механических повреждений при проведении спуско-подъемных операций с колонной труб в процессе эксплуатации и ремонта скважины 2. Неразъемную насадку на нижнем конце непрерывного трубопровода 1 выполняют в виде ступенчатой уплотнительной пробки 3. Ступенчатая уплотнительная пробка 3 состоит из самоуплотняющихся манжет, не пропускающих сверху вниз, причем количество самоуплотняющихся манжет ступенчатой уплотнительной пробки соответствует количеству типоразмеров диаметров колонн труб (эксплуатационных колонн), которыми обсажена скважина 2. Рассмотрим на примере скважины НГДУ «Нурлатнефть». Длина скважины 2 (см. фиг. 1) от устья до забоя равна 1488 м. Скважина 2 обсажена ступенчатой (комбинированной) эксплуатационной колонной от устья колонной труб диаметром 245⋅12 мм и далее до забоя (в горизонтальном стволе скважины 2) колонной труб диаметром 168⋅9 мм. Таким образом, внутренний диаметр колонны труб D1=245 мм-(12 мм⋅2)=221 мм, а внутренний диаметр колонны труб D2=168 мм-(9 мм⋅2)=150 мм. Так как скважина 2 обсажена двухступенчатой эксплуатационной колонной, то и ступенчатую уплотнительную пробку 3 выполняют двухступенчатой, состоящей из двух самоуплотняющихся манжет 3' и 3ʺ. По центру ступенчатой уплотнительной пробки 3 выполняют сквозное отверстие (на фиг. 1-4 не показано), продевают через сквозное отверстие оптико-волоконный кабель и фиксируют шплинтом неразъемное соединение. На устье 4 (см. фиг. 1) скважины 2 устанавливают ступенчатую уплотнительную пробку 3, соединенную неразъемным соединением с нижним концом непрерывного трубопровода 1, в эксплуатационную колонну 5, которая выполнена комбинированной, состоящей из эксплуатационных колонн 5' и 5ʺ. Ступенчатую уплотнительную пробку 3 устанавливают в эксплуатационную колонну 5' с внутренним диаметром D1=221 мм, при этом самоуплотняющаяся манжета 3' ступенчатой уплотнительной пробки 3 имеет такой же диаметр, равный 221 мм. Герметизируют оптико-волоконный кабель 1 на устье 4 скважины 2 с помощью устьевого сальника 6 (см. фиг. 1). По эксплуатационной колонне 5' скважины 2 с устья под действием гидравлического давления, создаваемого закачкой технологической жидкости насосом 7 через нагнетательную линию 8 с расходом 4,5 л/с, проталкивают ступенчатую уплотнительную пробку 3, при этом работает самоуплотняющаяся манжета 3', благодаря которой протягивают непрерывный трубопровод 1 в эксплуатационной колонне 5' скважины 2. Например, с помощью насосного агрегата марки ЦА-320 с расходом 4,5 л/с закачивают технологическую жидкость - сточную воду плотностью 1100 кг/м3 в эксплуатационную колонну 5' скважины 2 при загерметизированном устьевом сальнике 6, позволяющем спускаться непрерывному трубопроводу 1 в эксплуатационную колонну 5' скважины 2, сохраняя герметичность на устье 4 скважины 2. В процессе своего перемещения ступенчатая уплотнительная пробка 3 из эксплуатационной колонны 5' (см. фиг. 1) внутренним диаметром D1=221 мм попадает в эксплуатационную колонну 5ʺ внутренним диаметром D2=150 мм, при этом самоуплотняющаяся манжета 3' ступенчатой уплотнительной пробки 3 сжимается внутри эксплуатационной колонны 5ʺ скважины 2 и начинает работать самоуплотняющаяся манжета 3ʺ ступенчатой уплотнительной пробки 3, которая не пропускает жидкость сверху вниз. Под действием гидравлического давления проталкивают ступенчатую уплотнительную пробку 3 посредством самоуплотняющейся манжеты 3ʺ и протягивают непрерывный трубопровод 1 в эксплуатационной колонне 5ʺ горизонтального ствола скважины 2. Протягивают непрерывный трубопровод 1 в эксплуатационной колонне 5ʺ скважины 2 с помощью самоуплотняющейся манжеты 3ʺ ступенчатой уплотнительной пробки 3 до начала поглощения технологической жидкости перфорационными отверстиями 9 эксплуатационной колонны в горизонтальном стволе скважины 2. После начала поглощения технологической жидкости снижается или прекращается процесс перемещения ступенчатой уплотнительной пробки 3 в эксплуатационной колонне 5ʺ горизонтального ствола скважины 2 в связи с тем, что технологическая жидкость постепенно «уходит» в пласт (на фиг. 1-4 не показано) через перфорационные отверстия 9 (см. фиг. 2) (по мере их открытия) эксплуатационной колонны 5ʺ в горизонтальном стволе скважины 2, что визуально отразится замедлением спуска непрерывного трубопровода 1 в эксплуатационную колонну 5ʺ горизонтального ствола скважины 2 на устье 4 скважины 2. Увеличивают расход технологической жидкости, закачиваемой насосом 7 (см. фиг. 2), до максимального значения Qmax=19,6 л/с, обеспечивающего перемещение уплотнительной пробки 3 с непрерывным трубопроводом 1 до заданного интервала в эксплуатационной колонне 5 горизонтального ствола скважины 2, при условии выполнения неравенства: где Qп - приемистость перфорационных отверстий, например Qп=15 л/с. В тот момент, когда вся технологическая жидкость будет «уходить» в пласт через перфорационные отверстия 9 эксплуатационной колонны 5ʺ в горизонтальном стволе скважины 2, т.е. нарушится условие неравенства (1), уплотнительная пробка 3 остановится, что визуально отразится неподвижным состоянием непрерывного трубопровода 1 на устье 4 скважины 2. Например, ступенчатая уплотнительная пробка 3 остановилась в интервале 1020 м, не достигнув заданного интервала доставки непрерывного трубопровода 1 с запасованным в него оптико-волоконным кабелем, например забоя скважины 2 в интервале 1488 м. Далее останавливают закачку технологической жидкости, т.е. отключают насос 7. На нагнетательной линии 8 насоса 7 устанавливают контейнер 10 с уплотняющими шариками 11. Возобновляют закачку технологической жидкости насосом 7, т.е. запускают в работу насос 7. Поток технологической жидкости доставляет уплотнительные шарики 11 из контейнера 10 в эксплуатационную колонну 5 горизонтального ствола скважины 2. В процессе перемещения ступенчатой уплотнительной пробки 3 с непрерывным трубопроводом 1 уплотнительные шарики 11 герметизируют перфорационные отверстия 9 (см. фиг. 3) в эксплуатационной колонне 5ʺ в горизонтальном стволе скважины 2, находящиеся в ней со стороны устья 4 скважины 2. Шарики 11 имеют диаметр на 1-2 мм больше, чем диаметр перфорационных отверстий 9. Например, при диаметре перфорационных отверстий 9, равном 10 мм, диаметр шариков 11 равен 12 мм. В процессе закачки скорость перемещения ступенчатой уплотнительной пробки 3 с непрерывным трубопроводом 1 не превышает 1 м/с, которая регулируется изменением расхода технологической жидкости от 4,5 до 19,6 л/с, чтобы соблюдалось условие неравенства (1). После достижения заданного интервала (забоя скважины 2 в интервале 1488 м) доставку непрерывного трубопровода 1 с запасованным в него оптико-волоконным кабелем и закачку технологической жидкости с уплотнительными шариками прекращают. Разгерметизируют устье 4 (см. фиг. 2 и 4), демонтируют устьевой сальник 6 скважины 2 и в эксплуатационную колонну 5 скважины 2 спускают насос 12 до заданного интервала на колонне НКТ 13, оснащенной снизу перфорированным хвостовиком 14. Например, электроцентробежный насос наружным диаметром 105 мм спускают в эксплуатационную колонну 5 горизонтального ствола скважины 2 на колонне НКТ диаметром 73 мм с перфорированным отверстиями хвостовиком 14, собранным из колонны НКТ диаметром 60 мм. Насос размещают в интервале 670 м от устья, при этом нижний конец перфорированного хвостовика 14 находится от ступенчатой уплотнительной пробки 3 на расстоянии L, например, равном 10 м, что не позволяет нижнему концу перфорированного хвостовика 10 взаимодействовать с ступенчатой уплотнительной пробкой 3 с целью исключения ее повреждения. Повышается надежность реализации способа, так как отсутствует необходимость отсоединения колонны НКТ от насадки после доставки в скважину оптико-волоконного кабеля, запасованного внутри непрерывного трубопровода, а также исключаются риск преждевременного отсоединения и проведение связанных с этим повторных работ. Спуск непрерывного трубопровода и колонны НКТ осуществляют последовательно, а не одновременно, как описано в прототипе, так как в скважину сначала внутри непрерывного трубопровода доставляется оборудование (оптико-волоконный кабель), а затем в эксплуатационную колонну горизонтального ствола скважины по нижней стенке, на которой находится непрерывный трубопровод, спускается колонна НКТ с насосом. В связи с этим отсутствует необходимость проталкивания одной колонны другой, что исключает возможность заклинивания и повреждения оборудования в эксплуатационной колонне горизонтального ствола скважины. Кроме того, выполнение ступенчатой уплотнительной пробки в виде самоуплотняющихся манжет, не пропускающих сверху вниз, количество которых зависит от типоразмеров диаметров комбинированной эксплуатационной колонны, которой обсажена скважина, позволяет исключить контакт непрерывного трубопровода со стенками скважины. Все это позволяет повысить эффективность реализации способа. Сокращается продолжительность работ, исключаются одновременный спуск двух колонн, а также проведение дополнительных работ, связанных с необходимостью расстыковки разъемного соединения и подъемом колонны НКТ из скважины, снабжением колонны НКТ эксплуатационным оборудованием (глубинным насосом) и повторным спуском колонны НКТ с эксплуатационным оборудованием (глубинным насосом). Запускают скважину 2 в эксплуатацию и притоком жидкости из пласта (на фиг. 1-4 не показан) удаляют уплотнительные шарики 11 из перфорационных отверстий 9 (см. фиг. 4) эксплуатационной колонны 5ʺ горизонтального ствола скважины 2. Предлагаемый способ доставки оптико-волоконного кабеля в горизонтальный ствол скважины позволяет: - повысить надежность реализации способа; - повысить эффективность реализации способа; - сократить продолжительность работ.