патент
№ RU 2235993
МПК G01N25/72

СПОСОБ АКТИВНОГО ТЕПЛОВОГО НЕРАЗРУШАЮЩЕГО КОНТРОЛЯ КАЧЕСТВА ОБЪЕКТА

Авторы:
Баженов Б.Н. Чумаков А.Г. Шутов А.Н.
Все (4)
Номер заявки
2003112053/28
Дата подачи заявки
25.04.2003
Опубликовано
10.09.2004
Страна
RU
Как управлять
интеллектуальной собственностью
Чертежи 
2
Реферат

[30]

Изобретение относится к активному тепловому неразрушающему контролю качества изделий и может быть использовано для обнаружения внутренних дефектов в изделиях типа пластин, например, в лопатках авиационных газотурбинных двигателей. Способ включает проведение тепловизионной съемки поверхности объекта, измерение интенсивности излучения объекта в инфракрасном спектре, обработку результатов измерений и оценку наличия дефектов. При этом тепловизионную съемку поверхности объекта ведут в направлении, не совпадающем с вектором теплового потока. Интенсивность излучения объекта измеряют на нестационарном режиме, а обработку результатов измерений проводят на регулярном тепловом режиме путем расчета градиента логарифма интенсивности излучения в каждой точке поверхности. Изобретение позволяет повысить достоверность результатов контроля путем уменьшения ошибки измерения. 3 ил.

[31]

Формула изобретения

Способ активного теплового неразрушающего контроля качества объекта, включающий проведение тепловизионной съемки поверхности объекта, измерение интенсивности излучения объекта в инфракрасном спектре, обработку результатов измерений и оценку наличия дефектов, отличающийся тем, что тепловизионную съемку поверхности объекта ведут в направлении, не совпадающем с вектором теплового потока, интенсивность излучения объекта измеряют на нестационарном режиме, а обработку результатов измерений проводят на регулярном тепловом режиме путем расчета градиента логарифма интенсивности излучения в каждой точке поверхности, причем оценку наличия дефектов осуществляют по величине производной от градиента логарифма интенсивности излучения по времени.

Описание

[1]

Изобретение относится к активному тепловому неразрушающему контролю качества изделий и может быть использовано для обнаружения внутренних дефектов в изделиях типа пластин, например, в лопатках авиационных газотурбинных двигателей.

[2]

Известен способ теплового неразрушающего контроля качества металлических деталей, включающий нагрев детали путем пропускания детали в ее продольном направлении через индукционную катушку, сканирование поверхности детали инфракрасной камерой поперек поверхности движущейся детали непосредственно после индукционного нагрева и оценку наличия дефектов по более низкой температуре поверхности на участках, примыкающих к трещинам, по сравнению с остальной частью поверхности детали (см. патент SU №1838779, Кл. G 01 N 25/72, опубл. 30.08.93).

[3]

Недостаток данного способа заключается в том, что из-за различий по величине коэффициента излучения на поверхности детали результат измерения может иметь значительную погрешность, что неизбежно приводит к ошибке в принятии решения о степени годности детали.

[4]

Наиболее близким к предложенному способу является способ теплового неразрушающего контроля качества изделия, включающий нагрев изделия в центре его симметрии, его охлаждение по периферии, сканирование тепловизором теплового поля поверхности изделия, по которому определяют дефекты изделия (см. авторское свидетельство СССР №1538107, Кл. G 01 N 25/72, опубл. 23.01.90).

[5]

Недостаток заключается в том, что предлагаемый способ предназначен лишь для симметричных изделий, что исключает его применение для деталей со сложной конфигурацией, кроме того, из-за различий в коэффициенте излучательной способности поверхности изделия могут иметь место дополнительные погрешности, приводящие к недостоверному результату.

[6]

Задача изобретения - повышение достоверности результатов контроля путем уменьшения ошибки измерения.

[7]

Указанный технический результат достигается тем, что в способе активного теплового неразрушающего контроля качества объекта, включающем проведение тепловизионной съемки поверхности объекта, измерение интенсивности излучения объекта в инфракрасном спектре, обработку результатов измерений и оценку наличия дефектов, согласно изобретению тепловизионную съемку поверхности объекта ведут в направлении, не совпадающем с вектором теплового потока, интенсивность излучения объекта измеряют на нестационарном режиме, а обработку результатов измерений проводят на регулярном тепловом режиме путем расчета градиента логарифма интенсивности излучения в каждой точке поверхности, причем оценку наличия дефектов осуществляют по величине производной от градиента логарифма интенсивности излучения по времени.

[8]

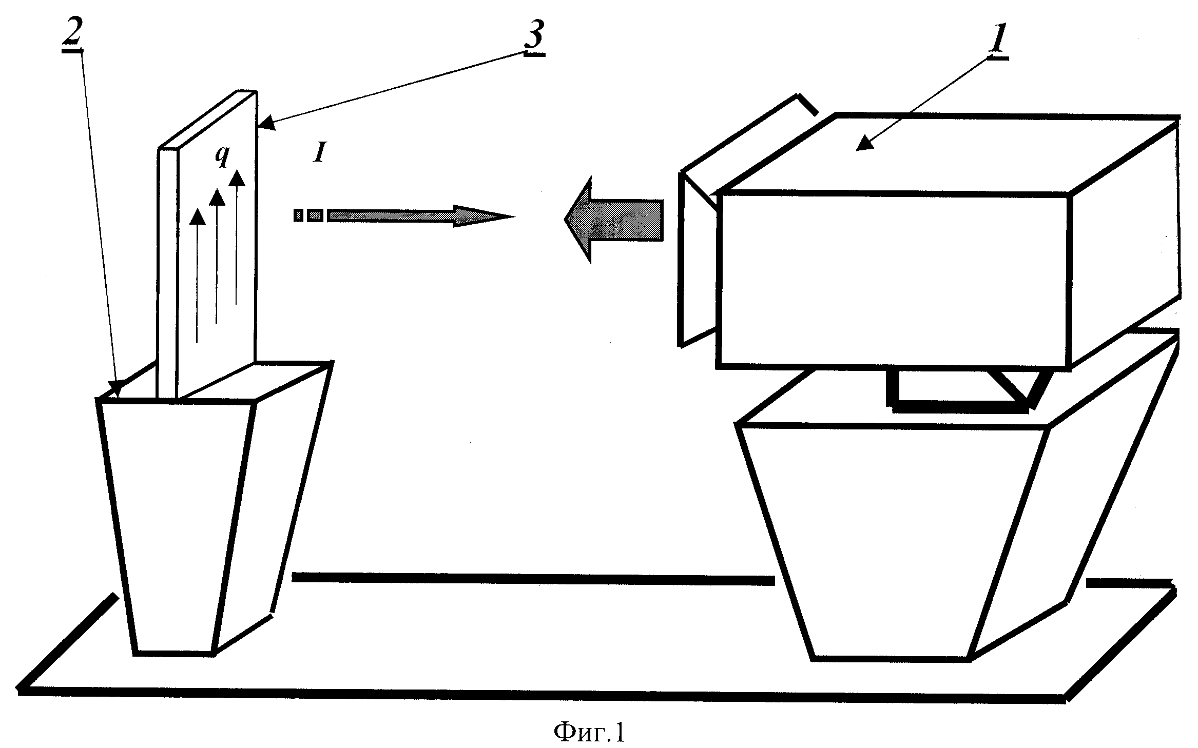
На фиг.1 изображена схема устройства, реализующего предлагаемый способ;

[9]

на фиг.2 представлены исходные теплограммы, последовательно записанные в память компьютера;

[10]

на фиг.3 представлен результат обработки исходной теплограммы по предлагаемому способу.

[11]

Устройство для реализации предложенного способа содержит регистратор инфракрасного излучения - тепловизор 1, платформу 2 с омическим нагревателем, установленный на платформе объект исследования - лопатку турбины 3 с дефектным местом 4.

[12]

Условные обозначения на чертеже:

[13]

q - вектор теплового потока;

[14]

I - излучение от объекта;

[15]

← - направление тепловизионной съемки объекта.

[16]

Реализация способа рассмотрена на примере лопатки турбины авиационного двигателя.

[17]

Способ реализуется следующим образом.

[18]

С помощью омического нагревателя прогревают платформу 2 до выхода на стационарный тепловой режим. Включают тепловизор 1 в режим съемки и устанавливают исследуемый объект - лопатку 3 на платформу 2. Производят тепловизионную съемку лопатки 3 в перпендикулярном направлении по отношению к вектору теплового потока по боковой стенке лопатки и измеряют интенсивность излучения на нестационарном режиме, т.е. во время прогрева лопатки до достижения стационарного теплового режима. При таком способе прогрева лопатки процесс распространения тепла в лопатке 3 (проверяемом объекте) растягивается по времени, что позволяет получить большее количество информации по сравнению со схемами одностороннего или двустороннего активного теплового неразрушающего контроля (АТНК), когда вектор теплового потока и направление тепловизионной съемки соосны. В свою очередь, увеличение количества информации позволяет уменьшить погрешность обработки результатов испытаний.

[19]

Данные измерений интенсивности излучения записывают в виде тепловизионного фильма в память компьютера как последовательность теплограмм лопатки, отснятых в последовательные промежутки времени. Съемку фильма заканчивают по достижению стационарного теплового режима лопатки 3.

[20]

Затем проводят первичную обработку результатов измерений и вторичную обработку с целью выявления дефектов. Первичная обработка измерений заключается в определении интервала времени, в котором имеет место регулярный тепловой режим контролируемого объекта (интервал времени, в котором все точки объекта изменяют свою температуру по логарифмическому закону) и вычислении в каждой точке лопатки (пикселе) градиента логарифма интенсивности по формуле:

[21]

G=d(lnI)/dx

[22]

где I - спектральная интенсивность излучения,

[23]

х - текущая координата.

[24]

В процессе вторичной обработки вычисляется производная по времени от градиента интенсивности (dG/dt),

[25]

где t - текущее время.

[26]

При величинах производной по времени, равной нулю, соответствующее место на лопатке признается дефектным - позиция 4 на фиг.3. (С физической точки зрения указанный эффект объясняется изменением теплофизических характеристик материала в месте наличия дефекта).

[27]

При вычислении градиента логарифма интенсивности и производной от его величины по времени коэффициент излучения поверхности испытуемого объекта не влияет на конечный результат, вследствие чего повышается точность измерения и достоверность определения дефекта.

[28]

В данном примере угол между вектором теплового потока и направлением тепловизионной съемки поверхности лопатки составляет 90 градусов. Возможен диапазон указанного угла от 70 до 100°, при выходе за указанный диапазон возрастает погрешность измерений, что приводит к снижению достоверности результатов контроля.

[29]

В рассмотренном примере изменение температуры исследуемой поверхности лопатки 3 осуществляют нагревом, однако, возможно изменять температуру поверхности контролируемого объекта его охлаждением.

Как компенсировать расходы
на инновационную разработку
Похожие патенты