патент
№ RU 2718624
МПК G08B17/10

Счетчик газовый бытовой катастрофоупреждающий

Авторы:
Скопин Павел Дмитриевич
Номер заявки
2017143931
Дата подачи заявки
15.12.2017
Опубликовано
10.04.2020
Страна
RU
Как управлять
интеллектуальной собственностью
Чертежи 
1
Реферат

Изобретение относится к области контроля параметров газовой среды. Технический результат направлен на повышение уровня безопасности жизнедеятельности при эксплуатации газоиспользующего оборудования. Счетчик газовый бытовой катастрофоупреждающий, в корпусе которого установлены стандартный блок измерения и индикации, а также отсекающее газ устройство, выполненное в виде электромагнитного клапана и установленное на входе стандартного блока измерения и индикации, и устройство управления, в состав которого входит микроконтроллер, встроенный датчик газа и беспроводные внешние датчики газа и дыма для контроля помещения, транзисторные ключи, один из которых предназначен для подключения встроенного датчика газа к микроконтроллеру, модуль свето-звукового оповещения, модуль GSM, модуль радиоприема с частотой 433 МГц, предназначенный для приема сигналов от беспроводных датчиков газа и дыма и передачи связанному с ним микроконтроллеру. 7 з.п. ф-лы, 2 ил.

Формула изобретения

1. Счетчик газовый бытовой катастрофоупреждающий, в корпусе которого установлены стандартный блок измерения и индикации, а также отсекающее газ устройство, выполненное в виде электромагнитного клапана и установленное на входе стандартного блока измерения и индикации, и устройство управления, в состав которого входит микроконтроллер, встроенный датчик газа и беспроводные внешние датчики газа и дыма для контроля помещения, транзисторные ключи, один из которых предназначен для подключения встроенного датчика газа к микроконтроллеру, модуль свето-звукового оповещения, модуль GSM, модуль радиоприема с частотой 433 МГц, предназначенный для приема сигналов от беспроводных датчиков газа и дыма и передачи связанному с ним микроконтроллеру, выполненному с возможностью циклических измерений с постоянным контролем допустимых значений сигналов встроенного газа и беспроводных внешних датчиков газа и дыма и с обеспечением поиска кодов беспроводных внешних датчиков газа и дыма, хранимых в постоянной памяти микроконтроллера (ППЗУ), при получении от них сигналов, а по истечении интервала времени отправки значений сигналов от указанных датчиков на сервер, при этом в случае выявления превышения допустимого предела показаний значений сигналов от указанных датчиков, обеспечения перехода в состояние тревоги, при котором микроконтроллер выполнен с возможностью открытия другого транзисторного ключа, посредством которого электромагнитный клапан предназначен для закрытия газа на входе стандартного блока измерения и индикации, и активизации модуля свето-звукового оповещения, а также посылки сообщения на номера телефонов пользователей с использованием GSM модуля.

2. Устройство по п.1, отличающееся тем, что для передачи данных используется модуль подключения к мобильной сотовой сети, представляющий собой приемопередатчик с SIM-картой, который поддерживает стандарт мобильной сотовой сети GSM поколения 2G и/или поколения 3G и/или поколения 4G или любого другого поколения (далее - модуль GSM), позволяющий отправлять и получать короткие текстовые сообщения (SMS), совершать и принимать звонки, а также отправлять и получать данные по протоколу tcp/ip, а также отключать газоснабжение помещения при приеме управляющей SMS и/или команды по протоколу tcp/ip.

3. Устройство по п.1, отличающееся тем, что в качестве датчиков газов используются полупроводниковые сенсоры с чувствительным элементом на основе диоксида олова или другого вещества, позволяющие определять широкий спектр газов: углеводородные газы и угарный газ.

4. Устройство, отличающееся тем, что оно включает в свой состав беспроводной интерфейс, позволяющий получать сигнал от внешних стандартных беспроводных датчиков газов и дыма по беспроводному радиоканалу.

5. Устройство по п.1, отличающееся тем, что в процессе работы устройства с заранее заданными временными промежутками через мобильную сотовую сеть с использованием протокола tcp/ip производится отправка пакета данных, содержащих показания датчиков на заранее заданные удаленные серверы.

6. Устройство по п.1, отличающееся тем, что в процессе функционирования устройства производится непрерывный контроль параметров датчика газов для определения момента выхода показателей за допустимые пределы.

7. Устройство по п.1, отличающееся тем, что при выходе показаний датчиков за допустимые пределы или при приеме сигнала от беспроводных внешних датчиков по радиоканалу производится свето-звуковое оповещение, автоматическая отправка короткого текстового сообщения (SMS) на заранее заданные телефонные номера, отправка пакета данных на заранее заданные серверы по протоколу tcp/ip, а также выработка управляющего сигнала на электромагнитный газоотсекающий клапан, перекрывающий подачу газа.

8. Устройство по п.1, отличающееся тем, что телефонные номера для отправки SMS сообщений о превышении допустимых пределов датчиков, а также список ip адресов серверов для отсылки пакетов данных по протоколу tcp/ip задаются путем отправки SMS определенного формата на SIM карту устройства или при приеме пакета данных по протоколу tcp/ip с заранее заданным форматом.

Описание

[1]

Изобретение относится к области контроля параметров газовой среды, а также к области управления и регулирования и предназначено для определения объема потребляемого газа с прекращением подачи газа при определении наличия в воздухе помещения эксплуатации углеводородных газов, токсичных продуктов их сгорания или при приеме сигналов от беспроводных внешних датчиков, с выдачей как индивидуального свето-звукового оповещения, так и дистанционного оповещения с использованием беспроводной сотовой сети с трансляцией оповещения через SMS и сеть tcp/ip.

[2]

Область применения:

[3]

- предотвращения несчастных случаев при эксплуатации газоиспользующего оборудования квартирах и индивидуальных домах, общежитиях и гостиницах;

[4]

- контроль безопасности воздуха для человека в местах расположения газоиспользующего бытового отопительного оборудования;

[5]

- управление газоснабжением в многоквартирных домах, индивидуальных жилых строениях и на предприятиях путем дистанционного отключения в случае необходимости.

[6]

Ежегодно в России происходит большое количество несчастных случаев, связанных с использованием газового оборудования, предназначенного для отопления, нагрева воды и приготовления пищи. Это связано с тем, что неправильная эксплуатация газоиспользующего оборудования или поломка газопотребляющих устройств может привести к появлению в воздухе как углеводородного газа, поступающего к оборудованию, что чревато пожарами, отравлением и взрывами, так и к появлению ядовитых продуктов сгорания, например, угарного газа.

[7]

Эксплуатация систем автономного поквартирного отопления в многоквартирных домах и газовых котлов в индивидуальных коттеджах, требует непрерывного контроля за работой газового оборудования, поскольку в процессе эксплуатации возможен задув пламени горелки, что может привести к утечке газа с вероятностью последующего взрыва, или к нарушению газоотведения, что может привести к появлению и накоплению в жилых помещениях опасных для жизни человека продуктов сгорания газа.

[8]

Известно устройство дистанционного мониторинга работы газового оборудования и утечек бытового газа в многоквартирных домах (Патент РФ N 2486595 G08B 17/10, опубл. 27.06.2013), которое содержит газовые приборы, счетчики расхода газа, датчики загазованности, объемного потока воздуха, кислорода, масштабирующие и дифференциальные усилители, компараторы, цифроаналоговые преобразователи, задатчики минимального значения объемного потока воздуха, задатчик величины допустимого разбаланса, сумматор расхода газа, блоки временной задержки, клапаны отсечки подачи газа, элементы «ИЛИ», модем сотовой связи и квартирные радиомодемы с набором информационных входов и выходов. Устройство позволяет дистанционно проводить анализ работы газового оборудования и определять утечки газа. К достоинствам данного устройства следует отнести повышение безопасности использования природного газа в многоквартирных домах путем непрерывного дистанционного мониторинга балансов газовых потоков, утечек и продуктов сгорания с автоматическим или дистанционным прекращением подачи газа в случае возникновения недопустимых нарушений в работе газового оборудования. К недостаткам устройства следует отнести недостаточную надежность оповещения при возникновении утечек газа, что связано с последовательным соединением двух беспроводных сетей, поскольку наличие внутренней сети передачи данных от устройств первичной регистрации к радиомодему GSM приводит к снижению надежности оповещения, так как последовательное соединение сетей приводит к результирующей вероятности отказа, определяемой как произведение вероятности отказа каждой сети. Кроме того, устройство не позволяет автоматически проводить отключение подачи газа при регистрации утечки, что может приводить к несчастным случаям в момент времени от оповещения об утечки до ликвидации утечки оперативными службами.

[9]

Известно устройство для автоматического контроля метана и других горючих газов (Патент РФ N2013565 E21F 17/00, опубл. 30.05.1994), которое содержит термокаталитический мостовой датчик, в диагональ которого включен усилитель, выход последнего подключен на выпрямительный мостик, к выходу которого подключены аналоговый прибор, показывающий концентрацию метана, и преобразователь напряжения в частоту, блок управления диагностикой, компаратор предельной концентрации метана, блок звуковой сигнализации. К достоинствам данного устройства относится высокая точность определения концентрации метана, а к недостаткам - отсутствие беспроводного канала, что значительно ограничивает дистанцию оповещения, а также отсутствие возможности автоматического устранения утечки газа.

[10]

Известно устройство для определения концентрации горючих газов (Патент РФ №91762 МПК G01N 27/04, опубл. 27.02.2010), содержащее в себе узел питания, масштабирующий усилитель, аналого-цифровой преобразователь, средства цифровой обработки сигнала, средство управления исполнительными органами, подключенное к масштабирующему усилителю, и резистивный делитель напряжения (РДН), одно из плеч которого включает в себя активный чувствительный элемент, имеющий сопротивление, зависящее от концентрации горючего газа. К недостаткам данного устройства является невозможность дистанционного оповещения об утечки газа и автоматического прекращении подачи газа при регистрации утечки.

[11]

Известно устройство для измерения концентрации газа (Патент US 7242309, МПК G08B 17/10, опубл. 07.10.2007), содержащее сенсорный блок, блок управления и коммуникации и блок питания. При этом каждое устройство включает в себя нагреватель для нагрева сенсора, микроконтроллер (для управления режимом включения-выключения нагревателя) и компаратор (для сравнения измеренного значения с пороговым). Отличительной особенность данного устройства является то, что оно поддерживает связь с управляющим сервером по беспроводному каналу. К недостаткам данного устройства является то, что управляющий сервер напрямую собирает данные от измерительных устройств. Вследствие этого измерительные устройства должны быть в прямой видимости сервера. Поэтому, чтобы охватить большую территорию, необходимо увеличивать мощность передатчика, что влечет за собой увеличение потребляемой мощности и, соответственно, уменьшение времени автономной работы. В целом, это ограничивает область применения устройства. Кроме того, отсутствует возможность автоматического прекращения подачи газа при регистрации наличия газа в воздухе.

[12]

Известно устройство "сигнализатор загазованности Кенарь GD100-N" (https://t41.ru/brand/Кенарь), подключаемое соединительным проводом к электромагнитному клапану Кенарь GV-80. При срабатывании сигнализатора на электромагнитный клапан подается управляющее воздействие, которое приводит к его закрытию и прекращению газоснабжения помещения. К недостаткам данного устройства следует отнести отсутствие возможности подключения беспроводных датчиков, что не позволяет контролировать состав воздуха в жилых помещениях с поквартирным отоплением и индивидуальных жилых строениях, в которых ввод газа, кухня и котельная расположены в разных местах помещения.

[13]

Наиболее близким к описываемому является портативное интеллектуальное устройство мониторинга окружающей среды, известное из источника CN205785300U, опубликованное 23.05.2016, раскрывающего устройство для анализа параметров воздуха среды обитания человека с беспроводным оповещением, содержащее: микроконтроллер, блок питания, модуль подключения к мобильной сотовой сети, датчик газов, датчик температуры, датчик влажности, свето-звуковой оповещатель, резервный аккумулятор, причем устройство содержит в одном корпусе измерительные датчики газов, температуры, влажности, микроконтроллер, программное обеспечение которого обеспечивает непрерывную регистрацию и анализ параметров воздуха с периодической передачей пакетов информации с показаниями датчиков по протоколу tcp/ip через беспроводную мобильную сотовую сеть на заранее заданные серверы, а также с автоматической отправкой короткого текстового сообщения (SMS) на заранее заданные телефонные номера, при превышении заранее установленных значений датчиков или при отключении сетевого питания устройства. К недостаткам данного устройства следует отнести невозможность предотвращения катастрофических ситуаций при превышении концентрации газов в воздухе среды обитания человека выше установленных пределов, поскольку в данном устройстве отсутствует возможность прекращения подачи газа в помещение.

[14]

Технической задачей предлагаемого устройства является учет объема поступающего газа в помещение с непрерывной регистрацией в воздухе примесей газов с использованием как встроенных датчиков газов, так и автономных беспроводных внешних датчиков газов и дыма, с автоматическим отключением газоснабжения помещения при превышении уровня газов и дыма выше установленных пределов.

[15]

Технический результат состоит в повышении уровня безопасности жизнедеятельности при эксплуатации газоиспользующего оборудования.

[16]

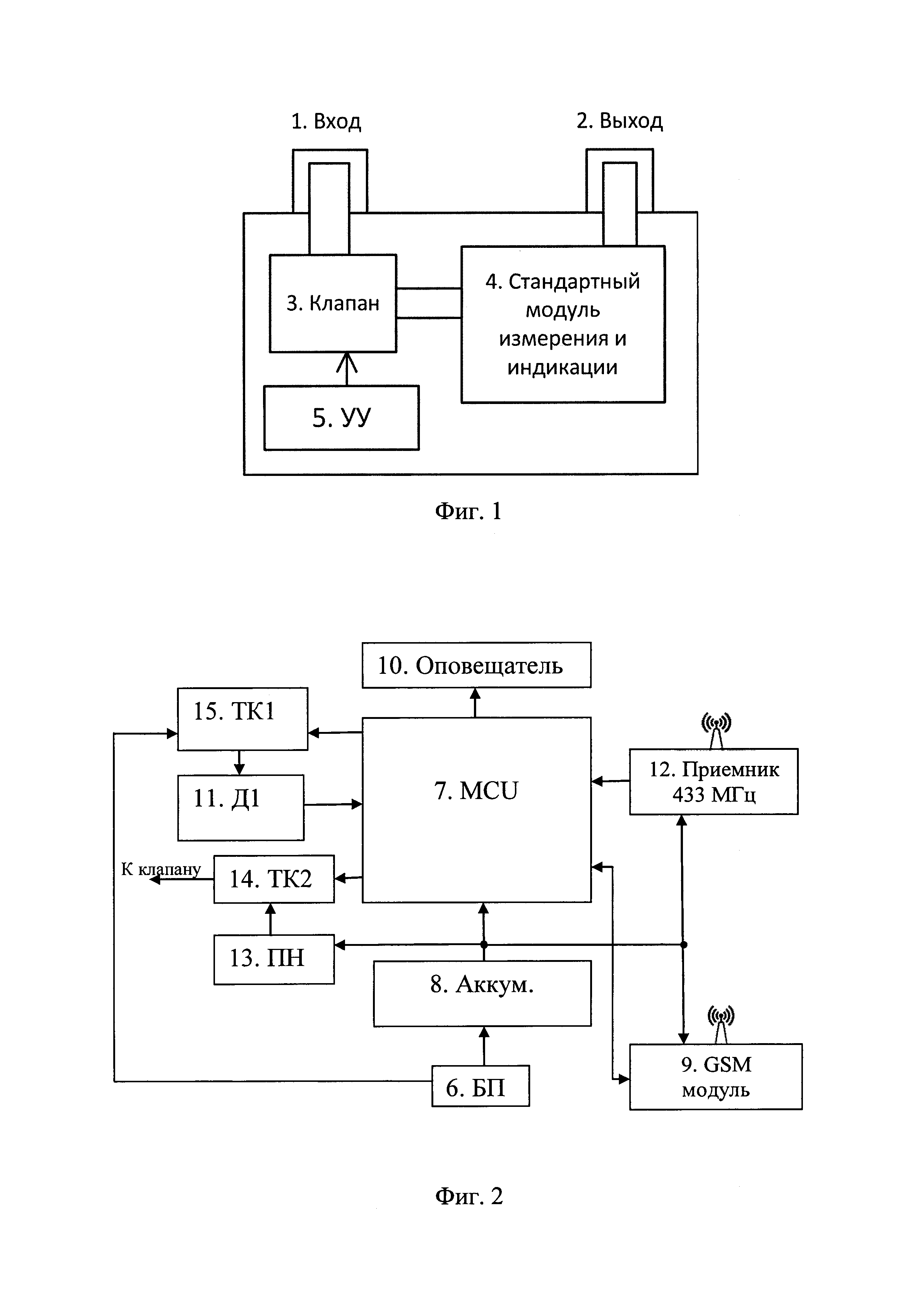
Сущность изобретения состоит в том, что используется стандартный газовый счетчик (газ подается через «1. Вход», проходит через прибор и выходит через «2. Выход» - см. фиг. 1), в состав которого включается отсекающее газ устройство, выполненное в виде электромагнитного газового клапана («3. Клапан» - фиг. 1), установленное на входе в стандартный блок измерения и индикации счетчика («4. Стандартный модуль измерения и индикации» - фиг. 1) и устройство управления (5. УУ - фиг. 1). В состав устройства управления входит блок питания, обеспечивающий питание устройства от автономного и (или) внешнего источника питания, микроконтроллер, датчик газов, транзисторный ключ, модуль GSM, модуль радиоприема с частотой 433 МГц. В процессе работы микроконтроллер непрерывно анализирует сигнал от датчика газов и сигналы от внешних беспроводных датчиков газа и дыма. При превышении установленных пределов микроконтроллер посылает управляющий сигнал на электромагнитный клапан, что приводит к его закрытию и прекращению газоснабжения помещения.

[17]

Технический результат достигается за счет того, что в состав газового счетчика включается электромагнитный клапан, установленный на вход измерителя счетчика и устройство управления, обеспечивающее анализ встроенного датчика газов, прием сигналов от внешних беспроводных датчиков и, при превышении допустимого уровня газов и дыма, обеспечивающее беспроводное оповещение, отсечку подачи газа и, как следствие, повышение уровня безопасности жизнедеятельности при эксплуатации газоиспользующего оборудования. Кроме того, устройство производит оповещение владельца жилища и (или) специальных служб, что позволяет дополнительно повысить уровень безопасности жизнедеятельности, устранить угрозу возгорания, взрыва и отравления за счет своевременного оповещения ответственных лиц.

[18]

Структурная схема устройства управления показана на фиг. 2. В состав устройства входит блок питания «6.БП»), обеспечивающий питание микроконтроллера 7.MCU и его периферии, аккумулятор («8.Аккум.»), обеспечивающий независимое питание, GSM модуль («9.GSM модуль»), свето-звуковой оповещатель («10. Оповещатель»), датчик газов («11.Д1»), приемник радиоканала 433 МГц («12. Приемник 433 МГц»), преобразователь напряжения ("13. ПН"), транзисторный ключ (14. ТК2).

[19]

Питание устройства осуществляется блоком питания «6.БП», в качестве которого может выступать любое стандартное зарядное устройство мобильного телефона, обеспечивающее преобразование сетевого напряжения в напряжение питания 3-5 Вольт. Параллельно блоку питания подключается аккумулятор («8.Аккум»), в функции которого входит автономное обеспечение энергопитания устройства при обесточивании блока питания, что позволяет с одной стороны, обеспечить бесперебойную работу устройства при неполадках питающей энергосети, с другой стороны - использовать функцию извещения пользователя при отключения питания.

[20]

Датчик газов «11.Д1» подключен, через управляемый со стороны микроконтроллера транзисторный ключ «15.ТК1», что позволяет управлять включением и отключением датчика газов программным обеспечением микроконтроллера. Сигнал датчика поступает на встроенный в микроконтроллер аналого-цифровой преобразователь. Программное обеспечение микроконтроллера обеспечивает постоянное включение датчика газов при наличии внешнего питания или кратковременное, периодическое подключение датчика газа при питании от аккумулятора или батареи. В качестве микроконтроллера может использоваться Atmega 328р, Atmega 128р, PIC16 и другие. В качестве датчика газов - полупроводниковый газовый сенсор с чувствительным элементом на основе диоксида олова, например, датчик углеводородных газов широкого спектра MQ2.

[21]

Последовательный UART интерфейс микроконтроллера подключен к GSM модулю, в качестве которого может выступать микросборка SIM800L, с установленным отсеком для SIM-карты формата microSIM, что позволяет принимать и совершать телефонные вызовы, обмениваться короткими текстовыми сообщениями и использовать мобильную сеть GSM для подключения сети интернет.

[22]

При первом включении устройства требуется отправить короткое текстовое сообщение нулевой или единичной длинны на SIM-карту GSM модуля. Программное обеспечение микроконтроллера, получив данное сообщение, выделяет из него номер телефона и сохраняет в своей энергонезависимой памяти как номер телефона для SMS оповещений. Предусматривается возможность задания дополнительных номеров путем посылки SMS сообщения определенного формата на SIM-карту устройства, что позволяет сохранить необходимое количество телефонных номеров для SMS оповещений в энергонезависимой памяти микроконтроллера. При изготовлении устройства в энергонезависимую память микроконтроллера заблаговременно заносится доменное имя сервера или его ip адрес и порт для передачи данных по протоколу tcp/ip. В дальнейшем предусматривается возможность изменения доменного имени и порта посылкой на SIM-карту устройства SMS определенного формата.

[23]

Устройство управления содержит в своем составе интерфейс радиоканала частотой 433 МГц, обеспечивающий прием информации от стандартных беспроводных датчиков углеводородов, угарного газа, дыма. В качестве интерфейса выступает микросборка приемника радиомодуля WL101-341, которая обеспечивает передачу информации в микроконтроллер по последовательному протоколу "1-wire".

[24]

В состав устройства управления включен модуль преобразования напряжения «13. ПН» (фиг. 2), в функции которого входит преобразование напряжения аккумулятора или блока питания до уровня, достаточного для управления электромагнитным клапаном. Выход модуля подключен к транзисторному ключу «14.ТК2» (фиг. 2), который управляется со стороны микроконтроллера. В качестве модуля преобразователя напряжения может использоваться микросборка МТ3608, выполняющая функции преобразователя постоянного напряжения с настраиваемым выходом до 36 В.

[25]

Модуль «10. Оповещатель» (фиг. 2) представляет собой миниатюрный звуковой динамик с параллельно подключенным светодиодом. В функции данного модуля входит задача выработки свето-звуковых оповещательных сигналов при поступлении управляющего сигнала с микроконтроллера. В качестве оповещателя может использоваться модуль пассивного зуммера KY-006.

[26]

В процессе работы микроконтроллера его программное обеспечение непрерывно анализирует показание датчика «11. Д1» (фиг. 2), сравнивая его со значением из допустимого диапазона. Кроме того, производится прием информации от радиомодуля 433 МГц с поиском кодов внешних беспроводных датчиков газов, хранимых в постоянной памяти микроконтроллера (ППЗУ). Если показание датчика «11.Д1» (фиг. 2) превышает допустимый диапазон или приходит сигнал от внешнего беспроводного датчика, код которого совпадает с кодом, хранимым в ППЗУ, устройство управления («5. УУ» - фиг. 1) переходит в состояние тревоги, что приводит к следующим действиям:

[27]

- микроконтроллером вырабатывается управляющее напряжение, что приводит к открытию транзисторного ключа «14. ТК2» (фиг. 2) и поступлению напряжения с модуля «13. ПН» на внешний стандартный газовый электромагнитный клапан, приводя к его запиранию и прекращению поступления потока газа на вход модуля « 4. Стандартный блок измерения и индикации счетчика» (Фиг. 1), и, как следствие, прекращается газоснабжение в помещении.

[28]

- активизация свето-звукового оповещателя;

[29]

- программное обеспечение микроконтроллера готовит текстовое сообщение, включающее в себя информацию о событии, и производится отправка текстового сообщения на мобильные номера, хранимые в энергонезависимой памяти микроконтроллера с использованием GSM модуля;

[30]

- микроконтроллер производит набор каждого телефонного номера и ожидает установления соединения (наличие гудков), чтобы удостовериться, что оповещения доставлены успешно;

[31]

- с использованием протокола tcp/ip осуществляется отправка пакета данных, который содержит код тревоги, номер датчика, параметры которого вышли за заданные пределы и прочую информацию.

[32]

Если показание датчика «11. Д1» (фиг. 2) не превышает допустимого предела, и если отсутствуют сигналы от внешних беспроводных датчиков, то цикл измерения повторяется. По истечении интервала времени, хранимого в энергонезависимой памяти микроконтроллера, производится отправка значений датчика на сервер по протоколу tcp/ip. Это позволяет контролировать работоспособность устройства на стороне внешнего сервера, регистрировать факт разрыва связи с устройством, а также проводить удаленный мониторинг параметров воздуха среды обитания человека.

[33]

Для расширения диапазона детектирования газового состава воздуха могут быть дополнительно к датчику «11. Д1» установлены датчики Д2, Д3 и т.д.

[34]

Если произвести звонок с мобильного телефона на SIM-карту устройства, это приводит к следующим действиям:

[35]

- микроконтроллер производит чтение сообщения «9. GSM модуля» (фиг. 2) о входящем звонке и выделяет номер телефона, с которого произошел звонок;

[36]

- микроконтроллер посылает в «9. GSM модуль» команду отклонить вызов;

[37]

- микроконтроллер готовит и отправляет текстовое сообщение SMS, которое включает в себя численные значения датчика «11. Д1».

[38]

При отправке на SIM карту устройства короткого текстового сообщения заранее заданного формата или при получении устройством команды от внешнего сервера по протоколу tcp/ip микроконтроллер производит выработку управляющего сигнала для электромагнитного клапана, что приводит к его закрытию и прекращению газоснабжения помещения. Это позволяет дистанционно управлять процессом газоснабжения, что дополнительно приводит к увеличению безопасности путем экстренного отключения газоснабжения.

[39]

В устройстве предусмотрена возможность установки дополнительного GSM модуля с SIM картой резервного оператора связи, при этом дополнительный модуль подключается параллельно основному и выполняет дублирование передачи входной и выходной информации.

[40]

В качестве электромагнитного клапана предлагается использовать такие устройства, как Btcino L4525, газовый клапан отсекатель Кенарь GV-80, газовый клапан Sapsan V-1 и другие.

Как компенсировать расходы
на инновационную разработку
Похожие патенты