патент
№ RU 2680709
МПК C12C3/00

Комплекс для первичной послеуборочной обработки хмеля

Авторы:
Доброхотов Юрий Николаевич Пушкаренко Николай Николаевич Иванщиков Юрий Васильевич
Все (5)
Номер заявки
2017144962
Дата подачи заявки
20.12.2017
Опубликовано
25.02.2019
Страна
RU
Как управлять
интеллектуальной собственностью
Чертежи 
2
Реферат

[30]

Изобретение относится к сельскому хозяйству и может быть использовано при первичной послеуборочной обработке хмеля, в частности при сушке и сульфитации шишек хмеля. Комплекс содержит соединенные между собой системой трубопроводов вакуум-систему с патрубком, герметичную камеру обработки шишек хмеля с устройствами для его загрузки и выгрузки, сублиматор 18, устройства для приема 1, транспортирования 2 и сушки 4, объединенные с устройствами загрузки 6 и сульфитации 7 вороха хмеля в единый технологический комплекс. При этом устройство для приема 1 выполнено с возможностью подачи вороха хмеля на устройство для транспортирования 2, перемещающее ворох хмеля через устройство для сушки 4 в устройство для его загрузки 6. Комплекс позволяет снизить энергоемкость подготовительных работ, повысить качество конечного продукта. 11 з.п. ф-лы, 2 ил.

Формула изобретения

1. Комплекс для первичной послеуборочной обработки хмеля, содержащий соединенные между собой системой трубопроводов вакуум-систему с патрубком, герметичную камеру обработки шишек хмеля с устройствами для его загрузки и выгрузки и сублиматор, отличающийся тем, что комплекс снабжен устройствами для приема, транспортирования и сушки, объединенными с устройствами загрузки и сульфитации вороха хмеля в единый технологический комплекс по первичной послеуборочной обработке хмеля, при этом устройство для приема выполнено с возможностью подачи вороха хмеля на устройство для транспортирования, перемещающее ворох хмеля через устройство для сушки в устройство для его загрузки.

2. Комплекс для первичной послеуборочной обработки хмеля по п. 1, отличающийся тем, что герметичная камера для обработки шишек хмеля выполнена в виде цельной вертикальной цилиндрической сульфитационной колонны, разделенной на два отсека, когда в одном отсеке происходит обработка шишек хмеля сернистым ангидридом, то другой отсек заполняется шишками хмеля для последующей их обработки сернистым ангидридом.

3. Комплекс для первичной послеуборочной обработки хмеля по п. 1, отличающийся тем, что сульфитационная колонна разделена на два изолированных равнообъемных отсека, имеющих одинаковые по конструкции и взаимозаменяемые донные люки.

4. Комплекс для первичной послеуборочной обработки хмеля по п. 1, отличающийся тем, что имеет два бункера, первый из которых служит для приема и выравнивания влажности шишек хмеля перед сушкой, а второй - для загрузки и накопления шишек хмеля после сушки.

5. Комплекс для первичной послеуборочной обработки хмеля по п. 1, отличающийся тем, что сушка шишек хмеля осуществляется в сушильном устройстве комплекса, которое включает проходную сушильную камеру, оснащенную темными излучателями, и транспортер, рабочая поверхность ленты которого имеет гофрированное теплоотражающее покрытие, причем скорость движения ленты и мощность излучения плавно изменяемы.

6. Комплекс для первичной послеуборочной обработки хмеля по п. 1, отличающийся тем, что включает воздушный ресивер для продувки остаточной газовой смеси после сульфитации перед поворотом сульфитационной колонны на 180° для последующей выгрузки обработанных сернистым ангидридом шишек хмеля.

7. Комплекс для первичной послеуборочной обработки хмеля по п. 1, отличающийся тем, что газовая смесь в процессе сульфитации и последующей продувки пропускается через заполненный дистиллированной водой утилизатор для удаления остаточного сернистого ангидрида.

8. Комплекс для первичной послеуборочной обработки хмеля по п. 1, отличающийся тем, что верхний люк с пневмоприводом является взаимозаменяемым для обоих отсеков сульфитационной колонны.

9. Комплекс для первичной послеуборочной обработки хмеля по п. 1, отличающийся тем, что 2/3 сертификационной колонны по высоте изолированы межэтажным перекрытием.

10. Комплекс для первичной послеуборочной обработки хмеля по п. 1, отличающийся тем, что рабочие поверхности деталей, контактирующие с сернистым ангидридом, покрыты полимерной пленкой или изготовлены из полимеров.

11. Комплекс для первичной послеуборочной обработки хмеля по п. 1, отличающийся тем, что привод подвижных узлов сульфитационной колонны пневматический.

12. Комплекс для первичной послеуборочной обработки хмеля по п. 1, отличающийся тем, что содержание сернистого ангидрида в обработанных шишках хмеля контролируется сульфитометром.

Описание

[1]

Изобретение относится к сельскому хозяйству и может быть использовано преимущественно при первичной послеуборочной обработке хмеля в частности, при сушке и сульфитации шишек хмеля.

[2]

Известно устройство для послеуборочной обработки хмеля[1], которое содержит камеру с подвижным днищем, загрузочные и разгрузочные приспособления, выполненные в виде транспортеров. Камера и днище соединены шарниром и уплотнены прокладкой. Днище открывается и закрывается с помощью гидроцилиндра. К днищу с внутренней стороны прикреплена сетка, а снаружи - трубопровод для подвода рабочего агента в виде рукава. Приспособление для ворошения хмеля состоит из параллельных труб, соединенных между собой коллекторами и упругих элементов. Упругие элементы могут быть выполнены различного размера. Они закреплены на параллельных трубах в шахматном порядке с помощью патрубков, муфт и хомутов. К коллектору присоединено средство периодической подачи сжатого воздуха, содержащее трубопровод с кранами. Данное устройство имеет следующие недостатки. Действие периодически поднимающихся и растягивающихся упругих элементов способствует не ворошению, а уплотнению вороха хмеля, спуск воздуха с целью возврата упругих элементов в первоначальное положение не гарантирует разрушение сводов уплотненного вороха, что, в последующем скажется не только на качестве насыщения агентом, но и на скорости выгрузки вороха из камеры. Конструкция устройства процесс активного вентилирования и сушки делает затратным, а сульфитация шишек и их кондиционирование возможны только при наличии замкнутого объема, что конструкцией не предусмотрено. Отсутствие распределителя на загрузочном приспособлении не способствует равномерному распределению насыпной массы шишек хмеля.

[3]

Наиболее близким к предлагаемой установке по технической сущности является установка для сульфитации хмеля [2], которая состоит из цилиндрической герметичной камеры с установленными в ней вертикальными цилиндрическими перфорированными перегородками, образующими чередующиеся через один отсеки для хмеля и каналы для газовой смеси. Сублиматор установки образован двумя цилиндрами, расположенными коаксиально один к другому с образованием кольцевой полости, закрытой сверху крышкой, внутренний цилиндр имеет укрепленные в шахматном порядке по его высоте перфорированные перегородки, полости которых сообщены с кольцевой полостью, а источник газовой смеси - с последней. Данная установка также имеет ряд существенных недостатков, снижающих ее производительность, и повышающих опасность отравления обслуживающего персонала газовой смесью, содержащей сернистый ангидрид. Основным недостатком способа сульфитации хмеля и установки для ее осуществления является необходимость предварительной подсушки вороха до влажности 25…30% [2], в то время как непосредственно после сбора влажность шишек находится в пределах 78…81% [3],что возможно только при наличии сушильного устройства. Необходимость предварительной подсушки и связанные с ней дополнительные перевалочные операции повышают энерго- и трудоемкость первичной обработки хмеля, способствуют снижению количества лупулина (желтый смолоподобный порошок, покрывающий шишки хмеля и содержащий горький ароматический компонент, который придает хмелю его специфические качества) [4], ухудшая его качество и товарный вид.способ сульфитации и установка для его осуществления, представленные в качестве прототипа, представляют серьезную опасность обслуживающему персоналу и окружающей среде, т.к., после завершения процесса сульфитации остающаяся газовая смесь, содержащая сернистый ангидрид, в результате открытия днища камеры попадает в окружающее пространство (в рабочую зону обслуживающего персонала) (сернистый ангидрид - удушливый газ, тяжелее воздуха в 2,264 раза, вызывает воспаление слизистых оболочек) [5]. Обычная выдержка не способствует удалению остатков сернистого ангидрида из рабочей камеры установки. Сернистый ангидрид также попадает в окружающее пространство и в результате вакуумного отсоса газовой смеси непосредственно в процессе сульфитации. В связи с этим, отсутствие устройства для утилизации или повторного использования отработавшей газовой смеси делает установку в применении опасной. К существующим недостаткам также следует отнести и то, что в базовом способе сульфитации хмеля и установки для его осуществления качество обработки (содержание сернистого ангидрида в шишках) не подвергается инструментальному контролю, что не исключает влияние субъективного фактора на его определение. Гидравлический привод рабочих органов установки создает опасность загрязнения продукции парами и каплями его рабочей жидкости. Перед применением по назначению сернистый ангидрид из шишек хмеля должен быть удален [6], капиллярное же насыщение под глубоким вакуумом в процессе сульфитации усложняет его удаление.

[4]

Таким образом, известные устройства и установки для первичной послеуборочной обработки хмеля имеют существенные недостатки, связанные с повышенной энерго- и трудозатратностью, производственной безопасностью и обеспечением качества конечного продукта.

[5]

Цель изобретения заключается в снижении энерго- и трудозатрат процессов первичной послеуборочной обработки хмеля, повышении их безопасности и качества конечного продукта в виде сульфитированного вороха хмеля.

[6]

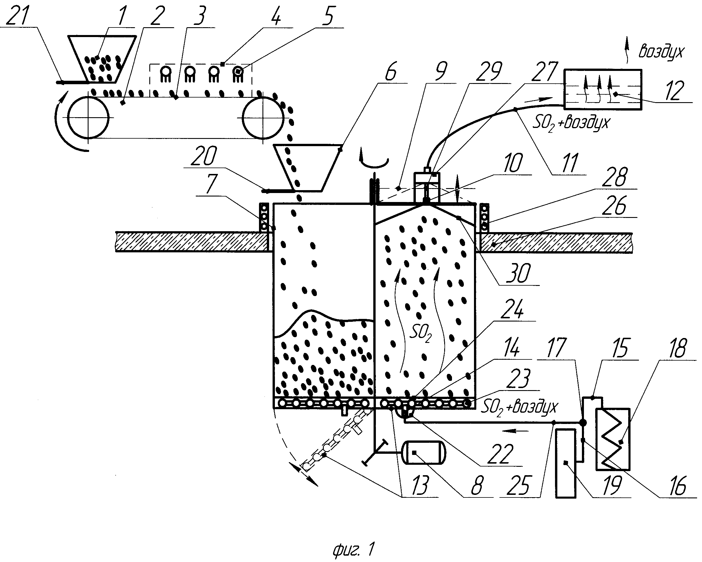
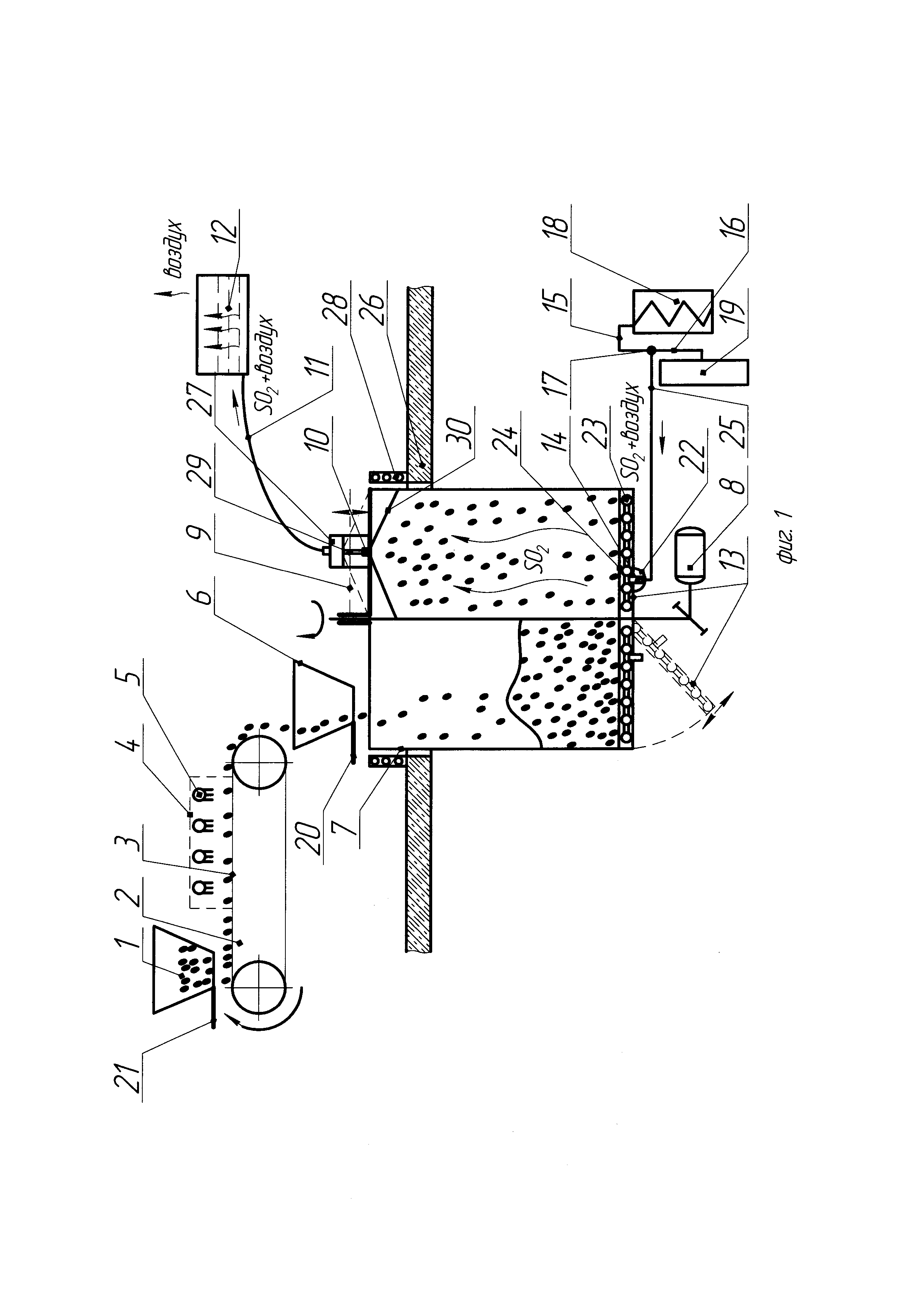
На фиг. 1 показан предлагаемый комплекс для первичной послеуборочной обработки хмеля, где приняты следующие обозначения: 1 - бункер приемочный, 2 - транспортер ленточный, 3 - теплоотражающее покрытие ленты, 4 - камера сушильная проходная, 5 - излучатели темные, 6 - бункер загрузочный, 7 - колонна сульфитационная, 8 - мотор-редуктор, 9 - люк верхний с пневмоприводом, 10 - патрубок газоотводный, 11 - рукав отводной, 12 - утилизатор сернистого ангидрида, 13 - люк донный с пневмоприводом, 14 - патрубок газоприемный, 15 - рукав газоподводящий, 16 - рукав воздушный, 17 - кран трехходовой, 18 - сублиматор, 19 - ресивер воздушный, 20 - шибер загрузочного бункера, 21 - шибер приемного бункера, 22 - головка газоподающая, 23 - коллектор газораспределительный, 24 - сетка защитная, 25 - рукав газовоздушный, 26 - перекрытие межэтажное, 27 - сульфитометр, 28 - ограждение защитное, 29 - рукав приемный, 30 - зонд газосборный.

[7]

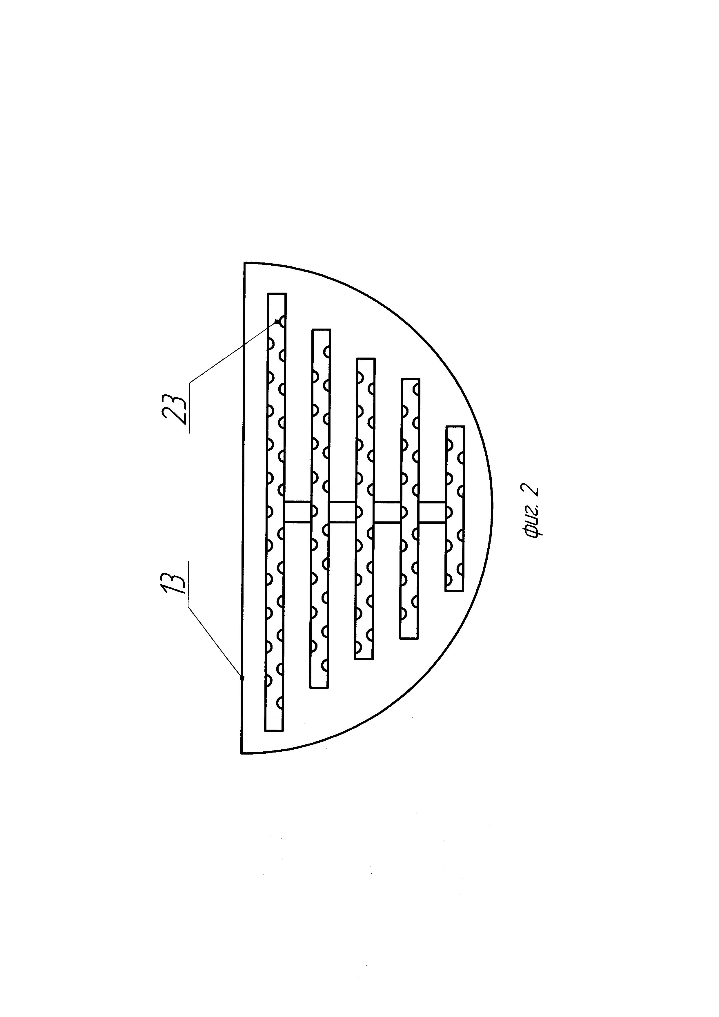
На фиг. 2 показан люк донный с пневмоприводом (вид сверху), где обозначения те же, что и на фиг. 1.

[8]

Сущность изобретения заключается в следующем (фиг 1). Устройства для приема, транспортирования, сушки и сульфитации вороха хмеля объединены в единый технологический комплекс по первичной послеуборочной обработки хмеля.

[9]

Комплекс для первичной послеуборочной обработки хмеля состоит из приемного бункера 1, который служит для приема, хранения и выравнивания влажности свежеубранных шишек хмеля. Шибер 21 приемного бункера обеспечивает подачу вороха хмеля на ленту транспортера 2. Шибер 21 также служит для регулирования толщины вороха шишек хмеля подаваемого на ленту транспортера 2. Рабочая поверхность ленты транспортера 2 имеет гофрированное теплоотражающее покрытие 3 из металлической фольги. Транспортер 2 перемещает ворох хмеля в проходную сушильную камеру 4, которая оснащена источниками инфракрасных лучей в виде темных излучателей 5, которые представляют собой металлические трубки с заключенными в них нихромовыми проволоками. Интенсивность облучения, а значит, количество подаваемого тепла зависят от влажности подаваемого сырья, т.е. влажности вороха хмеля. Высокая теплоизлучающая способность темных излучателей 5 в сочетании с гофрированным теплоотражающим покрытием 3 ленты транспортера 2 позволяет сушить ворох шишек хмеля по всейтолщине, значительно ускоряя процесс сушки. Конструкция привода транспортера 2 позволяет плавно изменять скорость перемещения ленты. Основным параметром, с учетом которого регулируется режим сушки, является влажность вороха шишек хмеля, поступающего на ленту транспортера 2. С учетом этого, предусмотрены возможность регулирования толщины вороха шишек хмеля на ленте транспортера изменением положения шибера 21, плавное регулирование скорости перемещения ленты транспортера 2, возможность регулирования мощности излучения темными излучателями 5. Из сушильной камеры 4, ворох хмеля доведенный до необходимой влажности, с помощью транспортера 2 подается в бункер загрузочный 6, оснащенный шибером 20. Закрытое положение шибера 20 обеспечивает переход загрузочного бункера 6 в режим накопления на время поворота сульфитационной колонны 7 и выгрузки обработанного вороха хмеля. Сульфитационнаяколонна 7 разделена на два равнообъемных отсека. На фиг. 1 левый отсек сульфитационной колонны 7 находится в режиме загрузки (шибер 20 загрузочного бункера открыт, донный люк 13 закрыт), а правый, заполненный ворохом хмеля, находится в режиме сульфитации. На фиг. 1 пунктирной линией и стрелками показано открытое положение донного люка 13 в процессе выгрузки обработанного вороха хмеля из отсека сульфитационной колонны 7. Процессы загрузки свободного (левого) и обработки заполненного (правого) отсеков совпадают по времени. Герметичность заполненного ворохом хмеля в процессе сульфитации обеспечивается плотностью прижатия пневмоприводного верхнего люка 9 и донного люка 13, также имеющего пневматический привод, причем донные люки обеих отсеков сходны по конструкции и взаимозаменяемы. Верхний люк 9 имеет возможность вертикального перемещения под действием пневматического привода. На верхнем люке 9 имеется патрубок газоотводный 10, к которому присоединяется приемный рукав 29 сулфитометра 27. На внутренней стороне верхнего люка 9 имеется газосборный зонд 30. К сульфитометру 27 присоединяется рукав отводной 11. Отводной рукав 11 служит для перемещения газовоздушной смеси из сульфитометра 27 в утилизатор сернистого ангидрида 12, заполненный дистилированнойводой. Сернистый ангидрид, содержащийся в газовоздушной смеси при прохождении через дистиллированную воду вступает с ней в реакцию образуя серную кислоту.

[10]

Донный люк 13 содержит патрубок газоприемный 14, коллектор газораспределительный 23 (фиг. 2) и сетку защитную 24. Коллектор 23 обеспечивает равномерное распределение сернистого газа поступающего через газоприемный патрубок 14. Сетка защитная 24 предохраняет отверстия газораспределительного коллектора 23 от засорения частицами шишек хмеля. С цельюдополнительной защиты от засорения отверстия в трубках коллектора 23 расположены параллельно поверхности донного люка 13.

[11]

К газоприемному патрубку 14 с помощью газоподающей головки 22 присоединяется рукав газовоздушный 25 с трехходовым краном 17. Привод газоподающей головки 22 пневматический. Газоприемный патрубок 14 с помощью газоподающей головки 22 и газовоздушного рукава 25 обеспечивает подачу сернистого газа из сублиматора 18 в правый (заполненный ворохом хмеля) отсек сульфитационной колонны 7 по газоподводящему рукаву 15 через трехходовой кран 17.

[12]

Ресивер воздушный 19 по воздушному рукаву 16 через трехходовой кран 17 обеспечивает продувку вороха хмеля сжатым воздухом для удаления в утилизатор 12 избытка непрореагировавшего ангидрида из правого заполненного обработанным ворохом хмеля, отсека сульфитационной колонны 7.

[13]

Мотор-редуктор 8 служит для поворота сульфитационной колонны на 180° согласно рабочего цикла. Открытие донного люка 13 обеспечивает выгрузку обработанного вороха хмеля.

[14]

Защитное ограждение 28 предохраняет обслуживающий персонал от контакта с поверхностью периодический вращающейся сульфитационной колонны 7.

[15]

С целю обеспечения защиты обслуживающего персонала от воздействия сернистого ангидрида газоподающая аппаратура и система выгрузки обработанного вороха хмеля 2/3 сульфитационной колонны 7 расположены этажом ниже.

[16]

Технологический процесс по первичной послеуборочной обработке шишек хмеля на предлагаемом комплексе реализуется в следующей последовательности. Шишки хмеля непосредственно после сборки (машинной или ручной), взвешивания и определения влажности поступают в приемный бункер 1, снабженный шибером 21. В приемном бункере 1 происходит естественное выравнивание влажности вороха шишек хмеля. При открытом положении шибера 21 шишки хмеля попадают на покрытую гофрированным теплоотражающим покрытием 3 ленту транспортера 2. Транспортер 2 перемешает ворох хмеля в проходную сушильную камеру 4, оснащенную источниками инфракрасных лучей в виде темных излучателей 5, представляющих собой металлические трубки с заключенными в них нихромовыми проволоками. Лучистая теплота, представляющая собой поток инфракрасных лучей, распространяется прямолинейно и задерживается любыми экранами и телами, находящимися на пути потока. Вследствие перехода лучистой энергии в тепловую в камере 4 идет быстрый нагрев шишек и гофрированного теплоотражающего покрытия 3 в виде металлической фольги, тем самым идет интенсивная сушка вороха хмеля. Разность температур по толщине вороха способствует ускорению испарения влаги из шишек хмеля. Из сушильной камеры 4 ворох хмеля, доведенный до необходимой влажности, с помощью транспортера 2 подается в загрузочный бункер 6, также оснащенный шибером 20. При открытом положении шибера 20 загрузочное устройство бункера 6 обеспечивает равномерно распределенную загрузку свободного (левого) отсека сульфитационной колонны 7 ворохом высушенного хмеля. После заполнения отсека шибер 20 закрывается и загрузочный бункер 6 переходит в режим накопления высушенного вороха. Сульфитационная колонна 7 с заполненным отсеком с помощью мотор-редуктора 8 поворачиют на 180°, подставляя под загрузку свободный отсек, который при открытии шибера 20 начинает заполняться ворохом хмеля, накопившийся в загрузочном бункере 6.

[17]

После поворота сульфитационной колонны 7 на 180° отсек, заполненный ворохом хмеля, герметично закрывается верхним пневмоприводным люком 9. Затем к газоприемному штуцеру 14, находящемуся на донном люке 13 с помощью газоподающей головки 22 присоединяют газовоздушный рукав 25 с трехходовым краном 17.

[18]

После проверки герметичности стыка «газоприемный штуцер 14 - газовоздушный рукав 25» трехходовой кран 17 устанавливают в положение «газ» и сернистый газ под давлением 0,05…0,08 МПа из сублиматора 18 по газоподводящему рукаву 15 и газовоздушному рукаву 25 через газоприемный штуцер, и газораспределительный коллектор 23 начнет поступать в правый, заполненный ворохом хмеля, отсек сульфитационной колонны 7. Положение труб газораспределительного коллектора 23 и характер расположения отверстий способствуют равномерному распределению сернистого газа по всему, заполненному ворохом хмеля, отсеку пропитывая и насыщая шишки хмеля сернистым ангидридом. Выдавливая за счет избыточного давления и тяжести воздух (сернистый ангидрид 2,264 раза тяжелее воздуха) газовая смесь скапливается в газосборном зонте 30 и через газоотводной патрубок 10 и приемный рукав 29 попадает в сульфитометр 27. Из сульфитометра 27 по отводному рукаву 11 газовоздушная смесь поступает в утилизатор 12, заполненный дистиллированной водой. Остаточный сернистый ангидрид, содержащийся в газовоздушной смеси вступает в реакцию с водой, образуя серную кислоту, которая может быть использована для различных нужд (электролит для аккумуляторов, раствор для удаления нагара, накипи и коррозионной пленки с деталей и т.д.).

[19]

С помощью сульфитометра 27 контролируют содержание остаточного сернистого ангидрида в газовоздушной смеси. Когда содержание остаточного сернистого газа будет соответствовать его содержанию на входе в газоприемный патрубок 14 подачу газа прекращают. Затем трехходовой кран 17 устанавливают в положение «воздух» и по воздушному рукаву 16 и газовоздушному рукаву 25 через патрубок газоприемный 14 и газораспределительный коллектор 23 из ресивера 19 под давлением 0,05…0,08 МПа в отсек с хмелю подают сжатый воздух для удаления непрореагировавшего сернистого ангидрида. Принулевом показании сульфитометра 27 подачу воздуха прекращают и отсоединяют газоаодаюшую головку 22. После отвода газоподающей головки 22 с помощью мотор-редуктора 8 сульфитационную колонну 7 поворачивают на 180°, освобождая место заполненному ворохом хмеля отсеку. Пневомпривод открывает донный люк 13 и ворох хмеля поступает на прессование. После выгрузки и закрытия донного люка 13 в освободившийся отсек из бункера загрузки 6 поступает следующая партия вороха хмеля. Таким образом цикл повторяется.

[20]

Расположение 2/3 сульфитационной колонны 7 ниже межэтажного перекрытия 26 способствуетполной изоляции рабочей зоны обслуживающего персонала от контакта с сернистым ангидридом.

[21]

Рабочие поверхности деталей комплекса для первичной послеуборочной обработки хмеля контактирующие сернистым ангидридом покрывают полимером или изготавливают из полимеров соответствующих марок.

[22]

Технический эффект от применения предложенного комплекса заключается в объединении в одну непрерывную цепочку процессов сушки и сульфитации, снижении объема перевалочных работ и энергоемкости подготовительных операций, повышении качества конечного продукта,. надежности, экологичности и безопасности технологического процесса первичной послеуборочной обработки хмеля.

[23]

Источники информации

[24]

1. Авторское свидетельство СССР №1507783, С12С 3/00, «Устройство для послеуборочной обработки хмеля».

[25]

2. Авторское свидетельство СССР №1249068, С12С 3/04, «Способ сульфитации хмеля и установка для его осуществления».

[26]

3. Хмель и его использование / А.А. Годованый, Н.И. Ляшенко, И.Г. Рейтман, И.С. Ежов; Под. ред. И.С. Ежова. - К.: Урожай, 1990. - 336 С., Ил. (стр. 118-120).

[27]

4. Практикум по хмелеводству / Н.А. Александров, М.И. Крылова, В.И. Иванов и др.; под. ред. Н.А. Александрова - М.: Агропромиздат, 1989. - 318 с.: ил. - (Учебники и учебно-методические пособия для кадров массовых профессий), (стр. 266-267). ISBN 5-10-000565-3.

[28]

5. ГОСТ 2918-79 Ангидрид сернистый жидкий технический. Технические условия (с изменениями №1, 2).

[29]

6. httpsz://znaytovar.ru/s/Sulfitaciya-plodoovoshrmoj-produ.html

Как компенсировать расходы
на инновационную разработку
Похожие патенты