патент
№ RU 2654538
МПК H01R4/68

СВЕРХПРОВОДЯЩИЙ ТОКОВВОД

Авторы:
Самойленков Сергей Владимирович Мойзых Михаил Евгеньевич Сотников Дмитрий Викторович
Все (4)
Номер заявки
2017109730
Дата подачи заявки
23.03.2017
Опубликовано
21.05.2018
Страна
RU
Как управлять
интеллектуальной собственностью
Чертежи 
5
Реферат

Изобретение относится к области электротехники, в частности к токовводам с электрически параллельным соединением сверхпроводящих модулей. Техническим результатом является обеспечение стабильной эксплуатации токоввода при значениях тока, близких к критическим, и создание токовводов с большим суммарным транспортным током за счет равномерного распределения тока по всем сверхпроводящим модулям. Токоввод включает установленные параллельно друг другу подводящую и отводящую шины, каждая из которых снабжена контактными выводами, где упомянутые подводящая и отводящая шины механически и электрически соединены между собой геометрически параллельно установленными сверхпроводящими модулями с образованием параллельного электрического соединения упомянутых модулей, отличающийся тем, что контактные выводы расположены на противоположных концах подводящей и отводящей шин. 5 з.п. ф-лы, 6 ил.

Формула изобретения

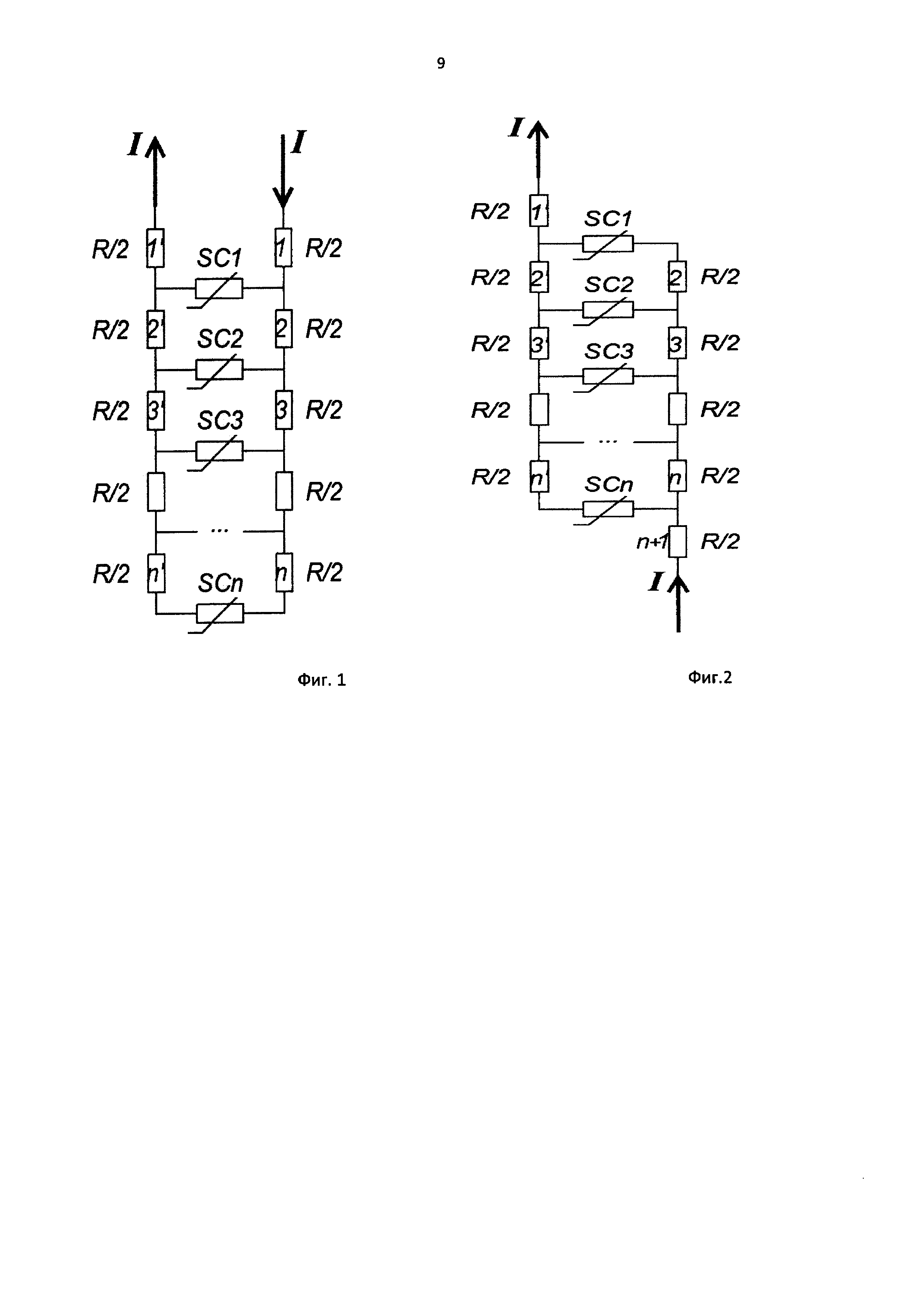
1. Сверхпроводящий токоввод, включающий установленные параллельно друг другу подводящую и отводящую шины, каждая из которых снабжена контактными выводами, где упомянутые подводящая и отводящая шины механически и электрически соединены между собой геометрически параллельно установленными сверхпроводящими модулями с образованием параллельного электрического соединения упомянутых модулей, отличающийся тем, что контактные выводы расположены на противоположных концах подводящей и отводящей шин.

2. Токоввод по п. 1, отличающийся тем, что сверхпроводящий модуль выполнен из высокотемпературных сверхпроводящих лент второго поколения.

3. Токоввод по п. 2, отличающийся тем, что сверхпроводящий модуль выполнен из высокотемпературных сверхпроводящих лент второго поколения на основе YBCO.

4. Токоввод по п. 2, отличающийся тем, что сверхпроводящий модуль выполнен в виде пакета соединенных между собой параллельно расположенных лент.

5. Токоввод по п. 2, отличающийся тем, что сверхпроводящий модуль выполнен в виде пакета соединенных между собой скручиванием лент.

6. Токоввод по п. 2, отличающийся тем, что сверхпроводящий модуль выполнен в виде бифилярной катушки из упомянутых лент.

Описание

[1]

Область техники.

[2]

Изобретение относится к области электротехники: к токовводам с использованием сверхпроводящих модулей, в частности к токовводам с электрически параллельным соединением сверхпроводящих модулей.

[3]

Уровень техники.

[4]

В патенте на полезную модель RU 103986 раскрывается соединение сверхпроводящего кабеля, которая может быть применена для соединения сверхпроводящего кабеля стоковыми вводами, соединения сверхпроводящего кабеля с другим сверхпроводящим или криорезистивным кабелем, соединения экранов сверхпроводящих кабелей, а также создания отводов от сверхпроводящего кабеля. Силовой токонесущий элемент выполнен в виде набора гибких проводов на основе стандартного гибкого медного провода, каждая СП-лента кабеля подсоединяется к строго определенному количеству гибких проводов, образуя последовательное электрическое соединение, причем подсоединение выполняется таким образом, чтобы обеспечить заданные переходные сопротивления в месте контакта для каждой сверхпроводящей ленты кабеля. Далее набор гибких проводов подсоединяется к токовводу так, чтобы обеспечивалось равное входное сопротивление для каждой из сверхпроводящих лент кабеля (например, обжатие на одинаковой длине от места пайки к сверхпроводящим лентам). Для создания необходимой электрической прочности используется изоляционная вставка из диэлектрического материала, хорошо работающего при криогенных температурах.

[5]

Однако гибкие провода склонны к вибрациям, сопровождающим рабочий режим устройств, неравномерному заполнению пространства, и они не могут быть использованы в условиях жесткого ограничения в габаритах - может возникнуть пробой от гибкого провода на корпус криостата. Кроме того, такое соединение достаточно технологически сложно паяется из-за гибкости как проводов, так и лент.

[6]

Наиболее близким токовводом к предложенному является токоввод по заявке US 2016217889.

[7]

Данный токоввод включает в себя первую сверхпроводящую ленту, которая электрически соединяет первый и второй терминалы, вторую сверхпроводящую ленту, которая соединена с первой сверхпроводящей лентой параллельно, и электрически соединяет первый и второй терминалы, и дополнительно - одну или две сверхпроводящих ленты, которые электрически соединяют первую сверхпроводящую ленту и вторую сверхпроводящую ленту. Из материалов данного патента следует, что ленты соединяются путем пайки. Каждый терминал снабжен симметрично расположенными контактными выводами, один из которых связан с источником тока, а второй - со сверхпроводящим устройством.

[8]

Известное изобретение, по мнению его авторов, позволяет стабильно поддерживать подачу электрического тока.

[9]

Однако технической проблемой, присущей известному техническому решению, является то, что оно не применимо для стабильной работы на значениях тока, близких к критическим.

[10]

Объясняется это следующим.

[11]

Ток идет по пути наименьшего сопротивления. То есть в случае возникновения слабого места в сверхпроводящей ленте весь ток, рассчитанный на две сверхпроводящие ленты, потечет по одной, что с большой долей вероятности приведет к перегоранию сверхпроводника при токах, близких к критическому. В сверхпроводнике сопротивления нет, оно возникает только в местах пайки сверхпроводящих лент. Большое количество паяных соединений в известном устройстве приводит к появлению в соединяемых сверхпроводящих лентах резистивного сопротивления, как следствие, нагреву токоввода и выхода всей системы из строя.

[12]

Важно также то, что если не будет учитываться расположение контактных выводов, то в лучшем случае в токовводе не будет обеспечена равномерная нагрузка по всем сверхпроводящим модулям, а в худшем - произойдет последовательное перегорание всех сверхпроводящих модулей при значительном превышении критического тока.

[13]

Раскрытие сущности изобретения.

[14]

Решаемой изобретением технической проблемой является устранение недостатков, присущих известному техническому решению, а именно обеспечение стабильной эксплуатации токоввода при значениях тока, близких к критическим, за счет равномерного распределения тока по всем сверхпроводящим модулям, что позволяет использовать их сверхпроводящие свойства в полной мере. Кроме того, равномерное распределение тока по всем лентам при предлагаемой геометрии позволяет производить соединение сколь угодно большого количества параллельных сверхпроводящих модулей, что даст возможность создания сильноточного токоввода.

[15]

Данная техническая проблема решается сверхпроводящим токовводом, включающим установленные параллельно друг другу подводящую и отводящую шины, каждая из которых снабжена контактными выводами, где упомянутые подводящая и отводящая шины механически и электрически соединены между собой геометрически параллельно установленными сверхпроводящими модулями с образованием параллельного электрического соединения упомянутых модулей, отличающимся тем, что контактные выводы расположены на противоположных концах подводящей и отводящей шин.

[16]

В частных воплощениях изобретения поставленная задача решается токовводом, у которого сверхпроводящий модуль выполнен из высокотемпературных сверхпроводящих лент второго поколения.

[17]

Сверхпроводящий модуль упомянутого токоввода может быть выполнен из высокотемпературных сверхпроводящих лент второго поколения на основе YBCO.

[18]

В других воплощениях изобретения сверхпроводящий модуль может быть выполнен в виде пакета соединенных между собой параллельно расположенных лент.

[19]

Либо сверхпроводящий модуль может быть выполнен в виде пакета соединенных между собой скручиванием лент.

[20]

Либо сверхпроводящий модуль токоввода может быть выполнен в виде бифилярной катушки из упомянутых лент.

[21]

Краткое описание чертежей.

[22]

На фиг. 1 приведена электрическая схема токоввода с симметричным подключением контактных выводов (сравнительный пример).

[23]

На фиг. 2 приведена электрическая схема токоввода с асимметричным подключением контактных выводов.

[24]

На фиг. 3 приведено схематическое изображение токоввода со сверхпроводящим модулем в виде ВТСП ленты или пакета лент.

[25]

На фиг. 4 приведено схематическое изображение токоввода со сверхпроводящим модулем в виде скрученного пакета ВТСП лент.

[26]

На фиг. 5 приведено схематическое изображение токоввода со сверхпроводящим

[27]

модулем в виде компактного сильноточного кабеля (CORC) из ВТСП лент.

[28]

На фиг. 6 приведено схематическое изображение токоввода со сверхпроводящим модулем в виде бифилярной катушки из ВТСП лент.

[29]

Сущность изобретения состоит в следующем.

[30]

Как известно, сверхпроводники не имеют сопротивления. Но при определенном значении транспортного тока (критический ток) в сверхпроводнике появляется нормальная составляющая, вызывающая резистивное сопротивление. Причем, чем больше ток, тем выше сопротивление.

[31]

На фиг. 1 и 2 приведены электрические схемы подключения сверхпроводящих модулей: симметричное подключение сверхпроводящих модулей, предусмотренное в токовводе в соответствии с US 2016217889, и асимметричное подключение сверхпроводящих модулей в соответствии с изобретением.

[32]

При симметричном параллельном подключении сверхпроводящих модулей (фиг. 1), как в известном устройстве (где R - электрическое сопротивление шины, a SCn - электрическое сопротивление сверхпроводящего модуля, равное нулю в сверхпроводящем состоянии и возрастающее по степенной зависимости при превышении транспортным током значения критического тока), мы видим, что при прохождении пути l-SC1-1' суммарное сопротивление будет R, тогда как уже при протекании тока через второй сверхпроводящий модуль SC2 току нужно проделать путь 1-2-SC2-2'-1' с суммарным сопротивлением 2R. И так далее. Ток через первый модуль SC1, равный U/R, в два раза больше, чем ток через второй модуль SC2 равный U/2R, и в n раз больше, чем ток через n-ый модуль SCn - U/nR. В таком случае сверхпроводящий модуль SC1 начнет переходить в нормальное состояние, так как по нему будет протекать максимальный ток. С переходом в нормальное состояние сопротивление модуля будет увеличиваться, пока не станет по значению равным 2-SC2-2', и тогда в нормальное состояние будет переходить 2-й сверхпроводящий модуль. И так далее. В итоге получаем, что сопротивление первых модулей должно уравновешивать сопротивление всей последующей цепи. В лучшем случае это даст неравномерную нагрузку по сверхпроводящим модулям в системе. В худшем - последовательное перегорание сверхпроводящих модулей при значительном превышении критического тока.

[33]

При асимметричном подключении в соответствии с изобретением (фиг. 2) суммарное сопротивление при прохождении тока через каждый сверхпроводящий модуль будет одинаковым и равно . Следовательно, распределение тока по всем сверхпроводящим модулям будет равномерным, что позволяет использовать их сверхпроводящие свойства в полной мере в отличие от симметричного подключения.

[34]

Полученное благодаря такому соединению равномерное распределение тока по всем сверхпроводящим модулям позволяет соединять параллельно сколь угодно большое количество сверхпроводников, количество которых может быть выбрано равным отношению суммарного тока через токоввод к критическому току сверхпроводящих модулей. Таким образом, данный вид подключения дает возможность создания сильноточных токовводов без опасений на перегрузку сверхпроводящих модулей по току.

[35]

Осуществление изобретения.

[36]

Токоввод в соответствии с изобретением (см. фиг. 3) включает подводящую (1) и отводящую (2) шины, каждая из которых снабжена контактными выводами (3) и (4), расположенными на противоположных концах подводящей (1) и отводящей (2) шин. Контактный вывод (3) может быть соединен с источником тока (не показан), а контактный вывод (4) может быть соединен с электротехническим сверхпроводящим устройством, например мотором. Обе шины электрически соединены между собой геометрически параллельно установленными сверхпроводящими модулями (5) с образованием параллельного электрического соединения этих модулей.

[37]

Для выполнения сверхпроводящего модуля могут быть использованы любые виды применяемых в электротехнических устройствах сверхпроводников: низкотемпературные сверхпроводники (NiTi, NiSn и другие), переходные сверхпроводники (MgB2, FeAs и другие), а также высокотемпературные сверхпроводники (кратко ВТСП) (как ВТСП 1-го поколения, так и ВТСП 2-го поколения), которые в последнее время получили большое распространение благодаря высоким значениям плотности тока, температуре перехода в сверхпроводящее состояние выше 77 К.

[38]

ВТСП лента 2 поколения включает подложку, например, из сплава на основе никеля, последовательно расположенные буферные слои - из оксида алюминия, манганита лантана, оксида магния и оксида церия и т.д., сверхпроводящий слой на основе гадолиний-бариевого купрата, слой серебра и слой меди.

[39]

Геометрия реализации сверхпроводящих модулей произвольна, существенным является тот факт, что модули (5) устанавливаются геометрически параллельно и образуют параллельное электрическое соединение, а сам сверхпроводящий модуль (5) может быть произвольной конструкции.

[40]

Сверхпроводящим модулем может быть:

[41]

- одиночная сверхпроводящая лента или стопка параллельно уложенных сверхпроводящих лент;

[42]

- скрученный пакет (51) сверхпроводящих лент (популярное решение для мощных магнитов для создания полей, способных удержать плазму в термоядерной реакции) (фиг. 4);

[43]

- кабель (52), в частности кабель CORC (компактный сильноточный кабель из гибких современных ВТСП лент) (фиг. 5);

[44]

- бифилярная катушка (53) сверхпроводящей ленты (фиг. 6) и другие.

[45]

В качестве шин могут быть использованы шины из электротехнической меди.

[46]

В качестве контактных выводов могут быть использованы как неразборные контактные соединения (пайка, опрессовка и т.д.), так и разборные контактные соединения (крепеж с контргайкой, с пружинной шайбой, с гнездовым соединением, прижимной и т.д.).

[47]

Крепеж сверхпроводящих модулей (5) к шинам (1) и (2) осуществляется следующим образом: сверхпроводящий модуль в случае наличия клеммы на конце прижимается к шине с отверстием с резьбой при помощи болтов, а при использовании одиночных сверхпроводящих лент применяется прижимной контакт, когда медная пластина притягивается болтами к шине, и прижимает расположенную между пластиной и шиной сверхпроводящую ленту.

[48]

Пример конкретного выполнения.

[49]

Между подводящей (1) и отводящей (2) шинами геометрически параллельно устанавливали сверхпроводящие модули (5), выполненные в виде бифилярной катушки (см. фиг. 6) таким образом, чтобы получить электрически параллельное соединение данных модулей (5). Всего было использовано 8 катушек, расстояние между ними составляло 70 мм, длина шины составляла 600 мм, а ее ширина 80 мм.

[50]

Модули изготовляли из ВТСП лент второго поколения YBCO шириной 12 мм с критическим током 500 А, обмотанных в стеклоткань для изоляции от соседних повивов в катушке. Намотка проводилась на ступицы диаметром 100 мм, с шагом 3 мм, с длиной ленты 66 м в каждой из бифилярной катушки.

[51]

Модули (5) соединяли с шинами (1) и (2) путем применения прижимов: ВТСП лента помещалась между медной пластиной и шиной, а пластина притягивалась к шине с помощью 8 болтов, вкручивающихся в отверстия с резьбой в шине.

[52]

Контактный вывод (3) прикреплялся к одному из концов шины (1), а контактный вывод (4) прикреплялся к противоположному концу шины (2) при помощи болтового соединения клеммы контактных выводов и шин.

[53]

Контактный вывод (3) подсоединялся к источнику тока (не показан), а контактный вывод (4) подсоединялся к сверхпроводящему устройству - электромотору.

[54]

Как следует из схемы, приведенной на фиг. 2, при таком (асимметричном) исполнении токоввода суммарное сопротивление на каждом сверхпроводящем модуле одинаковое, и вследствие этого токи распределяются равномерно по всем сверхпроводящим модулям.

[55]

В то время, как при неправильном (симметричном, фиг. 1) подключении, свойственном известному токовводу, сопротивления на каждом сверхпроводящем модуле различные, и токи делятся в соответствии с этим сопротивлением. Это приводит к тому, что происходит неравномерная токовая нагрузка по сверхпроводящим модулям в токовводе, что может служить первичным фактором поочередного перегорания сверхпроводящих модулей.

Как компенсировать расходы
на инновационную разработку
Похожие патенты